|
|
(21), (22) Заявка: 2007131074/14, 15.08.2007
(24) Дата начала отсчета срока действия патента:
15.08.2007
(46) Опубликовано: 20.01.2009
(56) Список документов, цитированных в отчете о поиске:
RU 2098929, 29.05.1995. RU 2202953 С2, 27.04.2003. US 6031892, 29.02.2000. US 5848123, 08.12.1998. FR 2767261, 30.07.1998. ВИНОГРАДОВ Е.В. и др. Микродозовая флюорография. Современная рентгенография. 19.05.2006. Найдено в Интернет www.fluro.ukrbiz.net/. УКРАИНЦЕВ Ю.Г. Сканирующий метод получения рентгеновских изображений на цифровом аппарате
Адрес для переписки:
115582, Москва, ул. Домодедовская, 27, кв.402, А.Н.Чернию
|
(72) Автор(ы):
Мишкинис Александр Борисович (RU), Виноградова Алевтина Николаевна (RU), Черний Александр Николаевич (RU)
(73) Патентообладатель(и):
Общество с ограниченной ответственностью “С.П.ГЕЛПИК” (RU)
|
(54) РЕНТГЕНОГРАФИЧЕСКАЯ УСТАНОВКА ДЛЯ МЕДИЦИНСКОЙ ДИАГНОСТИКИ
(57) Реферат:
Изобретение относится к медицинской технике, а именно к рентгенодиагностическим аппаратам, предназначенным для использования как в специализированных медицинских учреждениях, например противотуберкулезных диспансерах, так и больницах общего профиля. Рентгенографическая установка для медицинской диагностики содержит рентгеновский излучатель с щелевым коллиматором, подключенный к высокочастотному рентгеновскому генератору и программируемому блоку управления, снабженному ЭВМ, пультом управления и видеомонитором, многоэлементный линейный или матричный рентгеновский детектор, соединенный с цифровой электронной системой преобразования, регистрации и формирования изображения, подключенной к программируемому блоку управления, механическое сканирующее устройство с системой вывода сканирующего устройства на уровень облучения и защитную кабину с площадкой для ног пациента. Система вывода сканирующего устройства на уровень облучения содержит координатометр, соединенный со сканирующим устройством. Площадка для ног пациента выполнена с возможностью равномерного вращения посредством механического привода вокруг вертикальной оси, проходящей через центральный луч рентгеновского пучка, перпендикулярно к плоскости рентгеновского пучка, а координатометр и механический привод площадки подключены к программируемому блоку управления, для формирования поперечного томографического среза. Ось вращения площадки для ног пациента смещена по отношению к центральному рентгеновскому лучу вдоль линии, перпендикулярной к направлению центрального луча, на величину S R/2, где R=lsin , , L – длина детектора; l – расстояние от фокуса рентгеновской трубки до точки пересечения линии смещения оси вращения площадки для ног пациента с проекцией центрального луча на плоскость этой площадки; f – фокусное расстояние. Использование изобретения позволяет повысить точность диагностики и расширить эксплуатационные возможности аппарата за счет усовершенствования системы сканирования и повышения точности ориентации пациента относительно ее. 2 ил.
(56) (продолжение):
CLASS=”b560m”«Сибирь-Н», Научно-практическая конференция «Возможности и методы цифровой рентгенодиагностики и радиационной безопасности населения», 14.03.2007. – Новосибирск. Найдено в Интернет www.medafarm.ru.
Предлагаемое изобретение относится к разделу медицинской техники, точнее к цифровым рентгеновским аппаратам сканирующего типа.
Известна малодозовая цифровая рентгеновская установка (МЦРУ) “Сибирь”, разработанная в институте ядерной физики им. Г.И.Будкера (Новосибирск) (Белова И.Б., Китаев В.М. Малодозовая цифровая рентгенография.- Орел, 2001 г., с.29). МЦРУ “Сибирь” содержит высоковольтный генератор высокочастотного типа, рентгеновский излучатель с щелевым коллиматором, многоэлементный линейный рентгеновский детектор, соединенный с системой регистрации и воспроизведения изображения, механическое сканирующее устройство, защитную кабину с площадкой для ног пациента. Сканирование пациента выполняется в вертикальном направлении узким горизонтальным веерным рентгеновским пучком.
Известно также радиографическое сканирующее устройство (Международная заявка WO 02/17790 А1 от 07.03.2002), содержащее последовательно расположенные на одной оптической оси источник рентгеновского излучения, щелевой коллиматор и линейный приемник рентгеновского излучения. Приемник и коллиматор закреплены на едином кронштейне, установленном с возможностью вращения вокруг вертикальной оси, проходящей через фокус источника рентгеновского излучения.
В отличие от первого аналога в этом аппарате сканирование пациента производится в горизонтальной плоскости узким вертикальным рентгеновским пучком.
Наиболее близким по конструкции к заявляемому объекту является рентгенографическая установка для медицинской диагностики (патент RU 2098929 от 29.05.95 г., А61В 6/00), содержащая высокочастотный рентгеновский генератор, рентгеновский излучатель с щелевым коллиматором, рентгеновский детектор, соединенный с системой регистрации и воспроизведения изображения, механическое сканирующее устройство, защитную кабину с площадкой для ног пациента.
Сканирование пациента производится в вертикальном направлении. Рентгеновское излучение, прошедшее через тело пациента, регистрируется многоэлементным линейным детектором (МЛД). Детектор улавливает сигналы, минимально превышающие порог чувствительности усилителя, благодаря чему фоновое излучение не фиксируется и создается оптимальное соотношение “сигнал-шум”. При этом максимально уменьшается радиационная доза на пациента.
Информация, накопленная в МЛД во время экспозиции строки, переписывается в память ЭВМ, и затем начинается регистрация следующей по вертикали строки. Для этой цели рентгеновский излучатель, щелевой коллиматор и МЛД во время съемки одновременно и равномерно перемещаются в вертикальном направлении. Коллиматор с узкой щелью формирует тонкий веерообразный пучок рентгеновского излучения, который после прохождения через тело пациента попадает во входное окно МЛД.
После окончания съемки кадра в памяти компьютера формируется матрица изображения (320×256 чисел), содержащая информацию о распределении излучения после прохождения через тело пациента. Цифровое рентгеновское изображение выводится на видеомонитор компьютера через 5 с после окончания сканирования.
Управление аппаратом осуществляется с помощью ЭВМ.
Программное обеспечение включает в себя основную программу, управляющую аппаратом во время съемки, и программы для контроля работоспособности блоков и аппарата в целом.
Рентгенографическая установка (RU 2098929), выбранная нами в качестве прототипа, так же как и все известные аналоги, предназначена в первую очередь для рентгенологического исследования легких (флюорографии) с целью своевременного выявления туберкулеза и других заболеваний органов грудной полости.
Недостатком прототипа, так же как и всех известных аналогов, является невозможность получения томографического среза в зоне интереса, что затрудняет проведение диагностики и ограничивает эксплуатационные возможности аппарата.
Целью настоящего изобретения является повышение точности диагностики и расширение эксплуатационных возможностей аппарата за счет усовершенствования системы сканирования, и повышения точности ориентации пациента относительно нее.
Данный медицинский и технический результат достигается тем, что в рентгенографической установке для медицинской диагностики, содержащей последовательно расположенные на одной оптической оси источник рентгеновского излучения, щелевой коллиматор и линейный приемник рентгеновского излучения, закрепленные на несущем кронштейне, соединенном с механическим сканирующим устройством, находящимся с внешней стороны кабины пациента, имеющей основание с площадкой для ног пациента, причем рентгеновский излучатель подключен к высокочастотному рентгеновскому генератору и программируемому блоку управления, снабженному ЭВМ, пультом управления и видеомонитором, а линейный приемник рентгеновского излучения соединен с цифровой электронной системой преобразования, регистрации и формирования изображения, подключенной к программируемому блоку управления, механическое сканирующее устройство с системой вывода сканирующего устройства на уровень облучения и защитную кабину с площадкой для ног пациента, система вывода сканирующего устройства на уровень облучения содержит координатометр, соединенный со сканирующим устройством, площадка для ног пациента выполнена с возможностью равномерного вращения посредством механического привода вокруг вертикальной оси, проходящей через центральный луч рентгеновского пучка, перпендикулярно к плоскости рентгеновского пучка, а координатометр и механический привод площадки подключены к программируемому блоку управления, выполненному с возможностью формирования поперечного томографического среза, при этом ось вращения площадки для ног пациента смещена по отношению к центральному рентгеновскому лучу вдоль линии, перпендикулярной к направлению центрального луча, на величину S R/2, где R=lsin , , L – длина детектора; l – расстояние от фокуса рентгеновской трубки до точки пересечения линии смещения оси вращения площадки для ног пациента с проекцией центрального луча на плоскость этой площадки; f – фокусное расстояние.
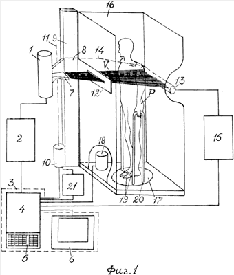
В дальнейшем изобретение поясняется чертежами и описанием работы предлагаемого устройства. На фиг.1 схематически показана конструкция аппарата, а на фиг.2 – положение площадки для ног пациента относительно рентгеновского пучка.
Установка содержит рентгеновский излучатель 1, соединенный с высоковольтным генератором 2 высокочастотного типа, подключенным к программируемому блоку управления 3, снабженному ЭВМ 4, пультом управления 5, например в виде клавиатуры, и видеомонитором 6.
Рентгеновский излучатель оснащен щелевой диафрагмой 7 и закреплен на каретке 8, которая может перемещаться вдоль вертикальной колонны 9 при работе электродвигателя 10, вращающего червячный вал 11. На каретке 8 также закреплен щелевой коллиматор 12, окно которого оптически сопряжено с щелевой диафрагмой 7 и рабочим окном детектора 13, закрепленного посредством балки 14 на каретке 8. В качестве детектора используется многоэлементная твердотельная линейка, например с ПЗС матрицами. Детектор 13 соединен с цифровой электронной системой преобразования, регистрации и воспроизведения цифрового изображения 15, подключенной к программированному блоку управления 3. Между щелевым коллиматором 12 и детектором 13 находится кабина 16 пациента Р с площадкой 17 для его ног. Площадка для ног пациента 17 имеет форму диска; она закреплена в основании кабины 16 с возможностью равномерного вращения вокруг вертикальной оси в пределах от 0° до 360°. Вращение осуществляется с помощью электродвигателя 18, соединенного с диском 17 посредством редуктора (не показан). Вращение площадки 17 производится только в режиме томографии. В режиме флюорографии площадка 17 строго неподвижна.
Ось (точка о на фиг.2) вращения площадки 17 для ног пациента смещена по отношению к центральному рентгеновскому лучу Fc рентгеновского пучка Fab вдоль линии ok, перпендикулярной к направлению центрального луча Fc, на величину S R/2, где R=lsin , , при этом L – длина детектора; l – расстояние от фокуса рентгеновской трубки F до точки пересечения линии смещения оси вращения площадки для ног пациента с проекцией центрального луча на плоскость этой площадки; f – расстояние от фокуса F рентгеновской трубки до центра детектора Fc (фокусное расстояние) (фиг. 2).
Рентгенографическая установка содержит систему вывода сканирующего устройства на уровень томографического среза, включающую координатометр 21, механически соединенный с электродвигателем 10 сканирующего устройства, а электрически – через ЭВМ 4 с видеомонитором 6.
Управление аппаратом осуществляется с помощью ЭВМ 4 с программированного блока управления 3. Программное обеспечение включает в себя основную управляющую программу, предназначенную для получения стандартного цифрового рентгеновского изображения, тестовую программу для проведения контроля работоспособности блоков и аппарата в целом и дополнительную программу для получения поперечных томографических изображений.
При получение стандартного цифрового рентгеновского изображения распределение излучения в горизонтальном направлении (строка) измеряется с помощью многоэлементного линейного детектора 13. Строки “сшиваются” в кадр путем механического сканирования тела пациента в вертикальном направлении. Для этой цели рентгеновская трубка 1, щелевой коллиматор 12 и детектор 13 во время съемки одновременно и равномерно перемещаются в вертикальном направлении. Коллиматор 12 с шириной щели от 0,5 до 2,0 мм формирует тонкий веерообразный пучок V рентгеновского излучения, который после прохождения через тело пациента Р попадает во входное окно линейного детектора 13. Информация, накопленная в приемниках многоэлементного линейного детектора 13 во время экспозиции строки, переписывается в память ЭВМ 4, после чего начинается регистрация следующей по вертикали строки. После окончания съемки кадра в памяти накапливается цифровое изображение-матрица чисел, описывающая распределение излучения после прохождения через тело пациента.
Первое необработанное изображение на видеомониторе 6 возникает одновременно со сканированием. На экране видеомонитора отображается рентгеновское изображение внутренних органов пациента, например легких, и координатная шкала, позволяющая определить положение того или иного структурного элемента организма по высоте (в системе координат аппарата).
При анализе цифрового рентгеновского изображения пациент Р продолжает находиться в кабине 16 на площадке 17. В случае обнаружения патологического образования, например туберкулезной каверны в легком, принимается решение о получении томографического среза на уровне патологии. Ноги пациента фиксируются накидными ремнями 19, а руками он держится за дуги вертикальных стоек 20. Врач-рентгенолог наводит “плавающую марку” видеомонитора 6 на целевую точку изображения и нажимает соответствующую кнопку на клавиатуре 5 видеомонитора. При этом, во-первых, на программируемом блоке управления 3 включается дополнительная программа получения поперечного томографического среза, и, во-вторых, сигнал через ЭВМ 4 и координатометр 21 поступает на электродвигатель 10 сканирующей системы, в результате чего рентгеновский излучатель 1 щелевой коллиматор 12 и детектор 13 выводятся на уровень томографического среза. Кроме того, включается электродвигатель 18, задающий равномерное вращение площадке 17 и пациенту Р, например со скоростью 1 оборот в секунду. Пациенту дается команда “глубокий вдох и не дышать”. После чего включается рентгеновский излучатель 1. ЭВМ 6 производит обработку сигнала, приходящего с линейного детектора, и формирование матрицы томографического среза, которая выводится на экран видеомонитора для визуального анализа. Для получения одного томографического среза достаточна цифровая информация, полученная ЭВМ за один оборот пациента (360°). При экспозиции одной строки 0,015 с за один оборот пациента производится 67 сканов (строчных сканирований). Если многоэлементный линейный детектор содержит 400 датчиков, то при получении одного томографического среза ЭВМ обрабатывает 26800 дискретных сигналов.
Когда ось вращения площадки для ног пациента (точка о на фиг.2) пересекает центральный луч Fc, диаметр реконструированного изображения D=2R, где 2R=lsin .
При смещении диска 17 на величину S, как это имеет место в новом аппарате (см. фиг.2), диаметр реконструированного изображения увеличивается D=2(R+S), что позволяет проводить томографическое обследование более полных пациентов, не увеличивая длину рентгеновского детектора.
Проведем расчет с учетом реальных геометрических условий съемки, а именно: f=1400 мм, l=1000 мм, L=400 мм.

R=lsin =141,4 мм. S R/2, поэтому для максимального смещения S 70 мм.
D=2(R+S)=424,2 мм. При центральном положении диска D=2R=282,8 мм. Следовательно при указанном смещении диска диаметр восстановленного изображения увеличивается на величину D=141,4 мм.
Площадь реконструированного изображения .
При центральном положении диска W=62781 мм2, в заявляемом объекте W =141257 мм2.
Увеличение площади восстановления изображения томографического среза существенно W=W’-W=78476 мм2.
Предложенное техническое решение найдет широкое применение в клинической медицине, так как оно значительно увеличивает диагностические возможности цифрового рентгеновского аппарата и заметно снижает стоимость обследования пациента.
Источники информации
1. Белова И.Б., Китаев В.М. Малодозовая цифровая рентгенография. – Орел, 2001 г., с.29.
2. Международная заявка WO 02/17790 А1 от 07.03.2002.
3. Патент RU 2098929 от 29.05.95 г., А61В 6/00 (прототип).
Формула изобретения
Рентгенографическая установка для медицинской диагностики, содержащая рентгеновский излучатель с щелевым коллиматором, подключенный к высокочастотному рентгеновскому генератору и программируемому блоку управления, снабженному ЭВМ, пультом управления и видеомонитором, многоэлементный линейный или матричный рентгеновский детектор, соединенный с цифровой электронной системой преобразования, регистрации и формирования изображения, подключенной к программируемому блоку управления, механическое сканирующее устройство с системой вывода сканирующего устройства на уровень облучения и защитную кабину с площадкой для ног пациента, отличающаяся тем, что система вывода сканирующего устройства на уровень облучения содержит координатометр, соединенный со сканирующим устройством, площадка для ног пациента выполнена с возможностью равномерного вращения посредством механического привода вокруг вертикальной оси, проходящей через центральный луч рентгеновского пучка, перпендикулярно к плоскости рентгеновского пучка, а координатометр и механический привод площадки подключены к программируемому блоку управления, выполненному с возможностью формирования поперечного томографического среза, при этом ось вращения площадки для ног пациента смещена по отношению к центральному рентгеновскому лучу вдоль линии, перпендикулярной к направлению центрального луча, на величину S R/2, где R=lsin , ,
L – длина детектора; l – расстояние от фокуса рентгеновской трубки до точки пересечения линии смещения оси вращения площадки для ног пациента с проекцией центрального луча на плоскость этой площадки, f – фокусное расстояние.
РИСУНКИ
|
|