|
| На основании пункта 1 статьи 1366 части четвертой Гражданского кодекса Российской Федерации патентообладатель обязуется заключить договор об отчуждении патента на условиях, соответствующих установившейся практике, с любым гражданином Российской Федерации или российским юридическим лицом, кто первым изъявил такое желание и уведомил об этом патентообладателя и федеральный орган исполнительной власти по интеллектуальной собственности. |
|
(21), (22) Заявка: 2006129438/12, 14.08.2006
(24) Дата начала отсчета срока действия патента:
14.08.2006
(43) Дата публикации заявки: 20.02.2008
(46) Опубликовано: 20.01.2009
(56) Список документов, цитированных в отчете о поиске:
SU 1261619 А1, 07.10.1986. SU 655382 А, 05.04.1979. FI 80986 В, 31.05.1990. US 4335650 А, 22.06.1982.
Адрес для переписки:
656049, г.Барнаул, пр-кт Красноармейский, 96а, кв.11, В.И. Лобанову
|
(72) Автор(ы):
Лобанов Владимир Иванович (RU), Гузь Андрей Васильевич (RU), Громак Дмитрий Владимирович (RU)
(73) Патентообладатель(и):
Лобанов Владимир Иванович (RU)
|
(54) УСТРОЙСТВО ДЛЯ ОЧИСТКИ КАРТОФЕЛЯ
(57) Реферат:
Изобретение относится к области переработки и может применяться в машинах, предназначенных для очистки корнеклубнеплодов, в частности картофеля. Устройство для очистки картофеля содержит вертикально расположенный корпус с цилиндрической рабочей камерой. Внутренние стенки камеры покрыты абразивным материалом. В днище установлен побудительный рабочий орган и выгрузное окно. Побудительный рабочий орган выполнен в виде усеченного конуса, на образующей которого, по винтовой линии, установлены лопасти из упругого материала. В цилиндрической камере, на уровне расположения последней лопасти побудительного рабочего органа, установлены упругие направители. Упругие направители выполнены с возможностью взаимодействия с верхней лопастью рабочего органа. Лопасти побудительного рабочего органа покрыты абразивным материалом. Технический результат – повышение качества очистки и повышение производительности устройства. 2 з.п. ф-лы, 1 ил.
Изобретение относится к области переработки и может применяться в машинах, предназначенных для очистки корнеклубнеплодов, в частности картофеля.
Известно устройство для очистки картофеля, содержащее вертикально расположенный корпус с цилиндрической рабочей камерой, в днище которого установлен побудительный рабочий орган (А.с. СССР №1261619, кл. A47J 17/18). Недостатками данного устройства является то, что оно осуществляет низкое качество очистки из-за слабого перемешивания очищаемого материала рабочим органом.
Наиболее близким по своей технической сущности является устройство для очистки картофеля, содержащее вертикально расположенный корпус с цилиндрической рабочей камерой, внутренние стенки которой покрыты абразивным материалом, а в днище установлен побудительный рабочий орган и выгрузное окно (А.с. СССР 655382, кл. A47J 17/18).
Недостатком данного устройства является его малая производительность и низкое качество очистки. Это вызвано тем, что при больших оборотах побудительного рабочего органа начинается проскальзывание картофеля относительно его поверхности и получаемое клубнями центробежное усилие недостаточно для продвижения клубней по стенкам камеры.
Задачей настоящего изобретения является повышение качества очистки и увеличение производительности устройства.
Настоящая задача решается тем, что в устройстве для очистки картофеля, содержащем вертикально расположенный корпус с цилиндрической рабочей камерой, внутренние стенки которой покрыты абразивным материалом, а в днище установлен побудительный рабочий орган и выгрузное окно, побудительный рабочий орган выполнен в виде усеченного конуса, на образующей которого, по винтовой линии, установлены лопасти из упругого материала, при этом в цилиндрической камере, на уровне расположения последней лопасти побудительного рабочего органа, установлены упругие направители.
Упругие направители выполнены с возможностью взаимодействия с верхней лопастью рабочего органа.
Лопасти побудительного рабочего органа покрыты абразивным материалом.
Технический результат, достигаемый предлагаемым изобретением, заключается в том, что благодаря лопастям, поднимающим клубни в верхнюю часть цилиндрической рабочей камеры, и упругим направителям используется вся ее полезная площадь, покрытая абразивным материалом, что в свою очередь влияет не только на скорость очистки клубней, но и на их качество, так как в предлагаемом устройстве очистка клубней ведется при продвижении их сверху вниз, т.е. не при жестких режимах работы.
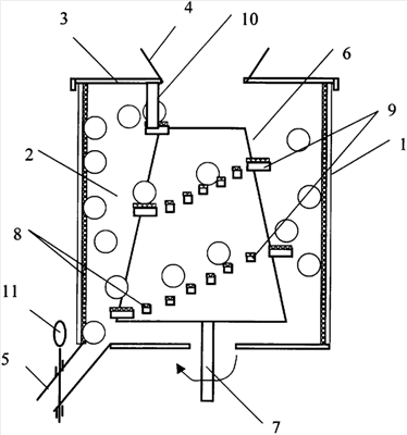
На чертеже дана схема устройства для очистки картофеля.
Устройство состоит из вертикально расположенного корпуса 1, выполненного в виде цилиндрической рабочей камеры 2, закрытой крышкой 3 и имеющей загрузную горловину 4 и выгрузное окно 5. Внутри цилиндрической рабочей камеры 2 установлен побудительный рабочий орган 6, выполненный в виде усеченного конуса, закрепленного на приводном валу 7. Внутренние стенки рабочей камеры покрыты абразивным материалом 8. По образующей побудительного рабочего органа 6, по винтовой линии, установлены лопасти 9 из упругого покрытого абразивом материала. В цилиндрической рабочей камере 2 на уровне верхней лопасти побудительного рабочего органа установлен упругий направитель 10, выполненный с возможностью взаимодействия с ней. В выгрузном окне 5 установлена заслонка 11. Упругий направитель закреплен одним концом на крышке 3 цилиндрической рабочей камеры 2.
Устройство для очистки картофеля работает следующим образом. Приводится в действие приводной вал 7, неочищенный, предварительно вымытый картофель через загрузную горловину 4 подается в рабочую камеру 2 корпуса 1 и попадает на верхнее основание усеченного конуса побудительного рабочего органа 6. За счет центробежных сил очищаемый картофель откидывается к стенкам рабочей камеры 2, покрытым абразивным материалом 8. Картофель по стенкам рабочей камеры 2, покрытым абразивным материалом 8, опускается на дно рабочей камеры 2, где захватывается лопастями 9, также покрытыми абразивным материалом, и продвигается по ним по винтовой линии вокруг усеченного конуса к его верхнему основанию, где в самой верхней точке попадает под удар упругого направителя 10, закрепленного одним концом к крышке 3 рабочей камеры 2, высвободившегося из под его верхней лопасти 9. Отброшенный данной лопастью картофель попадает снова к стенке рабочей камеры 2, покрытой абразивным материалом 8, и процесс повторяется. Очищенный картофель после остановки побудительного рабочего органа 6 и открытии заслонки 11 в выгрузном окне 5 выводится из устройства.
Формула изобретения
1. Устройство для очистки картофеля, содержащее вертикально расположенный корпус с цилиндрической рабочей камерой, внутренние стенки которой покрыты абразивным материалом, а в днище установлен побудительный рабочий орган и выгрузное окно, отличающееся тем, что побудительный рабочий орган выполнен в виде усеченного конуса, на образующей которого, по винтовой линии, установлены лопасти из упругого материала, при этом в цилиндрической камере, на уровне расположения последней лопасти побудительного рабочего органа, установлены упругие направители.
2. Устройство по п.1, отличающееся тем, что упругие направители выполнены с возможностью взаимодействия с верхней лопастью рабочего органа.
3. Устройство по п.1, отличающееся тем, что лопасти побудительного рабочего органа покрыты абразивным материалом.
РИСУНКИ
|
|