|
|
(21), (22) Заявка: 2007115649/13, 25.04.2007
(24) Дата начала отсчета срока действия патента:
25.04.2007
(46) Опубликовано: 20.01.2009
(56) Список документов, цитированных в отчете о поиске:
SU 1287835 A1, 07.02.1987. SU 368849, 08.11.1973. SU 147911, 01.01.1962. MD 912 C2, 31.12.1998.
Адрес для переписки:
367015, Республика Дагестан, г.Махачкала, пр. имама Шамиля, 70, ГОУ ВПО ДГТУ, отдел интеллектуальной собственности
|
(72) Автор(ы):
Мурадов Миязуллах Салманович (RU), Мурадова Мадина Миязуллаховна (RU), Гюльмагомедова Динара Гасановна (RU)
(73) Патентообладатель(и):
ГОСУДАРСТВЕННОЕ ОБРАЗОВАТЕЛЬНОЕ УЧРЕЖДЕНИЕ ВЫСШЕГО ПРОФЕССИОНАЛЬНОГО ОБРАЗОВАНИЯ “ДАГЕСТАНСКИЙ ГОСУДАРСТВЕННЫЙ ТЕХНИЧЕСКИЙ УНИВЕРСИТЕТ” (ДГТУ) (RU)
|
(54) СТЕРИЛИЗАТОР НЕПРЕРЫВНОГО ДЕЙСТВИЯ ОТКРЫТОГО ТИПА
(57) Реферат:
Стерилизатор состоит из корпуса, внутри которого установлен двухцепной транспортер, между цепями которого закреплен носитель для банок. В нижней части корпуса находится ванна предварительного нагрева банок водой, ванна нагрева и стерилизации банок с продуктом с рН<4,4 с кипящей водой и ванна нагрева и стерилизации банок с продуктом с рН 4,4 воздушным потоком. В верхней части корпуса располагаются ванны, предназначенные для ступенчатого охлаждения банок водой. Во время прохождения носителей с банками по всем ваннам, носитель вращается вокруг своей оси, при этом банка вращается с донышка на крышку. Предложенный стерилизатор значительно экономит производственную площадь. 2 ил.
Изобретение относится к оборудованию предприятий консервной промышленности и может быть использовано для стерилизации консервов в стеклянной таре.
Известны стерилизаторы непрерывного действия, работающие под давлением (пневматические, с роторным транспортером, стерилизатор Бювейса, Гидролоток, фирмы FMC, Гидрофлоу, гидростатаческие и пневмогидростатические и стерилизаторы открытого типа, см. книгу Рогачев ВИ, Бабарин В.П. Стерилизаторы непрерывного действия. – М.: Пищевая промышленность, 1978 г.).
Недостатком известных стерилизаторов являются герметичность аппарата для создания противодавления, их громоздкость, большая производственная площадь, невозможность вращения банок “с донышка на крышку”.
Наиболее близким предлагаемому изобретению является аппарат для тепловой обработки продуктов в банках по авт. св. СССР. №1287835, A23L 3/02, бюл.№5, 1987 г. Недостатками этого аппарата являются невозможность вращения банок “с донышка на крышку” и периодичность работы (после загрузки банок аппарат герметически закрывается и идет процесс стерилизации консервов).
Целью изобретения являются обеспечение возможности стерилизации консервов с pH 4,4 при атмосферном давлении и экономия производственной площади.
Поставленная цель достигается тем, что все ванны, где происходят процессы предварительного нагрева, собственно стерилизации и ступенчатого охлаждения установлены в одном корпусе, причем ванны предварительного нагрева и собственно стерилизации находятся в нижней части корпуса, а ступенчатого охлаждения – в верхней части его, за водяной ванной собственно стерилизации установлена воздушная ванна с температурой потока 170-200°С для прогрева консервов до 120°С и собственно стерилизации.
Такое выполнение аппарата обеспечивает возможность стерилизации консервов с pH 4,4 при атмосферном давлении, так как консервы можно нагреть до 120-125°С в воздушном потоке температурой 170-200°С, экономию занимаемой производственной площади аппаратом в силу расположения ванн друг над другом.
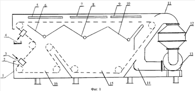
Изобретение поясняется фиг.1 и 2.
Стерилизатор представляет собой корпус 1, внутри которого установлен двухцепной транспортер 2, между цепями которого установлен в подшипниках носитель банок 3. Внутри корпуса установлены ванны 16 – для предварительного нагрева водой консервов в стеклянной таре до 60-75°С, 15 – для нагрева водой и собственно стерилизации, 14 – для прогрева консервов с рН 4,4 воздушным потоком температурой 170-200°С, 10 – для охлаждения консервов душеванием водой температурой 80-90°C при помощи душирующего устройства 9, 8 – для охлаждения консервов водой температурой 60-70°С при помощи душирующего устройства 7, 6 – для окончательного охлаждения консервов водой температурой 15-25°С при помощи душирующего устройства 5. Для получения и нагнетания нагретого воздуха установлены циркуляционный воздуховод 11, калорифер (паровой или электрический) 12 и вентилятор 13. Для сообщения носителю вращательного движения установлен цепной транспортер 18, который зацепляется со звездочкой 17 носителя.
Стерилизатор непрерывного действия открытого типа работает следующим образом. Основной транспортирующий орган – двухцепной транспортер 2 совершает прерывистое движение. При выстое транспортера банки загружаются в ячейки носителя 3. При движении транспортера 2 банки в ячейках носителя 3 устанавливаются жестко в вертикальном положении за счет образования замка. После этого носитель 3 с жестко установленными банками проходит через ванну 16 с нагретой водой температурой 60-70°С. Проходя через эту ванну, консервы в стеклянной таре прогреваются до 60-65°С.
При прохождении носителя через ванну 16 носитель вращается за счет дополнительного цепного транспортера 18, при этом в зависимости от вида консервов скорость перемещения транспортера 18 изменяется, и таким образом регулируют частоту вращения банок “с донышка на крышку”. Затем носитель 3 с банками проходит через ванну 15 с кипящей водой, где происходит прогрев и собственно стерилизация консервов с рН<4,4 (кислотные). Для консервов с рН 4,4 специально установлена воздушная ванна 14 с температурой воздушного потока 170-200°С, где консервы прогреваются до 120-125°С. Отработанный воздушный поток по циркуляционной трубе 11 всасывается вентилятором 13 через калорифер 12 и нагнетается в воздушную ванну 14. После этого консервы в банках охлаждаются ступенчато душеванием водой с температурой 80-90°C (ванна 10), 60-70°С (ванна 8) и 15-25°С (ванна 6). При прохождении носителя с банками консервов по всем ваннам, носитель вращается вокруг своей оси, при этом банка вращается “с донышка на крышку”. Далее носитель перемещается по горизонтали, освобождается от замка и банки в ячейках носителя становятся свободными. При огибании двухцепного транспортера, проходя верхние ведущие звездочки, из ячеек носителя банки под действием собственной массы выходят и устанавливаются на отводящий транспортер 4.
Формула изобретения
Стерилизатор непрерывного действия открытого типа, характеризующийся тем, что он состоит из корпуса, внутри которого установлен двухцепной транспортер, между цепями которого закреплен носитель для банок, в нижней части корпуса находится ванна предварительного нагрева банок водой до 60-75°С, ванна нагрева и стерилизации банок с продуктом рН<4,4 с кипящей водой и ванна нагрева и стерилизации банок с продуктом рН 4,4 воздушным потоком температурой 170-200°С, в верхней части корпуса располагаются ванны, предназначенные для ступенчатого охлаждения банок водой с температурой 80-90°С, 60-70°С и 15-20°С, во время прохождения носителей с банками по всем ваннам, носитель вращается вокруг своей оси, при этом банка вращается «с донышка на крышку».
РИСУНКИ
|
|