|
|
(21), (22) Заявка: 2007122596/12, 15.06.2007
(24) Дата начала отсчета срока действия патента:
15.06.2007
(46) Опубликовано: 20.01.2009
(56) Список документов, цитированных в отчете о поиске:
RU 2245031 С2, 27.01.2005. SU 1790361 A3, 23.01.1993. RU 2256321 C1, 20.07.2005. SU 460854 A1, 25.02.1975. SU 75262 A1, 01.01.1949. RU 2249951 C2, 20.04.2005. US 2295042 A, 08.09.1942. US 2323656 A, 06.07.1943. US 2325247 A, 27.07.1943.
Адрес для переписки:
614051, г.Пермь, ул. Пушкарская, 98, кв.50, А.А. Ракшину
|
(72) Автор(ы):
Ракшин Александр Анатольевич (RU)
(73) Патентообладатель(и):
Ракшин Александр Анатольевич (RU)
|
(54) БЛЕСНА СО СКЛАДЫВАЮЩИМСЯ КРЮЧКОМ
(57) Реферат:
Изобретение относится к области любительского и спортивного рыболовства. Блесна содержит соединенный со связью и, по меньшей мере, одним крючком, содержащим жало с бородкой, поддев, цевье и присоединительную часть, элемент с наружной цилиндрической поверхностью. Дополнительно содержит средство, с одного конца охватывающее элемент и выполненное с возможностью взаимного с элементом продольного перемещения вперед-назад и сжатия находящейся между ними пружины, а с другого конца имеющего, как минимум, одну радиальную выемку. Крючок присоединительной частью шарнирно соединен с элементом и выполнен с возможностью входа своим жалом с бородкой в зацепление с радиальной выемкой в исходном состоянии пружины и выхода из него при ее сжатии. Обеспечивается повышение эффективности работы блесны. 18 з.п. ф-лы, 1 ил.
Изобретение относится к любительскому и спортивному рыболовству и может использоваться в качестве искусственной приманки для рыбы.
Известна блесна, содержащая соединенный с леской и, по меньшей мере, одним крючком корпус (патент RU 2245031, А01К 85/00, опубл. 2005.01.27). Однако ее недостатками являются зацеп крючком посторонних предметов при движении по воде, что делает работу блесны неэффективной, а также малая площадь поддева находящейся вблизи крючка рыбы.
Указанная блесна по своему техническому решению является наиболее близкой предлагаемому изобретению.
Технический результат изобретения заключается в повышении эффективности работы блесны.
Технический результат достигается за счет того, что блесна, содержащая соединенный со связью и, по меньшей мере, одним крючком, содержащим жало с бородкой, поддев, цевье и присоединительную часть, элемент с наружной цилиндрической поверхностью, содержит средство, с одного конца охватывающее элемент и выполненное с возможностью взаимного с элементом продольного перемещения вперед-назад и сжатия находящейся между ними пружины, а с другого конца имеющего, как минимум, одну радиальную выемку, при этом крючок присоединительной частью шарнирно соединен с элементом и выполнен с возможностью входа своим жалом с бородкой в зацепление с радиальной выемкой в исходном состоянии пружины и выхода из него при ее сжатии.
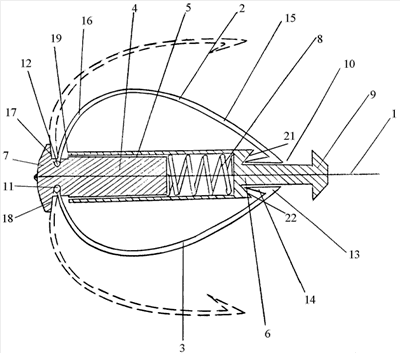
На чертеже изображена блесна в исходном состоянии, штрихпунктирной линией показан крючок в рабочем состоянии после подсечки.
Блесна содержит связь в виде лески 1, крючки 2 и 3, элемент 4 с наружной цилиндрической поверхностью 5, средство 6, с конца 7 охватывающее элемент 4 и выполненное с возможностью взаимного с ним продольного перемещения вперед-назад и сжатия находящейся между ними пружины 8, а с другого конца 9 имеющего радиальную выемку 10, крючки 2 и 3 посредством соединительных частей 11 и 12, шарнирно соединенных с элементом 4. Крючок 2 (крючок 3 устроен аналогично) имеет жало 13 с бородкой 14, цевье 15, поддев 16. Элемент 4 выполнен с опорной поверхностью 17, ограничивающей вращательное движение крючка 2 против часовой стрелки, и опорной поверхностью 18, ограничивающей вращательное движение крючка 3 по часовой стрелке. Средство 6 имеет торец 19.
Используется блесна следующим образом.
В зависимости от вида ловли и величины вылавливаемой рыбы выбирают соответствующие размеры крючков 2 и 3, а также их количество, необходимые характеристики пружины 8, в том числе ее силу при рабочей деформации (при подсечке рыбы), силу при предварительной деформации, которая обеспечивает нахождение крючка в зацеплении с радиальной выемкой 10 в его исходном состоянии и при проводке блесны. Ловля рыбы на блесну заключается в периодическом приведении блесны в движение посредством лески 1. При проводке блесна привлекает рыбу и является для нее точкой прицела. В момент поклевки производится подсечка рыбы. Подсечка рыбы производится за счет того, что рывком лески 1 элемент 4 перемещается относительно средства 6, сжимает пружину 8 вместе с присоединительными частями 11 и 12 крючков 2 и 3 и, вследствие инерции средства 6, совершает поступательное движение в направлении движения лески 1. При этом крючки 2 и 3 сталкиваются с торцом 19 средства 6, под действием которого выходят из зацепления с радиальной выемкой 10 и «раскрываются». Степень их «раскрытия» определяется опорными поверхностями соответственно 21 и 22, которые ограничивают вращательное движение крючков 2 и 3.
Хранится блесна в состоянии, в котором жало крючка находится в выемке.
Возможны различные варианты конкретных исполнений предлагаемого технического решения.
– Блесна, у которой средство содержит выемку с внутренними продольными размерами, превышающими ее наружные размеры.
– Блесна, содержащая элемент, который содержит опорную поверхность, ограничивающую вращательное движение крючка и имеющую аналогичную с соприкасающейся поверхностью крючка форму.
– Блесна, у которой опорная поверхность выполнена с возможностью регулирования угла поворота крючка при выходе из зацепления с радиальной выемкой, к примеру, при помощи стержня с резьбой, находящего в резьбовом отверстии в элементе с опорной поверхностью.
– Блесна, у которой при зацеплении крючка с выемкой жало с бородкой находится в выемке.
– Блесна, у которой средство со стороны радиальной выемки выполнено в виде зонта.
– Блесна, у которой цевье крючка со стороны жала с бородкой выполнено с меньшей кривизной, чем со стороны присоединительной части.
– Блесна, у которой цевье выполнено прямолинейным.
– Блесна с поддевом, выполненным со стороны присоединительной части.
– Блесна, у которой поддев содержит дополнительный груз.
– Блесна, у которой наружная поверхность средства выполнена цилиндрической, или грушевидной, или сферической, или конусной, или эллипсоидной формы.
– Блесна с поддевом, выполненным в виде, по меньшей мере, одной стороны острого, или прямого, или тупого угла, образуемого с цевьем, или в виде дуги окружности, или в виде параболы, или в виде гиперболы.
– Блесна, у которой средство имеет, по меньшей мере, одно углубление для цевья и поддева, при этом форма углубления может совпадать или не совпадать с их формой.
– Связь блесны выполняется гибкой, в том числе в виде лески, или жесткой в виде поводка из стержня или проволоки.
– Блесна с разными по размерам крючками и/или разной степенью их «раскрытия» в момент подсечки.
Предлагаемая блесна не требует противозацепных средств, в момент подсечки действует на намного большей площади (площади для поддева рыбы), чем существующие ее конструкции, при нахождении крючков в углублении имеет для рыбы внешне безопасный вид.
Предлагаемое техническое решение промышленно применимо, информация о нем в доступных источниках информации отсутствует, для специалиста средней квалификации оно не является явным.
Формула изобретения
1. Блесна, содержащая соединенный со связью и, по меньшей мере, одним крючком, содержащим жало с бородкой, поддев, цевье и присоединительную часть, элемент с наружной цилиндрической поверхностью, отличающаяся тем, что содержит средство с одного конца охватывающее элемент и выполненное с возможностью взаимного с элементом продольного перемещения вперед-назад и сжатия находящейся между ними пружины, а с другого конца имеющего, как минимум, одну радиальную выемку, при этом крючок присоединительной частью шарнирно соединен с элементом и выполнен с возможностью входа своим жалом с бородкой в зацепление с радиальной выемкой в исходном состоянии пружины и выхода из него при ее сжатии.
2. Блесна по п.1, отличающаяся тем, что внутренние продольные размеры выемки превышают ее наружные размеры.
3. Блесна по п.1, отличающаяся тем, что элемент содержит опорную поверхность, ограничивающую вращательное движение крючка.
4. Блесна по п.3, отличающаяся тем, что опорная поверхность выполнена с возможностью регулирования угла поворота крючка при выходе из зацепления с радиальной выемкой.
5. Блесна по п.3, отличающаяся тем, что опорная поверхность имеет аналогичную с соприкасающейся поверхностью крючка форму.
6. Блесна по п.1, отличающаяся тем, что при зацеплении крючка с выемкой жало с бородкой находится в выемке.
7. Блесна по п.1, отличающаяся тем, что средство со стороны радиальной выемки выполнено в виде зонта.
8. Блесна по п.1, отличающаяся тем, что цевье крючка со стороны жала с бородкой выполнено с меньшей кривизной, чем со стороны присоединительной части.
9. Блесна по п.1, отличающаяся тем, что цевье выполнено прямолинейным.
10. Блесна по п.1, отличающаяся тем, что поддев выполнен со стороны присоединительной части.
11. Блесна по п.1, отличающаяся тем, что поддев выполнен в виде, по меньшей мере, одной стороны острого или прямого, или тупого угла, образуемого с цевьем, или в виде дуги окружности, или в виде параболы, или в виде гиперболы.
12. Блесна по п.1, отличающаяся тем, что поддев содержит дополнительный груз.
13. Блесна по п.1, отличающаяся тем, что наружная поверхность средства выполнена цилиндрической, или грушевидной, или сферической, или конусной, или эллипсоидной формы.
14. Блесна по п.13, отличающаяся тем, что средство имеет, по меньшей мере, одно углубление для цевья и поддева.
15. Блесна по п.14, отличающаяся тем, что форма углубления совпадает с формой крючка.
16. Блесна по п.1, отличающаяся тем, что связь выполнена гибкой.
17. Блесна по п.16, отличающаяся тем, что связью является леска.
18. Блесна по п.1, отличающаяся тем, что связь выполнена жесткой.
19. Блесна по п.18, отличающаяся тем, что связь выполнена в виде поводка из стержня или проволоки.
РИСУНКИ
|
|