|
|
(21), (22) Заявка: 2007126139/12, 09.07.2007
(24) Дата начала отсчета срока действия патента:
09.07.2007
(46) Опубликовано: 20.01.2009
(56) Список документов, цитированных в отчете о поиске:
ШЕСТАКОВ Я.И. и др. Конструирование и расчет технологического оборудования лесных машин. – Йошкар-Ола: МарГТУ, 2004, с.101, рис.2.29. SU 665854 A1, 05.06.1979. SU 716538 A1, 25.02.1980.
Адрес для переписки:
424000, Республика Марий Эл, г.Йошкар-Ола, пл. Ленина, 3, МарГТУ, отдел интеллектуальной собственности
|
(72) Автор(ы):
Шестаков Яков Иванович (RU), Грязин Владимир Альбертович (RU), Грязин Сергей Альбертович (RU), Александров Валентин Александрович (RU)
(73) Патентообладатель(и):
Государственное образовательное учреждение высшего профессионального образования Марийский государственный технический университет (RU)
|
(54) ЗАХВАТНО-СРЕЗАЮЩЕЕ УСТРОЙСТВО
(57) Реферат:
Захватно-срезающее устройство включает установленные на общем основании срезающий механизм, неподвижный упор, шарнирно-сочлененный с основанием обжимной рычаг с приводным гидроцилиндром и валочно-домкратный механизм. Валочно-домкратный механизм содержит рычаг-домкрат. Один конец рычага-домкрата выполнен в виде домкрата, а второй конец шарнирно соединен с нижней частью основания. Второй конец рычага-домкрата соединен с ползуном. Ползун посредством рычажного механизма соединен с приводным гидроцилиндром. Рычажный механизм содержит два рычага, шарнирно соединенные между собой под углом. Рычажный механизм одним концом шарнирно соединен с приводным гидроцилиндром, а другим – с основанием. Соединительный шарнир рычагов рычажного механизма размещен в ползуне. Предлагаемое устройство позволяет упростить конструкцию и, используя один гидроцилиндр, осуществлять захват, беззажимное срезание и направленную валку срезаемого дерева. 2 з.п. ф-лы, 6 ил.
Изобретение относится к устройствам для захвата, срезания и направленной валки деревьев и может быть использовано, например, в лесной промышленности и лесном хозяйстве.
Известно захватно-срезающее устройство, содержащее установленные на общем основании срезающий механизм, неподвижный упор, шарнирно-сочлененные с основанием обжимные рычаги с приводными гидроцилиндрами (Шестаков Я.И. Конструирование и расчет технологического оборудования лесных машин: Учебное пособие / Я.И.Шестаков, И.Н.Багаутдинов. – Йошкар-Ола: МарГТУ, 2004. – 212 с., см. с.41, рис.2.2. г).
Известное захватно-срезающее устройство обладает недостаточными эксплуатационными возможностями. В частности, для беззажимной и направленной валки дерева необходимый валочный момент создается манипулятором, что приводит к дополнительному нагружению металлоконструкции машины.
Известно также захватно-срезающее устройство, содержащее установленные на общем основании срезающий механизм, неподвижный упор, шарнирно-сочлененный с основанием обжимной рычаг с приводным гидроцилиндром, валочно-домкратный механизм, включающий рычаг-домкрат, свободный конец которого выполнен в виде домкрата, а второй конец шарнирно соединен с нижней частью основания и гидроцилиндром, обеспечивающим возможность горизонтального перемещения домкрата (Шестаков Я.И. Конструирование и расчет технологического оборудования лесных машин: Учебное пособие / Я.И.Шестаков, И.Н.Багаутдинов. – Йошкар-Ола: МарГТУ, 2004. – 212 с., см. с.101, рис.2.29. о).
Известное захватно-срезающее устройство имеет относительно сложную конструкцию, включающую отдельный гидроцилиндр привода рычага-домкрата.
Технический результат заключается в упрощении конструкции. Технический результат достигается тем, что захватно-срезающее устройство, включающее установленные на общем основании срезающий механизм, неподвижный упор, шарнирно-сочлененный с основанием обжимной рычаг с приводным гидроцилиндром, валочно-домкратный механизм, включающий рычаг-домкрат, свободный конец которого выполнен в виде домкрата, а второй конец шарнирно соединен с нижней частью основания, причем новизна заключается в том, что второй конец рычага-домкрата в свою очередь соединен с ползуном, при этом ползун, посредством рычажного механизма соединен с приводным гидроцилиндром, а рычажный механизм содержит два рычага, шарнирно соединенные между собой под углом, причем рычажный механизм одним свободным концом шарнирно соединен с приводным гидроцилиндром, а другим – с основанием, при этом соединительный шарнир рычагов рычажного механизма размещен в ползуне, а плечи рычажного механизма имеют одинаковую длину и шарниры свободных концов расположены соосно с приводным гидроцилиндром.
Предлагаемая конструкция захватно-срезающего устройства снижает сложность конструкции и позволяет, используя один гидроцилиндр, осуществлять захват, беззажимное срезание и направленную валку срезаемого дерева.
В патентной и научно-технической литературе подобной конструкции захватно-срезающего устройства нами не обнаружено.
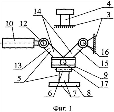
На фиг.1 изображено захватно-срезающее устройство в раскрытом положении; на фиг.2 – то же, вид сверху устройства на фиг.1; на фиг.3 – то же, при захвате обжимным рычагом дерева; на фиг.4 – то же, вид сверху устройства на фиг.3; на фиг.5 – то же, при направленной валке дерева; на фиг.6 – то же, вид сверху устройства на фиг.5.
Захватно-срезающее устройство включает обжимной рычаг 1, установленный посредством вертикальной оси 2 на основании 3; на котором закреплены также неподвижный упор 4 и валочный механизм 5, включающий установленный посредством горизонтальной оси 6 рычаг-домкрат 7; на свободном конце которого закреплен домкрат 8, а на другом конце – ползун 9; приводной гидроцилиндр 10 посредством шарнира 11 соединен с обжимным рычагом 1, а шарниром 12 – с плечом 13 рычажного механизма 14, плечо 15 которого шарниром 16 соединено с основанием 3; соединительный шарнир 17 рычажного механизма 14 входит в ползун 9 рычага-домкрата 7.
Захватно-срезающее устройство работает следующим образом.
Перед захватом дерева оператор, включая приводной гидроцилиндр 10 на втягивание штока осуществляет раскрытие обжимного рычага 1 и отведение от дерева рычага-домкрата 7 (фиг.1 и 2). Наведя захватно-срезающее устройство на дерево, оператор переводит приводной гидроцилиндр 10 на выдвижение штока, обжимной рычаг 1 обхватывает ствол срезаемого дерева 18. После контакта со стволом дерева 18 обжимной рычаг 1 останавливается и приводной гидроцилиндр 10, продолжая движение, через шарнир 12 и плечо 13 рычажного механизма 14 шарниром 17 давит на ползун 9, перемещая домкрат 8 рычага-домкрата 7 к дереву 18 до упора. При этом приводной гидроцилиндр 10 и рычажный механизм 14 поворачивается относительно шарнира 16 от ствола дерева 18 (фиг.3 и 4). Оператор после полного зажима ствола дерева 18 задействует механизм срезания (не показан) с одновременным продолжением выдвижения штока приводного гидроцилиндра 10. По мере перерезания ствола дерева 18 шток приводного гидроцилиндра 10 выдвигается и перемещает посредством шарнира 12 и плеча 13 рычажного механизма 14 шарнир 17 в ползуне 9, смещая домкрат 8 рычага-домкрата 7 валочного механизма 5 в сторону срезаемого ствола дерева 18 (фиг.5 и 6). За счет реакции, передаваемой посредством основания 3 неподвижному упору 4 осуществляется беззажимное срезание и направленная валка дерева. После этого цикл повторяется выше описанным способом.
Такая конструкция захватно-срезающего устройства позволяет использовать усилие приводного гидроцилиндра для захвата дерева, беззажимного срезания и направленной валки, снизить сложность конструкции устройства, повысить эффективность его использования.
Формула изобретения
1. Захватно-срезающее устройство, включающее установленные на общем основании срезающий механизм, неподвижный упор, шарнирно-сочлененный с основанием обжимной рычаг с приводным гидроцилиндром, валочно-домкратный механизм, включающий рычаг-домкрат, свободный конец которого выполнен в виде домкрата, а второй конец шарнирно соединен с нижней частью основания, отличающееся тем, что второй конец рычага-домкрата соединен с ползуном, при этом ползун, посредством рычажного механизма, соединен с приводным гидроцилиндром, а рычажный механизм содержит два рычага, шарнирно соединенные между собой под углом, причем рычажный механизм одним свободным концом шарнирно соединен с приводным гидроцилиндром, а другим – с основанием, при этом соединительный шарнир рычагов рычажного механизма размещен в ползуне.
2. Захватно-срезающее устройство по п.1, отличающееся тем, что плечи рычажного механизма имеют одинаковую длину.
3. Захватно-срезающее устройство по п.1, отличающееся тем, что шарниры свободных концов рычажного механизма расположены соосно с приводным гидроцилиндром.
РИСУНКИ
|
|