|
|
(21), (22) Заявка: 2007132145/12, 24.08.2007
(24) Дата начала отсчета срока действия патента:
24.08.2007
(46) Опубликовано: 20.01.2009
(56) Список документов, цитированных в отчете о поиске:
SU 1762795 A1, 23.09.1992. SU 1576031 A1, 07.07.1990. SU 1588320 A1, 30.08.1990. RU 2114525 C1, 10.07.1998. RU 2201067 C2, 27.03.2003. US 4779810 A, 25.10.1988. FR 2551625 A1, 15.03.1985.
Адрес для переписки:
142134, Московская обл., Подольский р-н, п/о Знамя Октября, 31, ВНИИМЖ, патентный отдел
|
(72) Автор(ы):
Скоркин Владимир Кузьмич (RU), Иванов Юрий Анатольевич (RU), Резник Евгений Иванович (RU), Повалихин Николай Васильевич (RU), Скоркин Андрей Владимирович (RU)
(73) Патентообладатель(и):
Государственное научное учреждение Всероссийский научно-исследовательский и проектно-технологический институт механизации животноводства (RU)
|
(54) РАЗРЕЗЧИК РУЛОНОВ СТЕБЕЛЬЧАТЫХ КОРМОВ
(57) Реферат:
Изобретение относится к сельскохозяйственному машиностроению и может быть использовано для разрезания корма в рулонах. Разрезчик рулонов содержит вертикальную шахту и расположенное под ней разрушающее рулон звено. На стенках шахты смонтированы два дисковых ножа. Разрушающее рулон звено имеет конусообразную форму с вершиной, обращенной к центру шахты. Рулон в шахту подается транспортером с граблинами. В шахте рулон при свободном падении вниз подвергается боковому надрезу ножами и затем при столкновении с конусообразным звеном разрушается. При эксплуатации разрезчика снижаются эксплуатационные издержки. 1 з.п. ф-лы, 1 ил.
Изобретение относится к сельскохозяйственному производству, в частности к устройствам для разрезания рулонного корма.
Известен разрезчик рулонов, содержащий режущий контур, консольно закрепленный на каретке и расположенный на оси симметрии устройства для захвата и ориентации рулона. Каретка установлена с возможностью вертикального перемещения (см. авт. св. №1588320, Кл. A01F 29/00, 1988 г.).
В приведенном устройстве предусмотрен сложный механизм перемещения каретки, механизм привода режущего контура и механизм ориентации рулона.
В состав механизмов включены кулачковые и фрикционные муфты, двуплечие рычаги, фиксатор положения каретки. Кроме того, в процессе работы разрезчика требуется непрерывная ориентация рулона, что усложняет процесс использования устройства. Наиболее близким к предложенному по конструктивному оформлению и достигаемому результату является разрезчик рулонов, содержащий вертикальную шахту, подающий транспортер, устройство для бокового надреза рулона и установленное в основании шахты и выполненное в виде пильного элемента разрушающее рулон звено (см. а.с. СССР №1762795, Кл. A01F 29/00, 1987 г.).
В процессе эксплуатации такого устройства получают две части разрезанного рулона, что недостаточно для дальнейшего их использования, т.к. требуется доработка по разрушению полученных частей. Кроме того, в приведенном устройстве наличие пильного элемента и двух вертикальных транспортеров приводит к повышению эксплуатационных затрат и к усложнению, в целом, конструкции.
Задача предлагаемого технического решения заключается в том, чтобы в процессе эксплуатации получить более полное разрушение рулона и упростить конструкцию разрезчика рулонов, снизить эксплуатационные издержки.
Поставленная задача достигается тем, что в разрезчике рулонов стебельчатых кормов, содержащем вертикальную шахту, подающий транспортер, устройство для бокового надреза рулона и установленное в основании шахты разрушающее рулон звено, последнее выполнено конусообразной формы, вершина которого обращена к центру шахты, при этом основание шахты не пересекает основания разрушающего рулон звена, а устройство для бокового надреза содержит, по крайней мере, два дисковых ножа.
По данным патентной и научно-технической литературы заявленная совокупность признаков неизвестна, что позволяет судить о соответствии предлагаемого технического решения уровню изобретения.
Технический результат заключается в том, что подлежащий разрушению рулон поднимается транспортером к верхнему обрезу шахты и в свободном падении вдоль шахты, пересекая участок дисковых ножей, подвергается надрезу. Далее в свободном падении рулон приобретает энергию и при столкновении с разрушающим рулон звеном, выполненным конусообразной формы, подвергается разрыхлению.
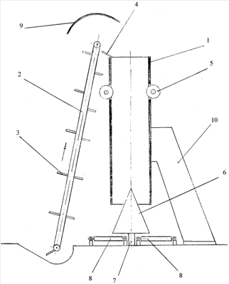
На чертеже представлен разрезчик рулонов, вид сбоку.
Разрезчик рулонов стебельчатых кормов содержит вертикальную шахту 1, подающий транспортер 2, оснащенный граблинами 3, закрепленными на тяговом органе транспортера 2. Шаг крепления граблин 3 выполнен с превышением габарита рулона. На верхнем обрезе шахты 1 установлена решетка 4, выполненная в виде ряда прутков, размещенных с возможностью перекрытия промежутков между зубьями граблин 3. На стене шахты закреплены два дисковых ножа 5 с механизмами приводов. Оснащение шахты 1 двумя дисковыми ножами обеспечивает разрушение рулона в случае смещения от центра рулона точки начала его разрушения и, кроме того, отпадает необходимость ориентации рулона при подаче его в шахту.
Под нижним обрезом шахты 1 установлено конусообразное разрушающее рулон звено 6, основание которого может быть выполнено в виде круга или многоугольника и закреплено на плоской опоре 7. Шахта 1 перекрывает только вершину конусообразного звена 6. Вершина разрушающего рулон звена 6 обращена в центр шахты 1. Под основанием разрушающего рулон звена 6 установлено транспортирующее устройство, состоящее из 2-х рядом размещенных транспортеров 8. Для предотвращения накопления корма на торцевых стенках опоры 7 привод транспортеров выполнен с возможностью их встречного движения,
Над верхним обрезом шахты на участке поворота тягового органа транспортера 2 установлен направляющий козырек 9. Шахта смонтирована на раме 10.
Разрезчик рулонов стебельчатых кормов работает следующим образом.
Транспортером 2 рулон подается к верхнему обрезу шахты 1, зубья граблин 3 пересекают промежутки стержней решетки 4, при этом рулон с участием козырька 9 направляется в шахту. При падении вдоль шахты рулон дисковыми ножами 5 подвергается боковому надрезу с 2-х сторон и далее в свободном падении приобретает кинетическую энергию. При столкновении рулона с конусообразным разрушающим звеном 6 происходит его внедрение в монолит рулона, что приводит к разрыву связей структуры корма и к разрушению рулона.
Эффект разрушения рулона зависит от ударного импульса, который определяется массой рулона и его скоростью в момент столкновения с конусообразным разрушающим рулон звеном 6. Например, рулон массой 500 кг при свободном падении с высоты 7,5…8,0 м приобретает ударный импульс 650…700 кг·сек, что с учетом боковых надрезов можно ожидать полного разрушения рулона.
Далее разрыхленный корм транспортерами 8 удаляется за пределы разрезчика рулонов и направляется на дальнейшую обработку или непосредственно на скармливание животным.
Таким образом, оснащение разрезчика рулонов стебельчатых кормов конусообразным разрушающим звеном позволяет получить из рулона разрыхленный корм с меньшими эксплуатационными затратами, повысить надежность его работы, упростить конструкцию.
Формула изобретения
1. Разрезчик рулонов стебельчатых кормов, содержащий вертикальную шахту, подающий транспортер, устройство для бокового надреза рулона и установленное под шахтой разрушающее рулон звено, отличающийся тем, что разрушающее рулон звено выполнено конусообразной формы, вершина которого обращена к центру шахты, при этом основание шахты приподнято над основанием разрушающего рулон звена.
2. Разрезчик рулонов стебельчатых кормов по п.1, отличающийся тем, что устройство для бокового надреза рулона содержит, по крайней мере, два дисковых ножа.
РИСУНКИ
|
|