|
|
(21), (22) Заявка: 2007120902/12, 04.06.2007
(24) Дата начала отсчета срока действия патента:
04.06.2007
(46) Опубликовано: 20.01.2009
(56) Список документов, цитированных в отчете о поиске:
SU 1782398 A1, 23.12.1992. SU 410722 A, 15.01.1974. DE 2353597 A1, 07.05.1975. US 6325005 B1, 04.12.2001. SU 1436911 A1, 15.11.1988.
Адрес для переписки:
347740, Ростовская обл., г. Зерноград, ул. Ленина, 21, ФГОУ ВПО АЧГАА
|
(72) Автор(ы):
Лобачевский Петр Яковлевич (RU), Хижняк Владимир Иванович (RU), Несмиян Андрей Юрьевич (RU), Авраменко Федор Владимирович (RU)
(73) Патентообладатель(и):
Федеральное государственное образовательное учреждение высшего профессионального образования “Азово-Черноморская государственная агроинженерная академия” (ФГОУ ВПО АЧГАА) (RU)
|
(54) ПНЕВМАТИЧЕСКИЙ ВЫСЕВАЮЩИЙ АППАРАТ
(57) Реферат:
Высевающий аппарат включает корпус с семенной камерой, вакуумную камеру и установленный между ними высевающий диск с присасывающими захватами. В одном варианте присасывающие захваты выполнены в виде двух равных прямоугольных отверстий. Одно отверстие расположено на высевающем диске радиально. Второе отверстие расположено тангенциально. Радиальное и тангенциальное отверстия пересекаются в их центральных частях с образованием креста. В другом варианте радиальное отверстие примыкает к средней части тангенциального отверстия со стороны, обращенной к центру высевающего диска. В третьем варианте присасывающие захваты выполнены в виде двух равных прямоугольных отверстий. Отверстия расположены радиально и тангенциально с пересечением в центральных частях. В центре пересечения отверстий выполнено круглое отверстие. Использование изобретения позволит повысить качество дозирования семян. 2 ил.
Изобретение относится к сельскохозяйственному машиностроению, в частности к машинам для посева семян сельскохозяйственных культур.
Известен пневматический высевающий аппарат, включающий корпус с семенной камерой, вакуумную камеру и установленный между ними высевающий диск с круглыми присасывающими отверстиями /1/.
Недостатком данного изобретения является низкое качество дозирования семян.
Наиболее близким техническим решением к предлагаемому изобретению из известных является пневматический высевающий аппарат, включающий корпус с семенной камерой, вакуумную камеру и установленный между ними высевающий диск с продолговатыми, радиально расположенными на нем присасывающими отверстиями /2/.
Недостатком данного изобретения является ухудшение условий для захвата семян присасывающими отверстиями и, как следствие, низкое качество дозирования семян.
Задачей настоящего изобретения является повышение качества дозирования семян пневматическим высевающим аппаратом.
Поставленная задача достигается тем, что в пневматическом высевающем аппарате, включающем корпус с семенной камерой, вакуумную камеру и установленный между ними высевающий диск с присасывающими захватами, присасывающие захваты выполнены или в виде двух равных прямоугольных отверстий, одно из которых расположено на высевающем диске радиально, второе тангенциально, причем тангенциальное и радиальное отверстия пересекаются в их центральных частях с образованием креста, или радиальное отверстие примыкает к средней части тангенциального отверстия со стороны, обращенной к центру высевающего диска, или в виде двух равных, пересекающихся в центральных частях, прямоугольных отверстий и выполненного в центре их пересечения круглого отверстия.
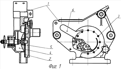
На фиг.1 изображена схема пневматического высевающего аппарата; на фиг.2 – варианты исполнения присасывающих отверстий.
Пневматический высевающий аппарат (фиг.1) включает корпус 1, в котором на приводном валу устанавливается и фиксируется высевающий диск 2 с присасывающими отверстиями 3 (фиг.2) в виде двух равных прямоугольников, один из которых расположен на высевающем диске радиально, второй тангенциально. Возможны различные варианты их исполнения. Например, крестообразный, когда прямоугольники пересекаются в центральных частях (фиг.2, а), или в виде пересекающихся в центральных частях прямоугольников с дополнительным центральным сверлением (фиг.2, б), или когда радиально расположенное прямоугольное отверстие примыкает к средней части тангенциального прямоугольного отверстия со стороны, обращенной к центру высевающего диска 2 (фиг.2, в). Кроме того, с одной стороны высевающего диска 2 расположена семенная камера 4, а с другой – вакуумная камера 5. В верхней части корпуса 1 на выходе из семенной камеры 4 расположен сбрасыватель «лишних» семян 6.
Пневматический высевающий аппарат работает следующим образом.
Семена из бункера поступают в семенную камеру 4, где под действием разрежения, создаваемого в вакуумной камере 5, семена захватываются присасывающими отверстиями 3 высевающего диска 2. При этом прямоугольные отверстия, изготовленные в высевающем диске 2 радиально, эффективней захватывают семена, ориентация которых в семенной камере 4 близка к горизонтальной (фиг.1), а тангенциально расположенные отверстия эффективней захватывают семена, ориентация которых близка к вертикальной. В случае необходимости применяют крестообразные присасывающие отверстия 3, дополненные круглыми центральными отверстиями (фиг.2, б), которые позволяют снизить травмирование семян. При вращении высевающего диска 2 семена попадают в зону действия сбрасывателя «лишних» семян 6, где «лишние» семена отпадают и остается одно из них, наиболее прочно удерживаемое. Причем выполнение присасывающих отверстий 3, таким образом, что радиально расположенный прямоугольник примыкает к средней части тангенциального прямоугольника со стороны, обращенной к центру вращения высевающего диска 2 (фиг.2, в), позволяет повысить качество работы сбрасывателя лишних семян 6. При дальнейшем вращении высевающего диска 2 семена перемещаются в зону сброса, где происходит отсечка вакуума, и они под действием силы тяжести падают в борозду, подготовленную сошником.
Источники информации
1. Патент Франции №1535445, кл. А01С 7/04, 1968.
2. Авторское свидетельство СССР №1782398, кл. А01С 7/04, 1990 – прототип.
Формула изобретения
Пневматический высевающий аппарат, включающий корпус с семенной камерой, вакуумную камеру и установленный между ними высевающий диск с присасывающими захватами, отличающийся тем, что присасывающие захваты выполнены или в виде двух равных прямоугольных отверстий, одно из которых расположено на высевающем диске радиально, второе – тангенциально, причем радиальное и тангенциальное отверстия пересекаются в их центральных частях с образованием креста или радиальное отверстие примыкает к средней части тангенциального отверстия со стороны, обращенной к центру высевающего диска, или в виде расположенных радиально и тангенциально двух равных, пересекающихся в центральных частях, прямоугольных отверстий и выполненного в центре их пересечения круглого отверстия.
РИСУНКИ
|
|