|
(21), (22) Заявка: 2007101570/09, 14.06.2005
(24) Дата начала отсчета срока действия патента:
14.06.2005
(30) Конвенционный приоритет:
28.06.2004 CN 200410059471.6
(43) Дата публикации заявки: 10.08.2008
(46) Опубликовано: 10.01.2009
(56) Список документов, цитированных в отчете о поиске:
CN 1206263 А, 27.01.1999. RU 97116149 А, 10.08.1999. RU 2177672 C1, 27.12.2001. US 5794129 A, 11.08.1998. WO 01/76098 A1, 11.10.2001.
(85) Дата перевода заявки PCT на национальную фазу:
29.01.2007
(86) Заявка PCT:
CN 2005/000846 (14.06.2005)
(87) Публикация PCT:
WO 2006/000147 (05.01.2006)
Адрес для переписки:
191002, Санкт-Петербург, а/я 5, ООО “Ляпунов и партнеры”, пат.пов. А.С.Пантелееву, рег.№ 1071
|
(72) Автор(ы):
ВАН Цян (CN)
(73) Патентообладатель(и):
ХУАВЭЙ ТЕКНОЛОДЖИЗ КО., ЛТД. (CN)
|
(54) СПОСОБ И УСТРОЙСТВО ДЛЯ ПЕРЕРАСПРЕДЕЛЕНИЯ МОЩНОСТИ ПЕРЕДАЧИ ПО ПРЯМОМУ СОВМЕСТНО ИСПОЛЬЗУЕМОМУ КАНАЛУ В ТРАНКИНГОВОЙ СИСТЕМЕ СВЯЗИ
(57) Реферат:
Раскрыты способ и устройство для перераспределения мощности передачи по прямому совместно используемому каналу в транкинговой системе связи. Технический результат – улучшение качества услуг с целью устранения потери вызова. Для этого способ содержит следующие действия: выбирают транкингового пользователя из числа оставшихся транкинговых пользователей в группе сектора; чтобы получить объединенный коэффициент усиления передачи GainRatio’, объединяют коэффициент усиления передачи GainRatio1 для канального элемента (КЭ), соответствующего выбывшему транкинговому пользователю, и коэффициент усиления передачи GainRatio2 для КЭ, соответствующего выбранному транкинговому пользователю; и задают коэффициент усиления передачи GainRatio2 равным объединенному коэффициенту усиления передачи GainRatio, при этом гарантированно удается обеспечить сохранение полной мощности передачи по прямому совместно используемому каналу группы сектора и избежать колебаний мощности передачи прямого совместно используемого канала, при этом обеспечивается качество связи транкинговых пользователей, а качество услуг значительно возрастает. 2 н. и 12 з.п. ф-лы, 2 ил.
Предмет изобретения
Заявленное изобретение относится к технологии Многоканального Доступа с Кодовым Разделением Каналов (МДКР (CDMA)), в частности к способу и устройству для перераспределения мощности передачи по прямому совместно используемому каналу в транкинговой системе связи.
Уровень техники
В транкинговой системе связи МДКР (CDMA) группа транкинговых пользователей в секторе, называемая далее транкинговыми пользователями в группе сектора, получает транкинговые услуги путем совместного использования прямого информационного канала. Это значит, что всем транкинговым пользователям в группе сектора назначается прямой совместно используемый канал и речь передается всем транкинговым пользователям в группе сектора по назначенному прямому совместно используемому каналу для выполнения транкинговых услуг.
Традиционно для совместного использования прямого канала принимают выделенный режим. Это значит, что прямой совместно используемый канал, назначенный системой всем транкинговым пользователям в группе сектора, является логически разделенным каналом передачи трафика, тогда как фактический физический канал передачи трафика, назначенный системой, является назначенным каждому транкинговому пользователю из группы сектора Канальным Элементом (КЭ (СЕ)), который используется для передачи сигналов по прямому каналу трафика соответствующему транкинговому пользователю. Так как сигнал по прямому каналу трафика, передаваемый каждым КЭ (СЕ), идентичен один другому, и все КЭ (СЕ) имеют одинаковые параметры каналов, включая код Уолша, маску длинного кода и смещения кадров, то все КЭ (СЕ) вместе можно логически считать прямым совместно используемым каналом.
Сигнал, получаемый каждым транкинговым пользователем в группе сектора по совместно используемому каналу в выделенном режиме для совместного использования прямого канала, является сигналом, состоящим из мощности передачи всех КЭ (СЕ) в группе сектора. Поэтому требуется только, чтобы общая мощность передачи всех КЭ (СЕ) соответствовала требованиям пользователя, у которого наихудший прием сигнала в группе сектора. На практике при применении услуг, когда транкинговые пользователи в группе сектора находятся в состоянии устойчивой связи, КЭ (СЕ) всех транкинговых пользователей передают сигналы с очень низкой, почти нулевой мощностью передачи, кроме КЭ (СЕ) пользователя с наихудшим приемом сигнала в группе сектора, который передает сигналы с относительно высокой мощностью.
Однако если пользователь с наихудшим приемом сигнала в группе сектора выйдет из группового вызова, то – так как КЭ (СЕ) всех остальных транкинговых пользователей передают сигналы с очень низкой, почти нулевой мощностью передачи, кроме КЭ (СЕ) пользователя с наихудшим приемом сигнала в группе сектора, который передает сигналы с относительно высокой мощностью, – общая мощность передачи всех КЭ (СЕ), которая соответствует оставшимся транкинговым пользователям, резко уменьшится почти до нуля, и в этом случае оставшиеся транкинговые пользователи не смогут принимать информационные сигналы и не смогут продолжать связь.
Традиционное решение указанной задачи содержит процесс запроса системы увеличить мощность передачи соответствующего КЭ (СЕ) каждым оставшимся транкинговым пользователем по отдельности, когда пользователь с наихудшим приемом сигнала в группе сектора покидает групповой вызов, и поэтому оставшиеся транкинговые пользователи не могут получать сигналы. Однако прежде чем мощность передачи каждого КЭ (СЕ) возрастет до приемлемого значения, не может быть гарантировано качество связи, поскольку сигналы, принимаемые оставшимися транкинговыми пользователями, слишком слабые. Кроме того, из-за задержки ответа системы на запрос оставшегося транкингового пользователя на увеличение мощности передачи каждый оставшийся транкинговый пользователь будет продолжать запрашивать систему увеличить мощность соответствующего КЭ (СЕ), что, в конечном итоге, приведет к тому, что после процесса увеличения мощности общая мощность передачи всех КЭ (СЕ) станет слишком высокой. Следовательно, оставшиеся транкинговые пользователи должны запросить систему снова уменьшить мощность передачи. Из вышесказанного следует, что подобное традиционное решение приводит к тому, что мощность передачи прямого совместно используемого канала в значительной степени колеблется, что может значительно ухудшить качество услуг и даже привести к потере вызова.
Сущность изобретения
В свете вышесказанного осуществление заявленного изобретения обеспечивает способ перераспределения мощности передачи по прямому совместно используемому каналу в транкинговой системе связи для гарантированного обеспечения качества связи транкинговых пользователей и для предотвращения колебаний мощности передачи прямого совместно используемого канала.
Способ перераспределения мощности передачи по прямому совместно используемому каналу в транкинговой системе связи содержит следующие действия:
когда транкинговый пользователь выбывает из группового вызова группы сектора, выбирают транкингового пользователя из числа оставшихся транкинговых пользователей в группе сектора;
объединяют коэффициент усиления передачи GainRatio1 канального элемента КЭ (СЕ), соответствующего выбывшему транкинговому пользователю, и коэффициент усиления передачи GainRatio2 для КЭ (СЕ), соответствующего выбранному транкинговому пользователю, чтобы получить объединенный коэффициент усиления передачи GainRatio’;
задают коэффициент усиления передачи для КЭ (СЕ), соответствующего выбранному транкинговому пользователю, равным объединенному коэффициенту усиления передачи GainRatio’.
Выбывший транкинговый пользователь является транкинговым пользователем с наихудшим приемом сигнала в группе сектора.
В случае, если выбывший транкинговый пользователь является единственным транкинговым пользователем в группе сектора, то перед завершением текущего процесса способ дополнительно содержит шаг удаления КЭ (СЕ), соответствующего выбывшему транкиговому пользователю.
Прежде чем выбрать транкингового пользователя, способ дополнительно содержит следующие действия: определяют, является ли выбывший транкинговый пользователь единственным пользователем в данной группе сектора; если транкинговый пользователь является единственным пользователем в данной группе сектора, то завершают процесс; в противном случае – выполняют шаг выбора.
Способ дополнительно содержит шаг удаления КЭ (СЕ), соответствующего выбывшему транкинговому пользователю, при выяснении, что выбывший транкинговый пользователь является единственным пользователем в группе сектора.
Процесс удаления соответствующего КЭ (СЕ) выбывшего транкингового пользователя содержит следующие действия: в КЭ (СЕ) посылают соответствующий выбывшему транкинговому пользователю сигнал, указывающий на прекращение работы; при получении этого сигнала прекращают работу КЭ (СЕ), соответствующего выбывшему транкинговому пользователю.
Процесс объединения GainRatio1 и GainRatio2 содержит следующие действия:
принимают сумму коэффициентов GainRatio1 и GainRatio2 в качестве объединенного коэффициента усиления передачи GainRatio’, если по меньшей мере одно из значений GainRatio1 и GainRatio2 равно нулю; или
рассчитывают GainRatio’ как GainRatio’=max[0,int(40 log10 PowerRatio’)+255], если ни одно из значений GainRatio1 и GainRatio2 не равно нулю, где , функция max соответствует операции максимизации, функция int соответствует операции округления вниз до ближайшего целого числа.
Перед тем как задать коэффициент усиления передачи для КЭ (СЕ), соответствующего выбранному транкинговому пользователю, равным объединенному коэффициенту усиления передачи GainRatio’, в данном способе дополнительно определяют, превышает ли значение GainRatio’ максимальный коэффициент усиления передачи MaxGainRatio2 для КЭ (СЕ), соответствующего выбранному транкинговому пользователю. Если значение GainRatio’ больше, чем MaxGainRatio2, то задают коэффициент усиления передачи для КЭ (СЕ), соответствующего выбранному транкинговому пользователю, равным MaxGainRatio2, и завершают процесс. А если значение GainRatio’ не превышает MaxGainRatio2, то переходят к шагу задания коэффициента усиления передачи GainRatio2 для КЭ (СЕ), соответствующего выбранному транкинговому пользователю, равным объединенному коэффициенту усиления передачи GainRatio’.
Максимальный коэффициент усиления передачи MaxGainRatio2 для КЭ (СЕ), соответствующего выбранному транкинговому пользователю, является максимальным коэффициентом усиления SYS_MAX_GAIN_RATIO, заранее заданным системой для прямого совместно используемого канала.
Заявленный способ дополнительно содержит сохранение без изменения коэффициентов усиления для канальных элементов КЭ (СЕ), соответствующих транкинговым пользователям группы сектора, за исключением выбывшего транкингового пользователя и выбранного транкингового пользователя.
Другой вариант осуществления заявленного изобретения обеспечивает устройство для перераспределения мощности передачи по прямому совместно используемому каналу в транкинговой системе связи, что гарантирует качество связи для транкинговых пользователей и предотвращение колебаний мощности передачи в прямом совместно используемом канале.
Устройство для перераспределения мощности передачи по прямому совместно используемому каналу в транкинговой системе связи содержит:
средства для выбора транкингового пользователя из числа оставшихся в группе сектора транкинговых пользователей, когда транкинговый пользователь покидает групповой вызов группы сектора;
средства для объединения коэффициента усиления передачи GainRatio2 для КЭ (СЕ), соответствующего выбывшему транкинговому пользователю, и коэффициент усиления передачи GainRatio2 для КЭ (СЕ), соответствующего выбранному транкинговому пользователю, для получения объединенного коэффициента усиления передачи GainRatio’; и
средства для задания коэффициента усиления передачи GainRatio2 для КЭ (СЕ), соответствующего выбранному транкинговому пользователю, равным объединенному коэффициенту усиления передачи GainRatio’.
Из приведенной выше технической схемы можно видеть, что это изобретение обладает следующими преимуществами.
Когда транкинговый пользователь покидает групповой вызов группы сектора, к которой он принадлежит, система, в которой применено заявленное изобретение, без увеличения и без уменьшения мощности передачи для КЭ (СЕ) согласно запросам КЭ (СЕ), как в существующем уровне техники, непосредственно объединяет коэффициент усиления передачи для КЭ (СЕ) выбывшего транкингового пользователя и текущий коэффициент усиления передачи для КЭ (СЕ) другого транкингового пользователя, выбранного в группе сектора, и задает коэффициент усиления передачи для КЭ (СЕ), соответствующего выбранному транкинговому пользователю, равным объединенному коэффициенту усиления передачи; таким образом, общая мощность по прямому совместно используемому каналу в группе сектора остается неизмененной после того, как выбывший транкинговый пользователь покинул групповой вызов, так что предотвращаются колебания общей мощности по прямому совместно используемому каналу, гарантированно обеспечивается качество связи транкинговых пользователей и заметно улучшается качество услуг.
Краткое описание чертежей
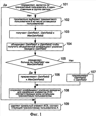
Фиг.1 – это алгоритм процесса перераспределения мощности передачи по прямому совместно используемому каналу согласно варианту осуществления заявленного изобретения, когда транкинговый пользователь, с наихудшим приемом сигнала в групповом вызове, покидает групповой вызов;
фиг.2 – это алгоритм объединения текущих коэффициентов усиления передачи выбывшего транкингового пользователя и выбранного транкингового пользователя согласно осуществлению заявленного изобретения.
Подробное раскрытие вариантов осуществления
Согласно одному варианту осуществления заявленного изобретения, если транкинговый пользователь покидает групповой вызов группы сектора, к которой принадлежит транкинговый пользователь, то произвольно выбирают транкингового пользователя из числа оставшихся транкинговых пользователей в группе сектора и объединяют коэффициенты усиления передачи для канальных элементов (КЭ (СЕ)), соответствующих выбывшему транкинговому пользователю и выбранному транкинговому пользователю. После этого для КЭ (СЕ), соответствующего выбранному транкинговому пользователю, задают объединенный коэффициент усиления передачи.
Например, упомянутый выше процесс объединения может быть выполнен с такими параметрами канала, как максимальный коэффициент усиления MaxGainRatio, который задан системой для каждого КЭ (СЕ) при установлении соединения группового вызова, коэффициент усиления передачи GainRatio и коэффициент мощности передачи PowerRatio для каждого КЭ (СЕ). При этом MaxGainRatio применяют для ограничения максимальной мощности передачи для КЭ (СЕ). Отношение максимальной фактической мощности передачи для КЭ (СЕ) к общей мощности передачи прямого совместно используемого канала не должно превышать параметр мощности передачи MaxGainRatio, назначенный системой для КЭ (СЕ), чтобы мощность передачи для КЭ (СЕ) не занимала слишком много системных ресурсов и не увеличивала нагрузку в системе. Согласно варианту осуществления значение MaxGainRatio, назначаемое всем канальным элементам (КЭ (СЕ)), может быть задано равным максимальному коэффициенту усиления передачи (SYS_MAX_GAIN_RATIO), заранее заданному системой для прямого совместно используемого канала. GainRatio и PowerRatio являются отношениями фактической мощности передачи КЭ (СЕ) к общей мощности передачи прямого совместно используемого канала, причем PowerRatio является действительным числом, в пределах от 0 до 1, которое показывает коэффициент мощности передачи в процентах, a (GainRatio-255)/4 отражает коэффициент усиления передачи в децибелах (дБ).
Ниже приведено подробное описание со ссылками на варианты осуществления и сопровождающие чертежи, чтобы сделать более понятными цели, техническое решение и преимущества этого изобретения.
Фиг.1 – это алгоритм процесса перераспределения мощности передачи по прямому совместно используемому каналу согласно варианту осуществления заявленного изобретения, когда транкинговый пользователь с наихудшим приемом сигнала в групповом вызове покидает групповой вызов. Как показано на фиг.1, когда транкинговый пользователь с наихудшим приемом сигнала в группе сектора, т.е. транкинговый пользователь А, передающий сигналы с наибольшей мощностью передачи в группе сектора, покидает групповой вызов группы сектора, мощность передачи по прямому совместно используемому каналу может быть перераспределена, чтобы предотвратить колебания мощности передачи по прямому мультиплексному каналу группы сектора и гарантированно обеспечить качество связи для оставшихся транкинговых пользователей. Способ, предусмотренный данным вариантом осуществления, содержит следующие шаги.
Шаг 101: определяют, является ли транкинговый пользователь А единственным пользователем в группе сектора, когда транкинговый пользователь А покидает групповой вызов группы сектора; если транкинговый пользователь А является единственным пользователем в группе сектора, то переходят к шагу 109, в противном случае – переходят к шагу 102.
Шаг 102: произвольным образом выбирают транкингового пользователя, например транкингового пользователя В, из числа оставшихся транкинговых пользователей.
Шаг 103: получают коэффициент усиления GainRatio1 для КЭ (СЕ), соответствующего транкинговому пользователю А, а также получают коэффициент усиления передачи GainRatio2 и максимальный коэффициент усиления передачи MaxGainRatio2 для КЭ (СЕ), соответствующего транкинговому пользователю В.
На этом шаге для получения доступа к КЭ (СЕ) для получения значений GainRatio1, GainRatio2 и MaxGainRatio2 может быть использован Интерфейс Прикладного Программирования (ИПП (API)), который является частью традиционной технологии и не будет описан здесь подробно.
Шаг 104: объединяют GainRatio1 и GainRatio2 для получения объединенного коэффициента усиления передачи GainRatio’.
Как показано на фиг.2, вышеуказанный шаг 104 дополнительно содержит следующие шаги.
Шаг А1: получают объединенный коэффициент мощности передачи PowerRatio’ на основании значений GainRatio1 и GainRatio2.
Как упомянуто выше, коэффициент мощности передачи PowerRatio является действительным числом от 0 до 1, которое выражает коэффициент мощности передачи в процентах, тогда как коэффициент усиления передачи GainRatio является целым числом в децибелах (дБ); последующие уравнения показывают отношение преобразования единиц измерения между коэффициентом мощности передачи PowerRatio и коэффициентом усиления передачи GainRatio:
Если GainRatio находится в диапазоне от 1 и 255, то
PowerRatio=10(GainRatio-255)/40;
а если GainRatio равен 0, то PowerRatio=0.
Следовательно, .
Шаг А2: получают объединенный коэффициент усиления передачи GainRatio’ на основании полученного объединенного коэффициента мощности передачи PowerRatio’.
На данном шаге, поскольку , объединенный коэффициент усиления передачи GainRatio’=GainRatio1+GainRatio2, если, по крайней мере, одно из значений GainRatio1 или GainRatio2 равно 0. Если ни одно из значений GainRatio1 и GainRatio2 не равно 0, то объединенный коэффициент усиления передачи GainRatio’ будет получен по следующему уравнению:
GainRatio’=max[0,int(40 log10 PowerRatio’)+255],
где функция max показывает операцию максимизации, функция int показывает операцию округления вниз до ближайшего целого числа.
Шаг 105: определяют, превышает ли объединенный коэффициент усиления передачи GainRatio’ значение MaxGainRatio2, и если GainRatio’ превышает значение MaxGainRatio2, то переходят к шагу 106, в противном случае – переходят к шагу 107.
Из вышеуказанного шага видно, что объединенный коэффициент усиления передачи GainRatio’, который получен на основании значений GainRatio1 и GainRatio2, не задан как коэффициент усиления передачи для КЭ (СЕ), непосредственно соответствующего транкинговому пользователю В. Это объясняется тем, что система уже задала значение MaxGainRatio2 для КЭ (СЕ), соответствующего транкинговому пользователю В при установлении соединения группового вызова для ограничения максимального коэффициента усиления передачи для КЭ (СЕ), значит, нужно сравнить значения объединенного коэффициента усиления передачи GainRatio’ и MaxGainRatio2, чтобы выполнить требование системы к коэффициенту усиления передачи для КЭ (СЕ) транкингового пользователя В, т.е. коэффициент усиления передачи для КЭ (СЕ), соответствующего транкинговому пользователю В, задается равным меньшему из значений объединенного коэффициента усиления передачи GainRatio’ и MaxGainRatio2, чтобы предотвратить чрезмерную мощность передачи по прямому совместно используемому каналу, которая может быть обусловлена непосредственным заданием коэффициента усиления передачи для КЭ (СЕ), соответствующего транкинговому пользователю В, равным объединенному коэффициенту усиления передачи GainRatio’. Таким образом, на этом шаге сравнивают значения объединенного коэффициента усиления передачи GainRatio’ и MaxGainRatio2 для того, чтобы определить соответствующий коэффициент усиления передачи для КЭ (СЕ), соответствующего транкинговому пользователю В.
Шаг 106: задают коэффициент усиления передачи GainRatio2 для КЭ (СЕ), соответствующего транкинговому пользователю В, равным MaxGainRatio2, и переходят к шагу 108.
Шаг 107: задают коэффициент усиления передачи GainRatio2 КЭ (СЕ), соответствующего транкинговому пользователю В, равным GainRatio’.
В этом случае значение GainRatio’ не должно превышать значение MaxGainRatio2, т.е. значение GainRatio’ должно быть равным или меньшим, чем MaxGainRatio2. Если значение GainRatio’ равно MaxGainRatio2 или меньше MaxGainRatio2, то задание значения GainRatio2 в качестве GainRatio’ гарантирует, что меньшее из значений GainRatio’ и MaxGainRatio2 будет задано в качестве коэффициента усиления передачи GainRatio2 для КЭ (СЕ), соответствующего транкинговому пользователю В.
Шаг 108: сохраняют без изменения коэффициенты усиления передачи для КЭ (СЕ), соответствующих всем остальным транкинговым пользователям, кроме транкингового пользователя А и транкингового пользователя В в группе сектора.
Шаг 109: удаляют КЭ (СЕ), соответствующий транкинговому пользоватлю А.
При этом указанный выше шаг 109 содержит дополнительно шаги, на которых посылают сигнал, предписывающий прекратить работу КЭ (СЕ), соответствующего транкинговому пользователю А, и прекращают работу КЭ (СЕ), соответствующего транкинговому пользователю А при получении данного сигнала, чтобы логически удалить КЭ (СЕ), соответствующий транкинговому пользователю А.
В раскрытом выше варианте осуществления мощность передачи оставшихся транкинговых пользователей в группе сектора перераспределяется, когда транкинговый пользователь с наихудшим приемом сигнала покидает групповой вызов группы сектора. На практике всегда можно перераспределить мощность передачи способом, предусмотренным этим вариантом осуществления, когда любой транкинговый пользователь в группе сектора, т.е. транкинговый пользователь с наихудшим приемом сигнала, или любой другой транкинговый пользователь покидает группу сектора, чтобы сохранить общую мощность передачи прямого совместно используемого канала в группе сектора и предотвратить колебания мощности передачи прямого совместно используемого канала.
Раскрытые выше варианты осуществления заявленного изобретения не ограничивают его объем охраны. Любые модификации, эквивалентные замены или усовершенствования в соответствии с сущностью и принципами заявленного изобретения должны быть включены в объем правовой охраны заявленного изобретения.
Формула изобретения
1. Способ перераспределения мощности передачи по прямому совместно используемому каналу в транкинговой системе связи, содержащий следующие действия:
если транкинговый пользователь покинет групповой вызов группы сектора, то произвольным образом выбирают транкингового пользователя из числа оставшихся транкинговых пользователей в группе сектора;
чтобы получить объединенный коэффициент усиления передачи GainRatio’, объединяют коэффициент усиления передачи GainRatio1 для канального элемента (КЭ (СЕ)), соответствующего выбывшему транкинговому пользователю, и коэффициент усиления передачи GainRatio2 для КЭ (СЕ), соответствующего выбранному транкинговому пользователю;
задают коэффициент усиления передачи GainRatio2 для КЭ (СЕ), соответствующего выбранному транкинговому пользователю, равным объединенному коэффициенту усиления передачи GainRatio’.
2. Способ по п.1, в котором выбывший транкинговый пользователь является транкинговым пользователем с наихудшим приемом сигнала в группе сектора.
3. Способ по п.1, который перед выбором транкингового пользователя дополнительно содержит следующие действия:
определяют, является ли выбывший транкинговый пользователь единственным пользователем в группе сектора;
если транкинговый пользователь является единственным пользователем в данной группе сектора, то завершают процесс;
в противном случае выполняют шаг выбора транкингового пользователя.
4. Способ по п.3, дополнительно содержащий следующие действия: удаляют КЭ (СЕ), соответствующий выбывшему транкинговому пользователю, в случае, если выбывший транкинговый пользователь является единственным пользователем в группе сектора.
5. Способ по п.1, дополнительно содержащий следующие действия: удаляют КЭ, соответствующий выбывшему транкинговому пользователю.
6. Способ по п.4 или 5, в котором шаг удаления КЭ (СЕ), соответствующего выбывшему транкинговому пользователю содержит следующие действия:
в КЭ (СЕ) посылают соответствующий выбывшему транкинговому пользователю сигнал, указывающий на прекращение работы;
при получении этого сигнала прекращают работу КЭ (СЕ), соответствующего выбывшему транкинговому пользователю.
7. Способ по п.1, в котором процесс объединения GainRatio1 и GainRatio2 содержит следующие действия:
принимают сумму GainRatio1 и GainRatio2 в качестве объединенного коэффициента усиления передачи GainRatio’, если по меньшей мере одно из значений GainRatio1 и GainRatio2 равно нулю; или рассчитывают GainRatio’ как GainRatio’=max[0,int(40 log10 PowerRatio’)+255], если ни одно из значений GainRatio1 и GainRatio2 не равно нулю, где , причем функция max соответствует операции максимизации, функция int соответствует операции округления вниз до ближайшего целого числа.
8. Способ по п.1, в котором перед тем, как задать GainRatio2, равным объединенному коэффициенту усиления передачи GainRatio’, дополнительно выполняют следующие действия:
определяют, превышает ли значение GainRatio’ максимальный коэффициент усиления передачи MaxGainRatio2 для КЭ (СЕ), соответствующего выбранному транкинговому пользователю;
если значение GainRatio’ больше, чем MaxGainRatio2, то задают коэффициент усиления передачи GainRatio2 для КЭ (СЕ), соответствующего выбранному транкинговому пользователю, равным MaxGainRatio2, и завершают процесс;
если значение GainRatio’ не превышает MaxGainRatio2, то переходят к шагу задания коэффициента усиления передачи GainRatio2 для КЭ (СЕ), соответствующего выбранному транкинговому пользователю, равным объединенному коэффициенту усиления передачи GainRatio’.
9. Способ по п.8, в котором максимальный коэффициент усиления передачи MaxGainRatio2 для КЭ (СЕ), соответствующего выбранному транкинговому пользователю, является максимальным коэффициентом усиления SYS_MAX_GAIN_RATIO, заранее заданным системой для прямого совместно используемого канала.
10. Способ по п.1, дополнительно содержащий следующие действия: поддерживают текущие коэффициенты усиления КЭ (СЕ), которые соответствуют транкинговым пользователям в группе сектора, за исключением выбывшего транкингового пользователя и выбранного транкингового пользователя.
11. Устройство для перераспределения мощности передачи по прямому совместно используемому каналу в транкинговой системе связи, содержащее:
средства для выбора произвольным образом транкингового пользователя из числа оставшихся транкинговых пользователей в группе сектора, когда один из транкинговых пользователей покидает групповой вызов группы сектора; средства для объединения коэффициента усиления передачи GainRatio1 КЭ (СЕ), соответствующего выбывшему транкинговому пользователю, и коэффициента усиления передачи GainRatio2 для КЭ (СЕ), соответствующего выбранному транкинговому пользователю, для получения объединенного коэффициента усиления передачи GainRatio’; и
средства для задания коэффициента усиления передачи GainRatio2 для КЭ (СЕ), соответствующего выбранному транкинговому пользователю, равным объединенному коэффициенту усиления передачи GainRatio’.
12. Устройство по п.11, дополнительно содержащее
средства для определения, является ли выбывший транкинговый пользователь единственным пользователем в группе сектора.
13. Устройство по п.11, дополнительно содержащее
средства для удаления КЭ (СЕ), соответствующего выбывшему транкинговому пользователю.
14. Устройство по п.11, в котором средства для объединения GainRatio 1 и GainRatio2 содержат
средства для суммирования GainRatio1 и GainRatio2 в качестве объединенного коэффициента усиления передачи GainRatio’, если, по крайней мере, одно из значений GainRatio1 и GainRatio2 равно нулю; или средства для расчета GainRatio’ по уравнению GainRatio’=max[0,int(40log10PowerRatio’)+255], если ни одно значение GainRatio1 и GainRatio2 не равно нулю, где , при этом функция max соответствует операции максимизации, а функция int соответствует операции округления вниз до ближайшего целого числа.
РИСУНКИ
|