|
|
(21), (22) Заявка: 2007123413/09, 22.06.2007
(24) Дата начала отсчета срока действия патента:
22.06.2007
(46) Опубликовано: 10.01.2009
(56) Список документов, цитированных в отчете о поиске:
SU 189045 А, 29.12.1966. SU 678628 А, 08.08.1979. SU 862283 А1, 07.09.1981. RU 2180980 С2, 27.03.2002. US 5160273 А, 03.11.1992. DE 2804478, 02.08.1979.
Адрес для переписки:
127299, Москва, ул. Клары Цеткин, 18, ФГУП “НПП “Дельта”
|
(72) Автор(ы):
Шморгун Александр Шмулевич (RU), Тамручи Николай Олегович (RU), Кочетков Владимир Эдуардович (RU), Киселев Юрий Михайлович (RU), Акельев Александр Иванович (RU), Зыков Александр Николаевич (RU)
(73) Патентообладатель(и):
Федеральное государственное унитарное предприятие “НПП “Дельта” (RU)
|
(54) КОНТАКТНОЕ УСТРОЙСТВО ДЛЯ ВВОДА ИНФОРМАЦИИ В ОЖИВАЛЬНУЮ ГОЛОВНУЮ ЧАСТЬ
(57) Реферат:
Использование: в электрических цепях. Контактное устройство для ввода информации в оживальную головную часть содержит корпус кольцеобразной формы, в полости которого по ее периметру в одной полости на равном удалении друг от друга установлены подпружиненные контактные элементы с заострениями со стороны ответной части, и ответную часть. Полость выполнена конической формы, дополнительно введены: изолированная от корпуса рукоятка, задающее устройство, печатная плата с контактными элементами и, по крайней мере, два дополнительных изолированных от корпуса подпружиненных контактных элемента, расположенных по периметру полости корпуса в одной плоскости на равном удалении друг от друга, а плоскость их установки смещена по высоте, при этом рукоятка установлена со стороны вершины конуса, задающее устройство установлено вне корпуса контактного устройства, печатная плата с контактными элементами установлена в полости корпуса контактного устройства, контактные элементы, дополнительные контактные элементы и задающее устройство жестко соединены с контактными элементами платы электропроводными изолированными проводами, а контактные элементы и дополнительные контактные элементы своими заострениями наклонены в сторону ответной части, ответная часть выполнена конической формы, острая часть которой направлена в сторону корпуса, корпус ответной части выполнен из изолированного материала, при этом на его поверхности по периметру ответной части в зоне взаимодействия контактных элементов и дополнительных контактных элементов выполнены пояски из токопроводного материала. Техническим результатом является расширение функциональных возможностей и повышение надежности контактного соединения. 1 ил.
Изобретение относится к электрическим соединительным устройствам и может быть использовано для соединения электрических цепей.
Известно, что контактное устройство, состоящее из кольцеобразного корпуса, по периметру которого на его внутренней стенке на равном удалении друг от друга установлены подпружиненные контактные элементы с заостреньями со стороны ответной части (см. авторское свидетельство СССР №678628, 1977 г., кл. H02R 32/28).
Недостатком данного контактного устройства является малая функциональная возможность и надежность контакта с ответной частью.
Наиболее близким техническим решением изобретению является контактное устройство, состоящее из корпуса кольцеобразной формы, в полости которого по ее периметру в одной плоскости на равном удалении друг от друга установлены подпружиненные контактные элементы с заострениями со стороны ответной части, и ответной части (см. авторское свидетельство СССР №189045, 1965 г., H01B).
Недостатком данного технического устройства является малая функциональная возможность и малая надежность контактного соединения.
Задачей изобретения является расширение функциональных возможностей и повышение надежности контактного соединения с ответной частью.
Технический результат, получаемый при осуществлении изобретения, заключается в следующем.
Контактное устройство для ввода информации в оживальную головную часть, содержащее корпус кольцеобразной формы, в полости которого по ее периметру в одной плоскости на равном удалении друг от друга установлены подпружиненные контактные элементы с заострениями со стороны ответной части, и ответную часть, полость выполнена конической формы, дополнительно введены: изолированная от корпуса рукоятка, задающее устройство, печатная плата с контактными элементами и по крайней мере два дополнительных изолированных от корпуса подпружиненных контактных элемента, расположенных по периметру полости корпуса в одной плоскости на равном удалении друг от друга, а плоскость их установки смещена по высоте, при этом рукоятка установлена со стороны вершины конуса, задающее устройство установлено вне корпуса контактного устройства, печатная плата с контактными элементами установлена в полости корпуса контактного устройства, контактные элементы, дополнительные контактные элементы и задающее устройство жестко соединены с контактными элементами платы электропроводными изолированными проводами, а контактные элементы и дополнительные контактные элементы своими заострениями наклонены в сторону ответной части, ответная часть выполнена конической формы, острая часть которого направлена в сторону корпуса, корпус ответной части выполнен из изоляционного материала, при этом на его поверхности по периметру ответной части в зоне взаимодействия контактных элементов и дополнительных контактных элементов выполнены пояски из токопроводного материала.
Такая конструкция контактного устройства для ввода информации в оживальную головную часть обеспечивает решение поставленных задач.
Таким образом предлагаемое техническое решение обладает новизной и изобретательским уровнем.
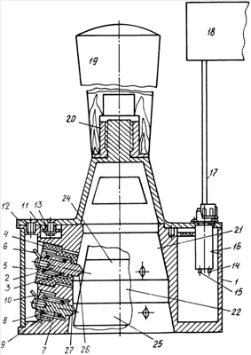
На чертеже изображено контактное устройство для ввода информации в оживальную головную часть.
В корпусе кольцеобразной формы 1 установлены дополнительные контактные элементы 2, подпружиненные пружинными элементами 3. Дополнительные контактные элементы 2 установлены во втулках из изоляционного материала 4 и поджаты нажимными резьбовыми втулками 5. К дополнительным контактным элементам 2 подведены изолированные электропровода 6. Контактные элементы 7 установлены в корпусе кольцеобразной формы 1, подпружинены пружинными элементами 8, поджаты нажимными резьбовыми втулками 9 и к ним подведены изолированные электропровода 10. Изолированные электропровода 6 и 10 соединены с контактными элементами печатной платы 11, жестко соединенной с крышкой 12 с помощью шайб из изоляционного материала 13. Печатная плата 11 соединена изолированными электропроводами 14, 15 с помощью электрического разъема 16 и изолированных электропроводов 17 с задающим устройством 18. Рукоятка из изоляционного материала 19 с помощью втулки 20 жестко соединена с фланцем 12. В конической полости 21 кольцеобразного корпуса 1 размещена ответная часть конической формы из изоляционного материала 22, на которой в зоне взаимодействия с контактными элементами 7 и дополнительными контактными элементами 2 жестко закреплены кольца из токопроводного материала 24 и 25. Контактные элементы 7 и дополнительные контактные элементы 2 наклонены своими заострениями 26, 27 в сторону ответной части 23.
Работает контактное устройство для ввода информации в оживальную головную часть следующим образом. Корпус кольцеобразной формы 1 с помощью рукоятки из изоляционного материала 19 конической полостью 21 устанавливается на ответную часть конической формы из изоляционного материала 24. При этом дополнительные контактные элементы 2 и контактные элементы 7 своими заострениями 26 и 27 контактируют с кольцами из токопроводного материала 24 и 25. Информация от задающего устройства 18 по изолированным электропроводам 17, через электрический разъем 16, изолированные электропровода 14, 15, плату 11, изолированные провода 6, 10 и заострения 26, 27 контактных элементов 7 и дополнительных контактных элементов 2 поступает на кольца из токопроводного материала 24, 25 и в оживальную головную часть ответной части конической формы 22.
Формула изобретения
Контактное устройство для ввода информации в оживальную головную часть, содержащее корпус кольцеобразной формы, в полости которого по ее периметру в одной плоскости на равном удалении друг от друга установлены подпружиненные контактные элементы с заострениями со стороны ответной части, и ответную часть, отличающееся тем, что полость выполнена конической формы, дополнительно введены: изолированная от корпуса рукоятка, задающее устройство, печатная плата с контактными элементами и, по крайней мере, два дополнительных изолированных от корпуса подпружиненных контактных элемента, расположенных по периметру полости корпуса в одной плоскости на равном удалении друг от друга, а плоскость их установки смещена по высоте, при этом рукоятка установлена со стороны вершины конуса, задающее устройство установлено вне корпуса контактного устройства, печатная плата с контактными элементами установлена в полости корпуса контактного устройства, контактные элементы, дополнительные контактные элементы и задающее устройство жестко соединены с контактными элементами платы электропроводными изолированными проводами, а контактные элементы и дополнительные контактные элементы своими заострениями наклонены в сторону ответной части, ответная часть выполнена конической формы, острая часть которой направлена в сторону корпуса, корпус ответной части выполнен из изолированного материала, при этом на его поверхности по периметру ответной части в зоне взаимодействия контактных элементов и дополнительных контактных элементов выполнены пояски из токопроводного материала.
РИСУНКИ
|
|