|
|
(21), (22) Заявка: 2006137832/28, 27.10.2006
(24) Дата начала отсчета срока действия патента:
27.10.2006
(43) Дата публикации заявки: 10.05.2008
(46) Опубликовано: 10.01.2009
(56) Список документов, цитированных в отчете о поиске:
SU 1280530 А1, 30.12.1986. SU 150689 А1, 01.01.1962. SU 1027599 А, 07.07.1983. SU 1758548 A1, 30.08.1992. RU 2247979 C1, 10.03.2005. US 5887122 А, 23.03.1999. JP 61270055 A, 29.11.1986. JP 56023384 A, 05.03.1981.
Адрес для переписки:
162626, Вологодская обл., г. Череповец, ул. Годовикова, 12, ООО “Нординкрафт”
|
(72) Автор(ы):
Лутовинов Игорь Владимирович (RU), Сиземский Александр Сергеевич (RU), Башилов Сергей Владимирович (RU)
(73) Патентообладатель(и):
ООО “Нординкрафт” (RU)
|
(54) СПОСОБ ОБНАРУЖЕНИЯ СВАРНОГО ШВА НА ТРУБЕ ПРИ УЛЬТРАЗВУКОВОМ КОНТРОЛЕ И УСТРОЙСТВО ДЛЯ ЕГО ОСУЩЕСТВЛЕНИЯ
(57) Реферат:
Использование: для обнаружения сварного шва на трубе при ультразвуковом контроле. Сущность: заключается в том, что для измерения расстояния от активной части датчика до поверхности трубы при ее вращении применяют индуктивный датчик с аналоговым выходом, который располагают перпендикулярно к поверхности трубы на опоре с роликом, регистрируют получаемые данные, одновременно фиксируют координату вращения трубы с помощью энкодера – датчика вращения трубы, при прохождении валика усиления сварного шва под активной частью индуктивного датчика фиксируют уменьшение расстояния от датчика до поверхности трубы, регистрируют обнаружение сварного шва, а для исключения ложных срабатываний используют алгоритм обработки данных, для чего при изменении положения трубы при ее вращении на 2 мм производится запись показаний индуктивного датчика в буфер, состоящий из 20 последних показаний, при этом все ранее записанные показания смещаются на одну позицию к концу буфера, последняя, самая «старая» запись при этом теряется, а новые показания записываются в начало буфера, затем производится суммирование первых 10 записей буфера и последних 10 записей буфера и полученные суммы сравниваются, и если полученная в результате сравнения разница превышает заданный порогу программа контроллера генерирует событие, что «сварной шов найден», причем порог срабатывания выбирают таким образом, чтобы обеспечить надежное обнаружение сварного шва и при этом исключить ложные срабатывания. Технический результат: надежное обнаружение сварного шва на трубе при ультразвуковом контроле. 2 н.п. ф-лы, 3 ил.
Изобретение относится к области неразрушающего контроля качества продукции металлургической промышленности с применением электромагнитно-акустических преобразователей и может быть использовано при ультразвуковом контроле сварных труб с поперечными или косыми (спиральными) швами для обнаружения сварного шва.
Известна установка для бесконтактного ультразвукового контроля сортового проката и труб, в которой, с целью защиты электромагнитно-акустических преобразователей (ЭМАП) от повреждений при проходе под ними объекта контроля (ОК), последние снабжены механизмами подъема и опускания на поверхность объекта контроля [1].
Однако полностью исключить повреждения ЭМАП в известном изобретении нельзя, так как на поверхности ОК всегда имеются наружные дефекты, выступающие за пределы поверхности ОК, например, отслоения или вкатанная окалина, которые могут в любой момент контроля повредить защитную керамическую пластину, отделяющую катушку индуктивности ЭМАП от ОК.
Известен следящий привод, содержащий измерительный модуль, который установлен на вал, соединенный с механизмом перемещения и являющийся центром и осью качания измерительного модуля [2]. К недостатку известного модуля относится жесткий контакт рабочей поверхности ЭМАП с ОК, большой вес и сложность конструкции.
Известен ЭМАП, в котором корпус концентраторов укреплен на полом цилиндре при помощи двух шарниров и рамки, один шарнир соединяет корпус концентраторов с рамкой, а другой шарнир соединяет рамку с полым цилиндром, корпус в центральной части выполнен в виде цилиндра и снабжен пластиной, к которой прикреплена подложка [3]. Недостатком известного ЭМАП является жесткое соединение корпуса ЭМАП с подложкой, на которую приходятся все ударные нагрузки со стороны ОК при его прохождении под ЭМАП и, как следствие, незащищенность ЭМАП от повреждений.
К общему недостатку известных устройств относится невозможность, в случае УЗК сварных швов на трубах, исключения ложных срабатываний преобразователей при поиске сварного шва перед началом ультразвукового контроля.
К ложным срабатываниям относится:
а) неровность трубы;
б) механические вибрации датчика;
в) дефекты поверхности трубы.
Задачей заявляемого изобретения является надежное обнаружение сварного шва на трубе при ультразвуковом контроле путем исключения ложных срабатываний преобразователей по вышеуказанным причинам.
Это достигается тем, что в способе обнаружения сварного шва на трубе при ультразвуковом контроле при помощи, например, электромагнитно-акустических преобразователей, включающем определение положения трубы при помощи датчика для измерения расстояния до трубы, для измерения расстояния от активной части датчика до поверхности трубы при ее вращении применяют индуктивный датчик с аналоговым выходом, который располагают перпендикулярно к поверхности трубы на опоре с роликом, регистрируют получаемые данные, одновременно фиксируют координату вращения трубы с помощью энкодера – датчика вращения трубы, при прохождении валика усиления сварного шва под активной частью индуктивного датчика фиксируют уменьшение расстояния от датчика до поверхности трубы, регистрируют обнаружение сварного шва, а для исключения ложных срабатываний используют алгоритм обработки данных, для чего при изменении положения трубы при ее вращении на 2 мм производится запись показаний индуктивного датчика в буфер, состоящий из 20 последних показаний, при этом все ранее записанные показания смещаются на одну позицию к концу буфера, последняя, самая «старая» запись при этом теряется, а новые показания записываются в начало буфера, затем производится суммирование первых 10 записей буфера и последних 10 записей буфера и полученные суммы сравниваются, и если полученная в результате сравнения разница превышает заданный порог-программа контроллера генерирует событие, что «сварной шов найден», причем порог срабатывания выбирают таким образом, чтобы обеспечить надежное обнаружение сварного шва и при этом исключить ложные срабатывания.
Устройство для обнаружения сварного шва на трубе при ультразвуковом контроле, включающее раму с электромагнитно-акустическими преобразователями, датчик измерения расстояния до трубы и подвижную опору, которая выполнена в виде корпуса, установленного на раму, на котором установлен пневмоцилиндр, шток которого соединен с вилкой, на которой смонтированы ролик и кронштейн с закрепленным на нем индуктивным датчиком с аналоговым выходом.
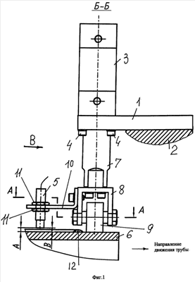
Устройство поясняется чертежами.
Фиг.1 – разрез Б-Б, вид на датчик с фронта;
Фиг.2 – разрез А-А, вид на датчик в плане;
Фиг.3 – вид В, поперек трубы.
Описание структуры устройства
Структурно устройство для осуществления способа обнаружения сварного (спирального) шва на трубе при ультразвуковом контроле содержит
а) индуктивный датчик с аналоговым выходом, с рабочим диапазоном измерения расстояний от 0 до 6 мм;
б) механизм позиционирования индуктивного датчика на поверхности трубы;
в) алгоритм обработки данных, реализованный в программе контроллера автоматики.
Описание конструкции устройства и принцип действия (фиг.1-3)
Устройство содержит подвижную опору, выполненную в виде корпуса 1, установленного на раму 2 с электромагнитно-акустическими преобразователями (условно не показаны), пневмоцилиндр 3, установленный на корпусе при помощи болтов 4, выполняющий функцию позиционирования индуктивного датчика 5 на поверхности трубы 6. На штоке 7 пневмоцилиндра 3 укреплена вилка 8, на которой смонтированы ролик 9 и кронштейн 10, на котором укреплен индуктивный датчик 5.
Регулирование расстояния А между активной поверхностью индуктивного датчика и поверхностью тубы 6 осуществляется при помощи гаек 11.
Для обнаружения сварного шва на трубе 6 перед УЗК включается пневмоцилиндр 3, и устройство опускается на поверхность трубы до соприкосновения ролика 9 с ее поверхностью, после чего труба 6 приводится во вращение. При этом индуктивный датчик 5 обеспечивает постоянное расстояние А до поверхности трубы 6.
В процессе вращения трубы 6 при наезде валика усиления сварного шва 12 на ролик 9 расстояние между активной поверхностью индуктивного датчика 5 и поверхностью трубы 6 уменьшается и становится равным В. В этом случае, при прохождении валика усиления сварного шва 12 под активной частью индуктивного датчика 5 фиксируют уменьшение расстояния от датчика 5 до поверхности трубы 6 и регистрируют обнаружение сварного шва.
Для исключения ложных срабатываний используют алгоритм обработки данных, для чего при изменении положения трубы 6 при ее вращении на 2 мм производится запись показаний индуктивного датчика в буфер, состоящий из 20 последних показаний.
При этом все ранее записанные показания смещаются на одну позицию к концу буфера, последняя, самая «старая» запись при этом теряется, а новые показания записываются в начало буфера.
Затем производится суммирование первых 10 записей буфера и последних 10 записей буфера, и полученные суммы сравниваются, и если полученная в результате сравнения разница превышает заданный порог – программа контроллера генерирует событие, что «сварной шов найден». Порог срабатывания выбирают таким образом, чтобы обеспечить надежное обнаружение сварного шва 12 и при этом исключить ложные срабатывания. После обнаружения сварного шва 12 вращение трубы 6 прекращается, и она транспортируется поступательно для осуществления ультразвукового контроля.
Предлагаемое изобретение позволяет быстро обнаружить сварной спиральный шов на трубе, исключить при этом ложные срабатывания и качественно подготовить трубу к ультразвуковому контролю.
Источники информации
1. Патент РФ №2238553.
2. Патент РФ №2259502.
3. Патент РФ №2247979.
Формула изобретения
1. Способ обнаружения сварного шва на трубе при ультразвуковом контроле при помощи, например, электромагнитно-акустических преобразователей, включающий определение положения трубы при помощи датчика для измерения расстояния до трубы, отличающийся тем, что для измерения расстояния от активной части датчика до поверхности трубы при ее вращении применяют индуктивный датчик с аналоговым выходом, который располагают перпендикулярно поверхности трубы на опоре с роликом, регистрируют получаемые данные, одновременно фиксируют координату вращения трубы с помощью энкодера – датчика вращения трубы, при прохождении валика усиления сварного шва под активной частью индуктивного датчика фиксируют уменьшение расстояния от датчика до поверхности трубы, регистрируют обнаружение сварного шва, а для исключения ложных срабатываний используют алгоритм обработки данных, для чего при изменении положения трубы при ее вращении на 2 мм производится запись показаний индуктивного датчика в буфер, состоящий из 20 последних показаний, при этом все ранее записанные показания смещаются на одну позицию к концу буфера, последняя, самая «старая» запись при этом теряется, а новые показания записываются в начало буфера, затем производится суммирование первых 10 записей буфера и последних 10 записей буфера и полученные суммы сравниваются и, если полученная в результате сравнения разница превышает заданный порог – программа контроллера генерирует событие, что «сварной шов найден», причем порог срабатывания выбирают таким образом, чтобы обеспечить надежное обнаружение сварного шва и при этом исключить ложные срабатывания.
2. Устройство для обнаружения сварного шва на трубе при ультразвуковом контроле, включающее раму с электромагнитно-акустическими преобразователями, датчик измерения расстояния до трубы и подвижную опору, отличающееся тем, что опора выполнена в виде корпуса, установленного на раму, на котором установлен пневмоцилиндр, шток которого соединен с вилкой, на которой смонтированы ролик и кронштейн с закрепленным на нем индуктивным датчиком с аналоговым выходом.
РИСУНКИ
|
|