|
|
(21), (22) Заявка: 2007122539/28, 18.06.2007
(24) Дата начала отсчета срока действия патента:
18.06.2007
(46) Опубликовано: 10.01.2009
(56) Список документов, цитированных в отчете о поиске:
Affolter H. et al. Rheoptical shape analysis of human blood platelets. Thromb. Haemostas, 1982, v.48(2), p.204-207. RU 2067764 C1, 10.10.1996. SU 1409218 A1, 15.07.1988. RU 2049989 C1, 10.12.1995. US 5071247 A, 10.12.1991. DE 3211191 A1, 06.10.1983.
Адрес для переписки:
125368, Москва, а/я 84, пат.пов. А.А.Щитову, рег.№ 721
|
(72) Автор(ы):
Королев Юрий Николаевич (RU), Белкина Ирина Ивановна (RU), Лауга Владимир Иванович (RU), Овсянникова Елена Геннадьевна (RU), Чернышев Анатолий Сергеевич (RU)
(73) Патентообладатель(и):
Федеральное государственное унитарное предприятие “Научно-исследовательский институт космического приборостроения” (RU)
|
(54) УСТРОЙСТВО ДЛЯ ОПРЕДЕЛЕНИЯ АГРЕГАЦИОННОЙ СПОСОБНОСТИ ТРОМБОЦИТОВ И СВЕРТЫВАЕМОСТИ КРОВИ
(57) Реферат:
Изобретение относится к области исследования или анализа материалов с использованием оптических средств и может быть использовано в процессе экспериментальных исследований крови и ее составных частей (клеток). Устройство содержит оптически прозрачную кювету с магнитной мешалкой, размещенную в термостатирующем блоке, лазерный модуль, выполненный с возможностью освещения кюветы, и измерительный блок, регистрирующий интенсивность светорассеяния, в состав которого входит, по меньшей мере, один приемник рассеянного оптического излучения. Оптическая ось лазерного модуля и нормаль к чувствительной площадке приемника оптического излучения составляют минимальный угол, достаточный для того, чтобы проходящий через кювету с пробой поток оптического излучения не попадал на светочувствительную площадку приемника, что повышает чувствительность и достоверность определения. 6 з.п. ф-лы, 3 ил.
Изобретение относится к области исследования или анализа материалов с использованием оптических средств, в частности к области устройств, использующих оптические методы регистрации информационного сигнала, и может быть использовано, в частности, в процессе экспериментальных исследований крови и ее составных частей (клеток), преимущественно в медицине при диагностике сосудисто-тромбоцитарного или коагуляционного гемостаза.
Современные схемы и способы лабораторной диагностики патологий гемостаза, как правило, включают, в том числе, и оценку сосудисто-тромбоцитарного гемостаза на основе определения способности тромбоцитов к образованию агрегатов (агрегометрия плазмы). Повышенная агрегационная активность тромбоцитов характерна при инфаркте миокарда, атеросклерозе, хронической ишемической болезни сердца, гипертонической болезни, нарушениях мозгового кровообращения и пр., а пониженная – либо при врожденной патологии тромбоцитов (тромбостения, тромбопатия), либо при приобретенной тромбоцитопатии в результате лейкозов, уремии, заболеваниях печени или как результат применения некоторых лекарственных средств.
Известны различные методы определения агрегационной способности тромбоцитов.
Существенным недостатком этого метода и устройств, реализующих его, является недостаточная информативность регистрируемой кривой светопропускания при воздействии на плазму индукторов низкой концентрации, а также невозможность исследования плазм с концентрацией тромбоцитов менее 108 тр/мл. Последнее обусловлено тем, что на фоне сильной засветки приемного устройства (световым потоком, проходящим через кювету с пробой) образование малых агрегатов мало сказывается на светопропускании суспензии тромбоцитов.
Известно устройство для исследования агрегации тромбоцитов (RU, патент 2278381 G01N 33/48, 2006) турбидиметрическим методом. Устройство содержит источник стабилизированного света, емкость для плазмы крови, обогащенной тромбоцитами, систему перемешивания плазмы, фотоприемник, аналого-цифровой преобразователь и регистрирующий блок. Емкость для плазмы крови образована двумя горизонтально расположенными плоскопараллельными дискообразными кварцевыми пластинами с цилиндрическим углублением в нижней из пластин. Это углубление при контакте с верхней пластиной образует замкнутую камеру для плазмы крови. Пластины размещены в поле зрения светового микроскопа. Стимулятором спонтанной агрегации тромбоцитов является сдвиговое напряжение в плазме, создаваемое вращением верхней и нижней пластин в противоположных направлениях.
Недостатком данного метода является ограниченное его применение – только для регистрации спонтанной агрегации, т.е. невозможность наблюдения агрегации в результате воздействия на тромбоциты различных индукторов агрегации (ристоцетин, коллаген, АДФ и др.), вырабатываемых живым организмом.
Известно устройство (US, патент 5071247 G01N 33/48, 1991), регистрирующее агрегацию тромбоцитов как традиционным турбидиметрическим методом, так и вновь разработанным «ФСП-методом», основанным на анализе флуктуации светопропускания, вызванных случайным изменением числа частиц в оптическом канале. Устройство содержит прозрачную кювету, предназначенную для размещения пробы и магнитной мешалки, освещаемую лазерным пучком света, занимающим малую часть объема пробы (как за счет фокусирующей оптики, так и малых – до 0,5 мм – диафрагм). Проходящий через пробу световой поток преобразуют посредством фотодиода в электрический сигнал, который после усиления подают на входы фильтра низких частот (регистрация крупных агрегатов при концентрациях свыше 108 тр/мл) и фильтра высоких частот (регистрация малых агрегатов на основе ФСП-метода при концентрациях от 5·107 тр/мл до 108 тр/мл).
Основной недостаток ФСП-метода и реализующего его устройства является невозможность работы с патологически низкими концентрациями тромбоцитов в плазме крови ниже 5·107 тр/мл (Двухканальный лазерный анализатор агрегации тромбоцитов. – Инструкция по эксплуатации, НПФ «Биола», 1992, 4 с.).
Из устройств, применяемых для определения параметров свертываемости крови, известно устройство определения свертываемости в пробах крови (DE, патент 3211191 G01N 33/86, 1993), основанное на использовании вязкостно-динамических свойств плазмы крови. Пробу помещают в прозрачную круглую с плоским дном кювету, снабженную магнитной мешалкой в виде шарика, выполненного из ферромагнитного материала. О свертываемости крови судят по интервалу времени между моментом падения в кювету порции стартового реагента и моментом начала изменения периода вращения шарика, обусловленного изменением вязкости пробы при появлении в пробе сгустков или нитей фибрина.
Недостатком известного технического решения следует признать недостаточную точность определения времени свертывания проб с малым содержанием фибриногена, а также в случае использования сильно разведенных проб. В этих случаях шарик разбивает слабые сгустки фибрина, что приводит к неправильному фиксированию времени свертывания. Следовательно, известное техническое решение может быть применено только для проб с высоким содержанием фибриногена.
Наиболее близким к разработанному устройству можно признать устройство (Affolter H., Platsches A., “Rheoptical shape analysis of human blood platelets”. Thromb. Haemostas, 1982, v.48(2). p.204-207), реализующее нефелометрический способ регистрации оптического сигнала о взаимодействии излучения с исследуемой жидкостной пробой, включающее фотометр с кюветным отделением, снабженным перемешивающим устройством и измерительным узлом, выполненным с возможностью регистрации интенсивности светорассеяния под углом 40°.
Недостатком данного устройства, принятого за ближайший аналог, можно признать недостаточную чувствительность (в частности, из-за большого угла наблюдения светорассеяния), что обуславливает невозможность регистрации спонтанной агрегации, а также индуцированной агрегации в пробах с низкой концентрацией (менее 5·107 тр/мл).
Техническая задача, решаемая посредством настоящего изобретения, состоит в разработке устройства анализа агрегационной активности тромбоцитов, позволяющего быстро и точно проводить определение как агрегационных параметров крови, так и параметров свертываемости крови.
Технический результат, получаемый в результате реализации разработанного технического решения, состоит в повышении чувствительности и достоверности определения как параметров агрегации тромбоцитов, в том числе и в пробах плазмы крови с патологически низкой концентрацией тромбоцитов, включая диапазон (1÷5)·107 тр/мл, так и параметров свертываемости крови, в том числе в пробах с малым содержанием фибриногена – до 0,3 г/л.
Для получения указанного технического результата предложено использовать устройство для определения агрегационной активности тромбоцитов и свертываемости крови, содержащее размещаемую в термостатирующем блоке оптически прозрачную кювету с магнитной мешалкой, источник оптического излучения, освещающий кювету по нормали к ее поверхности, и приемник света, при этом нормаль к чувствительной площадке приемника света и оптическая ось источника излучения составляют минимальный угол , исключающий возможность попадания проходящего через кювету светового потока на светочувствительную площадку приемника. При таком расположении приемника он регистрирует лишь рассеянное частицами пробы излучение, при этом угол выбирают минимальным из удовлетворяющих соотношению

где А – диаметр чувствительной площадки приемника;
В – поперечный размер светового пучка на выходе оптического канала;
С – расстояние между центром чувствительной площадки приемника и продольной осью кюветы,
характеризующему связь геометрии светового пучка с конструктивными размерами измерительного канала.
В качестве источника излучения в устройстве использован полупроводниковый лазерный модуль (лазерный диод с коллимирующей оптикой), причем с целью создания условий эффективного рассеяния оптического излучения на тромбоцитах в плазме с пробой и, за счет этого, увеличения чувствительности устройства используют недиафрагмированное лазерное излучение, не ослабленное другими средствами (светофильтрами), в отличие от агрегометров, в которых регистрируют проходящее через пробу излучение. Вокруг оптической оси источника излучения под углом к ней с целью повышения чувствительности устройства может быть установлено более одного приемника света, выходы которых подключены к входам усилителей электрического сигнала, генерированного фотоприемниками, выходы усилителей подключены к соответствующим входам сумматора, а его выход – к входу аналого-цифрового преобразователя, представляющего собой входной элемент регистрирующего устройства, включающего в себя микропроцессор, управляющий в диалоговом режиме процессом измерения и определения требуемых параметров. Устройство может дополнительно содержать средство индикации информации на бумажный, магнитный или оптический носитель.
Перемешивающий элемент магнитной мешалки, обеспечивающей в процессе измерения мягкое (без разрушения агрегирующих тромбоцитов) перемешивание суспензии тромбоцитов, может быть выполнен в форме шарика из ферромагнитного материала с покрытием, защищающим его от химического взаимодействия с пробой, при этом радиус шарика (r) и внутренний радиус (RК) кюветы связаны соотношением RК 2,5r. Средство создания магнитного поля магнитной мешалки может быть выполнено в виде вращающегося под дном кюветы постоянного магнита с вертикальным направлением его намагниченности, причем ось намагниченности отстоит от оси кюветы на величину не менее 3 r.
В устройстве использована кювета с круговым поперечным сечением, причем размер внутреннего диаметра кюветы выбирают исходя из условия оптимальной геометрии прохождения через пробу светового пучка и достаточного (для достижения требуемой чувствительности) пути взаимодействия света с пробой. При использовании четного числа измерительных кювет (более двух) предпочтительно размещать кюветы в два ряда – один напротив другого.
Термостатирующий измерительную кювету блок, выполненный из материала с высокой теплопроводностью, может быть дополнительно помещен в теплоизоляционный корпус, что существенно снижает тепловые потери блока, обусловленные теплообменом с окружающей средой и, в результате этого, энергопотребление, а также сокращает время выхода устройства на рабочую температуру (37°С).
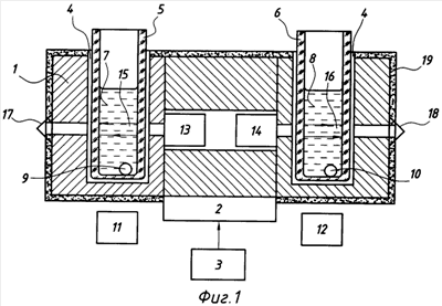
На фиг.1 приведена функциональная схема (в предпочтительном варианте реализации) измерительного узла n-канального (n=2k) устройства в продольном (относительно кювет) сечении, на фиг.2 – оптическая схема измерительного узла в поперечном (относительно кювет) сечении на уровне оптической оси излучателя и блок-схема электронной части устройства, на фиг.3 – графики зависимостей интенсивностей рассеянного света от концентрации тромбоцитов в калибровочном растворе, полученных с использованием разработанного устройства при углах регистрации =40, 30 и 20°.
Устройство имеет четное число каналов, объединенных измерительным блоком (узлом) 1. Предпочтительно блок выполняется из металла. Нагреватель 2, управляемый термостабилизирующим устройством 3, установлен на нижней грани блока 1. Каждый из каналов содержит измерительную ячейку 4 для размещения кювет 5, 6, выполненных, предпочтительно, из прозрачного полистирола. В кюветы 5, 6 помещают анализируемые пробы 7, 8 и магнитные мешалки 9, 10, выполненные в виде шариков, изготовленных из ферромагнитного материала (сталь) и покрытых защитным (от химического взаимодействия с пробой) покрытием. Под нижней гранью блока 1 под ячейками с кюветами размещены средства 11, 12, создающие вращающее магнитное поле, приводящее в движение магнитные мешалки 9, 10.
В центральной части блока 1 размещены источники лазерного излучения – лазерные модули 13, 14 ( =0,63 ), создающие световые пучки 15, 16 соответственно в кюветах 5 и 6. Световые ловушки 17, 18 для гашения света, проходящего через кюветы, закреплены на боковых стенках блока 1, помещенного в теплозащитный кожух 19. Приемники света 20, 21 и 22, 23 (кремниевые фотодиоды) установлены симметрично по обе стороны от оптических осей излучателей 13, 14 под углом =20°. Выходы приемников света 20, 21 подключены ко входам усилителей 24, 25, выходы которых подключены соответственно к первому и второму входам сумматора 26. Аналогично выходы приемников света 22, 23 подключены ко входам усилителей 27, 28, выходы которых соединены соответственно с первым и вторым входами сумматора 29. Выходы сумматоров 26 и 29 подключены соответственно к первому и второму входам коммутатора 31, выполняющего функцию входного элемента регистрирующего блока 30. Выход коммутатора 31 подключен к входу АЦП 32, выход которого подключен к первому входу микропроцессора 33, второй вход которого подключен к выходу клавиатуры 36. Третий вход микропроцессора 33 подключен к выходу термостабилизирующего устройства 3. Первый выход микропроцессора 33 подключен к входу микроконтроллера 34, выход которого подключен к входам средств 11 и 12. Второй выход микропроцессора 33 подключен к входу микроконтроллера 35, выход которого подключен к входу графического печатающего устройства 37. Третий выход микропроцессора 33 подключен к входу жидкокристаллического индикатора 38.
Используемое программное обеспечение устройства обеспечивает его работу в двух режимах: «Измерение параметров агрегации» и «Измерение параметров свертываемости».
В режиме «Измерение параметров агрегации» устройство работает следующим образом.
Для каждого образца крови пациента определяют экстремальные значения светорассеяния: 0% – для обедненной тромбоцитами плазмы (ОТП) – уровень «0%» и «100%» – для богатой тромбоцитами плазмы (БТП) – уровень «100%». Образцы плазм ОТП и БТП готовят согласно методике агрегометрического анализа (см., например, Пособие по изучению адгезивно-агрегационной активности тромбоцитов, НПО «Ренам», М., 2004). Вначале определяют уровень «0», для чего в измерительную ячейку 4 выбранного для работы канала, например левого (фиг.2), помещают цилиндрическую, выполненную из прозрачного полистирола кювету 5 с пробой 7 (0,3 мл ОТП) и с магнитной мешалкой 9, выполненной в виде шарика из углеродистой стали с защитным покрытием. Посредством элементов 11, 33 и 34 устройства приводят во вращение мешалку 9 на дне кюветы 5. Инкубируют пробу при температуре (37±1)°С посредством нагревателя 2 термостатирующего устройства 3 в течение 5 мин. Направляют на кювету оптическое излучение 15 от источника 13, регистрируя при этом рассеянное частицами пробы излучение (не показано) с использованием элементов 20, 21, 24…26, 31 и 32. Посредством микропроцессора 33 измеренному уровню сигнала присваивают имя «уровень «0» пациента «А», под которым его хранят в памяти элемента 33. После появления на элементе 38 информации об окончании записи уровня «0» в ячейку 4 вместо кюветы с ОТП устанавливают кювету с БТП (0,3 мл), с которой повторяют описанный выше цикл операций. После этого в память 33 записывают значение уровня «100%» пациента «А». Записанные уровни используют для масштабирования при графической записи процесса агрегации в пробе пациента «А».
Для проведения графической записи процесса агрегации активизируют – с использованием элементов 36, 33 – подпрограмму «Запись агрегации». В начале записи (на 30-й секунде) вносят в кювету с БТП один из активаторов тромбоцитов в объеме 0,03 мл (ристоцетин, АДФ, коллаген и др.). Запись агрегации продолжают в течение 5÷8 минут. По окончании записи кривой светорассеяния рассчитывают необходимые параметры агрегации, например, такие как степень и скорость агрегации (дезагрегации) и др.
Определение количества тромбоцитов в пробе БТП проводят в первые 20 сек записи светорассеяния (до внесения активатора), при этом используют результаты соответствующей калибровки канала на основе ранее введенной в память устройства зависимости уровня светорассеяния от числа тромбоцитов в калибровочных растворах (разведения суспензии с фиксированным числом тромбоцитов). Измерения уровней сигнала для каждого из разведений проводят по описанной выше схеме измерения уровней «0» и «100%».
В режиме «Измерения параметров свертываемости» устройство работает следующим образом.
Указанный режим работы активизируют посредством элементов 33, 36. В цилиндрическую выполненную из прозрачного полистирола кювету 5 помещают магнитную мешалку 9 и пробу 7, подготовленную согласно методике коагулологического анализа (см., например, Пособие для врачей-лаборантов по диагностическим методам определения гемоглобина и параметров свертывающей системы. М., НПО «Ренам», 1998). Затем кювету 5 помещают в ячейку 4 выбранного для работы канала и инкубируют пробу при температуре 37±1°С посредством нагревателя 2 термостабилизирующего устройства 3. Посредством элементов 11, 33 и 34 устройства приводят во вращение магнитную мешалку 9 на дне кюветы 5. Направляют на кювету оптическое излучение 15 от источника 13. По истечении времени инкубации, определяемом методикой анализа, в кювету 5 помещают порцию (не показано) стартового реактива. Регистрируют посредством элементов 20, 21, 24…26, 31 и 32 два импульса, обусловленных двумя изменениями интенсивности светорассеяния – при падении в пробу порции стартового реагента и при появлении в пробе сгустков или нитей фибрина. Посредством регистрирующего блока 30 первоначально рассчитывают интервал времени между двумя импульсами, а затем проводят расчет требуемых параметров свертывания крови. Необходимые для расчета калибровочные значения и константы вводят в регистрирующий блок 30 посредством клавиатуры 36 в процессе диалога «оператор-микропроцессор» с использованием жидкокристаллического индикатора 38. Результаты расчета выводят на ЖКИ 38 и – посредством контроллера 35 – на печатающее устройство 37.
Как следует из графиков на фиг.3, с уменьшением угла чувствительность устройства достаточно резко возрастает, при этом зависимость светорассеяния от концентрации тромбоцитов остается линейной, в том числе и при минимальном =20°, отвечающем соотношению (1) – в диапазоне концентраций от патологически низкой 1,5·107 тр/мл до нормальных значений 30·107 тр/мл. Линейный характер зависимости говорит о том, что выбранные параметры устройства (угол , мощность излучателя, диаметр кюветы и др.) обеспечивают такие условия светорассеяния, когда основную роль в нем играет только однократное рассеяние. Последнее является существенным условием (линейность зависимости) применения предлагаемого устройства в агрегометрии.
Использование предлагаемого устройства в медицинской практике для диагностики гематологических заболеваний позволяет измерять с высокой точностью как степень и скорость агрегации, так и концентрацию тромбоцитов, в т.ч. в пробах с патологически низким их содержанием (до 107 тр/мл), что необходимо при диагностике врожденных патологий тромбоцитов (тромбостении, тромбопатии).
Преимуществом устройства является также возможность его использования (посредством вызова соответствующей программы) и для измерения основных параметров свертываемости крови, в том числе в пробах с низким содержанием фибриногена и в сильно разведенных пробах.
Следующим преимуществом предлагаемого устройства является его многоканальность, позволяющая существенно повысить производительность устройства, что особенно важно при его использовании в клинико-диагностических лабораториях с большим количеством исследуемых проб.
Формула изобретения
1. Устройство для определения агрегационной способности тромбоцитов и свертываемости крови, содержащее размещаемую в термостатирующем блоке оптически прозрачную кювету с магнитной мешалкой, источник оптического излучения, выполненный с возможностью освещения кюветы, и измерительный блок, регистрирующий интенсивность светорассеяния, в состав которого входит, по меньшей мере, один приемник рассеянного оптического излучения, отличающееся тем, что оптическая ось лазерного модуля, используемого в качестве источника оптического излучения, и нормаль к чувствительной площадке приемника оптического излучения составляют минимальный угол , достаточный для того, чтобы проходящий через кювету с пробой поток оптического излучения не попадал на светочувствительную площадку приемника, регистрирующего лишь рассеянное частицами пробы оптическое излучение, при этом угол задан соотношением
A cos( )+B=2C sin( ),
где А – диаметр чувствительной площадки приемника света, С – расстояние между центром чувствительной площадки и продольной осью кюветы, В – поперечный размер лазерного луча на расстоянии С.
2. Устройство по п.1, отличающееся тем, что вокруг оптической оси источника излучения под углом к ней установлено более одного приемника света, каждый из выходов приемников подключен к входу усилителя, а выходы усилителей подключены к входам сумматора, выход которого подключен к входу аналого-цифрового преобразователя, являющегося входным элементом блока регистрации светорассеяния.
3. Устройство по п.2, отличающееся тем, что блок регистрации содержит микропроцессор и средство индикации на бумажный, магнитный или оптический носитель.
4. Устройство по п.1, отличающееся тем, что перемешивающий элемент магнитной мешалки выполнен в форме шарика из ферромагнитного материала с антикоррозионным покрытием, устойчивым к воздействию используемых в процессе измерений реагентов, при этом радиус r шарика и внутренний радиус RK кюветы удовлетворяют соотношению RK 2,5 r.
5. Устройство по п.1, отличающееся тем, что средство создания магнитного поля магнитной мешалки выполнено в виде вращающегося под дном кюветы постоянного магнита с вертикальным направлением его намагниченности, причем ось намагниченности отстоит от оси кюветы на величину не менее 3 r.
6. Устройство по п.1, отличающееся тем, что термостатирующий блок, выполненный из материала с высокой теплопроводностью, дополнительно помещен в теплоизоляционный корпус.
7. Устройство по п.1, отличающееся тем, что при использовании четного числа кювет более двух кюветы и лазерные модули размещены в два параллельных друг другу ряда.
РИСУНКИ
|
|