|
|
(21), (22) Заявка: 2007118203/06, 16.05.2007
(24) Дата начала отсчета срока действия патента:
16.05.2007
(46) Опубликовано: 10.01.2009
(56) Список документов, цитированных в отчете о поиске:
SU 1791765 А, 30.01.1993. SU 79152 А, 01.01.1949. SU 1097925 А, 15.06.1984. SU 1089496 А, 30.04.1984. US 3694085 А, 26.09.1972.
Адрес для переписки:
125009, Москва, Средний Кисловский пер., 7/10, кв.26, пат.пов. А.С.Попову, рег.№ 694
|
(72) Автор(ы):
Будько Игорь Олегович (RU), Горбуров Вячеслав Иванович (RU), Кутдюсов Юрий Фатекович (RU), Сальников Андрей Александрович (RU), Жуков Алексей Геннадиевич (RU), Макарцев Андрей Николаевич (RU), Уланов Андрей Валентинович (RU), Русакова Марина Владимировна (RU), Архипов Олег Петрович (RU), Брыков Сергей Интервильевич (RU), Трунов Николай Борисович (RU), Харченко Сергей Александрович (RU)
(73) Патентообладатель(и):
Будько Игорь Олегович (RU), Горбуров Вячеслав Иванович (RU), Кутдюсов Юрий Фатекович (RU)
|
(54) СПОСОБ ОПРЕДЕЛЕНИЯ ОТНОСИТЕЛЬНОЙ ВЛАЖНОСТИ ПАРА В ПАРОГЕНЕРАТОРЕ АТОМНОЙ ЭЛЕКТРОСТАНЦИИ
(57) Реферат:
Изобретение относится к области энергетики и может быть использовано для повышения надежности работы парогенератора, преимущественно, атомной электростанции с водо-водяным энергетическим реактором и эффективности определения сепарационных характеристик.
Способ определения относительной влажности пара в парогенераторе включает измерение концентрации ионов натрия в паре и в котловой воде, при этом процесс измерения производят при постоянном расходе непрерывной продувки, составляющем 0,05-0,15 от полного расхода непрерывной продувки в номинальном режиме, и при концентрации натрия в солевом отсеке не более 300 мкг/л. Такой способ исключает дополнительное увеличение отложений на теплообменных поверхностях и повышает точность измерения. 1 ил.
Изобретение относится к области энергетики и может быть использовано для повышения надежности работы парогенератора, преимущественно, атомной электростанции с водо-водяным энергетическим реактором и эффективности определения сепарационных характеристик.
Из уровня техники известен способ определения относительной влажности пара в парогенераторе, включающий измерение концентрации ионов натрия в паре и в котловой воде (см. М.А.Стырикович, М.И Резников. Методы экспериментального изучения процессов генерирования пара. М.: «Энергия», 1997, с.233-234). При этом в процессе измерения отключают непрерывную продувку и в объем парогенератора вводят раствор соли-индикатора – азотнокислого натрия (NaNO3), что приводит к значительному повышению общего солесодержания в котловой воде и, соответственно, к увеличению отложений на трубчатых теплообменных поверхностях, к снижению надежности работы парогенератора нагрева и эффективности определения сепарационных характеристик – относительной влажности пара.
Изобретение направлено на повышение надежности работы парогенератора и эффективности определения относительной влажности пара.
Решение поставленной задачи обеспечивается тем, что в способе определения относительной влажности пара в парогенераторе, включающем измерение концентрации ионов натрия в паре и в котловой воде, согласно изобретению процесс измерения производят при постоянном расходе непрерывной продувки – непрерывного отвода небольшого количества котловой воды из водяного объема – солевого отсека парогенератора через трубопровод непрерывной продувки, составляющем 0,05÷0,15 от полного расхода непрерывной продувки в номинальном режиме, и при концентрации натрия в солевом отсеке не более 300 мкг/л.
Проведение процесса определения относительной влажности пара при небольшом постоянном расходе непрерывной продувки парогенератора через трубопровод непрерывной продувки, из которого отбирают пробу для измерения концентрации ионов натрия в котловой воде, без дополнительного введения раствора соли-индикатора приводит к незначительному повышению общего солесодержания в котловой воде и паре, но достаточному для точного и эффективного измерения концентрации ионов натрия автоматическими анализаторами натрия, что исключает дополнительное увеличение отложений на трубчатых теплообменных поверхностях и повышает надежность работы парогенератора.
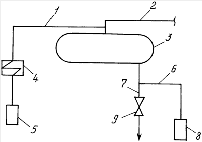
На чертеже представлена схема определения относительной влажности пара в парогенераторе.
Схема определения относительной влажности пара содержит линию 1 отбора пробы пара, подключенную к паропроводу 2, соединенному с верхней зоной парового пространства парогенератора 3, холодильник 4 и пробоотборник 5, линию 6 отбора пробы котловой воды, подключенную к трубопроводу 7 непрерывной продувки, который подключен к солевому отсеку парогенератора 3, и пробоотборник 8. Автоматические анализаторы натрия с проточной ячейкой, например, типа Soditrace (с диапазоном измерения 0,001÷10000 мкг/л) или AMI Sodium Р (с диапазоном измерения 0,1÷10000 мкг/л) фирмы SWAN (Швейцария) (не показано) подключают соответственно к пробоотборникам 5 и 8.
Заявленный способ определения относительной влажности пара в парогенераторе реализуется следующим образом.
Перед измерением концентрации ионов натрия производят снижение расхода непрерывной продувки – прикрывают вентиль 9 на трубопроводе 7 непрерывной продувки, поддерживая постоянный расход непрерывной продувки в пределах 0,05÷0,15 от полного расхода непрерывной продувки в номинальном режиме, что приводит к некоторому незначительному повышению концентрации натрия (ионы натрия постоянно присутствуют в котловой воде и паре в виде гидроокиси и различных солей натрия). При достижении концентрации натрия в солевом отсеке 250÷300 мкг/л производят определение концентрации ионов натрия в паре путем измерения концентрации ионов натрия в жидкой фазе – конденсате, который поступает в пробоотборник 5 по линии 1 после конденсации в холодильнике 4 отбора пробы влажного пара из зоны парового пространства парогенератора 3 – паропровода 2, посредством анализатора Soditrace и измеряют посредством, например, анализатора AMI Sodium P концентрацию ионов натрия в котловой воде, поступающей из трубопровода 7 непрерывной продувки по линии 6 отбора пробы в пробоотборник 8. Относительную влажность пара определяют по соотношению:
(%)=C1/C2·100%,
где C1 – концентрация ионов натрия в паре;
С2 – концентрация ионов натрия в котловой воде.
Формула изобретения
Способ определения относительной влажности пара в парогенераторе атомной электростанции, включающий измерение концентрации ионов натрия в паре и в котловой воде, отличающийся тем, что процесс измерения производят при постоянном расходе непрерывной продувки, составляющем 0,05-0,15 от полного расхода непрерывной продувки в номинальном режиме и при концентрации ионов натрия в солевом отсеке не более 300 мкг/л.
РИСУНКИ
|
|