|
|
(21), (22) Заявка: 2007121709/09, 08.06.2007
(24) Дата начала отсчета срока действия патента:
08.06.2007
(30) Конвенционный приоритет:
13.06.2006 DE 202006009355.9 05.02.2007 DE 202007001887.8
(46) Опубликовано: 10.01.2009
(56) Список документов, цитированных в отчете о поиске:
ЕР 0439667 A1, 07.08.1991. RU 2004124707 A, 27.01.2006. RU 37585 U1, 27.04.2004. US 4834615 А, 30.05.1989. US 4598894 А, 08.07.1986.
Адрес для переписки:
129090, Москва, ул.Б.Спасская, 25, строение 3, ООО “Юридическая фирма Городисский и Партнеры”, пат.пов. А.В.Мицу, рег.№ 364
|
(72) Автор(ы):
ПФАННЕНБЕРГ Андреас (DE)
(73) Патентообладатель(и):
ПФАННЕНБЕРГ ГМБХ (DE)
|
(54) ФИЛЬТРУЮЩИЙ ВЕНТИЛЯТОР С УСТРОЙСТВОМ ДЛЯ БЫСТРОГО КРЕПЛЕНИЯ
(57) Реферат:
Изобретение относится к фильтрующему вентилятору с устройством для быстрого крепления. Технический результат – выполнение фильтрующего вентилятора, который предотвращает всасывание не фильтрованного воздуха и проникновение влаги и воды внутрь корпуса фильтрующего вентилятора, и при этом обеспечиваются надежные, но разъемные фиксирующие соединения, в том числе при различной толщине металлического листа между фильтрующим вентилятором и вырезом в металлическом листе монтажной стенки, например, электрошкафа. Достигается тем, что фильтрующий вентилятор (100) с корпусом (10) и рамой (11), снабженный устройствами (60) для быстрого крепления в форме пружинно-эластичных, предпочтительно крылообразных, пластинок (12), выполненный так, что рама (11) по своему периметру выполнена непрерывно сплошной, и выполненные в виде полосовидных секций (40) пластинки (12) отформованы на раме (11) и для выполнения пружинно-эластичных язычков (50) снабжены соответствующим количеством прорезей (41). 13 з.п. ф-лы, 13 ил.
Изобретение относится к фильтрующему вентилятору с устройством для быстрого крепления.
Фильтрующие вентиляторы предназначаются для вентиляции электрошкафов, электронных устройств управления и компьютеров, устанавливаются в соответствующее отверстие в стенке корпуса, например, электрошкафа. Фильтрующие вентиляторы располагают нагнетателем, подающим окружающий воздух в корпус, причем корпус дополнительно снабжен пазами для выхода воздуха. Для предотвращения загрязнения электронных устройств в корпусе вентилятор располагает фильтрующим устройством, например, в виде сменного фильтрующего элемента.
Подобный фильтрующий вентилятор известен из EP 0 439 667 B1, причем фильтр с вентилятором располагает корпусом с рамой. На раме выполнены устройства быстрого крепления в форме пружинно-эластичных пластинок для установки фильтрующего вентилятора без дополнительных винтов, других монтажных средств или инструмента в отверстие корпуса и фиксации в нем при помощи пружинно-эластичных пластинок.
Кроме того, из DE 20 2006 009 355.9 известен фильтрующий вентилятор, имеющий корпус с рамой, причем рама снабжается устройствами быстрого крепления в форме пружинно-эластичных, предпочтительно крылообразных, пластинок. Рама по своему периметру выполнена непрерывно сплошной, причем пластинки отформованы на раме. У этого фильтрующего вентилятора устройства быстрого крепления в форме пружинно-эластичных пластинок вырезаны не из фрагмента боковой стенки или рамы корпуса вентилятора, а приформованы с внешней стороны этой рамы или боковой стенки. Фильтрующий вентилятор или его корпус состоит из пластмассовой детали, полученной способом литья под давлением так, что при изготовлении рамы дополнительные пластинки формируются или выполняются на раме сразу как одно целое с ней. Пластинки при этом расположены как бы на внешней стороне рамы и, например, находясь в вырезе монтажной стенки в установленном состоянии фильтрующего вентилятора, обращены наружу. Кроме того, рама фильтрующего вентилятора выполнена непрерывной по периметру, например, как одна деталь. Благодаря дополнительному приформовыванию пружинно-эластичных пластинок к раме фильтрующего вентилятора отсутствуют какие-либо отверстия на боковых внешних стенках, и рама выполнена по существу непрерывно сплошной по периметру фильтрующего вентилятора. Таким образом, эффективно предотвращается попадание нефильтрованного воздуха, например, в корпус компьютера. Так же невозможно попадание воды через боковые стенки внутрь фильтра и пропитывание, таким образом, влагой фильтрующего элемента.
Недостатком при этом является то, что в покрытых лаком вырезах в монтажной стенке из металлического листа имеет место недостаточная фиксация пластинок в области кромки выреза в металлическом листе, что в свою очередь объясняется тем, что расположенный по периметру край выреза в металлическом листе не обладает необходимыми для безупречной фиксации пластинок острыми кромками. Из-за нанесения на металлический лист электрошкафа слоя лака, в том числе в области края или кромки выреза в металлическом листе, пропадает необходимая для безупречной фиксации пластинок заостренность кромок, так что образующиеся из-за нанесения лака закругления в области кромки препятствуют достаточному удерживанию пластинок в области края или кромки выреза в металлическом листе. Дополнительно у этого фильтрующего вентилятора весь угол устройства для быстрого крепления крепится на наклонном контуре так, что при этом происходит непрямая фиксация, ведущая к тому, что посадка фиксирующих углов в покрашенном металлическом листе из-за закругленных кромок в вырезе металлического листа и, следовательно, из-за отсутствия заостренности кромок, являлась бы недостаточно надежной и, следовательно, могла привести к самопроизвольному выпадению фильтрующего вентилятора из места крепления в вырезе металлического листа электрошкафа.
Разумеется, что фильтрующий вентилятор известным образом может быть дополнительно оснащен фильтрующим элементом и/или нагнетателем, и/или устройствами для направления воздуха или подобными устройствами. Само собой разумеется, ламели, служащие устройством для направления воздуха, могут быть выполнены поворотными. Принципиально возможно расположение на раме только одной или нескольких, предпочтительно как описано ниже, пружинно-эластичных пластинок.
Задачей изобретения является выполнение такого фильтрующего вентилятора, который предотвращает всасывание нефильтрованного воздуха и проникновение влаги и воды внутрь корпуса фильтрующего вентилятора, и при этом обеспечиваются надежные, но разъемные фиксирующие соединения, в том числе при различной толщине металлического листа между фильтрующим вентилятором и вырезом в металлическом листе монтажной стенки, например, электрошкафа.
Эта задача характеризуется признаками, приведенными в пункте 1 формулы изобретения.
По ним фильтрующий вентилятор согласно изобретению, имеющий корпус с рамой и расположенные на ней устройства для быстрого крепления в форме пружинно-эластичных, предпочтительно крылообразных, пластинок выполнен таким образом, что рама по своему периметру выполнена непрерывно сплошной, и выполненные в виде полосовидных секций пружинно-эластичные пластинки отформованы на раме. Они предназначены для образования пружинно-эластичных фиксирующих язычков и имеют некоторое количество прорезей.
Другие предпочтительные варианты и дальнейшее развитие изобретения приведены в зависимых пунктах изобретения.
Предпочтительная форма изобретения заключается в том, что фильтрующий вентилятор имеет квадратный, четырехугольный или иной геометрической формы корпус с дизайнерской крышкой, прорезями для пропуска воздуха и горловинообразно сужающейся расположенной по периметру рамой, которая имеет устройства для быстрого крепления в форме пружинно-эластичных пластинных фиксирующих элементов для разъемного крепления фильтрующего вентилятора на проходящей по периметру монтажном кромке выреза в монтажной стенке электрошкафа или подобного, причем на внешней проходящей по периметру сплошной входящей в стенку поверхности рамы корпуса выполнено несколько образующих, фиксирующих элементы полосовидных секций, каждая из этих полосовидных секций отформована на одной стороне входящей в стенку поверхности рамы и имеет один или несколько образованных с помощью соответствующего количества прорезей, расположенных поперек продольного направления входящей в стенку поверхности рамы, пружинно-эластичных фиксирующих язычков, имеющих длину, соответствующую ширине входящей в стенку поверхности рамы, и их свободные, обращенные к дизайнерской крышке, направленные наружу и расположенные на внешней стороне концы имеют утолщения в форме кулачка.
На проходящей по периметру, входящей в стенку поверхности рамы корпуса отформованы по меньшей мере две полосовидные секции с пружинно-эластичными язычками, которые приформованы, соответственно, к двум противолежащим боковым, входящим в стенку поверхностям рамы.
Полосовидные секции с пружинно-эластичными фиксирующими язычками отформованы на боковых, входящих в стенку поверхностях посередине этих боковых, входящих в стенку поверхностей рамы корпуса.
В другом предпочтительном варианте изобретения отформованы четыре полосовидные секции с пружинно-эластичными язычками в областях углов корпуса на боковых, входящих в стенку поверхностях рамы, причем предусмотрено расположение полосовидных секций на каждых двух противоположных входящих в стенку поверхностях рамы корпуса.
Для изобретения существенно, что пружинно-эластичные фиксирующие язычки выполнены при помощи надрезов щелевидной формы в каждой полосовидной секции.
При этом длина пружинно-эластичных фиксирующих язычков каждой полосовидной секции уменьшается в направлении внешних кромок двух пересекающихся боковых, входящих в стенку поверхностей рамы корпуса.
Каждая полосовидная секция со своими пружинно-эластичными фиксирующими язычками состоит предпочтительно из пластмассы. Так же корпус фильтрующего вентилятора может состоять из пластмассы.
По другому предпочтительному варианту изобретения фильтрующий вентилятор и полосовидная секция с пружинно-эластичными фиксирующими язычками состоят из одной и той же пластмассы.
Преимущество, достигающееся при выполнении фильтрующего вентилятора согласно изобретению, заключается в том, что, выполненные так же, как и в известных фильтрующих вентиляторах фиксирующие углы не изменились в своей форме, лишь благодаря выполнению прорезей были созданы маленькие фиксирующие язычки, однако они определенно фиксируются более надежно. С учетом различной толщины металлического листа монтажной стенки в зацепление входит соответствующий фиксирующий язычок и при более тонких листах дополнительно фиксируется уже вжатыми фиксирующими язычками, это возможно благодаря тому, что длина фиксирующих язычков укорачивается в направлении области внешней кромки. Таким способом обеспечивается надежная фиксация фильтрующего вентилятора в вырезе монтажной стенки независимо от толщины металлического листа или толщины слоя лака, нанесенного на монтажную стенку.
Предпочтительные примеры выполнения изобретения пояснены более подробно при помощи чертежей. Они показывают:
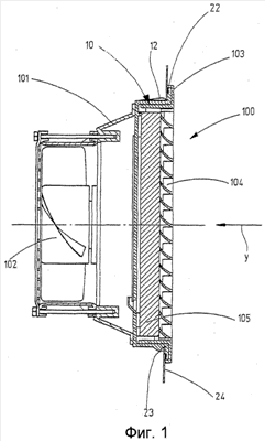
Фиг.1 – поперечное сечение фильтрующего вентилятора,
Фиг.2 – вид спереди фильтрующего вентилятора,
Фиг.3 – вид сзади фильтрующего вентилятора с крылообразными пластинками для быстрого крепления фильтрующего вентилятора в монтажной стенке,
Фиг.4 – вид сверху рамы фильтрующего вентилятора с крылообразными пластинками,
Фиг.5 – увеличенный вид фрагмента рамы фильтрующего вентилятора с крылообразной пластинкой,
Фиг.6 – еще один вид сверху рамы фильтрующего вентилятора с крылообразными пластинками,
Фиг.7 – вид сверху фильтрующего вентилятора с расположенными в областях углов рамы корпуса крылообразными пластинками с выполненными в них фиксирующими язычками,
Фиг.7А – увеличенный вид области угла рамы по Фиг.7 с крылообразной пластинкой, имеющей фиксирующие язычки,
Фиг.8 – вид сбоку фильтрующего вентилятора с расположенными в области углов рамы крылообразными пластинками с фиксирующими язычками,
Фиг.8А – увеличенный вид области угла рамы по Фиг.8 с пластинкой,
Фиг.9 – наглядное изображение области угла фильтрующего вентилятора с крылообразной пластинкой, имеющей фиксирующие язычки,
Фиг.10 – наглядное изображение вентилятора, установленного в отверстие монтажной стенки и
Фиг.11 – поперечное сечение установленного в вырез монтажной стенки фильтрующего вентилятора с крылообразными пластинками.
Изображенный на Фиг.1-3 фильтрующий вентилятор 100 состоит из корпуса 10 с держателем 101 нагнетателя, в котором установлен нагнетатель 102 с электрическим приводом. Выполненная открытой задняя стенка держателя 101 нагнетателя закрыта защитной решеткой 106 (Фиг.3). На корпусе 10 предпочтительно отформована рама 11. У квадратного или прямоугольного вентилятора 100 рама 11 состоит из четырех боковых стенок 14, 15, 20, 21 (Фиг.10).
Корпус 10 имеет на передней стороне дизайнерскую крышку 103 с устройствами для направления воздуха, например, в форме ламелей 104 (Фиг. 1 и 2). Дизайнерская крышка 103 или корпус 10 включают в себя фильтрующий элемент 105 для фильтрации подающегося через фильтрующий вентилятор 100 воздуха в направлении стрелки Y (Фиг.1). Фильтрующий вентилятор 100 собран из одной или нескольких пластмассовых деталей, полученных литьем под давлением и/или металлических деталей. Дизайнерская крышка 103 соединена через проходящий по периметру уплотнитель 22 предпочтительно разъемно с корпусом 10 для обеспечения замены фильтрующего элемента 105 (Фиг.1).
Фильтрующий вентилятор 100 с корпусом 10 располагается в установленном состоянии в вырезе 23 в монтажной стенке 24, например, электрошкафа (Фиг.1). Разъемное крепление или удерживание фильтрующего вентилятора 100 в вырезе 23 монтажной стенки 24 происходит благодаря фиксирующему соединению расположенных на раме 11 корпуса 10 устройств 60 быстрого крепления, которые выполнены как фиксирующий элемент 12а в виде пружинно-эластичных пластинок 12, имеющих фиксирующие язычки 50 (Фиг.9 и 10).
Для разъемного крепления фильтрующего вентилятора 100 в вырезе 23 монтажной стенки 24 фильтрующий вентилятор 100 вводится в вырез 23 в направлении стрелки Х (Фиг.10). При этом отформованные на раме 11 крылообразные пружинно-эластичные пластинки 12, образующие фиксирующие элементы (12а), как поясняет двойная стрелка Х3, незначительно изгибаются в направлении середины выреза 23 (Фиг.9). Пластинки 12 формируются предпочтительно как одно целое с частями сторон и на этих частях 14, 15, 20, 21 сторон рамы 11 (Фиг. 3, 4, 5, 6, 7, 7А, 8, 8А, 9 и 10).
Как только фильтрующий вентилятор 100 будет достаточно далеко вдвинут в вырез 23 монтажной стенки 24, пластинки 12, сдавленные в направлении стрелки Х1 к поверхности боковой стенки 14, отпружинят в направлении стрелки Х2 в исходное положение и зафиксируют фильтрующий вентилятор 100 в его установленном положении (Фиг. 8 и 8А). Для удаления фильтрующего вентилятора 100 пластинки 12 могут быть снова слегка сдавлены внутрь в направлении стрелки Х1 (Фиг.11).
Для крепления фильтрующего вентилятора 100, например, в металлическом или пластмассовом корпусе компьютера, электрошкафа или подобного, расстояние или зазор 13 между верхней кромкой 25 пластинки 12 и опорной кромкой монтажной поверхности корпуса 10 выбирается предпочтительно между одним и четырьмя миллиметрами (Фиг.11).
При этом пластинки 12 могут быть расположены или на раме 11 в области углов 16, 17, 18, 19 рамы 11, или в центре на боковой стенке 14, 15, 20, 21 (Фиг.3). На раме 11 пластинки 12 могут быть распределены любым другим способом. Пластинки 12 могут иметь любую форму, предпочтительны однако треугольные или четырехугольные. Пластинки 12 формируются из материала стенки рамы 11 (Фиг.9) или приформовываются к раме 11 (Фиг.6) так, что боковые стенки 14, 15, 20, 21 рамы 11 всегда образуют сплошные поверхности.
Количество пластинок 12 может выбираться любым, так же как и их расположение на раме 11. Наряду с расположением пластинок 12 в области углов 16, 17, 18, 19 пластинки 12 могут предусматриваться и в центре боковых стенок рамы 11. По меньшей мере две пластинки 12 должны быть предусмотрены на двух противоположных боковых стенках рамы 11. Пластинки 12 состоят предпочтительно из материала рамы 11, однако пластинки имеют пружинно-эластичное оформление, вследствие чего при снятии давления на пластинки 12 они должны возвращаться в исходное положение/отпружинивать.
Для уплотнения фильтрующего вентилятора 100 в установленном положении, т.е. когда опорная кромка монтажной поверхности или корпус 10 по существу вровень и плоско прилегает к монтажной стенке 24, предусмотрена проходящая по периметру фильтрующего вентилятора 100 резиновая прокладка 22 из предназначенного для этого синтетического материала. В частности вклеенная в паз резиновая прокладка 22 для предотвращения проникновения воздуха и/или влаги между фильтрующим вентилятором 100 и монтажной стенкой 24 (Фиг. 1 и 9).
Каждая выполненная на раме 11 корпуса 10 фильтрующего вентилятора 100 пластинка 12 выполнена как полосовидная секция 40, которая для образования пружинно-эластичных фиксирующих язычков 50 снабжена соответствующим количеством прорезей 41 (Фиг. 7, 7А, 9 и 10). Каждая полосовидная секция 40 отформована на каждой стороне поверхности, входящей в стенку 11а рамы 11. Количество прорезей 41 и, таким образом, количество фиксирующих язычков 50 может быть любым. Эти пружинно-эластичные пластинки 50 имеют длину, равную примерно ширине входящей в стенку поверхности 11а рамы 11. Их обращенные к дизайнерской крышке 103 концы 50а фиксирующих язычков 50 имеют расположенные на внешней стороне утолщения в форме кулачка 51 (Фиг. 8, 8А и 9). Эти утолщения 51 в форме кулачка снабжены поверхностями скольжения, обеспечивающими легкое введение пластинок в вырез 23 монтажной стенки 24.
Длина пружинно-эластичных фиксирующих язычков 50 каждой полосовидной секции 40 уменьшается в направлении внешних кромок 11b двух пересекающихся боковых, входящих в стенку поверхностей 14, 15, 20, 21 рамы 11 корпуса (Фиг.9). Предпочтительно свободные концы 50а незначительно отогнуты наружу.
В соответствии с Фиг.9 концы 50а фиксирующих язычков слегка отогнуты, причем линия изгиба BL проходит под углом так, что отогнутые участки на конце получаются различной длины. Полосовидные секции 40 с их фиксирующими язычками 50 выполняются предпочтительно из пластмассы, которая обеспечивает пружинно-эластичные свойства фиксирующих язычков 50.
Список ссылочных позиций
| 100 – |
Фильтрующий вентилятор |
| 101 – |
Держатель нагнетателя |
| 102 – |
Нагнетатель |
| 103 – |
Дизайнерская крышка |
| 104 – |
Ламели |
| 105 – |
Фильтрующий элемент |
| 106 – |
Защитная решетка |
| 10 – |
Корпус |
| 11 – |
Рама |
| 11a – |
Поверхность стенки |
| 11b – |
Кромка |
| 12 – |
Пластинка |
| 12a – |
Фиксирующие элементы |
| 13 – |
Зазор |
| 14 – |
Боковая стенка |
| 15 – |
Боковая стенка |
| 16 – |
Область угла |
| 17 – |
Область угла |
| 18 – |
Область угла |
| 19 – |
Область угла |
| 20 – |
Боковая стенка |
| 21 – |
Боковая стенка |
| 22 – |
Прокладка |
| 23 – |
Вырез |
| 24 – |
Монтажная стенка |
| 25 – |
Верхняя кромка |
| 40 – |
Полосовидная секция |
| 41 – |
Прорезь |
| 50 – |
Фиксирующие язычки |
| 50a – |
Концы |
| 51 – |
Утолщения стенок |
| 60 – |
Устройство для быстрого крепления |
| Y – |
Направление стрелки |
| X – |
Направление |
| X1 – |
Направление |
| X2 – |
Направление |
| X3 – |
Направление |
| BL – |
Линия изгиба |
Формула изобретения
1. Фильтрующий вентилятор (100) с корпусом (10) и рамой (11), снабженный устройствами (60) для быстрого крепления в форме пружинно-эластичных, предпочтительно крылообразных, пластинок (12), отличающийся тем, что рама (11) по своему периметру выполнена непрерывно сплошной, и выполненные в виде полосовидных секций (40) пластинки (12) отформованы на раме (11) и для выполнения пружинно-эластичных язычков (50) снабжены соответствующим количеством прорезей (41).
2. Фильтрующий вентилятор (100) по п.1, отличающийся тем, что фильтрующий вентилятор (100) имеет квадратный, четырехугольный или иной геометрической формы корпус (10) с дизайнерской крышкой (103), прорезями для пропускания воздуха в форме ламелей (104) и горловинообразно втянутой проходящей по периметру рамой (11), которая имеет устройства (60) для быстрого крепления в форме пружинно-эластичных пластинных фиксирующих элементов (12а) для разъемного крепления фильтрующего вентилятора (100) на проходящей по периметру монтажной кромке выреза (23) в монтажной стенке (24) электрошкафа или подобного устройства, причем на проходящей по периметру и сплошной, входящей в стенку поверхности (11а) рамы (11) корпуса (10) выполнено несколько образующих фиксирующие элементы (12а) полосовидных секций (40), каждая из этих полосовидных секций (40) отформована на каждой стороне входящей в стенку поверхности (11а) рамы (11) и имеет один или несколько образованных с помощью соответствующего количества прорезей (41), расположенных поперек продольного направления входящей в стенку поверхности (11а) рамы (11) пружинно-эластичных фиксирующих язычков (50), имеющих длину, примерно соответствующую ширине входящей в стенку поверхности (11а) рамы (11), и их свободные, обращенные к дизайнерской крышке (103), направленные наружу и расположенные на внешней стороне концы (50а) имеют утолщения (51) в форме кулачка.
3. Фильтрующий вентилятор (100) по п.1, отличающийся тем, что на верхней стороне (14) и/или на нижней стороне (15) квадратного или прямоугольного фильтрующего вентилятора (100) расположено по одной пластинке (12) в соответствующих областях углов (16, 17, 18, 19).
4. Фильтрующий вентилятор (100) по п.1 или 3, отличающийся тем, что на одной или нескольких боковых стенках (14, 15; 20, 21) рамы (11) расположено по одной пластинке (12).
5. Фильтрующий вентилятор по п.1, отличающийся тем, что по меньшей мере на двух соответственно противоположных боковых стенках рамы (11) предусмотрено по меньшей мере по одной пластинке (12).
6. Фильтрующий вентилятор по п.1, отличающийся тем, что пластинки (12) отформованы треугольными и/или прямоугольными.
7. Фильтрующий вентилятор (100) по п.2, отличающийся тем, что на проходящей по периметру, входящей в стенку поверхности (11а) рамы (11) корпуса (10) отформованы по меньшей мере две полосовидные секции (40) с пружинно-эластичными фиксирующими язычками (50), которые отформованы на двух соответственно противоположных боковых стенках (14, 15; 20, 21) рамы (11) на входящих в стенку поверхностях (11а).
8. Фильтрующий вентилятор (100) по п.2, отличающийся тем, что полосовидные секции (40) с пружинно-эластичными язычками (50) отформованы в центре боковых стенок (14, 15; 20, 21) рамы (11) корпуса (10) на боковых, входящих в стенку поверхностях (11а).
9. Фильтрующий вентилятор (100) по п.7 или 8, отличающийся тем, что четыре полосовидных секции (40) с пружинно-эластичными фиксирующими язычками (50) выполнены в областях углов (16, 17, 18, 19) корпуса (10) на боковых, входящих в стенку поверхностях (14, 15; 20, 21) рамы (11), причем расположение полосовидных секций (40) предусмотрено на двух соответственно противоположных боковых, входящих в стенку поверхностях (14, 15; 20,21) рамы (11) корпуса (10).
10. Фильтрующий вентилятор (100) по п.2, отличающийся тем, что длина пружинно-эластичных фиксирующих язычков (50) каждой полосовидной секции (40) в направлении внешних кромок (11b) двух пересекающихся друг с другом боковых стенок (14, 15; 20, 21) рамы (11) корпуса (10) уменьшается, причем свободные концы (50а) фиксирующих язычков (50) предпочтительно незначительно отогнуты наружу.
11. Фильтрующий вентилятор (100) по п.1, отличающийся тем, что каждая полосовидная секция (40) со своими пружинно-эластичными язычками (50) состоит из пластмассы.
12. Фильтрующий вентилятор (100) по п.1, отличающийся тем, что корпус (10) со своей рамой (11) фильтрующего вентилятора (100) состоит из пластмассы.
13. Фильтрующий вентилятор (100) по любому из пп.1, 11 или 12, отличающийся тем, что корпус (10) фильтрующего вентилятора (100) и полосовидные секции (40) с пружинно-эластичными фиксирующими язычками (50) состоят из одной и той же пластмассы.
14. Фильтрующий вентилятор (100) по п.1, отличающийся тем, что на опорной кромке монтажной поверхности предусмотрено уплотнительное средство, в частности установленная в паз резиновая прокладка (22).
РИСУНКИ
|
|