|
|
(21), (22) Заявка: 2007114651/03, 18.04.2007
(24) Дата начала отсчета срока действия патента:
18.04.2007
(46) Опубликовано: 10.01.2009
(56) Список документов, цитированных в отчете о поиске:
Руководство по проектированию и эксплуатации сепарационных узлов нефтяных месторождений, выбору и компоновке сепарационного оборудования, РД 39-0004-90, ВНИИСПТнефть. – Уфа, 1990, с.47. RU 93037000 А, 20.01.1996. RU 2254898 C1, 27.06.2005. SU 1510860 A2, 30.09.1989. SU 1360764 A1, 23.12.1987. RU 2753 U1, 16.09.1996. FR 2424751 A1, 30.11.1979.
Адрес для переписки:
450097, г.Уфа, ул. Заводская, 15/1, ЗАО НТК “МОДУЛЬНЕФТЕГАЗКОМПЛЕКТ”, ген. директору В.А. Крюкову
|
(72) Автор(ы):
Саяпов Марат Хамзинович (RU), Крюков Виктор Александрович (RU), Крюков Александр Викторович (RU)
(73) Патентообладатель(и):
Закрытое акционерное общество Научно-техническая компания “МОДУЛЬНЕФТЕГАЗКОМПЛЕКТ” (RU)
|
(54) НЕФТЕГАЗОВЫЙ СЕПАРАТОР СО СБРОСОМ ВОДЫ
(57) Реферат:
Изобретение относится к нефтедобывающей промышленности и может быть использовано для разделения продукции скважин на нефть, газ и воду. Обеспечивает повышение производительности сепаратора, эффективности и качества разделения. Сущность изобретения: сепаратор содержит горизонтальный цилиндрический корпус, тарельчатый ввод с центробежной насадкой, выпрямляющую и переливную перегородки, между которыми размещен пакет коалесцирующих насадок. Согласно изобретению между выпрямляющей и переливной перегородками размещены последовательно два пакета коалесцирующих насадок, которые разделены вертикальной перегородкой, делящей исходный поток газожидкостной смеси на параллельные потоки. Для этого каждый пакет коалесцирующих насадок имеет одинаковые гидравлические сопротивления. При этом один из параллельных потоков имеет возможность прохождения через первый по ходу движения газожидкостной смеси пакет коалесцирующих насадок, а другой поток имеет возможность прохождения через вертикальную перегородку, а затем – через последовательно установленный пакет коалесцирующих насадок. 1 ил.
Изобретение относится к нефтедобывающей промышленности и может быть использовано для разделения продукции скважин на нефть, газ и воду.
Известен газонефтяной сепаратор, содержащий сливные полки, выпрямляющую перегородку и последовательно установленный ряд пакетов коалесцирующих насадок [К.С.Каспарьянц, В.И.Кузин, Л.Г.Григорян «Процессы и аппараты для объектов промысловой подготовки нефти и газа». – М.: Недра, 1977 г. С.97, рис.IX].
Недостатком сепаратора является низкая производительность.
Наиболее близким к заявляемому является горизонтальный цилиндрический нефтегазовый сепаратор с предварительным сбросом воды, включающий тарельчатый ввод с центробежной насадкой, уголковую секцию, выпрямляющую и переливные перегородки, между которыми размещен полочный пакет (пакет коалесцирующих насадок), и каплеулавливающие насадки, установленные на выходе газа из сепаратора [РД 39-0004-90 «Руководство по проектированию и эксплуатации сепарационных узлов нефтяных месторождений, выбору и компановке сепарационного оборудования», ВНИИСПТнефть, Уфа, 1990 г., с.47].
Недостатком сепаратора является невысокая производительность и недостаточно высокая эффективность и качество разделения газожидкостной смеси.
Технический результат – повышение производительности сепаратора, повышение эффективности и качества разделения газожидкостной смеси за счет последовательного размещения пакета коалесцирующих насадок и обеспечения их параллельной работы.
Указанный технический результат достигается тем, что в известном горизонтальном цилиндрическом сепараторе, содержащем тарельчатый ввод с центробежной насадкой, выпрямляющую и переливную перегородки, между которыми размещен пакет коалесцирующих насадок, особенность заключается в том, что между выпрямляющей и переливной перегородками размещены последовательно два пакета коалесцирующих насадок, которые разделены вертикальной перегородкой, делящей исходный поток газожидкостной смеси на параллельные потоки, для чего каждый пакет насадок имеет одинаковые гидравлические сопротивления, при этом один из параллельных потоков имеет возможность прохождения через первый по ходу движения газожидкостной смеси пакет коалесцирующих насадок, а другой поток имеет возможность прохождения через вертикальную перегородку, а затем через последовательно установленный пакет коалесцирующих насадок.
Размещение пакета коалесцирующих насадок последовательно и разделение их вертикальной перегородкой обеспечивает возможность разделения газожидкостной смеси на два параллельных потока за счет оптимального размещения пакетов и одинакового гидравлического сопротивления каждого пакета насадок. Параллельная работа насадок способствует увеличению их площади в два раза, соответственно увеличиваются производительность сепаратора и качество разделяемой газожидкостной смеси.
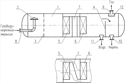
На чертеже показан нефтегазовый сепаратор со сбросом воды.
Сепаратор представляет собой горизонтальную цилиндрическую емкость 1 и содержит тарельчатый ввод с центробежной насадкой 2, выравнивающую 3 и переливную 4 перегородки, между которыми размещены последовательно два пакета коалесцирующих насадок 5 и 6, которые разделены вертикальной перегородкой 7, делящей исходный поток газожидкостной смеси на параллельные потоки, для чего каждый пакет насадок 5 и 6 имеет одинаковые гидравлические сопротивления, один из параллельных потоков имеет возможность прохождения через первый по ходу движения газожидкостной смеси пакет насадок 5, а другой поток имеет возможность прохождения через вертикальную перегородку 7, а затем через последовательно установленный пакет насадок 6. Сепаратор содержит также патрубки ввода газожидкостной смеси 8, отвода газа, нефти и воды соответственно 9, 10, 11 и каплеулавливающие насадки 12 на выходе газа из аппарата.
Сепаратор работает следующим образом.
Расслоенная в подводящем трубопроводе (на чертеже не показан) исходная продукция скважин – газожидкостная смесь – поступает в сепаратор 1 через тарельчатый ввод 2 и плавно подается на верхний уровень жидкой фазы, далее равномерно распределяется по сечению аппарата выравнивающей перегородкой 3. После прохождения выравнивающей перегородки 3 поток делится на два параллельных потока за счет одинакового гидравлического сопротивления каждого пакета насадок 5 и 6. Один из параллельных потоков проходит через первый по ходу движения газожидкостной смеси пакет коалесцирующих насадок 5, другой поток проходит через вертикальную перегородку 7, а затем через последовательно установленный пакет коалесцирующих насадок 6, т.е. обеспечивается параллельная работа пакета насадок. Далее поток проходит зону осаждения и отстоя. Нефть поднимается вверх и далее через перегородку 4 поступает в секцию сбора нефти и через патрубок 10 отводится из сепаратора. Вода накапливается до перегородки 4 в нижней части отстойной зоны и отводится из сепаратора через патрубок 11 отвода воды. Газ проходит выравнивающую перегородку 3, далее очищается в пакете коалесцирующих насадок 5 и 6 от крупных капель жидкости. В зоне выхода газ окончательно очищается от жидкости каплеулавливающей насадкой 12 и выходит из сепаратора через патрубок 9.
Предлагаемый сепаратор находит промышленное применение на ряде нефтедобывающих предприятий.
Формула изобретения
Нефтегазовый сепаратор со сбросом воды, содержащий горизонтальный цилиндрический корпус, тарельчатый ввод с центробежной насадкой, выпрямляющую и переливную перегородки, между которыми размещен пакет коалесцирующих насадок, отличающийся тем, что между выпрямляющей и переливной перегородками размещены последовательно два пакета коалесцирующих насадок, которые разделены вертикальной перегородкой, делящей исходный поток газожидкостной смеси на параллельные потоки, для чего каждый пакет коалесцирующих насадок имеет одинаковые гидравлические сопротивления, при этом один из параллельных потоков имеет возможность прохождения через первый по ходу движения газожидкостной смеси пакет коалесцирующих насадок, а другой поток имеет возможность прохождения через вертикальную перегородку, а затем – через последовательно установленный пакет коалесцирующих насадок.
РИСУНКИ
|
|