|
| На основании пункта 1 статьи 1366 части четвертой Гражданского кодекса Российской Федерации патентообладатель обязуется заключить договор об отчуждении патента на условиях, соответствующих установившейся практике, с любым гражданином Российской Федерации или российским юридическим лицом, кто первым изъявил такое желание и уведомил об этом патентообладателя и федеральный орган исполнительной власти по интеллектуальной собственности. |
|
(21), (22) Заявка: 2007121430/03, 07.06.2007
(24) Дата начала отсчета срока действия патента:
07.06.2007
(43) Дата публикации заявки: 10.12.2007
(46) Опубликовано: 10.01.2009
(56) Список документов, цитированных в отчете о поиске:
SU 511419 A1, 25.04.1976. US 3545159 A, 08.12.1970. US 5125814 A, 30.06.1992. US 3764222 A, 09.10.1973.
Адрес для переписки:
617520, Пермский край, Уинский р-н, с. Уинское, ул. Кирова, 48, А.И. Сажину
|
(72) Автор(ы):
Сажин Александр Иванович (RU)
(73) Патентообладатель(и):
Сажин Александр Иванович (RU)
|
(54) УСТРОЙСТВО ДЛЯ НАНЕСЕНИЯ РАСТВОРА НА БОКОВЫЕ ГРАНИ КИРПИЧА ПРИ КЛАДКЕ КИРПИЧНЫХ СТЕН И СПОСОБ ЕГО ПРИМЕНЕНИЯ
(57) Реферат:
Изобретение относится к строительной индустрии, а именно к устройствам для раскладки и разравнивания раствора на боковых гранях кирпича при кладке кирпичных стен, и может быть использовано при строительстве гражданских и производственных сооружений. Технический результат: упрощение и удешевление конструкции устройства, экономичное расходование раствора, снижение трудозатрат и требований к квалификации каменщика, повышение чистоты кладки, престижа профессии. Технический результат достигается за счет того, что устройство для нанесения раствора на боковые грани кирпича при кладке кирпичных стен, включающее емкость для раствора, выполнено с приспособлением для установки кирпича с возможностью перемещения вдоль емкости и содержит опорную часть в виде основания и, по меньшей мере, один ограничитель толщины раствора. 2 н. и 3 з.п. ф-лы, 1 ил.
Изобретение относится к строительной индустрии, а именно к устройствам для раскладки и разравнивания раствора на гранях кирпича при кладке кирпичных стен, и может быть использовано при строительстве гражданских и производственных сооружений.
Известны устройства для заполнения вертикальных швов кладки строительным раствором при кладке стен из штучных элементов (а.с. СССР 511419, Е04G 21/22, опубл. 22.09.76, бюл. №15). Однако известные устройства трудоемки в изготовлении и имеют сложную конструкцию.
Указанное устройство является наиболее близким к предлагаемому изобретению.
Технический результат изобретения заключается в упрощении и удешевлении конструкции устройства, экономичном расходовании раствора, снижении трудозатрат и требований к квалификации каменщика, повышении чистоты кладки, престижа профессии.
Технический результат достигается за счет того, что устройство для нанесения раствора на боковые грани кирпича при кладке кирпичных стен включает емкость для раствора, выполнено с приспособлением для установки кирпича с возможностью перемещения вдоль емкости и содержит опорную часть в виде основания с, по крайней мере, одним боковым упором, и, по меньшей мере, с одним ограничителем толщины раствора.
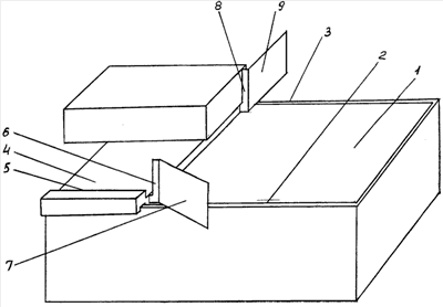
На чертеже схематически изображен общий вид устройства.
Устройство содержит растворный ящик 1 с направляющими в виде верхних граней боковых стенок 2 и 3, основание 4 с продольными упорами 5, ограничители толщины раствора, состоящие, соответственно, из вертикально установленных и шарнирно соединенных друг с другом пластин 6 и 7, 8 и 9.
Пластины 6 и 8 неподвижно закреплены на основании 4 и их размеры и положение на основании 4 совместно с упорами 5 (упор, симметрично расположенный упору 5, не показан) определяют положение кирпича на основании 4 и, как следствие, толщину наносимого на его боковую грань раствора и величину отступа раствора от лицевой грани кирпича.
Предлагаемое устройство применяется следующим образом.
По ходу кладки на основание 4 подсобным рабочим подается укладываемый в версту кирпич. Кирпич лицевой гранью прижимается к боковому упору 5, а тычковой – к пластине 6. Равноценен вариант, показанный на чертеже, когда кирпич прижимается ложковой гранью к другому, симметрично расположенному боковому упору, а тычковой гранью – к вертикальной кромке пластины 8. Каменщик кельмой наносит раствор на тычковую грань кирпича, выравнивая его по толщине прижатием одной из пластин 7 или 9, после чего снимает кирпич с основания 4 и укладывает в версту. По мере расходования раствора, содержащегося в растворном ящике 1, основание 4 посредством направляющих 2 и 3 перемещается вдоль растворного ящика 1 к тому месту, где имеется раствор.
При необходимости нанесения раствора на ложковую грань кирпич устанавливается поперек направляющих 2 и 3 (поперек растворного ящика 1). При этом толщина раствора, наносимого на ложковую грань кирпича, устанавливается и контролируется одновременно пластинами 6 и 7, 8 и 9. Излишек раствора после подрезки кельмой не теряется, сбрасывается в растворный ящик и накапливается в нем. Высота пластин 6 и 7, 8 и 9 может быть больше или равной высоте кирпича. Применение растворного столика снижает расход раствора, сокращает время его нанесения на грань кирпича, обеспечивает точное нанесение по месту и по толщине, делая ненужной подрезку раствора в процессе кладки, что сокращает трудозатраты каменщика. При этом исключается возможность нанесения брызг раствора на уже готовую часть стены и ее загрязнение.
Приспособление для установки кирпича выполняется из листовой кровельной стали толщиной 0,6-0,7 мм.
Способ применения устройства для нанесения раствора на боковые грани кирпича, включающий нанесение раствора на боковую грань кирпича и последующее его разравнивание, отличается тем, что применяется устройство для нанесения раствора на боковые грани кирпича, содержащее емкость для раствора, приспособление для установки кирпича с возможностью перемещения вдоль емкости и содержащее опорную часть в виде основания, по меньшей мере, один ограничитель толщины раствора.
Способ применения предлагаемого устройства экономичен, не требует высокой квалификации каменщика, повышает культуру кладки, престиж профессии.
Предлагаемое техническое решение промышленно применимо, из уровня техники неизвестно, имеет изобретательский уровень.
Формула изобретения
1. Устройство для нанесения раствора на боковые грани кирпича при кладке кирпичных стен, включающее емкость для раствора, отличающееся тем, что выполнено с приспособлением для установки кирпича с возможностью перемещения вдоль емкости и содержит опорную часть в виде основания с, по крайней мере, одним боковым упором, и, по меньшей мере, с одним ограничителем толщины раствора.
2. Устройство по п.1, отличающееся тем, что ограничитель толщины раствора выполнен в виде двух вертикальных пластин, одна из которых неподвижно закреплена на основании, и ее ширина равна толщине наносимого раствора, а другая шарнирно соединена с ней.
3. Устройство по п.2, отличающееся тем, что высота пластин выполнена больше высоты кирпича или равна ей.
4. Устройство по п.1, отличающееся тем, что приспособление для установки кирпича выполнено из листовой кровельной стали толщиной 0,6-0,7 мм.
5. Способ применения устройства для нанесения раствора на боковые грани кирпича, заключающийся в нанесении раствора на боковую грань кирпича с последующим его разравниванием, отличающийся тем, что применяется устройство по любому из пп.1-4.
РИСУНКИ
|
|