|
|
(21), (22) Заявка: 2007114385/03, 16.04.2007
(24) Дата начала отсчета срока действия патента:
16.04.2007
(46) Опубликовано: 27.12.2008
(56) Список документов, цитированных в отчете о поиске:
RU 2087848 C1, 20.08.1997. SU 1064740 A1, 20.01.1995. SU 1793790 A1, 09.02.1995. RU 2228515 C2, 10.05.2004. RU 2273821 C1, 10.04.2006. US 3820435 A, 28.06.1974.
Адрес для переписки:
607188, Нижегородская обл., г. Саров, пр. Мира, 37, ФГУП “РФЯЦ-ВНИИЭФ”, начальнику ОПИНТИ
|
(72) Автор(ы):
Белозеров Борис Васильевич (RU), Долбищев Сергей Федорович (RU)
(73) Патентообладатель(и):
Российская Федерация в лице Федерального агентства по атомной энергии (RU), Федеральное государственное унитарное предприятие “Российский Федеральный ядерный центр – Всероссийский научно-исследовательский институт экспериментальной физики” – ФГУП “РФЯЦ-ВНИИЭФ” (RU)
|
(54) ВЗРЫВОЗАЩИТНАЯ КАМЕРА
(57) Реферат:
Изобретение относится к взрывной технике и может быть использовано для обеспечения безопасности. Взрывозащитная камера содержит цилиндрический корпус, днище, горловину с внутренним кольцевым пазом, крышку в виде стакана, радиальные кольцевые элементы, защитный экран. Днище выполнено плоским с коническим переходом к цилиндру корпуса, на внутреннюю плоскую часть днища установлен отражатель сферической формы. Одна из боковых поверхностей внутреннего кольцевого паза горловины – плоская, а другая – конической формы. Крышка выполнена с наружным цилиндрическим выступом и установлена герметично в горловине с помощью уплотнительных элементов, размещенных в имеющихся кольцевых канавках крышки. На цилиндрический выступ надето и закреплено на крышке с помощью болтов кольцо прижимное плоское, имеющее наружную коническую поверхность. Радиальные кольцевые элементы выполнены с плоской торцовой поверхностью, сопрягаемой с плоским торцом крышки и плоской боковой поверхностью кольцевого паза горловины, и коническим торцом, сопрягаемым с конической боковой поверхностью кольцевой проточки горловины. Внутренняя поверхность радиальных элементов выполнена конической формы, которой она сопрягается с наружной конической поверхностью кольца прижимного. Защитный экран выполнен с центральным отверстием под элементы эксплуатационного назначения и пазами по краям под жгуты. В зоне цилиндрического выступа в крышке выполнены отверстия под проходные элементы эксплуатационного назначения. Изобретение имеет расширенный диапазон применения и обеспечивает безопасность при транспортировке, ликвидации и экспериментальной отработке взрывных устройств, в состав которых могут входить экологически опасные высокотоксичные вещества, при этом продукты взрыва надежно локализуются внутри камеры без попадания их в окружающую среду в опасных концентрациях. 2 з.п. ф-лы, 1 ил.
Изобретение относится к взрывной технике и может быть использовано для обеспечения безопасности при транспортировке, ликвидации и экспериментальной отработке взрывных устройств, в состав которых могут входить экологически опасные высокотоксичные вещества.
Известен контейнер для взрывного устройства (патент RU 2087848 C1, кл.6 F42D 5/04, опубл.20.08.97).
Контейнер содержит цилиндрический корпус с выпуклыми днищами, горловиной, закрытой крышкой, установленную в корпусе цилиндрическую гильзу со стенкой, состоящей из слоев: внутреннего – из легкого металла, промежуточных – из гофрированного листа пластичного металла и ряда параллельных протяженных элементов, наружного из бронированного листа металла. Такой же набор слоев составляет дно гильзы. Фланец гильзы соединен с горловиной тонкостенной пластически деформируемой оболочкой. В горловине корпуса выполнен кольцевой паз, а во фланце – кольцевая полость. Крышка снабжена двумя группами последовательно расположенных вдоль продольной оси кольцевых элементов, установленных с возможностью радиального перемещения, при этом одна группа элементов установлена с возможностью радиального размещения в кольцевом пазе горловины корпуса, а другая подвижно соединена с защитным экраном и установлена с возможностью размещения в кольцевой полости фланца. Свободные объемы между слоями стенки и дна гильзы, а также между гильзой и корпусом заполнены пористым разрушаемым материалом.
Недостатками этого контейнера являются:
1) контейнер негерметичен из-за конструктивных особенностей крышки и способа ее крепления в горловине камеры. Это не позволяет использовать контейнер для обезвреживания взрывоопасного предмета, в состав которого могут входить экологически опасные высокотоксичные вещества;
2) запирание крышки кольцевыми элементами, введенными и зафиксированными в кольцевом пазу горловины с помощью механизма радиального перемещения, усложняет конструкцию и не обеспечивает жесткой фиксации крышки в горловине, что снижает надежность работы силовых элементов горловины и крышки при воздействии на них взрывной динамической нагрузки;
3) ограничен диапазон применения контейнера, он не может быть использован для проведения экспериментальной отработки взрывных устройств, требующих в оболочке или крышке контейнера наличия значительного количества проходных элементов для передачи информации о работе взрывного устройства. Наличие проходных элементов приведет к изменению формы контейнера, конструкции защитных элементов и характера работы основных частей контейнера при воздействии на них взрывной динамической нагрузки.
Известно также изолирующее устройство для безопасного проведения работ с взрывоопасными объектами (патент RU 2100770 С1, кл. 6 F42D 5/00, опубл. 27.12.97. Бюл. №36).
Изолирующее устройство содержит взрывную камеру, установленную на платформе и имеющую загрузочную горловину, закрытую крышкой, к которой прикреплен размещенный в полости камеры держатель для взрывоопасного объекта, при этом изолирующее устройство снабжено приспособлениями для демонтажа объекта и системой дистанционного управления для их включения и выключения, на платформе также установлена с возможностью перемещения по направляющим тележка с прикрепленной к ней крышкой взрывной камеры, к внутренней стороне которой присоединен через цилиндрическую металлическую оболочку защитный экран в форме обращенного вершиной в камеру конуса из металлической плиты, корпус взрывной камеры выполнен цилиндрическим с выпуклыми днищами и образован внутренним и наружным слоями пластичной стали, а внутренняя поверхность камеры облицована примыкающими друг к другу полосами бронированной стали, образующими в продольном направлении группы, соединенные посредством шпангоутов, горловина в днище выполнена с внутренним кольцевым пазом и соединена с ближайшим шпангоутом цилиндрической металлической оболочкой с фланцем, у которой диаметр центрального отверстия равен диаметру защитного экрана крышки, к фланцу прикреплены радиальные пластины, обращенные ребрами в полость камеры и установленные наклонно с частичным взаимным перекрытием, на внутренней поверхности камеры закреплены направляющие, а держатель объекта снабжен опорными элементами для перемещения по направляющим, крышка камеры снабжена радиальными кольцевыми элементами, установленными с возможностью их размещения в кольцевом пазу горловины, и механизмом их радиального перемещения, в крышку камеры вмонтирован герметичный ввод жгутов системы управления приспособлениями для демонтажа объекта, а внутренняя полость камеры соединена с атмосферой каналами, проходящими через крышку.
Взрывная камера этого технического решения принимается за прототип как наиболее близкая по технической сущности заявляемой.
Недостатками этой камеры являются:
1) камера негерметична из-за конструктивных особенностей крышки и способа ее крепления в горловине камеры. Это не позволяет использовать камеру для обезвреживания взрывоопасного предмета, в состав которого могут входить экологически опасные высокотоксичные вещества;
2) запирание крышки кольцевыми элементами, введенными и зафиксированными в кольцевом пазу горловины с помощью механизма радиального перемещения, усложняет конструкцию и не обеспечивает жесткой фиксации крышки в горловине, что снижает надежность работы силовых элементов горловины и крышки при воздействии на них взрывной динамической нагрузки;
3) ограничен диапазон применения камеры, она не может быть использована для проведения экспериментальной отработки взрывных устройств, требующих в оболочке или крышке камеры наличия значительного количества проходных элементов для передачи информации о работе взрывного устройства. Наличие проходных элементов приведет к изменению формы камеры, конструкции секции защитного экрана и характера работы основных частей камеры при воздействии на них взрывной динамической нагрузки.
Решаемой технической задачей является создание взрывозащитной камеры широкого диапазона применения, обеспечивающей надежную локализацию продуктов взрыва взрывных устройств, в состав которых могут входить экологически опасные высокотоксичные вещества, без попадания их в окружающую среду в опасных концентрациях.
Поставленная техническая задача решается тем, что в камере, содержащей цилиндрический корпус, днище, горловину с внутренним кольцевым пазом, крышку с внутренней цилиндрической оболочкой (крышку в виде стакана), радиальные кольцевые элементы и защитный экран, днище выполнено плоским с коническим переходом к цилиндру корпуса, при этом на внутреннюю плоскую часть днища установлен отражатель сферической формы; одна из боковых поверхностей внутреннего кольцевого паза горловины выполнена плоской, а другая – конической формы; крышка в виде стакана выполнена с наружным цилиндрическим выступом и установлена герметично в горловине с помощью уплотнительных элементов, размещенных в имеющихся кольцевых канавках крышки; в зоне цилиндрического выступа в крышке выполнены отверстия под проходные элементы эксплуатационного назначения; на цилиндрический выступ надето и закреплено на крышке с помощью болтов кольцо прижимное плоское, имеющее наружную коническую поверхность; радиальные кольцевые элементы выполнены с плоской торцовой поверхностью, сопрягаемой с плоской торцовой поверхностью крышки и плоской боковой поверхностью кольцевого паза горловины, и коническим торцом, сопрягаемым с боковой конической поверхностью кольцевого паза горловины, также внутренняя поверхность радиальных элементов выполнена конической формы, которой она сопрягается с наружной конической поверхностью кольца прижимного; защитный экран выполнен с центральным отверстием под элементы эксплуатационного назначения и имеет по краям пазы под жгуты, идущие от взрывного устройства и другого оборудования, размещенного в камере к проходным элементам эксплуатационного назначения, устанавливаемым в отверстия крышки.
Выполнение днища плоским с коническим переходом к цилиндру корпуса и установка на внутреннюю плоскую часть днища металлического отражателя сферической формы обеспечивает равнопрочность конструкции корпуса при воздействии на него взрывной динамической нагрузки.
Выполнение в горловине внутренней кольцевой проточки, одна из боковых поверхностей которой плоская, а другая – конической формы, позволяет жестко разместить в ней радиальные кольцевые элементы, имеющие плоскую и коническую торцовые поверхности, контактирующие соответственно с плоской и конической боковыми поверхностями кольцевой проточки, что повышает надежность работы соединения при воздействии на него взрывной динамической нагрузки.
Выполнение крышки в виде стакана с наружным кольцевым выступом, на который надето и закреплено с помощью болтов кольцо прижимное плоское, имеющее наружную коническую поверхность, контактирующую с сопрягаемой внутренней конической поверхностью радиальных элементов, позволяет неподвижно закрепить крышку в горловине камеры, что в совокупности с использованием уплотнительных элементов, размещенных в имеющихся кольцевых канавках крышки, обеспечивает герметичное соединение, надежно работающее в условиях воздействия взрывной динамической нагрузки.
Выполнение в цилиндрическом выступе крышки отверстий под проходные элементы эксплуатационного назначения позволяет герметично вывести их во внутрь камеры в зону, которая защищена от прямого воздействия продуктов взрыва взрывного устройства стаканом крышки и защитным экраном, что повышает надежность работы герметичных соединений.
Выполнение защитного экрана с центральным отверстием и пазами по краям позволяет устанавливать необходимое оборудование и производить прокладку жгутов, идущих от взрывного и других устройств, размещенных в камере, к проходным элементам эксплуатационного назначения, устанавливаемым в отверстия цилиндрического выступа крышки.
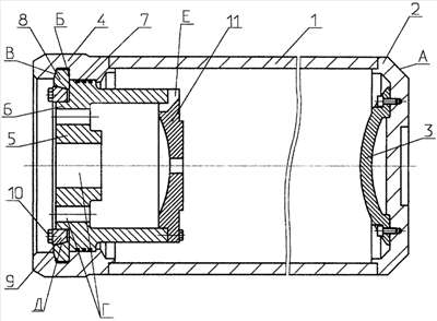
На чертеже изображена конструкция взрывозащитной камеры.
Камера состоит из цилиндрического корпуса 1 с плоским днищем 2, имеющим конический переход А к цилиндру корпуса, отражателя 3 сферической формы, горловины 4, в которой выполнен кольцевой паз с плоской Б и конической В боковыми поверхностями, крышки 5 в виде стакана с наружным цилиндрическим выступом 6, в котором выполнены отверстия Г под проходные элементы эксплуатационного назначения, уплотнительных элементов 7, размещенных в имеющихся кольцевых канавках крышки 5, радиальных элементов 8, имеющих плоский и конический торцы, а также коническую внутреннюю поверхность, кольца прижимного плоского 9, имеющего наружную коническую поверхность Д, которое надето на цилиндрический выступ 6 и закреплено на крышке 5 с помощью болтов 10, защитного экрана 11 с центральным отверстием и боковыми пазами Е.
Взрывозащитная камера используется следующим образом:
– к защитному экрану 11 крепят взрывное устройство и другое необходимое оборудование;
– в отверстия цилиндрического выступа 6 крышки 5 устанавливают герметично проходные элементы эксплуатационного назначения;
– производят соединение крышки 5 с защитным экраном 11, при этом стыкуют жгуты, идущие от взрывного устройства и другого оборудования с проходными элементами эксплуатационного назначения;
– устанавливают герметично крышку 5 с размещенными в ее кольцевых проточках уплотнительными элементами 7 в горловину 4;
– устанавливают радиальные элементы 8 в кольцевую проточку горловины 4;
– надевают на цилиндрический выступ крышки 5 кольцо прижимное 9 и закрепляют его на крышке с помощью болтов 10, при этом происходит перемещение радиальных элементов в кольцевой проточке горловины 4 до их жесткой фиксации в кольцевой проточке и с крышкой 5.
Выполненное крепление крышки в горловине представляет собой неподвижное герметичное соединение, надежно работающее при воздействии взрывной динамической нагрузки;
– производят подрыв взрывного устройства. Энергия взрыва и воздействие продуктов взрыва гасятся за счет упругих и незначительных пластических деформаций элементов конструкции камеры и ее защитных устройств. Процессы, происходящие после подрыва, регистрируются;
– производят стравливание и очистку продуктов взрыва.
Были проведены испытания опытных образцов камер. Попадание продуктов взрыва в окружающую среду при использовании известных методик и средств регистрации не было зафиксировано.
Формула изобретения
1. Взрывозащитная камера, содержащая цилиндрический корпус, днище, горловину с внутренним кольцевым пазом, крышку в виде стакана, радиальные кольцевые элементы, защитный экран, отличающаяся тем, что днище выполнено плоским с коническим переходом к цилиндру корпуса, на внутреннюю плоскую часть днища установлен отражатель сферической формы, одна из боковых поверхностей внутреннего кольцевого паза горловины – плоская, а другая – конической формы, крышка выполнена с наружным цилиндрическим выступом и установлена герметично в горловине с помощью уплотнительных элементов, размещенных в имеющихся кольцевых канавках крышки, на цилиндрический выступ надето и закреплено на крышке с помощью болтов кольцо прижимное плоское, имеющее наружную коническую поверхность, радиальные кольцевые элементы выполнены с плоской торцовой поверхностью, сопрягаемой с плоским торцом крышки и плоской боковой поверхностью кольцевого паза горловины, и коническим торцом, сопрягаемым с конической боковой поверхностью кольцевой проточки горловины, также внутренняя поверхность радиальных элементов выполнена конической формы, которой она сопрягается с наружной конической поверхностью кольца прижимного.
2. Взрывозащитная камера по п.1, отличающаяся тем, что защитный экран выполнен с центральным отверстием под элементы эксплуатационного назначения и пазами по краям под жгуты.
3. Взрывозащитная камера по п.1, отличающаяся тем, что в зоне цилиндрического выступа в крышке выполнены отверстия под проходные элементы эксплуатационного назначения.
РИСУНКИ
|
|