|
|
(21), (22) Заявка: 2007105181/06, 13.02.2007
(24) Дата начала отсчета срока действия патента:
13.02.2007
(43) Дата публикации заявки: 20.08.2008
(46) Опубликовано: 27.12.2008
(56) Список документов, цитированных в отчете о поиске:
RU 20397 U1, 27.10.2001. RU 53747 U1, 27.05.2005. SU 1691641 A1, 15.11.1991. US 7007917 B2, 07.03.2006. DE 3626147 A1, 05.02.1987. EP 0942214 A1, 15.09.1999.
Адрес для переписки:
410000, г.Саратов, Главпочтамт, а/я 62, ООО “ПатентВолгаСервис”, О.И. Куприяновой
|
(72) Автор(ы):
Орлов Дмитрий Васильевич (RU), Матросов Вадим Валентинович (RU), Юдаков Михаил Александрович (RU)
(73) Патентообладатель(и):
Общество с ограниченной ответственностью “Торговый дом “Центр Инновационных Технологий” (ООО “ТД “ЦИТ”) (RU)
|
(54) ЭЛЕКТРОМАГНИТНЫЙ КЛАПАН
(57) Реферат:
Изобретение относится к машиностроению, в частности к реверсивным клапанам с дистанционным импульсным управлением, и предназначено для использования как в качестве запорных органов на различных магистралях, трубопроводах и других коммуникациях, так и в качестве исполнительного механизма в системах автоматического управления подачей газа по трубопроводу. Электромагнитный клапан состоит из корпуса с седлом и закрепленного на подвижном штоке запорного элемента. Последний управляется электромагнитным приводом. Этот привод содержит электромагнит с сердечником и постоянный магнит. Постоянный магнит закреплен на подвижном штоке со стороны запорного элемента. Электромагнитный клапан снабжен вторым постоянным магнитом. Второй постоянный магнит расположен с противоположной стороны от электромагнита. Сердечник выполнен неподвижным с отверстием для прохода подвижного штока. Шток выполнен выступающим за электромагнит. Второй постоянный магнит закреплен на выступающей части подвижного штока. Изобретение позволяет обеспечить дистанционный перевод запорного элемента электромагнитного клапана как в положение «закрыто», так и в положение «открыто». 5 з.п. ф-лы, 1 ил.
Изобретение относится к машиностроению, а именно к реверсивным клапанам с дистанционным импульсным управлением, используемым в качестве запорных органов на различных магистралях, трубопроводах и других коммуникациях. Заявляемое устройство может быть использовано в качестве исполнительного механизма в системах автоматического управления подачей газа по трубопроводу.
Известен электромагнитный клапан, содержащий входную и выходную втулки и цилиндрический корпус, расположенные соосно с управляемой магистралью. На втулках размещены управляющие обмотки, соединенные последовательно и образующие две секции единой управляющей обмотки. На торцах выполненного из немагнитного материала золотника жестко укреплены два радиально намагниченных постоянных магнита. При определенной полярности управляющего тока магнитный поток одной секции управляющей обмотки направлен согласно магнитному потоку прилежащего к этой секции постоянного магнита. В то же время магнитный поток второй секции управляющей обмотки направлен против магнитного потока прилежащего к ней постоянного магнита [патент на изобретение РФ №2243441, МПК F16K 31/06].
Однако использование в данном клапане двух обмоток уменьшает его надежность и увеличивает количество проводов, прокладываемых в корпусе клапана. Расположение клапана соосно управляющей магистрали не позволяет проводить его ремонт и техническое обслуживание без снятия клапана с магистрали.
Известен также клапан запорный газовый с электромагнитным приводом импульсный, включающий корпус с седлом, запорный узел, постоянный магнит, электромагнит и толкатель с кнопкой. Запорный узел включает подвижный шток, выведенный за корпус, и закрепленные на его противоположных концах магнитный наконечник и запорный элемент. Электромагнит содержит катушку, втулку и магнитопровод, расположенные перпендикулярно оси подвижного штока. Толкатель с кнопкой расположен соосно под запорным элементом. Катушка, втулка и магнитопровод расположены с внешней стороны и закреплены на корпусе с возможностью замены каждого элемента. Втулка, предохраняющая катушку от воздействия рабочей среды, закреплена на корпусе герметично. В клапан введен электромагнитный привод управления толкателем, включающий якорь, выполняющий функцию кнопки. На штоке герметично закреплен колпачок, обеспечивающий возможность внешнего регулирования усилия прижима запорного элемента к седлу. В клапане установлен модуль, сигнализирующий его состояние, выполненный, например, в виде закрепленного на корпусе в зоне движения наконечника магниточувствительного элемента или магнитоуправляемой микросхемы, и сигнализирующего элемента, например, в виде светоизлучающего диода [патент РФ на полезную модель №15044, МПК G08B 17/10, G08B 23/00].
Однако в данном клапане отсутствует возможность дистанционного открытия запорного элемента. Открытие запорного элемента клапана производят вручную с помощью кнопки.
Наиболее близким аналогом к заявляемому решению является клапан запорный газовый с электромагнитным приводом импульсный, состоящий из корпуса с седлом, электромагнитного привода, содержащего запорный элемент, закрепленный на подвижном штоке, электромагнита с магнитопроводом и якорем, постоянного магнита, магнитного наконечника и толкателя, расположенного под запорным элементом соосно ему. Магнитный наконечник неподвижно закреплен в корпусе клапана, постоянный магнит жестко закреплен на противоположном запорному элементу конце штока. Электромагнит с якорем расположен над постоянным магнитом, верхний конец якоря имеет штырь из немагнитного материала, свободно выступающий за магнитопровод [патент РФ на полезную модель №20397, МПК G08B 23/00].
Недостатки данного клапана аналогичны недостаткам предыдущего. В данном клапане отсутствует возможность дистанционного открытия запорного элемента, что ограничивает его применение в системах с полностью автоматическим управлением, а открытие запорного элемента клапана производят вручную с помощью кнопки.
Задачей заявляемого изобретения является создание электромагнитного управляемого клапана, обеспечивающего не только возможность дистанционного перевода его запорного элемента в положение «закрыто», но и в положение «открыто».
Технический результат заключается в реализации возможности автоматического управления подачей газа по трубопроводу.
Поставленная задача решается тем, что электромагнитный клапан, состоящий из корпуса с седлом, запорного элемента, закрепленного на подвижном штоке, электромагнитного привода, содержащего электромагнит с сердечником и первый постоянный магнит, закрепленный на подвижном штоке со стороны запорного элемента, согласно решению в него введен второй постоянный магнит, расположенный с противоположной стороны от электромагнита, сердечник выполнен неподвижным с отверстием для прохода подвижного штока, а шток выполнен выступающим за электромагнит, при этом второй постоянный магнит закреплен на выступающей части подвижного штока.
Сердечник состоит из центральной втулки, имеющей внутреннюю резьбу, и фиксирующих элементов, выполненных в виде болтов со сквозными отверстиями для прохождения подвижного штока, соединенных с центральной втулкой через уплотнительную прокладку.
Кроме того, постоянный магнит закреплен в обойме, выполненной из магнитного материала, при этом на обойме постоянного магнита, размещенного на подвижном штоке со стороны запорного элемента, установлена немагнитная прокладка со стороны электромагнита.
Электромагнитный клапан дополнительно снабжен датчиком положения запорного элемента, чувствительным к магнитному полю, расположенному со стороны второго постоянного магнита. Датчик положения запорного элемента расположен на оси, проходящей вдоль подвижного штока.
Кроме того, электромагнитный клапан дополнительно снабжен направляющей гайкой из немагнитного материала, имеющей отверстие для прохода подвижного штока и расположенной между запорным элементом и обоймой первого постоянного магнита.
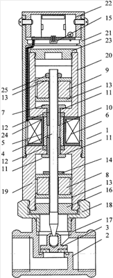
Изобретение поясняется чертежом, на котором представлен заявляемый электромагнитный клапан в продольном разрезе. Позициями на чертеже обозначены: 1 – корпус, 2 – седло, 3 – запорный элемент, 4 – подвижный шток, 5 – электромагнитный привод, 6 – электромагнит, 7 – сердечник, 8 – первый постоянный магнит, 9 – второй постоянный магнит, 10 – центральная втулка сердечника, 11 – фиксирующие элементы, 12 – уплотнительные прокладки, 13 – обоймы постоянных магнитов, 14 – немагнитная прокладка, 15 – датчик положения запорного элемента, 16 – направляющая гайка, 17 – корпус запорного элемента, 18 – переходник, 19 – нижний стакан, 20 – верхний стакан, 21 – внешняя оболочка, 22 – крышка корпуса, 23 – заглушка, 24 – каркас катушки электромагнита, 25 – запорная гайка.
Устройство состоит из корпуса 1 с седлом 2, перекрываемым запорным элементом 3. Запорный элемент 3 расположен на подвижном штоке 4, проходящем через электромагнитный привод 5. Электромагнитный привод 5 состоит из электромагнита 6, представляющего собой обмотку в каркасе, сердечника 7 и двух постоянных магнитов 8 и 9, расположенных на подвижном штоке 4 с противоположных сторон от электромагнита 6. Внутри каркаса 24 катушки электромагнита 6 расположена центральная втулка сердечника 10, закрепленная при помощи фиксирующих элементов 11. С противоположных сторон от центральной втулки сердечника 10 установлены уплотнительные прокладки 12. Первый 8 и второй 9 постоянные магниты удерживаются при помощи обойм 13. На обойме 13 первого постоянного магнита 8 со стороны электромагнита 6 установлена немагнитная прокладка 14.
Корпус 1 состоит из расположенных соосно корпуса запорного элемента 17, переходника 18, нижнего стакана 19, верхнего стакана 20, внешней оболочки 21 и крышки корпуса 22. Корпус запорного элемента 17 выполнен с возможностью подключения к трубопроводу и включает седло 2 для запорного элемента 3 и резьбовое соединение для установки переходника 18. Переходник 18 выполнен с одной стороны с наружной резьбой для соединения с корпусом запорного элемента 17 и с другой стороны – с внутренней резьбой для соединения с нижним стаканом 19. Нижний стакан 19 выполнен с наружной резьбой для соединения с переходником 18 и с внешней оболочкой 21. В нижнем стакане 19 со стороны запорного элемента 3 выполнена внутренняя резьба для соединения с направляющей гайкой 16, установленной между нижним стаканом 19 и переходником 18. Центральное отверстие направляющей гайки 16 предназначено для свободного прохождения подвижного штока 4. Нижний стакан 19 и верхний стакан 20 сориентированы донными частями друг к другу и соединены через центральную втулку сердечника 10. Отверстие центральной втулки сердечника 10 выполнено с резьбой для фиксирующих элементов 11, выполненных в виде болтов со сквозными отверстиями для прохода подвижного штока 4. Нижний 19 и верхний 20 стаканы снабжены кольцевыми пазами (канавками прямоугольного поперечного сечения) вокруг отверстий для установки в них уплотнительных прокладок 12, герметизирующих обмотку электромагнита 6. В верхнем стакане 20 со стороны датчика положения запорного элемента 15 выполнена внутренняя резьба и установлена заглушка 23. Заглушка 23 выполнена с пазом для обеспечения подвижности штока 4. Электромагнит 6, верхний стакан 20, заглушка 23 и датчик положения запорного элемента 15 помещены внутри внешней оболочки 21. Датчик положения запорного элемента 15, выполненный, например, в виде магнитоуправляемой микросхемы, датчика Холла или геркона, установлен на печатной плате, содержащей электрический разъем, и защищен от внешних воздействий крышкой корпуса 22, закрепленной, например, при помощи болтов или клея на внешней оболочке 21. Датчик положения запорного элемента 15 расположен соосно подвижному штоку 4 со стороны, противоположной запорному элементу 3, под крышкой корпуса 22. Все элементы корпуса 1 выполнены из немагнитного материала, соединения всех элементов корпуса 1, за исключением внешней оболочки 21, герметизированы. Центральная втулка 10, фиксирующие элементы 11 и обоймы 13 выполнены из магнитного материала.
Электромагнит 6 представляет собой обмотку, намотанную на немагнитном каркасе катушки электромагнита 24. Провода от электромагнита проходят между верхним стаканом 20 и внешней оболочкой 21 и соединены через печатную плату с электрическим разъемом для подключения соединительного кабеля.
Подвижный шток 4 выполнен с резьбой для обеспечения возможности фиксации и регулировки положения первого 8 и второго 9 постоянных магнитов. Обойма 13 состоит из двух шайб, выполненных с буртиками для центрирования магнитов и с резьбовым отверстием в центральной части для обеспечения возможности закрепления первого постоянного магнита 8 и перемещения и закрепления второго постоянного магнита 9 на подвижном штоке 4. На обойме 13 первого постоянного магнита 8 со стороны электромагнита 6 установлена прокладка из немагнитного материала, препятствующая «залипанию» обоймы 13 первого постоянного магнита 8 на фиксирующем элементе 11. Второй постоянный магнит 9 выполнен с возможностью регулировки его положения на штоке для обеспечения в закрытом положении запорного элемента 3 зазора между обоймой 13 второго постоянного магнита 9 и фиксирующим элементом 11. Зазор обеспечивает надежную герметизацию запорного элемента 3 и седла 2 и одновременно предотвращает «залипание». «Залипание» – состояние соприкосновения обоймы 13 второго постоянного магнита 9 и фиксирующего элемента 11, при котором электромагнит 6 не может обеспечить отсоединение обоймы 13 второго постоянного магнита 9 от фиксирующего элемента 11. Фиксацию положения второго постоянного магнита 9 обеспечивает запорная гайка 25.
Для надежной фиксации подвижного штока 4 в различных положениях запорного элемента 3 клапана в качестве постоянных магнитов 8 и 9 использованы магниты с повышенной остаточной намагниченностью. Первый 8 и второй 9 постоянные магниты сориентированы на взаимное отталкивание для обеспечения их согласованной работы с электромагнитом 6.
Запорный элемент 3 выполнен самоустанавливающимся с возможностью центрирования относительно седла 2 при помощи шарнирного соединения с подвижным штоком 4. Запорный элемент 3 снабжен уплотнительным упругим кольцом, выполненным, например, из резины.
При сборке устройства производят установку зазора между вторым постоянным магнитом 9 и фиксирующим элементом 11. Для этого перед установкой заглушки 23 клапан подсоединяют к источнику сжатого воздуха, обеспечивающего давление 0,05 кг/см2, к устройству для регистрации утечек воздуха и к источнику постоянного напряжения. На подвижный шток 4 частично навинчивают второй постоянный магнит 9, заключенный в обойму 13. На обмотку электромагнита 6 подают импульс напряжения прямой полярности, и клапан переходит в состояние «Закрыто». Подают сжатый воздух и регистрируют утечки воздуха через запорный элемент 3 клапана. В случае наличия утечек обойму 13 второго постоянного магнита 9 поворачивают на подвижном штоке 4, тем самым, перемещая их вдоль подвижного штока 4 к фиксирующему элементу 11. При этом сила взаимодействия электромагнита 6 и второго постоянного магнита 9 увеличивается, и подвижный шток 4 с большей силой прижимает запорный элемент 3 к седлу 2 и лучше перекрывает выход воздуха. Определяют наличие утечек и в случае недостаточной герметичности клапана повторно перемещают второй постоянный магнит 9 к фиксирующему элементу 11. После достижения герметичности и устранения утечек через седло 2 и запорный элемент 3 второй постоянный магнит 9 закрепляют при помощи запорной гайки 25. Экспериментально установлено, что зазор между фиксирующим элементом 11 и обоймой второго постоянного магнита 9 выбирают 1-3 мм.
Устройство работает следующим образом.
В состоянии «Открыто» запорный элемент 3 не соприкасается с седлом 2 корпуса запорного элемента 17. Удержание запорного элемента 3 в данном состоянии обеспечивает первый постоянный магнит 8, притягивающийся к фиксирующему элементу 11. При этом второй постоянный магнит 9 находится в зоне чувствительности датчика положения запорного органа 15. Для перевода клапана в состояние «Закрыто» подают импульс постоянного напряжения прямой полярности на электромагнит 6. Через обмотку электромагнита 6 проходит ток, индуцирующий в сердечнике 7 электромагнита магнитное поле. При этом за счет ориентации постоянных магнитов 8 и 9 и направленности магнитного поля второй постоянный магнит 9 притягивается к фиксирующему элементу 11, первый – отталкивается, подвижный шток 4 перемещает запорный элемент 3 в сторону седла 2 и прижимает его к седлу 2, тем самым, перекрывая проход газа. Клапан переходит в состояние «Закрыто». Усилие прижатия обеспечивает второй постоянный магнит 9, притягивающийся к фиксирующему элементу 11. Усилие может быть отрегулировано установкой зазора между вторым постоянным магнитом 9 и фиксирующим элементом 11. В данном состоянии подвижный шток находится вне зоны чувствительности датчика положения запорного органа 15.
Для перевода запорного элемента 3 из положения «Закрыто» в положение «Открыто» на обмотку электромагнита 6 подают импульс постоянного напряжения обратной полярности. При этом первый постоянный магнит 8 притягивается к фиксирующему элементу 11 через немагнитную прокладку 14, и подвижный шток 4 перемещает запорный элемент 3 и открывает клапан. Второй постоянный магнит 9 заходит в зону чувствительности датчика положения запорного элемента 15, и датчик регистрирует изменение состояния клапана.
Пример. Изготовлен электромагнитный клапан предлагаемой конструкции с катушкой электромагнита сопротивлением 8 Ом, рассчитанной на напряжение 36 В. Электромагнитный клапан работает при давлении газа не более 0,05 кгс/см2. Время срабатывания клапана – не более 1 секунды. К трубопроводу клапан присоединяется при помощи муфты. Клапан выполнен с условным проходом 15 мм, габаритные размеры: 60×42×155 мм, масса – 0,5 кг. В качестве датчика положения запорного органа применен датчик Холла. Зазор между фиксирующим элементом и обоймой второго постоянного магнита – 2 мм.
Формула изобретения
1. Электромагнитный клапан, состоящий из корпуса с седлом, запорного элемента, закрепленного на подвижном штоке, электромагнитного привода, содержащего электромагнит с сердечником, постоянный магнит, закрепленный на подвижном штоке со стороны запорного элемента, отличающийся тем, что в него введен второй постоянный магнит, расположенный с противоположной стороны от электромагнита, сердечник выполнен неподвижным с отверстием для прохода подвижного штока, а шток выполнен выступающим за электромагнит, при этом второй постоянный магнит закреплен на выступающей части подвижного штока.
2. Электромагнитный клапан по п.1, отличающийся тем, что сердечник состоит из центральной втулки, имеющей внутреннюю резьбу, и фиксирующих элементов, выполненных в виде болтов со сквозными отверстиями для прохождения подвижного штока, соединенных с центральной втулкой через уплотнительную прокладку.
3. Электромагнитный клапан по п.1, отличающийся тем, что постоянный магнит закреплен в обойме, выполненной из магнитного материала, при этом на обойме постоянного магнита, размещенного на подвижном штоке со стороны запорного элемента, установлена немагнитная прокладка со стороны электромагнита.
4. Электромагнитный клапан по п.1, отличающийся тем, что он дополнительно снабжен датчиком положения запорного элемента, чувствительным к магнитному полю, расположенному со стороны второго постоянного магнита.
5. Электромагнитный клапан по п.4, отличающийся тем, что датчик положения запорного элемента расположен на оси, проходящей через подвижный шток.
6. Электромагнитный клапан по п.4, отличающийся тем, что он дополнительно снабжен направляющей гайкой из немагнитного материала, имеющей отверстие для прохода подвижного штока и расположенной между запорным элементом и обоймой первого постоянного магнита.
РИСУНКИ
MM4A – Досрочное прекращение действия патента СССР или патента Российской Федерации на изобретение из-за неуплаты в установленный срок пошлины за поддержание патента в силе
Дата прекращения действия патента: 14.02.2009
Извещение опубликовано: 10.12.2009 БИ: 34/2009
NF4A – Восстановление действия патента СССР или патента Российской Федерации на изобретение
Дата, с которой действие патента восстановлено: 10.12.2009
Извещение опубликовано: 10.12.2009 БИ: 34/2009
PC4A – Регистрация договора об уступке патента СССР или патента Российской Федерации на изобретение
Прежний патентообладатель:
Общество с ограниченной ответственностью “Торговый дом “Центр Инновационных Технологий” (ООО “ТД “ЦИТ”)
(73) Патентообладатель:
Общество с ограниченной ответственностью “Центр Инновационных Технологий – Плюс”
Договор № РД0062467 зарегистрирован 26.03.2010
Извещение опубликовано: 10.05.2010 БИ: 13/2010
|
|