|
|
(21), (22) Заявка: 2007117650/06, 11.05.2007
(24) Дата начала отсчета срока действия патента:
11.05.2007
(46) Опубликовано: 27.12.2008
(56) Список документов, цитированных в отчете о поиске:
ДАНОВ Б.А. и др. Электрооборудование военной автомобильной техники: учебник, Рязань, 2005, с. 598. RU 2164620 C1, 27.03.2001. RU 73366 A1, 01.01.1948. JP 2005-185089 A, 07.07.2007.
Адрес для переписки:
390014, г.Рязань, Рязанский военный автомобильный институт, НИО, А.Д. Герасимову
|
(72) Автор(ы):
Волков Степан Степанович (RU), Богда Роман Олегович (RU), Гумелев Василий Юрьевич (RU), Коротченко Владимир Александрович (RU)
(73) Патентообладатель(и):
Рязанский военный автомобильный институт им. генерала армии В.П. Дубынина (RU)
|
(54) СПОСОБ ПУСКА ДВИГАТЕЛЯ ВНУТРЕННЕГО СГОРАНИЯ ПОСЛЕ ХРАНЕНИЯ
(57) Реферат:
Изобретение относится к области эксплуатации автомобильной техники и может быть использовано для повышения готовности автомобильной техники к работе после хранения. Способ пуска двс с искровой системой зажигания после хранения заключается в том, что предварительно подготавливают поверхности свечей зажигания, подают ток на электродвигатель стартера для проворачивания коленчатого вала и подают с помощью системы зажигания высоковольтное импульсное напряжение на свечи зажигания, при этом предварительную подготовку поверхностей свечей зажигания осуществляют подачей высоковольтного импульсного напряжения в течение времени от 20 до 60 секунд без вращения коленчатого вала. Такое выполнение позволяет повысить эффективность подготовки к пуску, уменьшить время подготовки к пуску и трудоемкость. 1 ил.
Изобретение относится к области эксплуатации автомобильной техники и может быть использовано для повышения готовности автомобильной техники к работе после хранения.
Известен способ пуска двигателя внутреннего сгорания с искровой системой зажигания после хранения, заключающийся в предварительной очистке свечей зажигания путем их демонтажа с двигателя и промывки, в подаче тока на электродвигатель стартера для проворачивания коленчатого вала и подаче с помощью системы зажигания высоковольтного импульсного напряжения на свечи зажигания [Электрооборудование военной автомобильной техники: учебник / Б.А.Данов, В.Д.Рогачев, Н.П.Шевченко. – Рязань: 2005. – 598 с.].
Недостатками способа являются большие затраты энергии аккумуляторной батареи из-за длительного процесса пуска ввиду недостаточной мощности искры на начальном этапе проворачивания коленчатого вала, большая трудоемкость по очистке свечей и большие затраты времени на подготовку к пуску.
Наиболее близким к предлагаемому является способ пуска двигателя внутреннего сгорания с искровой системой зажигания после хранения, заключающийся в предварительной очистке свечей зажигания, в подаче тока на электродвигатель стартера для проворачивания коленчатого вала и подаче с помощью системы зажигания высоковольтного импульсного напряжения на свечи зажигания. При этом очистка свечей зажигания производится путем снятия их с двигателя и механической обработки с помощью специального пескоструйного оборудования [Мастерские технического обслуживания МТО-АТ-М1, МТО-АТГ-М1, МТО-4OС-М1: руководство. МО СССР Главное автомобильное управление. – М.: Воениздат, 1986. – 296 с.].
На потенциал зажигания искрового разряда оказывает большое влияние степень естественной ионизированности атмосферы и состояние поверхности электродов разрядного устройства. Атмосферные ионы активно адсорбируются на поверхности электродов свечи, чем увеличивают коэффициенты поверхностной ионизации для всех газов. Эти процессы численно исследованы мало, но эксперименты качественно однозначно подтверждают снижение напряжения зажигания газового разряда на величину до 10% и более для приборов, в объеме которых была ионизированная атмосфера. Сниженный потенциал зажигания сохраняется десятки часов [Ретер Г. Электронные лавины и пробой в газах / Г.Ретер; пер. с англ. под ред. B.C.Комелькова. – М.: Мир, 1968. – 390 с.]. При длительном отсутствии ионизующих процессов в цилиндрах двигателя естественная ионизированность атмосферы снижается практически до нуля из-за экранированности рабочего объема и отсутствия естественных ионизирующих излучений. Поверхностные адсорбированные ионы нейтрализуются процессами адсорбции углеводородов и воды, а также медленными поверхностными химическими процессами. Кроме того, адсорбция остаточных паров воды на поверхностный нагар на изоляторе повышает поверхностные утечки [Лифшиц В.Г. Процессы на поверхности твердых тел / В.Г.Лифшиц, С.М.Репинский. – Владивосток: Дальнаука, 2003. – 704 с.]. Таким образом, при длительном простое двигателя и хранении напряжения зажигания искрового разряда в свечах цилиндров двигателя существенно увеличивается вследствие адсорбции молекул воды образование окислов и других соединений на поверхности электродов свечи, накопление влаги в рабочих цилиндрах и в системе подачи топлива.
Поэтому при подаче рабочего напряжения на электроды свечи после длительного хранения из-за повышенности потенциала зажигания разряда и токов утечки искра либо вовсе не образуется, либо образуется с большими потерями энергии и оказывается маломощной. Одновременная подача топлива (тоже влагосодержащего после хранения) только усугубляет процесс восстановления работоспособной поверхности электродов и изолятора свечей.
Известный способ осуществляется следующим образом. После демонтажа свечей, их механической очистки и установки в двигатель подают от аккумуляторной батареи напряжение питания на электродвигатель стартера и систему зажигания. Электродвигатель приводит во вращение коленчатый вал двигателя внутреннего сгорания, который через механический или электромеханический привод и электронную систему осуществляет прерывание тока первичной обмотки катушки зажигания. Прерывание тока приводит к формированию напряжения на вторичной обмотке трансформатора величиной, больше потенциала ионизации рабочей смеси в цилиндре двигателя.
Недостатками известного способа являются большая трудоемкость, большие затраты времени и невысокая эффективность по обеспечению готовности к пуску двигателя.
Технический результат направлен на повышение эффективности подготовки к пуску, уменьшение времени подготовки и трудозатрат.
Технический результат достигается тем, что в способе пуска двигателя внутреннего сгорания с искровой системой зажигания после хранения, заключающемся в предварительной очистке свечей зажигания, в подаче тока на электродвигатель стартера для проворачивания коленчатого вала и подаче с помощью системы зажигания высоковольтного импульсного напряжения на свечи зажигания, при этом предварительно без вращения коленчатого вала подают на каждую из свечей зажигания высоковольтное импульсное напряжение в течение времени до десятков секунд.
Отличительным признаком предлагаемого изобретения является то, что предварительно без вращения коленчатого вала подают на каждую из свечей зажигания высоковольтное импульсное напряжение в течение времени до десятков секунд.
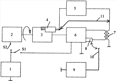
На чертеже представлена функциональная схема реализации предлагаемого способа.
Функциональная схема реализации предлагаемого способа пуска двигателя содержит аккумуляторную батарею 1, электродвигатель стартера 2, двигатель внутреннего сгорания 3, искровые свечи зажигания 4, расположенные в цилиндрах двигателя, распределитель высокого напряжения 5, прерыватель тока 6 в электромеханическом или электронном исполнении, катушка (трансформатор) зажигания 7, соединительный разъем 8 выходной клеммы первичной обмотки катушки зажигания, а также дополнительный прерыватель тока 9, используемый для предварительной очистки свечей перед пуском двигателя после хранения, соединительный низковольтный провод 10, к которому соединяется выходная клемма катушки зажигания, высоковольтный провод 11, соединяющий выход вторичной обмотки катушки зажигания со свечами. При этом свечи 7 расположены в цилиндрах двигателя внутреннего сгорания 3. Прерыватель тока 9, низковольтный провод 10 и высоковольтный провод 11 не входят в состав электрооборудования автомобиля и используются как дополнительные средства.
Прерывателем тока может служить реле с нормально замкнутыми контактами, которые соединены последовательно с обмоткой реле. В качестве дополнительного прерывателя тока может быть использован, например, аварийный вибратор, имеющийся на автомобилях типа КамАЗ.
Способ осуществляется следующим образом. Подготовка поверхности электродов и изолятора свечей 4 и атмосферы рабочего объема цилиндра осуществляется подачей на электроды свечи 4 высоковольтного импульсного напряжения без вращения коленчатого вала двигателя 3 и соответственно без подачи топлива. Это осуществляют отсоединением разъема 8 первичной обмотки катушки зажигания 7 от прерывателя 6 и соединением его с проводником 10 дополнительного прерывателя тока 9. Затем выходную клемму вторичной обмотки катушки зажигания 7 соединяют с одной из свечей 4, предварительно отсоединив от свечи проводник распределителя 5. Затем включают ключ S2, подают напряжение от аккумуляторной батареи 1 на систему зажигания, которая при отсутствии вращения коленчатого вала двигателя и соответственно привода системы зажигания с помощью дополнительного прерывателя 9 генерирует импульсы высоковольтного напряжения на выходе вторичной обмотки катушки 7, подаваемые с помощью проводника 11 на свечу 4. Переключением проводника 11 производят обработку всех свечей зажигания без демонтажа их с двигателя.
Генерируемые с помощью дополнительного прерывателя высоковольтные импульсы создают искровой разряд на свечах. Разряд восстанавливает рабочее состояние поверхности электродов, удаляя ионной бомбардировкой адсорбированные слои, которые повышают потенциал зажигания разряда. Для этого нужно выдержать на каждой свече подачу высоковольтных импульсов в течение нескольких десятков секунд (20-60 сек). При частых повторах для обработки свечей для одинаковых условий хранения автомобиля время обработки подбирается опытным путем. Адсорбированные слои на изоляторе свечи, образующиеся за время хранения, ухудшают изолирующие свойства диэлектрика, повышая поверхностную проводимость. При больших токах поверхностной утечки искра на начальном этапе имеет малую мощность из-за токов утечки. Протекание токов утечки и воздействие разряда приводит к нагреву и разложению адсорбированных поверхностных пленок, а соответственно, к снижению потерь на утечку токов. Появившаяся искра, очищая поверхность электродов, способствует дальнейшей очистке изолятора. Это позволяет восстанавливать работоспособное состояние не только электродов, но и ионизированности всей атмосферы в рабочем цилиндре.
Опытом установлено, что при обработке каждой свечи в течение нескольких десятков секунд процесс пуска упрощается. Количество отбираемого заряда от аккумуляторной батареи для осуществления пуска двигателя уменьшается, то есть необходимое для пуска время работы электродвигателя стартера 2 становится сравнимым с временем пуска в эксплуатационном режиме.
Сопоставительный анализ с прототипом показал, что предлагаемый способ отличается тем, что предварительно без вращения коленчатого вала подают на каждую из свечей зажигания высоковольтное импульсное напряжение в течение времени до десятков секунд. Восстановление работоспособности свечей и атмосферы цилиндра без демонтажа свечей сокращает время подготовки к пуску двигателя, а искровая обработка без подачи топлива позволяет более эффективно приводить систему в работоспособное состояние.
Формула изобретения
Способ пуска двигателя внутреннего сгорания с искровой системой зажигания после хранения, заключающийся в предварительной подготовке поверхностей свечей зажигания, в подаче тока на электродвигатель стартера для проворачивания коленчатого вала и подаче с помощью системы зажигания высоковольтного импульсного напряжения на свечи зажигания, отличающийся тем, что предварительную подготовку поверхностей свечей зажигания осуществляют подачей высоковольтного импульсного напряжения в течение времени от 20 до 60 с без вращения коленчатого вала.
РИСУНКИ
|
|