|
|
(21), (22) Заявка: 2007122367/06, 04.06.2007
(24) Дата начала отсчета срока действия патента:
04.06.2007
(46) Опубликовано: 27.12.2008
(56) Список документов, цитированных в отчете о поиске:
US 1873743 А, 23.08.1932. GB 229627 А, 14.01.1926. US 2991045 А, 04.07.1961. US 3519366 А, 07.07.1970. СН 639171 А, 31.10.1983. SU 364750 A, 28.12.1970.
Адрес для переписки:
195009, Санкт-Петербург, ул. Ватутина, 3, Лит.А, ОАО “Силовые машины”, Директору по управлению имуществом К.А. Лыкову
|
(72) Автор(ы):
Сундуков Юрий Михайлович (RU), Липин Алексей Владимирович (RU), Лебедев Александр Серафимович (RU)
(73) Патентообладатель(и):
Открытое акционерное общество “Силовые машины-ЗТЛ, ЛМЗ, Электросила, Энергомашэкспорт” (ОАО “Силовые машины”) (RU)
|
(54) СТАТОР ГАЗОВОЙ ТУРБИНЫ
(57) Реферат:
Статор газовой турбины содержит корпус с горизонтальным разъемом, направляющие лопатки с уплотнительными пластинами, входящими в пазы на радиальных плоскостях соседних направляющих лопаток, и штифты, фиксирующие направляющие лопатки в корпусе. Направляющие лопатки объединены в блоки. Радиальные плоскости блоков направляющих лопаток, примыкающих к зоне горизонтального разъема, параллельны плоскости горизонтального разъема. Четыре штифта, расположенные около плоскости горизонтального разъема, которые закрепляют блоки направляющих лопаток, примыкающих к зоне горизонтального разъема, расположены на минимально допустимом расстоянии от этой плоскости. Штифты остальных блоков направляющих лопаток распределены равномерно между штифтами блоков направляющих лопаток, примыкающих к зоне горизонтального разъема, в верхней и нижней половинах корпуса статора. Изобретение позволяет повысить надежность турбины, а также снизить расход топлива при работе турбины за счет снижения утечек газа. 6 ил.
Предлагаемое изобретение относится к области энергомашиностроения, а именно турбостроения, конкретно к статорам газовых турбин.
Известен статор газовой турбины, состоящий из корпуса и установленных в нем направляющих лопаток. Направляющие лопатки зафиксированы в корпусе в тангенциальном направлении элементами фиксации в виде болтовых соединений (Патент РФ №2272151, F01D 9/02).
Известен статор газовой турбины, в котором радиальные зазоры между соседними направляющими лопатками уплотнены пластинами, входящими одновременно в пазы на радиальных плоскостях соседних лопаток (Патент РФ №2211926, F01D 5/18).
Недостатком этих статоров является то, что имеются утечки газа из проточной части турбины через зазоры между уплотнительными пластинами и поверхностями пазов из-за их неплотного прилегания.
Известен статор, в котором направляющие лопатки выполнены в виде блоков, которые закреплены в корпусе элементами фиксации (С.А.Вьюнов и др. «Конструкция и проектирование авиационных газотурбинных двигателей», Москва, «Машиностроение», 1989, стр.181, рис.4.39). При блочной конструкции лопаток количество зазоров между ними уменьшается в 3÷4 раза по сравнению с одиночными лопатками (в зависимости от количества перьев в блоке). Это приводит к уменьшению утечек газа.
Недостатком описанных выше статоров является то, что они не имеют горизонтального разъема, что неприемлемо для энергетических газовых турбин, которые должны иметь возможность обслуживания и ремонта в условиях станции.
Наиболее близким устройством к предлагаемому по совокупности существенных признаков и выбранном в качестве прототипа является статор, содержащий установленные в корпусе направляющие лопатки и имеющий горизонтальный разъем (Г.Г.Ольховский «Энергетические газотурбинные установки», Москва, «Энергоатомиздат», 1985, стр.28, рис.2.1 а). Статор состоит из верхней и нижней половины, в каждую из которых установлены зафиксированные в тангенциальном направлении лопатки, причем на радиальных плоскостях лопаток выполнены пазы, в которых установлены уплотнительные пластины, входящие в пазы двух соседних лопаток.
Недостатком такого статора является то, что при сборке статора, при установке многотонной верхней половины на нижнюю уплотнительные пластины в плоскости горизонтального разъема достаточно трудно установить в пазы, в связи с чем в статоре имеются повышенные утечки газа в плоскости горизонтального разъема. Прорвавшийся через стыки между направляющими лопатками газ нагревает корпус и приводит к снижению его надежности. Кроме этого, направляющие лопатки выполнены одиночными, что приводит к дополнительным утечкам газа из проточной части турбины.
Задачами, на решение которых направлено предлагаемое изобретение, являются:
– снижение утечек газа, а следовательно, снижение расхода топлива.
– повышение надежности турбины.
Для решения поставленных задач статор содержит корпус с горизонтальным разъемом, направляющие лопатки блочной конструкции с уплотнительными элементами, выполненными в виде пластин. Пластины входят в пазы на радиальных плоскостях соседних направляющих лопаток. Блоки направляющих лопаток в корпусе статора зафиксированы элементами фиксации. Радиальные плоскости блоков направляющих лопаток, примыкающих к зоне горизонтального разъема (два блока лопаток в верхней и два блока лопаток в нижней половине корпуса), параллельны плоскости горизонтального разъема и находятся от нее на расстоянии, определяемом как величина температурного расширения участка лопатки от элемента фиксации до плоскости горизонтального разъема. Минимальное значение этого расстояния (зазора) обеспечивается за счет параллельного положения радиальных плоскостей блоков направляющих лопаток и плоскости горизонтального разъема. Это позволяет отказаться от уплотнительных пластин в плоскости горизонтального разъема. Четыре элемента фиксации, расположенные около плоскости горизонтального разъема (два в верхней половине, два в нижней половине корпуса), фиксируют в тангенциальном направлении на корпусе статора четыре блока направляющих лопаток, примыкающих к зоне горизонтального разъема. При этом элементы фиксации находятся на минимально допустимом расстоянии от этой плоскости с точки зрения обеспечения прочности фланца горизонтального разъема. Элементы фиксации остальных блоков направляющих лопаток расположены равномерно по окружности между элементами фиксации блоков направляющих лопаток, примыкающих к зоне горизонтального разъема. При этом зазоры между блоками направляющих лопаток, которые в 5÷7 раз больше, чем в плоскости горизонтального разъема, уплотняются пластинами.
Таким образом, предлагаемое устройство статора позволяет решить поставленные задачи путем достижения следующих технических результатов, а именно: снижение утечек газа и, следовательно, снижение расхода топлива за счет сведения к минимуму зазора между верхней и нижней половинами статора, который достигается тем, что радиальные плоскости направляющих лопаток, примыкающих к зоне горизонтального разъема, находятся на минимальном расстоянии от плоскости горизонтального разъема, которое обеспечивается параллельным положением этих плоскостей, а также тем, что элементы фиксации, расположенные около плоскости горизонтального разъема, и фиксирующие блоки направляющих лопаток, примыкающих к зоне горизонтального разъема, находятся на минимально допустимом расстоянии от этой плоскости, и повышение надежности турбины за счет отсутствия горячих газов в зоне горизонтального разъема, что улучшает тепловое состояние корпуса в этой зоне.
Новым в заявляемом изобретении по отношению к прототипу является использование блочной конструкции направляющих лопаток с уплотнительными элементами в виде пластин. Причем для обеспечения стыка верхней и нижней половин корпуса статора блоки направляющих лопаток, примыкающих к зоне горизонтального разъема, выполнены с радиальными плоскостями, параллельными плоскости горизонтального разъема и расположенными на расстоянии, определяемом как величина температурного расширения участка лопатки от элемента фиксации до плоскости горизонтального разъема. Блоки направляющих лопаток зафиксированы в корпусе элементами фиксации (один блок зафиксирован одним элементом фиксации). При этом элементы фиксации находятся на минимально допустимом расстоянии от плоскости горизонтального разъема с точки зрения обеспечения прочности фланца горизонтального разъема. Элементы фиксации остальных блоков направляющих лопаток расположены равномерно в верхней и нижней половинах корпуса статора между элементами фиксации блоков направляющих лопаток, примыкающих к зоне горизонтального разъема.
Это позволяет сделать вывод о соответствии заявляемого изобретения критерию патентоспособности “новизна”.
Использование блочной конструкции лопаток с уплотнительными элементами в виде пластин известно из уровня техники (например, из учебника С.А.Вьюнова и др. «Конструкция и проектирование авиационных газотурбинных двигателей», Москва, «Машиностроение», 1989, стр.181, рис.4.39) и применяется в авиастроении для небольших газотурбинных двигателей.
Анализ других отличительных признаков показал, что параллельность радиальных плоскостей блоков направляющих лопаток, примыкающих к зоне горизонтального разъема, и плоскости горизонтального разъема, размещение четырех элементов фиксации, расположенных около плоскости горизонтального разъема на минимально допустимом расстоянии от этой плоскости, и фиксирующих блоки направляющих лопаток, примыкающих к зоне горизонтального разъема, равномерное расположение элементов фиксации остальных блоков направляющих лопаток между элементами фиксации блоков направляющих лопаток, примыкающих к зоне горизонтального разъема в верхней и нижней половинах корпуса статора, не выявлено из существующего уровня техники, что позволяет сделать вывод о соответствии заявляемого изобретения условию патентоспособности «изобретательский уровень».
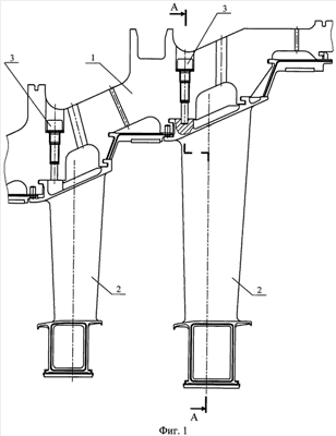
Заявляемое изобретение поясняется чертежами, где на фиг.1 представлен общий вид статора газовой турбины, на фиг.2 представлено сечение А-А, вид Б, на фиг.3 представлен вид В, на фиг.4 представлен вид Г, на фиг.5 представлен блок направляющих лопаток, поз.2, на фиг.6 представлен блок направляющих лопаток, примыкающий к зоне горизонтального разъема, с радиальной плоскостью, параллельной плоскости горизонтального разъема, поз.5.
Статор устроен следующим образом.
В корпусе 1 установлены блоки направляющих лопаток 2. Блоки зафиксированы в корпусе элементами фиксации, например штифтами 3. Между блоками направляющих лопаток 2 установлены уплотнительные пластины 4. В зоне горизонтального разъема установлены блоки направляющих лопаток 5 и 6.
При сборке статора верхняя половина 7 опускается на нижнюю половину 8 с помощью подъемного устройства, при этом обе половины легко стыкуются в плоскости горизонтального разъема. При этом за счет минимального зазора без применения уплотнительных пластин утечки газа в плоскости горизонтального разъема сведены к минимуму.
Вышеизложенные сведения позволяют сделать вывод о том, что предложенное устройство технически реализуется.
Следовательно, предлагаемое решение соответствует критерию патентоспособности изобретения “промышленная применимость”.
Формула изобретения
Статор газовой турбины, содержащий корпус с горизонтальным разъемом, направляющие лопатки с уплотнительными элементами, выполненными в виде пластин, входящих в пазы на радиальных плоскостях соседних направляющих лопаток, и элементы фиксации направляющих лопаток в корпусе, отличающийся тем, что направляющие лопатки объединены в блоки, радиальные плоскости блоков направляющих лопаток, примыкающих к зоне горизонтального разъема, параллельны плоскости горизонтального разъема, четыре элемента фиксации, расположенные около плоскости горизонтального разъема, которые закрепляют блоки направляющих лопаток, примыкающих к зоне горизонтального разъема, расположены на минимально допустимом расстоянии от этой плоскости, а элементы фиксации остальных блоков направляющих лопаток распределены равномерно между элементами фиксации блоков направляющих лопаток, примыкающих к зоне горизонтального разъема в верхней и нижней половинах корпуса статора.
РИСУНКИ
|
|