|
|
(21), (22) Заявка: 2007115208/03, 24.04.2007
(24) Дата начала отсчета срока действия патента:
24.04.2007
(46) Опубликовано: 27.12.2008
(56) Список документов, цитированных в отчете о поиске:
RU 2241100 C1, 27.11.2004. US 5012622 A, 07.05.1991. RU 2120002 С1, 10.10.1998. CN 1884752 A, 27.12.2006. JP 2004108063 A, 08.04.2004.
Адрес для переписки:
127521, Москва, 17-й пр-д Марьиной рощи, 9, ОАО “Московский ИМЭТ”, отделение интеллектуальной собственности
|
(72) Автор(ы):
Бикбау Марсель Янович (RU), Бикбау Ян Марсельевич (RU)
(73) Патентообладатель(и):
Бикбау Марсель Янович (RU), Бикбау Ян Марсельевич (RU)
|
(54) ТРУБЧАТАЯ СТРОИТЕЛЬНАЯ КОНСТРУКЦИЯ
(57) Реферат:
Изобретение относится к строительству, а именно к каркасам из стальных труб, заполненных бетоном. Цель предлагаемого изобретения – ускорение монтажных работ, обеспечение безопасных условий монтажа многопролетных дисков перекрытий. Трубчатая строительная конструкция включает соосно расположенные нижнюю и верхнюю стальные круглые трубы, соединенные между собой и с горизонтальными несущими балками-ригелями узловым соединительным элементом в виде трех сопряженных основаниями стальных пустотелых цилиндров. Верхнее и нижнее основания среднего цилиндра выполнены в виде стальных опорных пластин квадратного сечения, а концы горизонтальных балок-ригелей, размещенных внутри стальной трубы, снабжены анкерами для натяжения стальных арматурных тросов во внутренних полостях балок, при этом балки имеют квадратное или прямоугольное сечение, а нижние пластины соединены стальными косынками с наружной поверхностью нижней стальной трубы. 1 з.п. ф-лы, 2 ил.
Изобретение относится к строительству, а именно к каркасам из стальных труб, заполненных бетоном.
Известна трубчатая строительная конструкция, включающая стальные трубы, соединенные между собой соединительными элементами и заполненные бетоном (см., например, патент РФ №2120002, кл. Е04В 1/24, 1993 г.). Причем соединительные элементы в известном решении имеют форму прямоугольной призмы, горизонтальные и вертикальные стороны которой образуют стыковочные элементы, используемые для соединения отдельных участков колонн, а также колонн и балок друг с другом с помощью болтов крепления. Для того чтобы оси болтов крепления строго совпадали, все стыковочные элементы выполнены абсолютно совместимыми друг с другом. Такое решение известной трубчатой строительной конструкции обеспечивает быстроту монтажа строящегося здания с использованием общедоступных стальных профилей и предварительно изготовленных элементов.
Однако трудоемкость монтажа собираемого здания, заметное утяжеление конструкции за счет использования большого объема болтовых соединений существенно ограничивают область применения известной трубчатой конструкции.
Также известна трубчатая строительная конструкция, включающая соосно расположенные нижнюю и верхнюю стальные трубы, сопряженные между собой соединительным элементом (см., например, патент США №5012622 А2, кл. Е04С 3/34, 1991 г.). В этой строительной конструкции соединительный элемент выполнен в виде короткой стальной цилиндрической трубы, на наружной поверхности которой установлены на сварке и перпендикулярно боковой поверхности элемента четыре опорные полки, образующие между собой прямой угол. Свободный конец каждой из опорных полок приварен к балке. При такой конструкции соединительного элемента усилие сдвига от нагруженных балок переносится на бетонный сердечник колонны, и, следовательно, когда бетонный сердечник подвергается осевому сжатию, стальная труба-обойма в трубобетонной колонне подвергается продольной деформации с намного меньшей степенью. Это, в свою очередь, позволяет либо снизить площадь поперечного сечения трубобетонной колонны, либо увеличить ее осевую нагрузку.
Как отмечалось выше, крепление опорных полок к поверхности соединительного элемента, а также несущих балок к опорным полкам производится на сварке. Однако, чтобы обеспечить сварное соединение с удовлетворительными прочностными характеристиками, требуется тщательная и отнимающая много времени сварочная операция, что связано со значительными материальными и трудовыми затратами.
Наиболее близкой по технической сущности к предлагаемой является трубчатая строительная конструкция, включающая соосно расположенные нижнюю и верхнюю стальные круглые трубы, соединенные между собой и с горизонтальными несущими балками-ригелями узловым соединительным элементом в виде трех сопряженных основаниями пустотелых стальных цилиндров: верхнего, среднего и нижнего (см., например, патент РФ №2241100, кл. Е04С 3/34, 2003 г.). Причем на боковой поверхности среднего цилиндра соединительного элемента имеются отверстия, в которые введены концы горизонтальных несущих балок в виде квадратных труб или швеллеров, соединенные стопорным металлическим кольцом. Такая конструкция узлового соединительного элемента позволяет снизить трудоемкость работ при возведении каркаса, так как сборка колонны из отдельных участков стальных труб осуществляется без использования сварки или болтов.
Кроме того, известная конструкция соединительного элемента позволяет исключить необходимость соблюдения большой точности обрезки торцов стальных труб для обеспечения предельно четкой их стыковки и одновременно повысить прочность и несущую способность каркаса. Благодаря этому обеспечивается возможность применить известную трубчатую строительную конструкцию при монтаже большепролетных дисков перекрытий, в том числе наиболее эффективных предварительно напряженных многопролетных покрытий, изготавливаемых, как известно, с использованием натяжных анкерных узлов. Однако при этом возникают трудности с размещением плит перекрытий и анкерных узлов в процессе монтажа диска перекрытий.
Цель предлагаемого изобретения – ускорение монтажных работ, обеспечение безопасных условий монтажа многопролетных дисков перекрытий.
Поставленная цель достигается тем, что в трубчатой строительной конструкции, включающей соосно расположенные нижнюю и верхнюю стальные круглые трубы, соединенные между собой и с горизонтальными несущими балками-ригелями узловым соединительным элементом в виде трех сопряженных основаниями пустотелых стальных цилиндров: верхнего, среднего и нижнего, верхнее и нижнее основания среднего цилиндра выполнены в виде стальных опорных пластин квадратного сечения со стороной квадрата в пределах от 1,5 до 2,0 наружных диаметров нижней трубы; толщина пластин выбрана в пределах от 1,5 до 3 толщин стенки нижней трубы, а концы горизонтальных балок-ригелей, размещенных внутри стальной трубы, снабжены анкерами для натяжения стальных арматурных тросов во внутренних полостях балок, расположенными на середине высоты средних цилиндров вдоль оси симметрии внутренней полости балок, при этом несущие балки имеют квадратное или прямоугольное сечение. Кроме того, нижние пластины соединены стальными косынками с наружной поверхностью нижней стальной трубы, расположенными в вертикальных плоскостях, проходящих через диагонали квадратных пластин, а толщина косынок выбрана равной толщине нижних пластин.
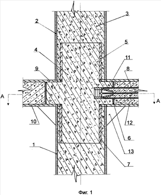
Предлагаемая трубчатая строительная конструкция схематически изображена на фиг.1, на фиг.2 – разрез А-А на фиг.1.
Трубчатая строительная конструкция содержит соосно сопряженные стальные трубы 1 (нижняя) и 2 (верхняя) с бетонным сердечником 3. Трубы соединены друг с другом посредством узлового соединительного элемента 4, выполненного в виде соединенных основаниями трех пустотелых стальных цилиндров: верхнего 5, среднего 6 и нижнего 7 с введением в средний цилиндр концов балок-ригелей 8. При этом верхнее и нижнее основания среднего цилиндра выполнены в виде стальных опорных пластин 9 и 10, имеющих квадратное сечение со стороной квадрата, выбранной в пределах от 1,5 до 2,0 наружных диаметров нижней трубы 1, и толщиной пластин в пределах от 1,5 до 3-х толщин стенки нижней трубы. Горизонтальные балки-ригели 8 снабжены анкерами 11 для натяжения стальных арматурных тросов 12 во внутренних полостях балок, расположенными на середине высоты средних цилиндров вдоль оси симметрии внутренней полости несущих балок, при этом балки могут иметь квадратное или прямоугольное сечение. На боковой поверхности среднего цилиндра 6 имеются отверстия, оси которых расположены на середине высоты боковой поверхности цилиндра и в которые введены концы горизонтальных несущих балок-ригелей 8, изготовленных, например, в виде квадратных труб или швеллеров. Сечение отверстий имеет конфигурацию и размеры, обеспечивающие плотную установку горизонтальных балок 8 в указанных отверстиях. Кроме того, нижняя поверхность пластин 10 соединена стальными вертикально ориентированными косынками 13 с наружной поверхностью стальных нижних труб 1, при этом косынки расположены в плоскостях, проходящих через диагонали квадратных стальных пластин.
Предлагаемое техническое решение позволяет ускорить монтаж каркасов зданий с применением изделий из бетонов, преднапряженных в условиях строительных площадок. Снабжение заявленной трубчатой конструкции дополнительными квадратными пластинами позволяет осуществить быстрое сопряжение предлагаемым узлом колонн из трубобетона с перекрытиями из сборных железобетонных плит, а также осуществить преднапряжение стальных канатов на ригели и пакеты железобетонных плит.
Применение стальных пластин со стороной квадрата менее 1,5 наружных диаметров нижней трубы 1 приводит к недостаточному опиранию железобетонных плит перекрытий, стянутых в пакеты стальными канатами, а применение квадратов со сторонами более 2,0 наружных диаметров нижних труб приводит к неоправданному расходу металла.
Толщина стальных пластин менее 1,5 толщин стенки нижнего цилиндра не обеспечивает требуемой несущей способности пластин, а толщина пластин более 3-х толщин стенки нижней трубы трубобетонной колонны нерациональна и приводит также к перерасходу дорогостоящего металла.
Монтаж предлагаемой трубчатой строительной конструкции производят следующим образом. Стальные трубы 1 (нижние) выставляют в проектное положение (вертикально) на предварительно смонтированном фундаменте. Затем в верхний свободный конец нижних труб 1 вставляют нижние цилиндры 7 узловых соединительных элементов 4 таким образом, чтобы горизонтальные плоскости квадратных стальных пластин 9 и 10 располагались параллельно осям горизонтальных несущих балок-ригелей 8, устанавливаемых в отверстиях среднего цилиндра 6. Такое расположение ригелей-балок обеспечивает оптимальное натяжение арматурных стальных тросов в горизонтальных несущих ригелях-балках. Пластины также могут быть использованы в качестве дополнительных опор при монтаже предварительно напряженных дисков перекрытий, обеспечивая при этом наиболее рациональное и безопасное размещение плит перекрытий в процессе монтажа диска. После установки соединительного элемента 4 в отверстиях среднего цилиндра 6 размещают горизонтальные несущие балки 8, в которых стальные канаты 12 натягивают и закрепляют с помощью анкеров 11. Далее производят сваривание косынками 13 нижних пластин 10 с наружной поверхностью нижних цилиндрических труб 1. По готовности каркаса производят омоноличивание или монтаж железобетонных плит перекрытий 14, опирающихся на нижние пластины 10 (фиг.2), а затем осуществляют омоноличивание высокопрочным бетоном внутренних полостей труб и соединительного элемента 4 до уровня нижнего основания цилиндра 5. После затвердевания бетона средние цилиндры 6 покрывают верхними пластинами 9 и сваривают их с основанием стальных труб 2 металлического каркаса следующего этажа здания, а в верхний свободный конец труб вновь вставляют узловые соединительные элементы 4 следующего этажа, омоноличивают трубы бетоном, и в дальнейшем возведение каркаса производят описанным выше способом с применением предлагаемой трубчатой конструкции.
Использование в трубчатой строительной конструкции предлагаемого узлового соединительного элемента позволяет снизить трудоемкость работ при возведении каркаса, повысить безопасность выполнения работ, существенно сократить сроки возведения и стоимость каркаса.
Формула изобретения
1. Трубчатая строительная конструкция, включающая соосно расположенные нижнюю и верхнюю стальные круглые трубы, соединенные между собой и с горизонтальными несущими балками-ригелями узловым соединительным элементом в виде трех сопряженных основаниями пустотелых стальных цилиндров: верхнего, среднего и нижнего, отличающаяся тем, что верхнее и нижнее основания среднего цилиндра выполнены в виде стальных опорных пластин квадратного сечения со стороной квадрата от 1,5 до 2,0 наружных диаметров нижней трубы; толщина пластин выбрана от 1,5 до 3,0 толщин стенки нижней трубы, а концы горизонтальных балок-ригелей, размещенных внутри стальной трубы, снабжены анкерами для натяжения стальных арматурных тросов во внутренних полостях балок, расположенными на середине высоты средних цилиндров вдоль оси симметрии внутренней полости балок, при этом балки имеют квадратное или прямоугольное сечение.
2. Трубчатая строительная конструкция по п.1, отличающаяся тем, что нижние пластины соединены стальными косынками с наружной поверхностью нижней стальной трубы и расположены в вертикальных плоскостях, проходящих через диагонали квадратных пластин, а толщина косынок выбрана равной толщине нижних пластин.
РИСУНКИ
|
|