|
|
(21), (22) Заявка: 2005126437/03, 16.01.2004
(24) Дата начала отсчета срока действия патента:
16.01.2004
(30) Конвенционный приоритет:
20.01.2003 US 10/347,740
(43) Дата публикации заявки: 20.01.2006
(46) Опубликовано: 27.12.2008
(56) Список документов, цитированных в отчете о поиске:
US 4145772 A, 27.03,1979. GB 2134555 A, 15.08.1984. US 4987616 A, 29.01.1991. US 3576038 A, 27.04.1971. WO 97/11235 A1, 27.03.1997.
(85) Дата перевода заявки PCT на национальную фазу:
22.08.2005
(86) Заявка PCT:
US 2004/001348 (16.01.2004)
(87) Публикация PCT:
WO 2004/064589 (05.08.2004)
Адрес для переписки:
129090, Москва, ул. Б.Спасская, 25, стр. 3, ООО “Юридическая фирма Городисский и Партнеры”, пат.пов. С.А.Дорофееву, рег.№ 146
|
(72) Автор(ы):
КУРУ Уилльям К. (US), СУДИП Мукерджи (US)
(73) Патентообладатель(и):
КОУЛЕР КО. (US)
|
(54) ТУАЛЕТ С УЛАВЛИВАЮЩИМ СРЕДСТВОМ, ИМЕЮЩИМ ВОЗДУШНУЮ ЗАСЛОНКУ
(57) Реферат:
Изобретение относится к области санитарной техники. Туалет имеет улавливающее средство, которое проходит между отверстием чаши унитаза и выпускным отверстием. При этом улавливающее средство имеет изогнутую область водной заслонки, проходящую от отверстия чаши унитаза над отверстием чаши унитаза к направленному вниз колену. Выходное колено связано с выпускным отверстием, при этом улавливающее средство содержит полость воздушной заслонки вдоль верхней стенки выходного колена. Улавливающее средство дополнительно содержит по существу горизонтальную отражательную перегородку. Улавливающее средство имеет круглое поперечное сечение по всей изогнутой области водной заслонки, которое не изменяется в диаметре более чем на 5 процентов по всему участку улавливающего средства, которое представляет собой изогнутую водную заслонку. По другому варианту выполнения туалет имеет направленное вниз колено, слегка наклоненное от его верхней части к отражательной перегородке в направлении назад, хотя и наклоненное меньше, чем на 15 градусов от вертикали. Технический результат заключается в улучшении качества смыва отходов. 2 н. и 6 з.п. ф-лы, 10 ил.
Известный уровень техники
Настоящее изобретение касается санитарно-технического оборудования, в частности туалетов, обеспеченных улучшенными улавливающими средствами.
Обычные туалеты имеют чашу унитаза и смывной бачок, отлитые в виде одной или двух деталей. В туалете образован змеевидный канал (или компонент чаши туалета, состоящего из двух деталей) для перемещения содержимого чаши унитаза к выпускному отверстию, которое обычно находится в нижней части чаши унитаза. Это отверстие соединено с водопроводно-канализационной сетью для сточных вод здания.
Этот канал упоминается в общем как “сифон” или “улавливающее средство” чаши унитаза. Расположенный впереди участок этого канала обычно заполняется водой до и после цикла смывания, чтобы “улавливать” находящиеся позади него канализационные газы с целью предотвращения их проникновения внутрь здания. Вода поддерживается в чаше унитаза и передней части улавливающего средства посредством образования арочной секции, которая продолжается над верхней частью отверстия чаши унитаза. Улавливающее средство (иногда находящееся в связи с проходным отверстием струи) образует сифон для удаления содержимого чаши унитаза, когда обычно заполненный воздухом/паром расположенный позади участок улавливающего средства быстро заполняется водой во время цикла смывания.
Таким образом, улавливающее средство удерживает воду в чаше унитаза до смывания, а затем помогает в образовании сифонного водосбора, полезного в удалении отходов во время цикла смывания. Одна обычная проблема заключается в попытке достигнуть этого в туалетах маленького объема. В этом отношении, по причинам экологии и рационального использования водных ресурсов теперь многие правоохранительные органы ограничивают продажу туалетов, которые используют слишком много воды для смывания. Таким образом, воду в цикле смывания необходимо использовать чрезвычайно эффективно.
Для достижения мощного потока иногда конструировали улавливающие средства так, чтобы максимизировать интенсивность подачи и доступный объем улавливающего средства, который можно занимать во время смывания. Различные способы достижения этого включают в себя придание специальной формы протоков, управление состоянием потока (турбулентный или ламинарный) и/или уменьшение или устранение возникновения отдельных местонахождений воздушных карманов в улавливающем средстве. Например, патент США №5,918,325 раскрывает улавливающее средство, измененное различными способами в попытке представить более оптимальное смывание.
Рассмотрим также патенты США №3,484,873, 5,706,529 и 6,292,956. Раскрытия этих патентов и всех других упомянутых здесь патентов и публикаций включены путем ссылки, как будто они полностью здесь сформулированы.
Однако конструкции известного уровня техники часто не в достаточной степени снижали или устраняли “обратный выброс”, который является обратным потоком воздуха из водопроводно-канализационной сети в область низкого давления улавливающего средства. До некоторой степени это затрудняет протекание через улавливающее средство и является причиной более медленного смывания.
Соответственно улучшенная конструкция улавливающего средства все еще является необходимой, в частности, в связи с туалетами с маленьким объемом смывания.
Сущность изобретения
В соответствии с одним объектом изобретение обеспечивает туалет, имеющий улавливающее средство. Улавливающее средство проходит между отверстием чаши унитаза и выпускным отверстием. Улавливающее средство имеет изогнутую область водной перегородки, продолжающуюся от отверстия чаши унитаза над отверстием чаши унитаза к направленному вниз колену, где направленное вниз колено связано с выходным коленом на нижнем конце направленного вниз колена, причем выходное колено соединено с выпускным отверстием.
Ключевой признак изобретения состоит в том, что улавливающее средство имеет полость воздушной заслонки вдоль верхней стенки выходного колена, вызывающую прохождение потока через улавливающее средство для отделения от внутренней поверхности улавливающего средства у ведущей кромки воздушной заслонки. Эту конструкцию предпочтительно используют там, где также имеется по существу горизонтальная отражательная перегородка, продолжающаяся вперед от задней стенки направленного вниз колена, примыкающего к нижнему участку направленного вниз колена.
В других предпочтительных формах улавливающее средство имеет круглое поперечное сечение по всей изогнутой области водной заслонки, которая не изменяется более чем на 5 процентов в диаметре по всему участку улавливающего средства, представляющего собой изогнутую заслонку, направленное вниз колено слегка наклонено от своей верхней части к отражательной перегородке в направлении назад при наклоне меньше чем 15 градусов от вертикальной оси, а внешнее колено является по существу горизонтальным.
В другой предпочтительной форме по меньшей мере участок выходного колена является прямым, и по меньшей мере участок направленного вниз колена является прямым.
Таким образом, настоящее изобретение обеспечивает туалет с уникальной конструкцией улавливающего средства, которая имеет несколько преимуществ над предыдущим уровнем техники. Улавливающее средство сконструировано так, что вода из чаши унитаза полностью и быстро заполняет ключевые участки улавливающего средства во время цикла смывания. Это приводит к быстрому удалению содержимого чаши унитаза, сводя к минимуму растрачивание воды.
Повернутое назад немного скошенное вниз колено уменьшает или устраняет образование воздушных карманов в области водной заслонки, которые иначе могут мешать возникновению эффекта сифонирования улавливающего средства. Постоянное круглое поперечное сечение изогнутой области водной заслонки помогает поднимать поверхность текучей среды в водной заслонке во время инициирования сифонирования, которое дополнительно помогает удалять воздух.
Наиболее важно, что воздушная заслонка помогает в быстром смывании, отделяя текучую среду от внутренней стенки направленного вниз колена, таким образом создавая прослойку из текучей среды, которая блокирует прохождение обратного выброса воздуха в область низкого давления, расположенную позади воздушной заслонки.
Имеются еще и другие преимущества изобретения, которые станут очевидными из подробного описания и чертежей. Далее следует просто описание предпочтительного варианта осуществления настоящего изобретения. Чтобы оценить весь объем изобретения, нужно обратиться к формуле изобретения, поскольку предпочтительный вариант осуществления не следует рассматривать, как единственный вариант осуществления в объеме формулы изобретения.
Краткое описание чертежей
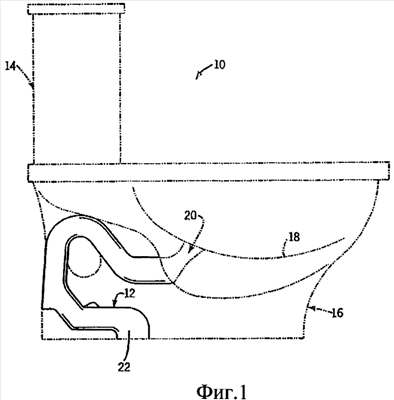
Фиг.1 представляет вид в плане сбоку улавливающего средства туалета согласно настоящему изобретению, с обычным оборудованием, в котором можно использовать улавливающее средство, показанное пунктирными линиями;
фиг.2 – вид в поперечном разрезе по центральной линии задней части туалета по фиг.1;
фиг.3 – вид в поперечном разрезе по линии 3-3 по фиг.2;
фиг.4 – вид в поперечном разрезе по линии 4-4 по фиг.2;
фиг.5 – вид с обратной стороны, схематически изображающий половину улавливающего средства;
фиг.6 – вид в поперечном разрезе, изображающий половину области канала улавливающего средства по линии 6-6 по фиг.5;
фиг.7 – вид в поперечном разрезе, подобный фиг.6, но по линии 7-7 по фиг.5;
фиг.8 – вид в поперечном разрезе, подобный фиг.6, но по линии 8-8 по фиг.5;
фиг.9 – вид в поперечном разрезе, подобный фиг.6, но по линии 9-9 по фиг.5;
фиг.10 – схематический вид улавливающего средства с изображением воздушного кармана (заштрихован сплошными линиями), образуемого воздушной заслонкой в выходном колене улавливающего средства, а также воздушного кармана (заштрихован пунктирными линиями), образуемого обратным выбросом канализационной сети в области низкого давления в направленном вниз колене улавливающего средства, не присутствующий в раскрытом здесь улавливающем средстве, но который действительно возникает в некоторых конструкциях улавливающего средства предыдущего уровня техники.
Подробное описание предпочтительного варианта осуществления
Фиг.1 изображает туалет 10, имеющий канал сифона или улавливающее средство 12, сконструированное согласно настоящему изобретению. В частности, если не считать улавливающего средства 12, туалет 10 может быть любым подходящим туалетом из одной или двух деталей, предпочтительно имеющим конструкцию маленького объема смывания, как известно в технике.
Например, фиг.1 изображает штрихпунктирными линиями состоящий из двух частей туалет, имеющий отдельный смывной бачок 14, смонтированный на основании 16 чаши унитаза. Отверстие (не показанное) в нижней части смывного бачка 14 выровнено с отверстием (не показанным) в верхней части основания 16 чаши унитаза, чтобы предоставить возможность воде проходить от смывного бачка в чашу 18 унитаза, образованную в основании 16 унитаза, во время цикла смывания.
Улавливающее средство 12 проходит от отверстия 20 в чаше 18 унитаза по змеевидному каналу, имеющему по существу равномерное и постоянное круглое поперечное сечение (как показано на фиг.3) по меньшей мере во втором изгибе 30 в водной заслонке 34. Улавливающее средство имеет выпускное отверстие 22 в основании 16 чаши унитаза, которое установлено над открытым концом водопроводно-канализационной сети (не показанной). Таким образом, улавливающее средство 12 создает путь для содержимого в чаше 18 унитаза, чтобы вытекать в канализационную сеть во время цикла смывания.
Обращаясь теперь к фиг.2, отметим, что прямолинейный вход 24 улавливающего средства 12 продолжается назад от отверстия 20 чаши унитаза к первому направленному вверх изгибу 26. По существу прямолинейное обращенное назад и вверх колено 28 продолжается вверх от первого изгиба 26 приблизительно под углом 40-60 градусов ко второму изгибу 30. Направленное вниз колено 32 продолжается от второго изгиба 30, наклоняясь немного назад сверху донизу от отверстия 20 предпочтительно под углом приблизительно между 1 и 10 градусами от вертикальной оси, наиболее предпочтительно под углом 4-6 градусов.
Изгиб 30 образует угол приблизительно 40 градусов между направленным вверх коленом 28 и направленным вниз коленом 32, чтобы изменять направление потока приблизительно на 140 градусов от направления потока через направленное вверх колено 28. Поверхность на внутреннем диаметре второго изгиба 30 образует водную заслонку 34 (вдоль нижней внутренней поверхности), и после этой точки вода может проходить от чаши 18 унитаза в канализационную сеть через расположенный позади участок улавливающего средства 12. Нижний конец направленного вниз колена 32 переходит в другой изгиб 36, который ведет к короткому, прямолинейному слегка наклоненному вперед колену 38. Колено 38 завершается у изгиба 40, ведущего к прямолинейному, горизонтальному выходному колену 42, заканчивающемуся у 90-градусного изгиба 44, ведущего к выпускному отверстию 22.
Улавливающее средство 12 имеет в общем постоянное круглое поперечное сечение между отверстием чаши унитаза и по всему изогнутому второму изгибу 30 у водной заслонки 34 и по направленному вниз колену 32. Предпочтительно внутреннее поперечное сечение по всему этому участку улавливающего средства 12 не изменяется в диаметре больше, чем на 5 процентов. Фиг.6 и 9 изображают некруглые поперечные сечения короткого идущего под углом колена 38 и выходного колена 42, которые имеют плоские нижние поверхности, главным образом по соображениям отливки.
Рядом с нижним концом направленного вниз колена 32 улавливающее средство 12 имеет короткую плоскую горизонтальную отражательную перегородку 46, продолжающуюся между задней стенкой направленного вниз колена 32 и коротким идущим под углом коленом 38. Отражательная перегородка 46 предпочтительно продолжается на длину, приблизительно равную радиусу направленного вниз колена 32, или в одном случае составляющую приблизительно 1 1/16″ (дюйма). Отражательная перегородка 46 действует, чтобы производить турбулентность и изменять траекторию потока, выходящего из направленного вниз колена 32, что помогает перемещать поток ниже по течению.
В соответствии с настоящим изобретением углубленная полость или карман 48, упоминаемый здесь, как воздушная заслонка 48, образован так, что продолжается около верхнего внутреннего участка выходного колена 42 на стороне средней линии 50 напротив выпускного отверстия 22. Предпочтительно воздушная заслонка 48 находится рядом с пересечением идущего под углом колена 38 и выходного колена 42. Воздушная заслонка 48 продолжается вверх от верхней внутренней поверхности выходного колена 42 предпочтительно в виде гладкой конфигурации пирамидального типа, такой, что ее нижняя часть больше, чем ее верхняя часть, как показано на фиг.4. Отметим, однако, что воздушная заслонка 48 может иметь любую подходящую форму, типа полусферической, до тех пор, пока острая кромка или кромка маленького радиуса, образованная на ведущей кромке воздушной заслонки 48, достаточна, чтобы вызывать отделение потока от улавливающего средства 12. Предпочтительно расположенная впереди и продолжающаяся вверх поверхность 51 воздушной заслонки 48 образует угол приблизительно 90 градусов или меньше, чтобы помогать в отделении текучей среды от поверхности улавливающего средства 12, как описано ниже.
Фиг.7 и 8 изображают половины поперечных разрезов через выходное колено 42 в воздушной заслонке 48. Воздушная заслонка 48 составляет приблизительно 1/2″-1″ (предпочтительно 5/8″) в высоту, приблизительно 1/2″-3″ в длину (предпочтительно 1 1/2″) и приблизительно диаметр выходного колена 42 (предпочтительно 2 1/8″).
Описанное выше улавливающее средство 12 сконструировано так, что вода из чаши унитаза полностью и быстро заполняет ключевые участки улавливающего средства 12 во время цикла смывания. Это достигается потому, что скошенное назад направленное вниз колено 32 уменьшает или устраняет образование воздушных карманов в водной заслонке 34, которые мешают возникновению эффекта сифонирования улавливающего средства 12, постоянное круглое поперечное сечение второго изгиба 30 помогает поднимать поверхность текучей среды в водной заслонке 34 во время инициирования сифонирования.
Кроме того, воздушная заслонка 48 помогает быстрому смыванию, отделяя текучую среду от внутренней стенки направленного вниз колена 32, создавая прослойку из текучей среды внутри улавливающего средства 12, стремящуюся блокировать воздух, который может пытаться пройти назад через улавливающее средство 12 из канализационной сети в область низкого давления в направленном вниз колене 42, расположенном позади водной заслонки 34. Более конкретно, как показано на фиг.10, во время смывания текучая среда проходит за пределами водной заслонки 34 в направленное вниз колено 32 и другие, обычно заполненные воздухом, расположенные позади участки улавливающего средства. Текучая среда выходит из нижнего конца направленного вниз колена и проходит в короткое идущее под углом колено 38. После выхода из нижнего конца короткого идущего под углом колена 38 текучая среда у верхней поверхности (при рассмотрении, как показано на фиг.2) улавливающего средства проходит мимо поверхности 52 ведущей кромки воздушной заслонки 48 (предпочтительно имеющей выпуклую поверхность маленького радиуса или короткую плоскую проходящую под острым углом поверхность), которая ведет к продолжающейся вверх поверхности 51 воздушной заслонки 48, предпочтительно образующей прямой или острый угол с коротким идущим под углом коленом 38. Это вызывает отделение текучей среды от верхней поверхности улавливающего средства на относительно высокой скорости. Это, в свою очередь, вызывает образование воздушного кармана 54 в общем в области выходного колена 42, показанного штриховкой сплошными линиями. Это фактически уменьшает площадь поперечного сечения выходного колена 42, и это увеличивает давление и скорость протекания текучей среды через выходное колено 42. Это приводит к двум обстоятельствам: увеличивает интенсивность, с которой текучая среда проходит через выходное колено 42 (несмотря на меньшую площадь поперечного сечения) и вызывает вырабатывание текучей средой большей нисходящей силы, чтобы противостоять силе воздуха в канализационной сети, стремящейся к перемещению в область низкого давления в направленном вниз колене 32 и образованию воздушного кармана 56 в направленном вниз колене 32, как представлено штриховкой пунктирными линиями, который может появляться время от времени в зависимости от того, какое давление преобладает. Это явление, упомянутое как “обратный выброс”, является неблагоприятным для обеспечения быстрого мощного потока. Таким образом, воздушная заслонка 48 предотвращает обратный выброс и, таким образом, обеспечивает возможность текучей среде проходить через полную площадь направленного вниз колена 32 и короткого идущего под углом колена 38, и ускоряет интенсивность прохождения потока через выходное колено 42.
Таким образом, в целом, улавливающее средство 12 обеспечивает лучшее, более единообразное быстрое смывание.
Следует оценить, что выше был описан предпочтительный вариант осуществления изобретения. Однако для специалистов в данной области техники будут очевидны многие модификации и видоизменения предпочтительного варианта осуществления, не выходящие при этом за рамки сущности и объема изобретения. Поэтому изобретение не должно быть ограничено описанным вариантом осуществления. Чтобы определить полный объем изобретения, следует обратиться к следующей формуле изобретения.
Промышленная применимость
Изобретение обеспечивает улучшенные туалеты, которые более эффективно смывают отходы.
Формула изобретения
1. Туалет, имеющий улавливающее средство, которое проходит между отверстием чаши унитаза и выпускным отверстием, при этом улавливающее средство имеет изогнутую область водной заслонки, проходящую от отверстия чаши унитаза над отверстием чаши унитаза к направленному вниз колену, причем направленное вниз колено соединено с выходным коленом на нижнем конце направленного вниз колена, выходное колено связано с выпускным отверстием, при этом улавливающее средство содержит полость воздушной заслонки вдоль верхней стенки выходного колена, вызывающую отделение проходящего через улавливающее средство потока от внутренней поверхности улавливающего средства у ведущей кромки воздушной заслонки, причем улавливающее средство дополнительно содержит по существу горизонтальную отражательную перегородку, проходящую вперед от задней стенки направленного вниз колена рядом с нижним участком направленного вниз колена, и при этом улавливающее средство имеет круглое поперечное сечение по всей изогнутой области водной заслонки, которое не изменяется в диаметре более чем на 5% по всему участку улавливающего средства, которое представляет собой изогнутую водную заслонку.
2. Туалет, имеющий улавливающее средство, которое проходит между отверстием чаши унитаза и выпускным отверстием, при этом улавливающее средство имеет изогнутую область водной заслонки, проходящую от отверстия чаши унитаза над отверстием чаши унитаза к направленному вниз колену, причем направленное вниз колено соединено с выходным коленом на нижнем конце направленного вниз колена, выходное колено связано с выпускным отверстием, при этом улавливающее средство содержит полость воздушной заслонки вдоль верхней стенки выходного колена, вызывающую отделение проходящего через улавливающее средство потока от внутренней поверхности улавливающего средства у ведущей кромки воздушной заслонки, причем направленное вниз колено слегка наклонено от его верхней части к отражательной перегородке в направлении назад, хотя и наклонено меньше чем на 15° от вертикали.
3. Туалет по п.2, в котором улавливающее средство дополнительно содержит по существу горизонтальную отражательную перегородку, проходящую вперед от задней стенки направленного вниз колена рядом с нижним участком направленного вниз колена.
4. Туалет по п.2, в котором в выходном колене образован воздушный карман.
5. Туалет по п.2, в котором выходное колено является по существу горизонтальным.
6. Туалет по п.2, в котором по меньшей мере участок выходного колена является прямолинейным.
7. Туалет по п.2, в котором по меньшей мере участок направленного вниз колена является прямолинейным.
8. Туалет по п.2, в котором в направленном вниз колене не образован воздушный карман.
РИСУНКИ
|
|