|
|
(21), (22) Заявка: 2005138918/04, 12.05.2004
(24) Дата начала отсчета срока действия патента:
12.05.2004
(30) Конвенционный приоритет:
16.05.2003 US 60/471,323
(43) Дата публикации заявки: 10.05.2006
(46) Опубликовано: 27.12.2008
(56) Список документов, цитированных в отчете о поиске:
US 2560171 А, 10.07.1951. US 6201031 А, 13.03.2001. RU 2178443 C2, 20.01.2002. RU 2195476 C2, 27.12.2002.
(85) Дата перевода заявки PCT на национальную фазу:
16.12.2005
(86) Заявка PCT:
IB 2004/050656 (12.05.2004)
(87) Публикация PCT:
WO 2004/101475 (25.11.2004)
Адрес для переписки:
119034, Москва, Пречистенский пер., д.14, стр. 1, 4 этаж, “Гоулингз Интернэшнл Инк.”, В.Н.Дементьеву
|
(72) Автор(ы):
СТЙНБЕРГ Андрэ Питер (ZA), БРЕМАН Бертхолд Беренд (NL)
(73) Патентообладатель(и):
СЭСОЛ ТЕКНОЛОДЖИ (ПРОПРИЕТЕРИ) ЛИМИТЕД (ZA)
|
(54) СПОСОБ ПОЛУЧЕНИЯ ЖИДКИХ И ГАЗООБРАЗНЫХ ПРОДУКТОВ ИЗ ГАЗООБРАЗНЫХ РЕАГЕНТОВ
(57) Реферат:
Изобретение относится к способу получения жидких и, не обязательно, газообразных углеводородных продуктов из газообразных реагентов, включающему подачу на нижнем уровне газообразных реагентов и, не обязательно, части потока рециркулированного газа в вертикально расширяющийся слой пульпы, состоящей из глинистого раствора, содержащего частицы катализатора, взвешенные в суспендирующей жидкости внутри корпуса; подачу, в виде дополнительного газового питания, по крайней мере, части потока рециркулированного газа в пульпу выше уровня, на котором подаются газообразные реагенты в пульпу и выше 20%-ной отметки высоты пульпы; вступление в реакцию газообразных реагентов и рециркулированного газа, проходящих выше через пульпу с образованием жидких и, не обязательно, газообразных углеводородных продуктов, с частицами катализатора, катализирующими реакцию преобразования газообразных реагентов в жидкий продукт и, не обязательно, в газообразные углеводородные продукты, а с помощью жидкого углеводородного продукта вместе с суспензией, образование жидкой фазы пульпы; высвобождение любого газообразного углеводородного продукта и непрореагировавшего газообразного реагента, и непрореагировавшего рециркулированного газа из пульпы в свободное пространство над пульпой; извлечение любого газообразного углеводородного продукта и непрореагировавшего газообразного реагента, и непрореагировавшего рециркулированного газа из свободного пространства над пульпой; извлечение жидкой фазы из пульпы для поддержания пульпы на заданном уровне и переработку, по крайней мере, некоторых газообразных компонентов из свободного пространства над пульпой для получения потока рециркулированного газа. Применение предложенного способа позволяет достичь большей емкости реактора. Также изобретение относится к устройству для осуществления данного способа. 2 н. и 11 з.п. ф-лы, 4 ил.
Настоящее изобретение относится к способу производства жидких и, не обязательно, газообразных продуктов из газообразных реагентов. Оно также относится к установкам для производства жидких и, не обязательно, газообразных продуктов из газообразных реагентов.
В соответствии с одним аспектом изобретения оно обеспечивает способ получения жидких и, не обязательно, газообразных продуктов из газообразных реагентов, включающий
подачу газообразных реагентов на нижнем уровне и, как возможный вариант, части потока рециркулированного газа в вертикально расширяющийся слой пульпы, состоящей из твердых частиц, взвешенных в суспендирующей жидкости внутри корпуса;
подачу, в виде дополнительного газового питания, по крайней мере, части потока рециркулированного газа в пульпу выше уровня, на котором подаются газообразные реагенты в пульпу и выше 20%-ной отметки высоты пульпы;
вступление в реакцию газообразных реагентов и рециркулированного газа, проходящих выше через пульпу и, таким образом, образование жидких и, возможно, газообразных продуктов, а с помощью жидкого продукта вместе с суспезией – образование жидкой фазы пульпы;
высвобождение любого газообразного продукта, непрореагировавшего газообразного реагента и непрореагировавшего рециркулированного газа из пульпы в свободное пространство над пульпой;
извлечение любого газообразного продукта, непрореагировавшего газообразного реагента и непрореагировавшего рециркулированного газа из свободного пространства над пульпой;
извлечение жидкой фазы из пульпы для поддержания пульпы на заданном уровне и
переработку, по крайней мере, некоторых газообразных компонентов из свободного пространства над пульпой для получения потока рециркулированного газа.
Способ преимущественно включает возможность глинистому раствору проходить с верхнего уровня пульпы вниз к нижнему уровню, используя средства перераспределения глинистого раствора и, таким образом, перераспределяя твердые частицы внутри пульпы.
Обычно дополнительный питающий газ имеет незначительное влияние на вертикальное распределение твердых частиц в пульпе. Когда вертикальное распределение твердых частиц в пульпе, по настоящему изобретению, сравнивается с идентичным способом, в котором все газообразные реагенты и рециркулированный газ подаются в пульпу на едином или общем нижнем уровне, то результаты оказываются практически одинаковыми.
Дополнительный питающий газ может подаваться на уровне, который расположен между примерно 20- и 80%-ной отметками высоты пульпы. Предпочтительно подавать дополнительный питающий газ на уровне, расположенном выше 25%-ной, еще более предпочтительно подавать газ выше 30%-ной отметки высоты пульпы.
Хотя предполагается, что способ может, по крайней мере в принципе, иметь более широкое применение, в данном случае рассматривается, что твердые частицы будут являться частицами катализатора для катализа реакции преобразования газообразных реагентов в жидкий продукт и, не обязательно, в газообразный продукт, а суспендирующая жидкость обычно, но необязательно всегда, будет преобразована в жидкий продукт.
Более того, предполагая в принципе, что настоящий способ может иметь более широкое применение, в данном случае рассматривается его конкретное применение в синтезе углеводородов, где газообразные реагенты способны каталитически реагировать в пульпе и образовывать жидкий углеводородный продукт и, не обязательно, газообразный углеводородный продукт.
В частности, синтез углеводородов может быть синтезом Фишера-Тропша, при котором газообразные реагенты находятся в виде потока синтез-газа, содержащего в основном монооксид углерода и водород, в результате которого получают как жидкие, так и газообразные углеводородные продукты.
Способ может включать охлаждение газа из свободного пространства над продуктом для конденсации жидкого продукта, например жидких углеводородов и реакционной воды, выделение жидкого продукта из газов для получения остаточного газа и повторного использования, по крайней мере, части остаточного газа в пульпе в виде потока рециркулированного газа.
Таким образом, пульпа может содержаться или подаваться в зону реакции шламового реактора или барботажкой колонны. Шламовый реактор или барботажная колонна используют, таким образом, трехфазную систему, например твердые частицы катализатора, жидкий продукт и газообразные реагенты (включая любой рециркулированный газ) и, не обязательно, газообразный продукт и инертные газы.
Дополнительная подача газа в пульпу может производиться средствами газового пульверизатора. Дополнительная подача газа может осуществляться со скоростью, составляющей, по крайней мере, 10% от скорости подачи всего объема газа, направляемого в пульпу. Обычно дополнительная подача газа не производится со скоростью, составляющей более чем 10% от скорости подачи всего объема газа, направляемого в пульпу.
Катализатором каталитических частиц может быть любой катализатор, требуемый для реакции Фишера-Тропша, такой как катализатор на основе железа, катализатор на основе кобальта, или любой другой катализатор Фишера-Тропша. Размер частиц катализатора может быть в требуемом диапазоне, например частицы катализатора не могут быть больше 300 микрон, а размер наименьших частиц не должен быть меньше 22 микрон и составлять не менее 5% от массы катализатора.
Шламовый реактор или барботажная колонна, таким образом, может эксплуатироваться при нормальных условиях повышенного давления и температуры, связанных с реакцией синтеза Фишера-Тропша, например при заранее заданном производственном давлении в диапазоне от 10 до 50 бар, и при заранее заданной температуре в диапазоне от 160 до 280°С или даже выше при производстве продукта с более низкой точкой кипения.
Частицы катализатора в пульпе, таким образом, удерживаются во взвешенном состоянии за счет турбулентности, создаваемой потоком синтез-газа (свежего и рециркулированного), проходящего через пульпу, т.е. барботирующего через пульпу. Скорость прохождения газа через пульпу достаточно высока для удержания ее в состоянии турбулентности или суспензии.
Согласно одному варианту настоящего изобретения весь поток рециркулированного газа, возвращаемого в пульпу, формирует часть дополнительной подачи газа.
Способ отличается тем, что задержка газа в пульпе меньше в нижней части пульпы, чем задержка газа в нижней части пульпы идентичного способа, в котором все газообразные реагенты и рециркулированный газ подаются в пульпу в точке, расположенной на едином нижнем уровне. Задержка газа может быть больше в верхней части пульпы, нежели в верхней части вышеупомянутого идентичного способа. Однако суммарная задержка газа в пульпе в способе по настоящему изобретению будет меньше, чем в пульпе при традиционном способе.
В соответствии с другим аспектом настоящего изобретения предлагается установка для производства жидких и, возможно, газообразных продуктов из газообразных реагентов, включающая
корпус реактора, имеющий вертикально расширяющуюся зону для пульпы, в которой содержится пульпа, состоящая из твердых частиц, взвешенных в суспендирующей жидкости;
первое впускное отверстие для газа, расположенное в нижней части корпуса в пределах зоны пульпы, для подачи в реактор газообразных реагентов;
второе впускное отверстие для газа в корпусе, расположенное в пределах зоны пульпы выше первого впускного отверстия, для подачи рециркулированного газа внутрь корпуса, при этом второе впускное отверстие в корпусе расположено выше нижнего отверстия на 20% высоты зоны пульпы;
выпускное отверстие для газа в корпусе, расположенное выше зоны пульпы, для отвода газа из свободного пространства над продуктом выше зоны пульпы и
выпускное отверстие для жидкости в корпусе, расположенное в пределах зоны пульпы, для отвода жидкого продукта из корпуса.
Предпочтительным вариантом является тот, в котором установка включает средства перераспределения глинистого раствора на одном или более перераспределителях глинистого раствора, через которые, при работе, глинистый раствор может быть перераспределен с верхнего уровня пульпы на его нижний уровень, таким образом перераспределяя твердые частицы в пульпе.
Второе впускное отверстие для газа может располагаться на уровне, который расположен между 20- и 80%-ной отметками высоты зоны пульпы. Предпочтительнее, когда второе впускное отверстие для газа расположено на уровне выше нижней 25%-ной, более предпочтительно выше нижней 30%-ной отметки высоты зоны пульпы. Второе впускное отверстие для газа может включать газовый пульверизатор.
В данном описании термин “средства перераспределения глинистого раствора” обозначает ссылку на физическое устройство, используемое для перераспределения глинистого раствора и частиц катализатора вертикально внутри корпуса реактора, и не относится к действию по перераспределению глинистого раствора и частиц катализатора при прохождении газа вверх через пульпу. Таким образом, средства перераспределения глинистого раствора или перераспределители могут включать в себя переточные или отводящие трубки, или механическое устройство перераспределения, такое как трубопроводы, насосы и фильтры.
Когда средства перераспределения смеси включают переточные трубки, то переточные трубки могут быть собраны в первом участке перетока и во втором участке перетока, при этом второй участок перетока располагается вертикально относительно первого участка.
Переточные или отводящие трубки, таким образом, могут находиться на разных уровнях или высотных отметках в пределах пульпы или зоны пульпы. Второй участок перетока может располагаться на более высоком уровне, чем первый участок перетока, а, при необходимости, могут иметься дополнительные участки, каждый из которых включает, по крайней мере, одну переточную или отводящую трубку, которые могут располагаться выше второго участка перетока, причем третий и последующие участки перетока также расположены вертикально относительно друг друга.
Согласно одному варианту настоящего изобретения второй участок перетока может частично перекрывать первый участок перетока. Другими словами, нижний конец (s) переточной трубки (s) во втором участке может перекрывать верхний конец (s) переточной трубки (s) в первом участке. Однако в другом варианте настоящего изобретения второй участок перетока может быть расположен так, чтобы не пересекаться с первым участком перетока. Другими словами, нижний конец (s) переточной трубки (s) во втором участке может отстоять по вертикали от верхнего конца (s) переточной трубки (s) в первом участке.
Переточная трубка (трубки) (s) во втором участке перетока может располагаться уступом относительно трубки (трубок) в первом участке перетока, если смотреть на реактор или корпус в горизонтальной проекции. Другими словами, нижний конец (s) переточной трубки (s) во втором участке предпочтительно не выпускает (выпускают) глинистый раствор непосредственно выше верхнего конца (s) переточной трубки (s) в первом участке.
Каждая переточная трубка может включать в себя нижнюю секцию переноса и верхнюю секцию выделения или дегазации с большей площадью сечения, чем секция переноса. Предпочтительно секции выполнять круглой, цилиндрической формы, с внешним верхним соединительным компонентом, расширяющимся книзу, соединяющим секцию выделения с секцией переноса. Однако секция выделения может, если потребуется, быть выполнена в другой подходящей форме, например в форме прямоугольного или треугольного сечения канала, что зависит от свободного пространства внутри корпуса реактора.
В то время как каждая переточная трубка будет нормально расположена полностью в пределах пульпы, т.е. внутри реактора, в котором дегазационная секция расположена соосно секции переноса, секция переноса и, возможно, часть секции дегазации, может располагаться вне реактора, при этом нижний конец выпускного отверстия секции переноса и, по крайней мере, верхний конец впускного отверстия секции дегазации будут расположены внутри реактора в пульпе или в зоне пульпы.
Способ может включать функционирование шламового реактора таким образом, что пульпа находится в гетерогенном или эмульсионном режиме двухфазного потока и содержит разведенную фазу, состоящую из быстро поднимающихся крупных пузырьков газообразных реагентов и возможно газообразных продуктов, которые пересекают зону реакции или пульпы виртуально в пробковом режиме, и плотную фазу, содержащую жидкую фазу, т.е. жидкий продукт, твердые частицы катализатора и увлеченные, меньшие по размеру пузырьки газообразных реагентов и, не обязательно, газообразных продуктов.
Далее изобретение будет детально описано с приведением примеров и чертежей, на которых
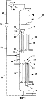
на фиг.1 показано продольное сечение установки, в соответствии с настоящим изобретением, для производства жидких и газообразных продуктов из газообразных реагентов;
на фиг.2 показан график нормализованной задержки газа в зависимости от нормализованной высоты пульпы для традиционного способа Фишера-Тропша, в котором подача всего объема газа осуществляется на дне реактора, а для реакции Фишера-Тропша в соответствии с настоящим изобретением оба процесса были смоделированы с разведенной фазой и плотной фазой в пробковом режиме;
на фиг.3 показан график парциального давления СО, Н2 и Н2O в зависимости от нормализованной высоты слоя смеси для традиционного способа и способа по данному изобретению, для которого задержка газа показана на фиг.2 и
на фиг.4 показан график нормализованной задержки газа в зависимости от нормализованной высоты пульпы для традиционного способа Фишера-Тропша, в котором подача всего объема газа осуществляется на дне реактора, а для реакции Фишера-Тропша в соответствии с настоящим изобретением оба процесса были смоделированы для пробкового режима разведенной фазы и хорошо перемешанной плотной фазы.
На чертежах, номер ссылки 10, в общем случае, в соответствии с настоящим изобретением указывает на установку для производства жидких и газообразных продуктов из газообразных реагентов.
Установка 10 включает вертикальную цилиндрическую колонну шламового реактора или барботажную колонну 12 с расположенным на дне впускным отверстием для газа 14, ведущим в газовый распределитель (не показан) внутри реактора 12 и выпускное отверстие для газа 16, ведущее к верхней части реактора 12. Выпускное отверстие для жидкого продукта 18 выходит из реактора на любом удобном уровне.
Реактор 12 включает первый участок перетока, в общем случае обозначенный под номером 20. Участок перетока 20 включает переточную трубку, в общем случае обозначенную номером 22. Переточная трубка 22 включает цилиндрическую секцию переноса 24 относительно малого диаметра, расширяющийся наружу внешний соединительный компонент 26 в верхнем конце секции переноса 24, и секцию дегазации большего диаметра 28, нижний конец которой соединен с соединительным компонентом 26. Верхний конец секции дегазации 28, таким образом, обеспечивает впускное отверстие для глинистого раствора 40, тогда как нижний конец секции переноса 24 обеспечивает выпуск глинистого раствора через отверстие 42. Участок перетока 20 также снабжен охлаждающим змеевиком 29.
Реактор 12 также включает второй участок перетока, в общем случае обозначенный номером 30. Участок перетока 30 включает переточную трубку, в общем случае обозначенную номером 32. Переточная трубка 32 включает секцию переноса 34 относительно малого диаметра, расширяющийся наружу внешний соединительный компонент 36 в верхнем конце секции переноса 34, и секцию дегазации относительно большего диаметра 38 на верхнем конце секции переноса 34. Нижний конец секции дегазации 38, таким образом, соединен с соединительным компонентом 36. Верхний конец секции дегазации 38, таким образом, обеспечивает впускное отверстие для глинистого раствора, тогда как нижний конец секции переноса 34 обеспечивает выпуск глинистого раствора. Участок перетока 30 также снабжен охлаждающим змеевиком 39.
Нижний конец переточной трубки 32 отделен по вертикали от верхнего конца переточной трубки 22. Более того, переточная трубка 32 не соосна переточной трубке 22. Другими словами, переточная трубка 32 расположена уступом относительно переточной трубки 22, если рассматривать реактор в горизонтальной проекции.
Впускное отверстие для газа 14 является первым впускным отверстием для газа. Второе впускное отверстие для газа 52 расположено на том же уровне или выше отметки первого впускного отверстия для газа 14. Второе впускное отверстие для газа 52 также связано с газовым распределителем, который не показан внутри реактора 12.
Установка 10 включает блок сепарации 54, находящийся в потоковой связи с выпускным отверстием для газа 16 и компрессором 56, находящимся в потоковой связи с блоком сепарации 54. Линия потока рециркулированного газа 58 проходит от компрессора 56 во второе впускное отверстие для газа 52. Линия жидкого продукта 60 проходит от блока сепарации 54, с линией остаточного газа 62, образующей потоковую связь между блоком сепарации 54 и компрессором 56.
В производстве свежий синтез-газ, включающий, в основном, монооксид углерода и водород в качестве газообразных реагентов, подается в донной части реактора 12 через первое впускное отверстие для газа 14, при этом обычно газ равномерно распределяется через пульверизатор (не показан) внутри реактора 12. Одновременно поток рециркулированого газа (обычно охлажденного), содержащий водород, монооксид углерода, метан и диоксид углерода, подается через второе впускное отверстие 52 в реактор 12 на уровне выше первого впускного отверстия 14 через пульверизатор (не показан) внутри реактора 12. Обычно второе впускное отверстие 52 расположено, по крайней мере, примерно на 20% выше первого впускного отверстия 14 по высоте реактора 12.
Газообразные реагенты, составляющие свежий синтез-газ и рециркупированный газ, проходят вверх через пульпу 70, включающую частицы катализатора Фишера-Тропша, обычно на основе железа или кобальта, взвешенные в жидком продукте. Пульпа обрабатывается на уровне 72 выше второго участка перетока 30, имеющего свободное пространство 74 над пульпой 70. Во время прохождения пузырьков синтез-газа через пульпу 70 газообразные реагенты каталитически вступают в реакцию с образованием жидкого продукта, который, таким образом, образует часть пульпы 70. Время от времени, или постоянно, жидкая фаза, включающая жидкий продукт, отводится через выпускное отверстие 18 вместе с частицами катализатора, отделенными от жидкого продукта в соответствующей внутренней или внешней системе сепарации, например, с использованием фильтров (не показаны). Если система сепарации расположена вне реактора, то в этом случае используется дополнительная система (не показана) для возвращения отделенных частиц катализатора обратно в реактор.
Свежий синтез-газ и рециркупированный газ подаются в реактор 12 со скоростью, достаточной для перемешивания и взвешивания в системе всех частиц катализатора без осадка. Интенсивность подачи газа будет выбрана в зависимости от концентрации глинистого раствора, плотности катализатора, взвешенной посредством плотности и вязкости, и размеров используемых частиц. Соответствующая интенсивность подачи газа может находиться в диапазоне от 5 до 50 см/сек. Однако скорости газа и выше 85 см/сек тестировались в барботажных колоннах. Использование более высоких скоростей газа создает проблему, связанную с более высокой задержкой газа в ректоре, соответственно оставляющей меньше пространства для размещения глинистого раствора, содержащего катализатор. Однако какая бы интенсивность подачи газа не была бы выбрана, она должна быть достаточной для того, чтобы исключить выпадение частиц в осадок и агломерацию.
Некоторое количество глинистого раствора постоянно проходит вниз через переточные трубки 32, 22, тем самым равномерно распределяя частицы катализатора в пределах пульпы 70, а также обеспечивая равномерное распределение тепла по всей пульпе.
Реактор 12 функционирует таким образом, что пульпа 70 находится в гетерогенном или эмульсионном режиме двухфазного потока, содержащего разведенную фазу, состоящую из быстро поднимающихся крупных пузырьков газообразных реагентов, и, не обязательно, газообразных продуктов, которые пересекают пульпу практически в пробковом режиме, и плотную фазу, содержащую жидкую фазу, т.е. жидкий продукт, твердые частицы катализатора и увлеченные меньшие по размеру пузырьки газообразных реагентов и, не обязательно, газообразных продуктов.
Котловая вода в качестве теплообмена или передающей среды циркулирует через кольца змеевиков 29, 39. Тепло передается от пульпы 70 к котловой воде для образования смеси пара и воды.
Легкие углеводородные продукты, такие как C20 и более низкие фракции, отводятся из реактора через выпускное отверстие 16 и направляются в блок сепарации 54. Обычно блок сепарации 54 включает ряд холодильников и парожидкостной сепаратор, и, возможно, может включать дополнительные холодильники и сепараторы, а также криогенное устройство для удаления водорода, монооксида углерода, метана и диоксида углерода из C20 и более низких углеводородных фракций. Можно использовать и другие технологии разделения, такие как метод мембранных блоков, качающие адсорбционные модули и/или блоки удаления углекислого газа. Разделенные газы, содержащие водород, монооксид углерода и другие газы, подвергаются сжатию и повторному использованию с помощью компрессора 56, создающего поток рециркулированного газа. Конденсированные жидкие углеводороды и реакционная вода отводятся из блока сепарации 54 с помощью линии потока 60 для последующего смешивания.
По достоинству следует оценить установку 10, показанную на фиг.1, на которой указано, что необязательно возвращать весь поток рециркулированного газа в реактор 12. Можно возвращать в реактор 12 только часть потока рециркулированного газа. Можно также объединить части потока рециркулированного газа со свежим синтез-газом для подачи в реактор через первое впускное отверстие для газа 14. Обычно примерно от 10 до 60% от всего объема газа, подаваемого в пульпу 70, поступает через второе впускное отверстие для газа 52 с объемным отношением рециркулированного газа к свежему синтез-газу в диапазоне от 0,1 до 1,5.
Авторы изобретения неожиданно обнаружили, что можно достичь большей емкости реактора, если, по крайней мере, часть рециркулированного газа подавать в корпус реактора 12 выше уровня подачи синтез-газа, который подается в нижней части реактора 12. Как будет показано, это приводит к снижению себестоимости при строительстве реактора или к увеличению емкости реакторов, модифицируемых с помощью второго, более высокого впускного отверстия для газа.
Возможным объяснением полученного увеличения емкости реактора является более низкая задержка газа при использовании настоящего изобретения. Известно, что объем газов и испарений уменьшается во время реакции Фишера-Тропша и газообразные реагенты преобразуются в углеводородные продукты с большим молекулярным весом. Таким образом, существует вертикальный градиент в объеме газов и испарений в реакторе 12. За счет подачи, по крайней мере, части рециркулированного газа в реактор на более высокой отметке в реакторе 12 имеется секция, расположенная ниже данной высокой отметки, в которой скорость газа ниже и уменьшается, тогда как плотность газа ниже и повышается при движении газа вверх. Задержка газа увеличивается с плотностью газа. Сравнивая эту ситуацию с вариантом, когда весь газ вводится в нижней части реактора 12, следует отметить, что при этом достигается как более низкая максимальная скорость и более низкая средняя скорость газа, так и более низкая средняя плотность газа в реакторе 12. Окончательный результат, таким образом, характеризуется более низкой задержкой газа, что позволяет вмещать в заданном объеме реактора больше глинистого раствора, содержащего катализатор. Неожиданно было обнаружено, что дополнительный катализатор компенсируется при прохождении рециркулированного газа через порцию катализатора. Соответственно, для такого же объема реактора, содержащего больше катализатора, течение обоих потоков свежего синтез-газа и рециркулированного газа может быть увеличено, по сравнению с вариантом, когда весь газ подается в нижней части реактора, и несмотря на это все равно можно получать тот же уровень (или процентное содержание) преобразования реагентов в синтез-газ.
Дополнительным преимуществом способа по настоящему изобретению, как показано на чертежах, является то, что охлажденный газ над дном реактора вместе со средствами перераспределения пульпы можно использовать для обеспечения более однородной температуры в слое пульпы. Это позволяет трубы охлаждения в слое пульпы, которые могут находиться в двух или более пластах на разных вертикальных уровнях, соединять с единым паросборником. Это исключает потребность в многочисленных паросборниках, работающих при разных температурах и давлениях.
Два следующих примера иллюстрируют некоторые преимущества, изложенные выше.
В этих примерах был математически смоделирован традиционный или базовый способ Фишера-Тропша. Для традиционного способа модель допускала, что общий объем газа (свежего синтез-газа и рециркулированного газа) подается на дно барботажной колонны. Способ согласно настоящему изобретению был также смоделирован для варианта, когда весь поток рециркулированного газа подается на уровне 34%-ной отметки от вертикальной высоты слоя пульпы в барботажной колонне. В обоих случаях предполагалось наличие средств перераспределения глинистого раствора и чтобы их было достаточно для обеспечения однородной концентрации твердого катализатора в пульпе. Для обоих случаев концентрация твердого катализатора в пульпе предполагалась постоянной. Модели использовали свежий синтез-газ Н/СО с молярным отношением 1,925, соотношение подачи рециркулированного газа и свежего синтез-газа, равное 0,9, и постоянное нацеленное полное преобразование Н2, примерно равное 93%. В моделях такое преобразование достигалось за счет изменения интенсивности подачи свежего синтез-газа в шламовый реактор фиксированного размера, одинакового для обеих моделей. Выбор слегка субстехиометрической подачи свежего газа основывался на хорошо известном эффекте, когда субстехиометрическая подача свежего газа усиливает селективность высоких углеводородов и сдерживает селективность метана.
Пример 1.
В примере 1 модели допускали, что как фаза с пониженной концентрацией, так и плотная фаза пульпы находятся в пробковом режиме двухфазного потока.
Результаты математического моделирования с использованием моделей примера 1, показывают, что в способе по настоящему изобретению интенсивность подачи свежего синтез-газа увеличивается примерно на 16% по сравнению с традиционными способами. Таким образом, можно утверждать, что емкость переработки барботажной колонны в способе по настоящему изобретению на 16% больше, чем в традиционном способе. Селективность для C5+ продуктов практически не изменилась с учетом ожидаемого режима каталитической селективности для известных коммерческих катализаторов.
Способ по настоящему изобретению показал, что общая загрузка катализатора на 5% выше, чем в традиционном способе при одинаковой концентрации твердых частиц.
Это результат более низкой общей задержки газа, несмотря на более высокую интенсивность подачи газа. Производительность барботажной колонны в способе по настоящему изобретению также способствует повышению соотношения концентрации реагентов и Н2/СО в части пульпы, расположенной ниже уровня подачи рециркулированного газа.
Графики нормализованной задержки газа и нормализованного парциального давления отобранных газообразных компонентов как функции нормализованной высоты пульпы представлены на фиг.2 и 3 соответственно как для традиционного способа, так и для способа по настоящему изобретению.
Следует отметить, что уровень, на котором рециркулированный газ подается в барботажную колонну, в соответствии с настоящим изобретением, был выбран таким образом, чтобы парциальное давление воды в этой точке соответствовало парциальному давлению воды в выпускном отверстии. Можно быть уверенным, что высокое парциальное давление воды может снизить производительность катализатора.
На фиг.2 график А показывает задержку газа для традиционного способа, а график В показывает задержку газа для способа по настоящему изобретению. На фиг.3 график А показывает парциальное давление Н2 для способа по настоящему изобретению, а график В показывает парциальное давление H2 для традиционного способа, график С показывает парциальное давление СО для способа по настоящему изобретению, а график D показывает парциальное давление СО для традиционного способа, график Е показывает парциальное давление воды для способа по настоящему изобретению, а график F показывает парциальное давление воды для традиционного способа.
Пример 2.
В примере 2 предусматривалось, что фаза с пониженной концентрацией и плотная фаза пульпы хорошо смешаны. Результаты математического моделирования с использованием моделей примера 2 показывают, что способ по настоящему изобретению может обеспечить увеличение подачи свежего синтез-газа примерно на 4% по сравнению с традиционным способом. Емкость переработки барботажной колонны в способе по настоящему изобретению на 4% больше, чем в традиционном способе. Селективность для C5+ продуктов практически не изменилась. Способ по настоящему изобретению, смоделированный в примере 2, обеспечивает общую загрузку катализатора примерно на 4% больше, чем в традиционном способе при одинаковой концентрации твердых частиц. Это связано с более низкой общей задержкой газа в пульпе в традиционном способе, несмотря на большую интенсивность подачи газа.
На фиг.4 показан график нормализованной задержки газа как функции нормализованной высоты пульпы в примере 2. Гафик А показывает задержку газа для традиционного способа, а график В показывает задержку газа для способа по настоящему изобретению.
Действительный режим барботажной колонны в традиционном способе и в способе по настоящему изобретению должен находиться между предельными значениями, описанными в примерах 1 и 2, и будет зависеть от выбора емкости и монтажа средств перераспределения глинистого раствора, если таковые присутствуют.
Формула изобретения
1. Способ получения жидких и, не обязательно, газообразных углеводородных продуктов из газообразных реагентов, включающий
подачу на нижнем уровне газообразных реагентов и, не обязательно, части потока рециркулированного газа в вертикально расширяющийся слой пульпы, состоящей из глинистого раствора, содержащего частицы катализатора, взвешенные в суспендирующей жидкости внутри корпуса;
подачу, в виде дополнительного газового питания, по крайней мере, части потока рециркулированного газа в пульпу выше уровня, на котором подаются газообразные реагенты в пульпу и выше 20%-ной отметки высоты пульпы;
вступление в реакцию газообразных реагентов и рециркулированного газа, проходящих выше через пульпу с образованием жидких и, не обязательно, газообразных углеводородных продуктов, с частицами катализатора катализирующими реакцию преобразования газообразных реагентов в жидкий продукт и, не обязательно, в газообразные углеводородные продукты, а с помощью жидкого углеводородного продукта вместе с суспензией, образование жидкой фазы пульпы;
высвобождение любого газообразного углеводородного продукта и непрореагировавшего газообразного реагента, и непрореагировавшего рециркулированного газа из пульпы в свободное пространство над пульпой;
извлечение любого газообразного углеводородного продукта и непрореагировавшего газообразного реагента, и непрореагировавшего рециркулированного газа из свободного пространства над пульпой;
извлечение жидкой фазы из пульпы для поддержания пульпы на заданном уровне; и
переработку, по крайней мере, некоторых газообразных компонентов из свободного пространства над пульпой, для получения потока рециркулированного газа.
2. Способ по п.1, включающий проход глинистого раствора с верхнего уровня пульпы вниз на нижний уровень при помощи средств перераспределения глинистого раствора и, таким образом, перераспределение твердых частиц внутри пульпы.
3. Способ по п.1 или 2, включающий подачу дополнительного питающего газа на уровне, который расположен между примерно 20%-ной и 80%-ной отметками высоты пульпы.
4. Способ по п.1, в котором суспендирующая жидкость является жидким углеводородным продуктом.
5. Способ по п.1, в котором дополнительная подача газа может осуществляться со скоростью, составляющей, по крайней мере, 10% от скорости подачи всего объема газа, направляемого в пульпу.
6. Способ по п.1, в котором дополнительная подача газа осуществляется со скоростью, не превышающей 60% от скорости подачи всего объема газа, направляемого в пульпу.
7. Способ по п.1, в котором дополнительная подача газа осуществляется на уровне, расположенном выше 30%-ной отметки высоты пульпы.
8. Способ по п.1, в котором весь поток рециркулированного газа образует часть потока дополнительного газа.
9. Устройство для получения жидких и, не обязательно, газообразных углеводородных продуктов из газообразных компонентов, включающее:
корпус реактора, имеющий вертикально расширяющуюся зону для пульпы, в которой содержится пульпа, состоящая из глинистого раствора, содержащего частицы катализатора, взвешенные в суспендирующей жидкости, где частицы катализатора используются для катализирования реакции преобразования газообразных реагентов в жидкий продукт и, не обязательно, в газообразные углеводородные продукты;
первое впускное отверстие для газа, расположенное в нижней части корпуса в пределах зоны пульпы, для подачи в реактор газообразных реагентов;
второе впускное отверстие для газа в корпусе, расположенное в пределах зоны пульпы выше первого впускного отверстия, для подачи рециркулированного газа внутрь корпуса, при этом второе впускное отверстие в корпусе расположено выше нижнего отверстия на 20%-ной отметке от высоты зоны пульпы;
выпускное отверстие для газа в корпусе, расположенное выше зоны пульпы, для отвода газа из свободного пространства над пульпой выше зоны пульпы; и
выпускное отверстие для жидкости в корпусе, расположенное в пределах зоны пульпы, для отвода жидкого продукта из корпуса.
10. Устройство по п.9, дополнительно включающее средства перераспределения глинистого раствора, через которые глинистый раствор перераспределяется с верхнего уровня пульпы на его нижний уровень, и таким образом, перераспределяются твердые частицы катализатора в пульпе.
11. Устройство по п.9 или 10, в котором второе впускное отверстие для газа расположено на уровне между 20%-ной и 80%-ной отметками высоты зоны пульпы.
12. Устройство по любому из пп.9-11, в котором второе впускное отверстие для газа расположено на уровне выше нижней 30%-ной отметки высоты зоны пульпы.
13. Устройство по п.10, в котором средства перераспределения глинистого раствора включают в себя переточные трубки, при этом переточные трубки смонтированы, по крайней мере, в первом участке перетока и во втором участке перетока, при этом второй участок перетока располагается вертикально относительно первого участка перетока.
РИСУНКИ
|
|