|
|
(21), (22) Заявка: 2007103129/11, 26.01.2007
(24) Дата начала отсчета срока действия патента:
26.01.2007
(43) Дата публикации заявки: 10.08.2008
(46) Опубликовано: 27.12.2008
(56) Список документов, цитированных в отчете о поиске:
RU 2186003 С2, 27.07.2002. RU 2238217 С2, 20.10.2004. US 2006284003 А1, 21.12.2006. GB 375663 А, 30.06.1932. FR 2671534 А1, 17.07.1992. US 6421010 В1, 16.07.2002.
Адрес для переписки:
101000, Москва, Лучников пер., 4, стр.2, оф.36, ООО “Кард Патент”, пат.пов. Н.В.Поплевиной
|
(72) Автор(ы):
Козьяков Сергей Юрьевич (RU)
(73) Патентообладатель(и):
Козьяков Сергей Юрьевич (RU)
|
(54) КОМПЛЕКС ДЛЯ АВИАЦИОННЫХ ХИМИЧЕСКИХ РАБОТ
(57) Реферат:
Изобретение относится сельскому хозяйству, в частности к комплексу для авиационных химических работ. Комплекс для авиационных химических работ содержит автоматический летательный аппарат с размещенной на раме силовой установкой. Летательный аппарат выполнен в виде парашютного крыла, к которому на стропах подвешена гондола, являющаяся резервуаром жидкости для распыления. Гондола выполнена в виде жесткого крыла, создающего при движении дополнительную подъемную силу. Гондола расположена относительно точки подвеса таким образом, что при наличии груза имеет больший угол атаки набегающего воздушного потока, а при отсутствии меньший. При этом установленная на раме комплекса приемная сторона системы навигации оснащена высотомером, системой датчиков и обрабатывающим программно-управляющим устройством, а передающая сторона выполнена в виде излучателей, установленных по углам обрабатываемого участка, либо используется сигнал излучателей, установленных на спутниках глобальной системы навигации. Решение направлено на повышение производительности и точности внесения жидких веществ на обрабатываемый участок. 1 з.п. ф-лы, 1 ил.
Изобретение относится к сельскому хозяйству и может быть использовано для борьбы с сорняками на полях, защиты растений от вредителей и болезней, улучшения созревания, роста и урожайности сельскохозяйственных культур путем обработки их жидкими веществами методом опрыскивания.
Известен традиционный комплекс для авиационных химических работ, состоящий из управляемого пилотом летательного аппарата (самолета или вертолета), который производит опрыскивание, и сигнальщиков, подающих сигналы для ориентирования пилота при обработке участка. При приближении летательного аппарата на определенную дистанцию сигнальщики переходят в сторону необработанного участка (см. “Государственные санитарные правила авиационного применения пестицидов и агрохимикатов в народном хозяйстве Украины”, от 18 декабря 1996 г., пункт 5.32, выпущенные Министерством здравоохранения Украины).
Недостатком такого комплекса является наличие пилота в летательном аппарате, поскольку полет должен проводиться на сверхнизкой высоте – не более 3 м (пункт 5.16 указанных Правил), это является опасным для пилота даже в светлое время суток, а ночью полеты просто запрещены. Кроме того, и пилот, и сигнальщики должны пользоваться средствами защиты кожи и органов дыхания. Работа этого комплекса трудоемка в использовании и экологически опасна для людей.
Наиболее близким техническим решением является аэростатная система для внесения жидких и твердых веществ на поверхность земли, содержащая беспилотный авиационный аппарат в виде подъемного блока, состоящий из аэростата сигарообразной формы, и несущего блока, на площадке которого установлен блок распыления автоматического типа. Блок дистанционного управления, состоящий из передающей и приемной стороны, позволяет осуществлять беспилотное управление полетом, работой блоков аэростатной системы для внесения жидких веществ на поверхность земли. Приемная сторона дистанционного блока расположена на площадке несущего блока, а передающая сторона находится на земле на транспортном средстве под контролем оператора (см. описание изобретения к патенту РФ №2186003, МПК 7 В64D 1/18, заявл. 10.04.2000, опубл. 27.07.2002).
Недостатком данной системы является использование оператора непосредственно на участке, подвергающемся опрыскиванию ядохимикатами, отрицательно влияющее на его здоровье, использование в качестве беспилотного авиационного аппарата – аэростата, который, подвергаясь воздействиям воздушных потоков, может отнести в другую сторону, а также не позволит равномерно распылять жидкие вещества.
Технической задачей предлагаемого изобретения является устранение указанных недостатков созданием комплекса для авиационных химических работ, позволяющего повысить производительность и качество труда, а именно точность внесения жидких веществ (ядохимикатов), равномерное и последовательное их распределения по обрабатываемой поверхности участка и обеспечение экологической и санитарно-гигиенической безопасности.
Поставленная задача достигается тем, что в комплексе для авиационных химических работ автоматический летательный аппарат выполнен в виде парашютного крыла, к которому на стропах подвешена гондола, являющаяся резервуаром жидкости для распыления, выполненная в виде жесткого крыла, создающего при движении дополнительную подъемную силу. Гондола расположена таким образом относительно точки подвеса, что при наличии груза имеет больший угол атаки набегающего воздушного потока, а при отсутствии меньший. При этом установленная на раме комплекса приемная сторона системы навигации оснащена высотомером, системой датчиков и программно-управляющим устройством, а передающая сторона выполнена в виде излучателей, установленных по углам обрабатываемого участка, либо используется сигнал излучателей, установленных на спутниках глобальной системы навигации.
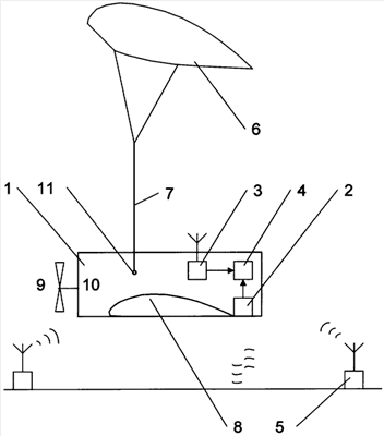
Сущность изобретения поясняется чертежом, на котором показана схема комплекса.
Комплекс для авиационных химических работ включает в себя автоматический летательный аппарат 1, оснащенный приемной стороной системы навигации, состоящей из высотомера 2, работающего по принципу локации, и системой датчиков 3, обеспечивающих круговой обзор земельного участка, программно-управляющего устройства. Передающая сторона системы навигации выполнена в виде излучателей 5, установленных по углам обрабатываемого участка. Можно также использовать в качестве передающей стороны сигнал излучателей, установленных на спутниках глобальной системы навигации.
В качестве автоматического летательного аппарата используется параплан – сверхлегкий летательный аппарат с парашютным крылом. Такой аппарат имеет очень маленький радиус разворота, что позволяет сразу после разворота начать движение в обратном направлении, при этом между полосами опрыскивания не возникает промежутков.
Летательный аппарат имеет основную несущую систему в виде парашютного крыла 6, к которому на стропах 7 подвешена гондола 8, являющаяся резервуаром жидкости для распыления с прикрепленной рамой 9, на которой размещены силовая установка 10, состоящая из мотора и пропеллера, высотомер с системой датчиков и программно-управляющее устройство. При этом гондола выполнена в виде жесткого крыла, создающего при движении дополнительную подъемную силу. Гондола расположена таким образом относительно точки подвеса 11, что при наличии груза (жидкости для распыления) имеет больший угол атаки набегающего воздушного потока, а при отсутствии малый, близкий к углу атаки при нулевой подъемной силе.
Комплекс работает следующим образом.
Летательный аппарат 1 летает между противоположными краями обрабатываемого участка и производит опрыскивание. Высота полета (расстояние до земли) отслеживается высотомером 2, который передает сигнал на программно-управляющее устройство 4. По углам обрабатываемого участка устанавливаются излучатели 5, сигнал от которых улавливается системой датчиков 3 и обрабатывается программно-управляющим устройством 4. Траектория полета летательного аппарата задается программой, вводимой в программно-управляющее устройство 4 до взлета, а местоположение аппарата над участком определяется на основании углов пеленга излучателей 5 относительно аппарата 1. Управляющие воздействия, вырабатываемые программно-управляющим устройством, призваны поддерживать аппарат на заданной траектории полета.
Летательный аппарат 1 работает следующим образом.
Силовая установка 10 создает горизонтальную тягу, парашютное крыло 6 создает основную подъемную силу и посредством строп 7 передает ее к точке подвеса 11 гондолы 8. Гондола 8 с грузом создает дополнительную подъемную силу, величина которой зависит от угла атаки набегающего воздушного потока. Вес груза, мотора, тяга пропеллера, подъемная сила и сила сопротивления гондолы взаимно уравновешены. При уменьшении веса груза гондола 8 поворачивается относительно точки подвеса 11 таким образом, что угол атаки уменьшается и при полном отсутствии груза становится близок к углу атаки при нулевой подъемной силе. Выполнение гондолы в виде жесткого крыла позволяет повысить взлетный вес летательного аппарата, а изменение подъемной силы при уменьшении веса груза позволяет поддерживать более постоянную нагрузку на парашютное крыло и характеристики его работы.
Комплекс позволяет проводить работы и в дневное, и в ночное время. Ночью даже лучше, поскольку атмосфера в это время спокойнее. Круглосуточная работа позволяет проводить опрыскивание в более сжатые сроки, что важно с точки зрения технологии агротехнических работ. Не требуется присутствия людей, что выявляет безопасность комплекса. Обеспечивается повышение производительности обработки с одновременным улучшением экологических показателей.
Формула изобретения
1. Комплекс для авиационных химических работ, содержащий автоматический летательный аппарат, с размещенной на раме силовой установкой, и систему навигации, состоящую из передающей и приемной стороны, отличающийся тем, что автоматический летательный аппарат выполнен в виде парашютного крыла, к которому на стропах подвешена гондола, являющаяся резервуаром жидкости для распыления, выполненная в виде жесткого крыла и расположенная таким образом относительно точки подвеса, что при наличии груза имеет больший угол атаки набегающего воздушного потока, а при отсутствии меньший, при этом установленная на раме приемная сторона оснащена высотомером, системой датчиков и программно-управляющим устройством, а передающая сторона выполнена в виде излучателей, установленных по углам обрабатываемого участка.
2. Комплекс по п.1, отличающийся тем, что используется сигнал излучателей, установленных на спутниках глобальной системы навигации.
РИСУНКИ
MM4A – Досрочное прекращение действия патента СССР или патента Российской Федерации на изобретение из-за неуплаты в установленный срок пошлины за поддержание патента в силе
Дата прекращения действия патента: 27.01.2009
Извещение опубликовано: 27.06.2010 БИ: 18/2010
NF4A – Восстановление действия патента СССР или патента Российской Федерации на изобретение
Дата, с которой действие патента восстановлено: 20.08.2010
Извещение опубликовано: 20.08.2010 БИ: 23/2010
|
|