|
|
(21), (22) Заявка: 2005127963/11, 01.03.2004
(24) Дата начала отсчета срока действия патента:
01.03.2004
(30) Конвенционный приоритет:
15.03.2003 GB 0305992.0
(43) Дата публикации заявки: 10.03.2006
(46) Опубликовано: 27.12.2008
(56) Список документов, цитированных в отчете о поиске:
US 5364117 А, 15.11.1994. US 5037121 А, 06.08.1991. US 6158759 А, 12.12.2000. FR 1229355 A, 06.09.1960. DE 1932268 Al, 08.01.1970. US 1668079 A, 01.05.1928. FR 979854 Al, 04.05.1951.
(85) Дата перевода заявки PCT на национальную фазу:
17.10.2005
(86) Заявка PCT:
GB 2004/000853 (01.03.2004)
(87) Публикация PCT:
WO 2004/083019 (30.09.2004)
Адрес для переписки:
191186, Санкт-Петербург, а/я 230, “АРС-ПАТЕНТ”, пат.пов. М.В.Хмаре, рег. № 771
|
(72) Автор(ы):
ХЭСЛАМ Джеймс Генри (GB)
(73) Патентообладатель(и):
ХЭСЛАМ Джеймс Генри (GB)
|
(54) СЦЕПНОЕ УСТРОЙСТВО ДЛЯ ПРИЦЕПА
(57) Реферат:
Изобретения относятся к прицепу, способу осуществления сцепки прицепа с тягачом и сцепному устройству. Сцепное устройство содержит средства для установки на прицеп с возможностью шарнирного разворота, по меньшей мере, одного левого колеса и, по меньшей мере, одного правого колеса, независимые средства обеспечения шарнирного соединения прицепа с тягачом, средства осуществления дифференциального разворота колес и прицепа относительно тягача в процессе осуществления тягачом поворота. Ограничительное средство выполнено с возможностью ограничения величины разворота колес по отношению к прицепу при осуществлении поворота тягачом в сравнении с величиной разворота колес по отношению к прицепу в отсутствие ограничительного средства. Ограничительное средство содержит следящее звено с передним концом, соединенным с указанными средствами для установки колес на прицеп, и задним концом. Следящее звено включает выступающий сцепной шар на заднем конце или вблизи него. Ограничительное средство дополнительно включает направляющую скольжения, выполненную с возможностью соединения с тягачом и устанавливаемую параллельно или с наклоном относительно шасси тягача и прицепа. Сцепной шар установлен с возможностью перемещения в процессе движения тягача по направляющей скольжения ограничительного средства. Достигается обеспечение плавного и безопасного поворота, а также исключение эффекта складывания. 3 н. и 14 з.п. ф-лы, 18 ил.
Область техники
Настоящее изобретение относится к сцепным устройствам для присоединения прицепа и к способу осуществления сцепки прицепов с тягачом.
Уровень техники
Известны различные варианты сцепки тягача (тягового транспортного средства) с прицепом (трейлером), таким как грузовой фургон или платформа, когда прицеп прицепляется к тягачу с возможностью шарнирного поворота. Шарнирное соединение необходимо для того, чтобы при поворотах тягача налево или направо прицеп также мог поворачиваться соответственно налево или направо. Такое решение позволяет предотвратить излишнюю нагрузку на колеса и/или оси прицепа и облегчить осуществление плавного и безопасного поворота тягача и прицепа.
Существуют различные типы прицепов, которые могут сцепляться с тягачами. В частности, грузовые шасси обычно имеют сцепное отверстие, в которое может вставляться сцепной штырь (шкворень) грузового прицепа и вокруг оси которого прицеп может разворачиваться при поворотах грузового шасси. При этом прицеп может иметь центральную ось или оси, так что прицеп (буксируемое транспортное средство), будучи сцепленным с тягачом, может быть точно сбалансирован относительно этой центральной оси. Такая конфигурация позволяет обеспечить хорошие поворотные характеристики тягача и прицепа как при движении вперед, так и на заднем ходу; однако она относительно нестабильна. Поэтому грузы, находящиеся в прицепе, должны быть хорошо сбалансированы для того, чтобы не возникло перегрузки в передней или задней частях прицепа, которая может создать нестабильность сцепки тягач-прицеп и ухудшить буксировочные характеристики тягача.
У прицепов второго типа имеются передняя и задняя оси, благодаря чему прицеп адекватно сбалансирован независимо от ориентации загруженных в него предметов. У прицепов такого типа может иметься дышло в форме буквы А (“А-образное дышло”), прикрепленное к передней части прицепа. В вершине дышла находится сцепной (тяговый) штырь или сцепное отверстие, который (которое) взаимодействует соответственно со сцепным отверстием или сцепным штырем тягача. Передняя ось прицепа данного типа содержит поворотную плиту, на которую устанавливается сама передняя ось. Благодаря этому передняя ось может свободно разворачиваться вместе с поворотной плитой в случае поворота грузового шасси или тягача. Такая система является удовлетворительной для движения вперед и для управления тягачом. Однако при изменении направления движения на противоположное (например, при въезде задним ходом на грузовой двор) возникают определенные проблемы.
Поскольку поворотная плита имеет возможность свободного разворота, то, когда тягач начинает двигаться задним ходом и одновременно осуществляет левый или правый поворот, прицеп имеет тенденцию к избыточному развороту вокруг оси шарнирного соединения между прицепом и тягачом. В результате колеса, связанные с поворотной плитой, смещаются в направлении тягача, создавая эффект “складывания” сцепки тягач-прицеп. Очевидно, это может приводить к опасным последствиям, включая повреждение тягача и/или прицепа.
Раскрытие изобретения
В связи с изложенным представляется желательным разработать сцепное устройство для присоединения прицепа, которое позволяет шарнирно сцеплять прицеп с тягачом и безопасно осуществлять движение тягача вперед и назад, а также осуществлять управление его поворотом.
Представляется, кроме того, желательным создать сцепное устройство для присоединения прицепа, которое позволяет ориентировать, по меньшей мере, одну группу левых и правых колес на буксируемом средстве (прицепе) в оптимальном направлении относительно ориентации тягача в то время, как тягач в процессе движения осуществляет поворот влево или вправо.
Таким образом, задача, на решение которой направлены предпочтительные варианты настоящего изобретения, заключается в том, чтобы преодолеть или уменьшить, по меньшей мере, один из недостатков, присущих уровню техники.
В соответствии с первым аспектом изобретения предлагается сцепное устройство для присоединения прицепа, содержащее средства для установки на прицеп, с возможностью шарнирного разворота, по меньшей мере, одного левого колеса и, по меньшей мере, одного правого колеса, независимые средства обеспечения шарнирного соединения прицепа с тягачом, средства осуществления дифференциального (т.е. неодинакового) разворота указанных колес и прицепа относительно тягача в процессе осуществления тягачом поворота, ограничительное средство, выполненное с возможностью ограничивать величину разворота колес по отношению к прицепу при осуществлении поворота тягачом, в сравнении с величиной разворота колес по отношению к прицепу в отсутствие ограничительного средства, причем ограничительное средство содержит следящее звено с передним (ближним) концом, соединенным с указанными средствами для установки колес на прицеп, и задним (свободным) концом, а следящее звено включает выступающий сцепной шар на заднем конце или вблизи него, при этом ограничительное средство дополнительно включает направляющую скольжения, выполненную с возможностью соединения с тягачом и устанавливаемую параллельно или с наклоном относительно шасси тягача и прицепа, а сцепной шар установлен с возможностью перемещения в процессе движения тягача по направляющей скольжения ограничительного средства.
Под “прицепом” в контексте изобретения понимается любое колесное транспортное средство или колесное устройство, которое может буксироваться другим транспортным средством. Примерами прицепов являются фургон, платформа, караван, электрогенератор. Наиболее типичным примером прицепа является фургон.
Кроме того, в предпочтительном варианте осуществления прицеп содержит шасси, с которым предпочтительно связаны задние колеса, выполненные предпочтительно без возможности разворота. При этом сцепное устройство предпочтительно содержит передние разворачивающиеся колеса, устанавливаемые на прицепе.
Колеса, устанавливаемые на прицепе с возможностью разворота (т.е. разворачивающиеся колеса), могут быть связаны с осью, которая установлена на шарнирно разворачивающемся компоненте, таком как поворотная плита. Указанная ось может быть расположена в центральной части поворотной плиты, однако желательно сместить ее к задней части указанной плиты, т.е. в направлении задней части прицепа, на котором эта плита установлена. Данная ось и/или поворотная плита могут составлять часть прицепа или сцепного устройства.
В альтернативном варианте разворачивающиеся колеса могут быть связаны с шарнирно разворачивающимися штырями, которые предпочтительно могут быть присоединены к шасси или к подрамнику прицепа.
Средства обеспечения шарнирного соединения прицепа с тягачом содержат средства для приложения к средствам обеспечения шарнирного соединения усилия в направлении тягача. Кроме того, указанные средства обеспечения шарнирного соединения прицепа с тягачом предпочтительно содержат дышло прицепа.
Дышло прицепа в предпочтительном варианте выполнения имеет на своем свободном конце охватывающую или охватываемую деталь, выполненную с возможностью взаимодействия с соответствующей ей охватываемой или охватывающей деталью на тягаче.
Дышло прицепа может содержать средство, предотвращающее падение на землю переднего (т.е. свободного) конца дышла, когда оно не присоединено к тягачу. Данное средство может представлять собой поджимающее средство, выполненное с возможностью воздействовать на передний конец дышла прицепа, отводя его от земли. Поджимающее средство, которое предотвращает передний конец дышла прицепа от падения на землю, одновременно может выполнять функцию средства, предназначенного для обеспечения силового замыкания между средством соединения и тягачом, например, в случае, когда дышло прицепа присоединяется к нижней поверхности тягача. Поджимающее средство может содержать любые подходящие упругие элементы, например пружину.
Разворачивающиеся колеса предпочтительно выполнены с возможностью разворота в направлении поворота, совершаемого тягачом. Благодаря этому разворачивающиеся колеса предпочтительно следуют за дугой поворота, совершаемого тягачом в процессе его движения.
Желательно также, чтобы ограничительное средство содержало средство обеспечения, по существу, оптимальной ориентации разворачивающихся колес прицепа по отношению к ориентации тягача при осуществлении им поворота.
Использование следящего компонента, находящегося в полости (канале) направляющей скольжения, позволяет преобразовать, по меньшей мере, часть взаимного углового перемещения тягача и прицепа в линейное перемещение следящего компонента внутри данной полости. В результате угол между тягачом и прицепом будет превышать на заданную угловую величину угол разворота разворачивающихся колес по отношению к передней части прицепа.
Ограничительное средство может содержать телескопический элемент. В данном варианте ограничение разворота разворачивающихся колес будет определяться минимальной или максимальной длиной этого телескопического элемента.
Далее, устройство по изобретению может дополнительно содержать вспомогательное ограничительное средство, выполненное с возможностью соединения с прицепом и ограничивающее перемещение разворачивающихся колес вверх и вниз при осуществлении прицепом поворота.
Данное вспомогательное ограничительное средство может содержать один или более буферных компонентов, взаимодействующих с каждым из разворачивающихся колес и выполненных выступающими из прицепа в сторону земли смежно с передней осью или с передними осями прицепа. При этом буферный компонент может быть расположен перед единственной или каждой передней осью или же позади единственной или каждой передней оси. Единственный или каждый буферный компонент может быть выполнен из любого подходящего для этого материала, например из резины.
Благодаря такому решению на высоких скоростях, когда единственная или каждая передняя ось расположена перпендикулярно направлению движения, эта ось может свободно перемещаться вверх и вниз в соответствии с характеристиками подвески. На меньших скоростях в случае, когда передняя ось или передние оси разворачиваются при осуществлении поворота прицепом, часть единственной или каждой оси будет находиться под соответствующим буферным элементом. Тем самым будет предотвращено ее смещение вверх к нижней стороне прицепа на полный диапазон такого смещения.
В соответствии со вторым аспектом настоящего изобретения предлагается прицеп, содержащий, по меньшей мере, одно разворачивающееся переднее левое и одно разворачивающееся переднее правое колеса, а также сцепное устройство для присоединения прицепа в соответствии с первым аспектом настоящего изобретения.
В соответствии с третьим аспектом изобретения предлагается способ осуществления сцепки прицепа с тягачом, включающий следующие операции:
(a) обеспечивают прицеп, тягач и сцепное устройство для присоединения прицепа в соответствии с первым аспектом настоящего изобретения;
(b) подсоединяют сцепное устройство к прицепу; и
(c) сцепляют прицеп с тягачом посредством сцепного устройства.
При этом операции (а), (b) и (с) могут быть выполнены в любом удобном порядке.
Средства для установки на прицеп колес с возможностью их шарнирного разворота, независимые средства обеспечения шарнирного соединения прицепа с тягачом и средства осуществления дифференциального разворота колес и прицепа предпочтительно выполнены так, как это было описано применительно к первому и второму аспектам изобретения.
Краткое описание чертежей
Для того чтобы сделать изобретение более понятным и объяснить возможности его практического использования, далее, только в качестве примеров, со ссылками на прилагаемые чертежи будут описаны различные варианты осуществления изобретения.
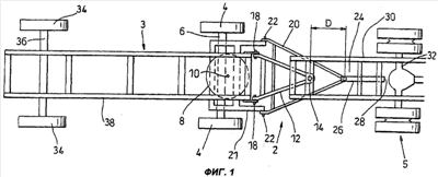
Фиг.1 иллюстрирует, на виде в плане, первый вариант сцепного устройства для присоединения прицепа по настоящему изобретению, связанного как с прицепом, так и с тягачом.
Фиг.1А иллюстрирует, на виде сбоку, сцепное устройство по фиг.1.
На фиг.1В представлен вид сзади, в сечении, частей ограничительного средства сцепного устройства по фиг.1 и 1А.
Фиг.2А-2С схематично иллюстрируют, на виде в плане, движение прицепа и его разворачивающихся колес, когда прицеп сцеплен с тягачом с помощью сцепного устройства по изобретению.
Фиг.3 иллюстрирует, на виде в плане, третий вариант сцепного устройства по настоящему изобретению, связанного с тягачом.
Фиг.4А иллюстрирует, на виде сбоку, в сечении, вспомогательное ограничительное средство сцепного устройства по изобретению.
На фиг.4В представлен частичный вид в плане, в сечении, вспомогательного ограничительного средства по фиг.4А, связанного с прицепом в виде платформы.
Фиг.4С иллюстрирует, на виде сбоку, вспомогательное ограничительное средство по фиг.4А и 4В.
Фиг.4D иллюстрирует, на виде сверху, часть вспомогательного ограничительного средства по фиг.4А и 4В.
На фиг.4Е, на виде сверху, показан прицеп в виде платформы, изображенный на фиг.4А и 4 В, в котором разворачивающиеся колеса развернуты относительно прицепа.
На фиг.4F, на частичном виде сбоку, изображен прицеп, показанный на фиг.4А, 4В и 4Е, в котором разворот оси разворачивающихся колес ограничен вспомогательным ограничительным средством устройства по изобретению.
Фиг.5 иллюстрирует, на виде сверху, четвертый вариант сцепного устройства по изобретению, связанного с прицепом и тягачом.
Фиг.6 иллюстрирует вариант дышла, связанного с тягачом и предназначенного для использования в сцепном устройстве по изобретению.
Фиг.7 иллюстрирует, на виде в плане, пятый вариант сцепного устройства по изобретению, связанного с прицепом и тягачом.
На фиг.7А вариант сцепного устройства по фиг.7 показан на виде сбоку.
Фиг.8 схематично иллюстрирует, на виде в плане, сцепное устройство по фиг.7 и 7А, связанное с прицепом и тягачом, причем прицеп и тягач развернуты относительно друг друга вокруг оси сцепного устройства.
Осуществление изобретения
На фиг.1, 1А и 1В представлен первый вариант сцепного устройства 2 по изобретению. Сцепное устройство содержит средства для установки передних правого и левого колес с возможностью их разворота на шасси 38 прицепа 3. Эти средства представляют собой поворотную плиту 8 и установленную на нее ось 6, на каждом конце которой установлено по колесу 4. Поворотная плита 8 установлена на единственной поворотной опоре 10, которая может быть присоединена к шасси 38 прицепа. Сцепное устройство 2 дополнительно содержит средства обеспечения шарнирного соединения (сцепки) прицепа с тягачом 5. Это средство представляет собой дышло 12 прицепа, которому придан профиль буквы А (“А-образное дышло”) и которое на своем свободном заднем (т.е. обращенном к прицепу) конце соединено с шасси 38 прицепа посредством петель 18. Вершина А-образного дышла 12 может быть присоединена к тягачу (тяговому транспортному средству) 5 с помощью сцепного отверстия 14, в которое может вводиться сцепной (тяговый) штырь, расположенный на заднем конце шасси 30 тягача 5 или вблизи этого конца.
Сцепное устройство 2 прицепа дополнительно содержит средство осуществления дифференциального (неодинакового) шарнирного поворота колес 4 прицепа и прицепа 3 при осуществлении поворота тягача в процессе его движения. Это средство выполнено в виде А-образного следящего звена 20, соединенного с направляющей рамой 21. Направляющая рама, в свою очередь, соединена с поворотной плитой 8 сцепного устройства 2. А-образное следящее звено 20 соединено с направляющей рамой 21 посредством петель 22, расположенных на заднем конце следящего звена. В вершине 25 А-образного следящего звена 20 установлен сцепной шар 24, по существу, сферической формы. В состав средства осуществления дифференциального шарнирного поворота входит также направляющая 26 скольжения, выполненная в виде стержня с полостью, по существу, цилиндрической формы, образующей открытый продольный канал. Направляющая 26 скольжения имеет закрытый конец 28. Размеры полости внутри направляющей 26 скольжения выбраны таким образом, чтобы вставленный в нее сцепной шар 24, закрепленный на А-образном следящем звене 20, мог скользить вдоль направляющей 26 скольжения вплоть до ее закрытого конца 28.
При установке сцепного устройства 2 поворотную плиту 8 присоединяют к шасси 38 прицепа 3 на его переднем конце. Прицеп 3 на своем заднем конце имеет заднюю ось 36, на которую установлены задние левое и правое колеса 34. Направляющая 26 скольжения находится в задней части шасси 30 тягача 5, так что ее открытый конец обращен к заднему краю тягача 5. Направляющая 26 скольжения закреплена непосредственно позади задней оси 32 тягача.
Использование сцепного устройства 2 по фиг.1 далее будет описано со ссылками на фиг.1, 1А, 1В и фиг.2А-2С.Направляющая 26 скольжения с помощью соответствующих крепежных средств прикреплена к нижней стороне задней части шасси 30 тягача. В альтернативном варианте применительно к новым конструкциям тягачей направляющая 26 скольжения может быть выполнена как интегральная часть шасси 30. Направляющая рама 21 прикреплена к нижней стороне передней части прицепа 3 таким образом, что поворотная плита 8 расположена под шасси 38 и имеет возможность шарнирного разворота. В результате передние левое и правое колеса 4 связаны с шасси 38 с возможностью разворота относительного него. Дышло 12 прицепа сцепного устройства 2 присоединяют к шасси 30 тягача 5 за счет того, что сцепное отверстие 14 дышла 12 прицепа состыковывают со сцепным штырем 15, прикрепленным к шасси 30 тягача. Поскольку дышло 12 прицепа шарнирно соединено с прицепом посредством петель 18, в случае, когда тягач 5 с прицепом 3 движутся по неровной поверхности, разница в положениях тягача 5 и прицепа 3 по высоте компенсируется шарнирным поворотом дышла 12 прицепа на петлях 18.
Затем следящее звено 20 присоединяют к направляющей 26 скольжения, находящейся на шасси 30 тягача 5 за счет ввода сцепного шара 24 в полость направляющей 26 скольжения с последующим перемещением тягача задним ходом в направлении сцепного шара 24 и манипулированием сцепным шаром 24 с помощью любых подходящих средств. В составе направляющей 26 скольжения имеется также предохранительное средство (не изображено) для предотвращения расцепления сцепного шара. Данное средство может быть расположено вблизи открытого конца направляющей 26 скольжения. Благодаря этому сцепной шар, находящийся в полости направляющей 26 скольжения, не может быть выведен через ее открытый конец до тех пор, пока не будет активировано средство расцепки. Как это должно быть понятно специалистам, в качестве средства предотвращения расцепления может быть использовано любое подходящее средство данного назначения.
Таким образом, сцепное устройство 2 оказывается соединеннным как с прицепом 3, так и с тягачом 5 для того, чтобы обеспечить их взаимную сцепку.
Поскольку направляющая 26 скольжения имеет конечную длину, сцепной шар 24 во время движения прицепа 3 и тягача 5 может со скольжением перемещаться по ней в пределах конечного расстояния.
Когда тягач 5 движется по прямой, сцепной шар 24 будет оттянут назад к открытому заднему концу направляющей 26 скольжения. Однако его отделению от данной направляющей через ее открытый конец будет препятствовать средство предотвращения расцепления (не изображено). Этому будет препятствовать также ограниченность смещения сцепного шара назад, обеспеченная специальной конструкцией соединения дышла 12 прицепа и сцепного штыря 15. Когда тягач 5 в процессе буксирования прицепа поворачивает направо (далее для упрощения описания будет рассматриваться только поворот тягача направо, хотя все сказанное далее применимо и к повороту налево), происходит его разворот относительно прицепа вокруг оси сцепного отверстия 14 и сцепного штыря 15, сцепляющих прицеп 3 с тягачом 5, с образованием угла b, как это показано на фиг.2А-2С. В процессе поворота тягача 5 угол b увеличивается и, соответственно, увеличивается угол, образованный осевой линией дышла прицепа и шасси прицепа с осевой линией шасси и колес тягача. При дальнейшем повороте тягача 5 направо шасси 30 тягача 5 смещается относительно следящего звена, преобразуя угловое перемещение в линейное и тем самым побуждая сцепной шар 24 линейно перемещаться вперед внутри направляющей 26 скольжения к ее закрытому концу 28. Поскольку сцепной шар 24 имеет возможность перемещаться со скольжением внутри направляющей 26, его перемещение (и, следовательно, линейное перемещение следящего звена 20) уменьшает величину разворота колес 4. Таким образом, разворот колес 4 по отношению к тягачу всегда будет ограничен. В какой-то момент сцепной шар 24 упрется в закрытый конец 28 направляющей 26 скольжения, так что его дальнейшее перемещение станет невозможным.
Фиг.2А-2С иллюстрируют различие между углом разворота разворачивающихся колес 4 и следящего звена 20 сцепного устройства 2 относительно направления оси шасси 30 тягача при осуществлении тягачом 5 правого поворота и углом между дышлом 12 прицепа и осью шасси 30 тягача 5 в процессе указанного поворота. Можно видеть, что при выполнении правого поворота передние колеса 4 всегда разворачиваются относительно тягача 5 на меньший угол по сравнению с углом между шасси 38 прицепа 3 и тягачом 5.
Таким образом, в случае переключения тягача 5 на задний ход наличие ограничения на разворот колес 4 предотвращает опасность их чрезмерного разворота, который мог бы привести к “складыванию” сцепки из прицепа 3 и тягача 5. Следовательно, сцепное устройство по изобретению облегчает безопасное и эффективное осуществление поворота, особенно поворота прицепа, сцепленного с тягачом, на заднем ходу.
Следящее звено 20 с помощью соответствующего упругого поджимающего средства (например, пружины) поджато вверх для того, чтобы при расцепке тягача 5 и прицепа 3 удержать следящее звено 20 от падения на землю.
Упругое поджимающее средство облегчает присоединение следящего звена 20 к направляющей 26 скольжения при сцепке и расцепке. Полость в направляющей 26 может быть выполнена с раструбом в направлении ее открытого конца для того, чтобы облегчить соединение сцепного шара 24 с направляющей 26 скольжения.
Расстояние (обозначенное как D на фиг.1) между точкой соединения дышла 12 прицепа с шасси 30 тягача 5 и зоной соединения сцепного шара 24 с направляющей 26 скольжения при нахождении сцепного шара 24 у ее заднего открытого конца может быть увеличено или уменьшено с целью получения различных характеристик слежения, т.е. значений угла взаимного разворота тягача и прицепа при поворотах тягача. Кроме того, с целью изменения характеристик слежения направляющая 26 скольжения может устанавливаться с наклоном относительно шасси 30 тягача 5.
Ось 6, установленная на поворотной плите 8 сцепного устройства 2, смещена к задней части этой плиты, что облегчает центрирование прицепа во время линейного перемещения тягача 5 и прицепа 3 вперед. Кроме того, достоинством такого расположения является то, что, когда транспортное средство поворачивает налево или направо, ось, соответственно, смещается налево или направо, что придает прицепу 3 большую стабильность.
Тем не менее, ось 6 может быть установлена и на центральную часть поворотной плиты 8.
На фиг.3 представлен частичный вид второго предпочтительного варианта сцепного устройства 2 по изобретению. Данный вариант аналогичен варианту по фиг.1 и 1А, причем сходные детали имеют те же цифровые обозначения. Средство осуществления дифференциального шарнирного поворота прицепа в варианте по фиг.3 также содержит следящее звено 20. Однако в этом варианте данное звено прикреплено не к поворотной плите, а к штырям 48, обеспечивающим возможность разворота передних левого и правого колес 4. Следящее звено 20 имеет на своем переднем конце сцепной шар 24, выполненный с возможностью взаимодействия с направляющей скольжения, как это было описано со ссылкой на фиг.1 и 1А. На другом конце следящего звена 20 имеется шарнир 51, связанный с вспомогательным следящим звеном 52, на концах которого имеются дополнительные шарнирные гнезда 54, в которые введены штыри связующих звеньев 56. Вариант, показанный на фиг.3, функционирует аналогично вариантам по фиг.1, 1А. Единственное его отличие заключается в том, что, когда тягач поворачивается налево или направо, происходит соответствующий шарнирный поворот следящего звена 20 вокруг оси 50 шарнира 51, причем этот шарнирный поворот преобразуется в поперечное перемещение вспомогательного следящего звена 52. Это, в свою очередь, вызывает шарнирный поворот связующих звеньев 56, что приводит к развороту штырей 48 и к соответствующему развороту передних левого и правого колес 4.
Далее будут рассмотрены фиг.4A-4F. Сцепное устройство 2 в вариантах, представленных на фиг.1, 1А, и 3, или в любых других вариантах с применением поворотной плиты может дополнительно содержать вспомогательные ограничительные средства в форме буферных компонентов 40, показанных на фиг.4А-4F. При работе устройства по изобретению эти компоненты расположены смежно с поворотной плитой 8. Буферные компоненты 40 выполнены в форме частей тороидов и содержат криволинейные элементы 42, расположенные на противоположных концах оси 6 сцепного устройства 2, показанного на фиг.1, 1А и 3. Буферные компоненты 40 содержат также сжимаемый материал 41, расположенный между криволинейными элементами 42. Этот материал 41 находится непосредственно над осью 6, когда она ориентирована перпендикулярно шасси 38 прицепа при движении прицепа 3 вперед. При использовании такой конструкции, когда прицеп 3 движется вперед, ось 6 благодаря применению соответствующей подвески может смещаться вверх и вниз относительно шасси 38 прицепа и, если, например, прицеп 3 переезжает через какую-то неровность, ось 6 может упираться в сжимаемый материал 41, входящий в состав буферных компонентов 40, и сжимать его, предотвращая тем самым ось 6 или шасси 38 от повреждений.
Когда прицеп 3 поворачивает, т.е. когда колеса 4 разворачиваются относительно поворотной плиты 8, концы оси 6 движутся вблизи криволинейных элементов 42 буферных компонентов 40, находясь под данными элементами. При этом, как видно из фиг.5Е и 5F, благодаря тому, что криволинейные элементы 42 выступают вниз из центральной зоны буферных компонентов 40, в которой находится сжимаемый материал 41, диапазон смещения оси 6 вверх ограничен. Данное ограничение на смещение оси 6 вверх действует при поворотах прицепа и колес 4 на низких скоростях. При движении на низких скоростях полного смещения оси 6 относительно прицепа 3 не требуется. Данное ограничение начинает действовать, когда разворот передней оси прицепа становится достаточно большим для того, чтобы она располагалась под криволинейными элементами 42, которые и ограничивают смещения вверх. Буферные компоненты 40 прикреплены к шасси 38, а не к направляющей раме 21 сцепного устройства 2. В качестве альтернативы буферные компоненты 40 вместо шасси 38 прицепа 3 могут быть установлены на саму ось 6.
Такая конструкция позволяет разместить передние колеса 4 прицепа между двумя поперечными балками 39 прицепа 3 и тем самым добиться минимально возможной высоты прицепа.
На фиг.5 представлен еще один предпочтительный вариант сцепного устройства 2 по изобретению. Данный вариант аналогичен сцепному устройству 2 по фиг.1 и 1А. Сходным деталям даны те же цифровые обозначения. В данном варианте используется дышло 65, шарнирно прикрепленное к шасси 30 тягача 5, а не к шасси 38 прицепа 3 с помощью петель 66, расположенных на концах ветвей А-образного дышла 65. Вершина А-образного дышла содержит сцепной штырь 68, который может вводиться в сцепное отверстие 69 на шасси прицепа 3. Вариант сцепного устройства, показанный на фиг.5, функционирует, по существу, так же, как и вариант, описанный со ссылками на фиг.1 и 1А. Сцепное устройство 2 по фиг.5 наиболее целесообразно использовать с тягачами, имеющими короткий задний свес.
На фиг.6 иллюстрируется сцепной компонент 100, который может составлять часть сцепного устройства 2 согласно изобретению. Сцепной компонент 100 жестко прикреплен к шасси 30 тягача и содержит телескопический элемент 102, выполненный с возможностью перемещать со скольжением сцепной шарнир 104, к которому присоединяется дышло 12 прицепа, как это описано, например, применительно к рассмотренным вариантам изобретения. Сцепной компонент 100 может быть использован в тех случаях, когда желательно увеличить или уменьшить расстояние между прицепом 3 и тягачом 5 после того, как они были сцеплены. Таким образом, если требуется уменьшить расстояние между передним краем прицепа 3 и задним краем тягача 5, телескопический элемент 102 может быть отрегулирован путем перемещения сцепного шарнира 104 в направлении задней стороны тягача 5. В результате дышло 12 прицепа сместится в направлении заднего края тягача 5 при соответствующем изменении расстояния между тягачом и прицепом. Телескопический элемент 102 сцепного компонента 100 может быть снабжен приводом, например пневматическим, электрическим или гидравлическим. Кроме того, телескопический элемент 102 может включать в себя вращающуюся деталь, которая может, вращаясь, перемещать сцепной компонент 100 в требуемом направлении, т.е. назад или вперед. Активация привода может осуществляться с помощью датчиков (не изображены), которые определяют угол поворота следящего звена или дышла прицепа или расстояние между прицепом и тягачом.
Согласно дополнительному варианту (не представлен) для увеличения расстояния между тягачом и прицепом в процессе поворота может быть использован альтернативный метод, состоящий в том, чтобы поднять передний край прицепа и/или опустить его задний край, воздействуя на подвеску в соответствии с сигналами датчиков, которые обнаруживают, что прицеп движется под углом к тягачу, и отводя описанным образом прицеп от тягача.
На фиг.7 и 7А иллюстрируется пятый вариант сцепного устройства по изобретению, подсоединенного к прицепу 3 и к тягачу 5, которым в данном случае является грузовой автомобиль. Сцепное устройство 2 аналогично сцепному устройству, показанному на фиг.1 и 1А. Сходным деталям даны те же цифровые обозначения. Сцепное устройство 2 снабжено средством для обеспечения шарнирного соединения прицепа 3 с тягачом 5. Это средство выполнено в виде А-образного дышла 12 прицепа, которое вблизи задних концов ветвей А-образного профиля шарнирно связано с шасси 38 прицепа посредством петель 220. Вершина А-образного дышла прикреплена к тягачу 5 посредством сцепного отверстия 14, которое может взаимодействовать со сцепным штырем на тягаче 5. Сцепное устройство 2 дополнительно содержит средство осуществления дифференциального шарнирного поворота колес 4 прицепа и прицепа 3 по отношению к грузовому автомобилю 5 в процессе его поворота. Это средство выполнено в виде v-образного следящего звена 20, между ветвей которого расположен поперечный горизонтальный брус 200, шарнирно связанный со следящим звеном 20 посредством петель 22.
Брус 200 соединен с возможностью поворота с шасси 38 прицепа 3 с помощью шарнира 202. Следящее звено 20 выполнено таким образом, что может поворачиваться вокруг оси шарнира 202, причем вершина следящего звена 20 движется в плоскости шасси 38. Кроме того, петли 22 позволяют v-образному следящему звену 20 поворачиваться в плоскости, перпендикулярной плоскости шасси 38. Другими словами, вершина следящего звена 20 может подниматься и опускаться относительно исходного уровня. Вершина следящего звена 20 соединена с направляющей 26 скольжения, закрепленной на грузовом автомобиле (тягаче) 5 с помощью сцепного шара 24, как это было описано со ссылкой на фиг.1 и 1А.
В данном варианте следящее звено 20 связано также с вспомогательными следящими звеньями 206, присоединенными к брусу 200 вблизи его концов посредством шарниров 208. Другие концы вспомогательных следящих звеньев 206 присоединены в точках 210 к поворотной плите 8 или к подрамнику прицепа. Как было описано со ссылкой на фиг.1 и 1А, поворотная плита 8 жестко связана с указанным подрамником и с передними колесами прицепа 3.
Дышло 12 прицепа функционирует таким же образом, что и в варианте по фиг.1 и 1А. Сцепной шар 24 следящего звена 20 взаимодействует с направляющей 26 скольжения, имеющейся на шасси грузового автомобиля, как это было описано применительно к варианту по фиг.1 и 1А. Для того чтобы обеспечить высокую эффективность средства осуществления дифференциального шарнирного поворота шасси 38 и колес 4 прицепа, сцепное устройство 2 имеет в своем составе вспомогательные следящие звенья 206, которые при развороте следящего звена 20 вокруг оси шарнира 202 в процессе поворота грузового автомобиля позволяют осуществить дополнительное следящее движение за счет их шарнирного поворота вокруг осей шарниров 208. Тем самым обеспечивается поворот колес прицепа 3 по более короткой дуге (если это представляется желательным). Устройство по изобретению, представленное на фиг.7 и 7А, наиболее эффективно при образовании сцепки тягач/прицеп, в которой прицеп и/или тягач имеют довольно большую длину, что может вызывать трудности при объезде препятствий или выполнении крутого поворота.
Фиг.8 схематично иллюстрирует, на виде в плане, сцепное устройство 2, описанное со ссылкой на фиг.7 и 7А, когда прицеп расположен под углом к тягачу. Можно видеть, что следящее звено 20 развернулось в горизонтальной плоскости вокруг оси шарнира 202. С помощью вспомогательных следящих звеньев 206 это движение передано поворотной плите или подрамнику прицепа.
Хотя настоящее изобретение является особенно полезным для использования в транспортных средствах коммерческого и промышленного назначения, в том числе в грузовиках и различных прицепах, включая платформы, фургоны и т.д., оно может успешно применяться и в качестве сцепных средств для моделей транспортных средств, игрушек и в других миниатюрных версиях транспортных средств, связанных посредством сцепки. Например, миниатюрная версия сцепного устройства по изобретению может быть использована для присоединения игрушечного прицепа к игрушечному тягачу, а также в различных моделях, изготавливаемых литьем или иными методами.
Формула изобретения
1. Сцепное устройство для присоединения прицепа, содержащее средства для установки на прицеп, с возможностью шарнирного разворота, по меньшей мере, одного левого колеса и, по меньшей мере, одного правого колеса, независимые средства обеспечения шарнирного соединения прицепа с тягачом, средства осуществления дифференциального разворота колес и прицепа относительно тягача в процессе осуществления тягачом поворота, ограничительное средство, выполненное с возможностью ограничения величины разворота колес по отношению к прицепу при осуществлении поворота тягачом, в сравнении с величиной разворота колес по отношению к прицепу в отсутствие ограничительного средства, причем ограничительное средство содержит следящее звено с передним концом, соединенным с указанными средствами для установки колес на прицеп, и задним концом, а следящее звено включает выступающий сцепной шар на заднем конце или вблизи него, при этом ограничительное средство дополнительно включает направляющую скольжения, выполненную с возможностью соединения с тягачом и устанавливаемую параллельно или с наклоном относительно шасси тягача и прицепа, а сцепной шар установлен с возможностью перемещения, в процессе движения тягача, по направляющей скольжения ограничительного средства.
2. Сцепное устройство по п.1, отличающееся тем, что предусмотрена группа колес, связанная с шасси прицепа без возможности разворота, а сцепное устройство содержит разворачивающиеся колеса, устанавливаемые на прицепе.
3. Сцепное устройство по п.2, отличающееся тем, что разворачивающиеся колеса сцепного устройства связаны с осью, установленной на шарнирно разворачивающемся компоненте.
4. Сцепное устройство по п.1 или 2, отличающееся тем, что разворачивающиеся колеса связаны с шарнирно разворачивающимися штырями.
5. Сцепное устройство по п.1, отличающееся тем, что средства обеспечения шарнирного соединения прицепа с тягачом содержат средства для приложения к средствам обеспечения шарнирного соединения усилия в направлении тягача.
6. Сцепное устройство по п.1, отличающееся тем, что средства обеспечения шарнирного соединения прицепа с тягачом содержат дышло прицепа.
7. Сцепное устройство по п.6, отличающееся тем, что дышло прицепа имеет на своем свободном конце охватывающую или охватываемую деталь, выполненную с возможностью взаимодействия с соответствующей ей охватываемой или охватывающей деталью на тягаче.
8. Сцепное устройство по п.6, отличающееся тем, что дышло прицепа содержит средство, предотвращающее падение на землю свободного конца дышла, когда оно не присоединено к тягачу.
9. Сцепное устройство по п.1, отличающееся тем, что разворачивающиеся колеса выполнены с возможностью разворота в направлении поворота, совершаемого тягачом в процессе его движения.
10. Сцепное устройство по п.1, отличающееся тем, что ограничительное средство выполнено с возможностью ограничения шарнирного разворота разворачивающихся колес прицепа до величины, соответствующей части угла, образованного между прицепом и шасси тягача при повороте тягача, с которым сцеплен прицеп.
11. Сцепное устройство по п.1, отличающееся тем, что ограничительное средство выполнено с возможностью обеспечения разворота разворачивающихся колес прицепа в направлении поворота тягача с ограничением дуги поворота для разворачивающихся колес относительно дуги поворота тягача.
12. Сцепное устройство по п.1, отличающееся тем, что ограничительное средство содержит средство обеспечения, по существу, оптимальной ориентации разворачивающихся колес прицепа по отношению к ориентации тягача при осуществлении им поворота.
13. Сцепное устройство по п.1, отличающееся тем, что ограничительное средство содержит телескопический элемент.
14. Сцепное устройство по п.1, отличающееся тем, что содержит вспомогательное ограничительное средство, выполненное с возможностью соединения с прицепом и ограничивающее перемещение разворачивающихся колес вверх и вниз в процессе поворота прицепа.
15. Сцепное устройство по п.14, отличающееся тем, что вспомогательное ограничительное средство содержит один или более буферных компонентов, взаимодействующих с каждым из разворачивающихся колес и выполненных выступающими из прицепа в сторону земли смежно с передней осью или с передними осями прицепа.
16. Прицеп, содержащий, по меньшей мере, одно разворачивающееся переднее левое колесо и одно разворачивающееся переднее правое колесо, а также сцепное устройство для присоединения прицепа, охарактеризованное в любом из пп.1-15.
17. Способ осуществления сцепки прицепа с тягачом, включающий следующие операции:
(a) обеспечивают прицеп, тягач и сцепное устройство для присоединения прицепа, охарактеризованное в любом из пп.1-15;
(b) подсоединяют указанное сцепное устройство к прицепу; и
(с) сцепляют прицеп с тягачом посредством указанного сцепного устройства.
РИСУНКИ
|
|