|
|
(21), (22) Заявка: 2007122845/03, 18.06.2007
(24) Дата начала отсчета срока действия патента:
18.06.2007
(46) Опубликовано: 27.12.2008
(56) Список документов, цитированных в отчете о поиске:
СОКОЛОВ А.Я. “Технологическое оборудование предприятий по хранению и переработке зерна”, Москва, “Колос”, 1975, с.145-146. SU 112862 А1, 01.01.1958. SU 197339 А1, 01.01.1967. SU 1452624 А1, 23.01.1989. SU 53622 А, 01.01.1938. SU 110640 А1, 01.01.1957. RU 2223149 C1, 10.02.2004. RU 2287380 C1, 20.11.2006. GB 350497 A, 08.06.1931. GB 900784 A, 11.07.1962.
Адрес для переписки:
394000, г.Воронеж, пр. Революции, 19, ГОУ ВПО ВГТА, отдел СМП
|
(72) Автор(ы):
Авдеев Николай Емельянович (RU), Некрасов Алексей Викторович (RU), Резуев Виталий Сергеевич (RU)
(73) Патентообладатель(и):
Государственное образовательное учреждение высшего профессионального образования Воронежская государственная технологическая академия (RU)
|
(54) ФРИКЦИОННЫЙ СЕПАРАТОР
(57) Реферат:
Изобретение относится к области разделения сыпучих смесей по форме и свойствам поверхности составляющих их частиц и может найти применение в сельском хозяйстве при очистке зерна и продуктов его переработки, а также в пищевой, химической, горнорудной, металлургической и строительной отраслях промышленности. Фрикционный сепаратор включает несущую раму, загрузочное приспособление с питающим валиком и гофрированным распределителем, неподвижную плоскую гофрированную рабочую поверхность, сборники фракций. При этом продольные оси гофрированных каналов расположены вдоль геодезической линии рабочей поверхности, питающий валик выполнен с продольными и поперечными каналами, количество поперечных каналов соответствует количеству гофрированных каналов неподвижной плоской гофрированной рабочей поверхности и гофрированного распределителя, выступы каналов неподвижной плоской гофрированной рабочей поверхности и гофрированного распределителя совмещены с впадинами поперечных каналов питающего валика. Технический результат – повышение эффективности фрикционного сепарирования. 3 ил.
Изобретение относится к области разделения сыпучих смесей по форме и свойствам поверхности составляющих их частиц и может найти применение в сельском хозяйстве при очистке зерна и продуктов его переработки, а также в пищевой, химической, горнорудной, металлургической и строительной отраслях промышленности.
Наиболее близким по технической сущности и достигаемому эффекту является фрикционный сепаратор для разделения сыпучих смесей на фракции с разными коэффициентами трения и формой частиц, содержащий загрузочный лоток, подающее устройство, сборники фракций, рабочую поверхность, представляющую собой наклонную плоскость, применяемую как фрикционное устройство для разделения сыпучей смеси по коэффициентам трения [Соколов А.Я. Технологическое оборудование предприятий по хранению и переработке зерна. М., 1975. С.145].
Недостатком известного сепаратора является то, что в качестве рабочего органа используется плоская поверхность. Частицы смеси движутся хаотично по плоской поверхности, параметры движения варьируются в широком диапазоне. Наблюдается неконтролируемое сочетание скольжения, качения и верчения частиц, их столкновение друг с другом. Все эти обстоятельства способствуют снижению эффективности фрикционного сепарирования.
Известен сепаратор для разделения смеси семян, включающий загрузочное приспособление с питателем, валики с рифленой и гладкой наружными поверхностями, установленные на несущей раме горизонтально и параллельно друг другу под питателем с образованием между собой калибрующих отверстий треугольной формы, приемники семян, проходящих через калибрующие отверстия и захваченных рифлями валика, привод вращения валиков, основание несущей рамы (а.с. №1452624, М.кл.4 В07В 13/00, Б.и. №3, 1989 г.).
Недостатком известного сепаратора является то, что конструкция питателя, выполняя функции регулятора подачи смеси на разделяющую поверхность, не обеспечивает изолированного движения частиц. Частицы смеси, свободно выпадая из ячеек питателя, совершают хаотичное движение в надрешетной области. Кроме того, рифление разделяющей поверхности валиков выполнено с целью образования калибрующих отверстий и не способствует проявлению фрикционных свойств.
Технической задачей изобретения является повышение эффективности фрикционного сепарирования за счет обеспечения изолированного пунктирного движения частиц разделяемой смеси, стабилизации кинематических характеристик их перемещения по разделяющей поверхности и, как следствие, более четкого проявления своих фрикционных свойств.
Поставленная техническая задача решается за счет того, что во фрикционном сепараторе, включающем несущую раму, загрузочное приспособление с питающим валиком, неподвижную плоскую рабочую поверхность, сборники фракций, неподвижная плоская рабочая поверхность выполнена гофрированной, загрузочное приспособление снабжено гофрированным распределителем, при этом продольные оси гофрированных каналов неподвижной плоской гофрированной рабочей поверхности и гофрированного распределителя расположены вдоль геодезической линии рабочей поверхности, питающий валик выполнен с продольными и поперечными каналами, количество поперечных каналов соответствует количеству гофрированных каналов неподвижной плоской гофрированной рабочей поверхности и гофрированного распределителя, выступы каналов неподвижной плоской гофрированной рабочей поверхности и гофрированного распределителя совмещены с впадинами поперечных каналов питающего валика.
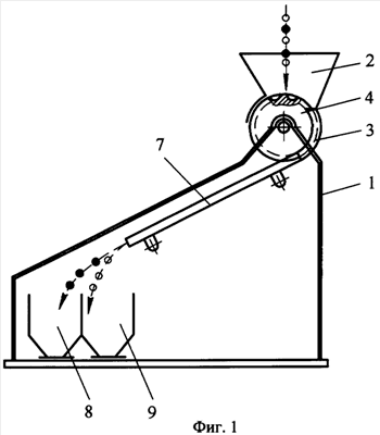
На фиг.1 изображена схема фрикционного сепаратора, на фиг.2 – общий вид неподвижной плоской гофрированной рабочей поверхности, на фиг.3 – питающий валик с продольными и поперечными каналами.
Фрикционный сепаратор состоит из несущей рамы 1, загрузочного приспособления 2, включающего гофрированный распределитель 3 и питающий валик 4 с продольными 5 и поперечными 6 каналами, неподвижной плоской гофрированной рабочей поверхности 7, сборников фракций 8 и 9.
Форма и шаг продольных каналов 5 определяются физико-механическими свойствами частиц обрабатываемой смеси. Форма и шаг поперечных каналов 6 соответствуют форме и шагу гофрированных каналов неподвижной плоской гофрированной рабочей поверхности 7 и гофрированного распределителя 3. Выступы поперечных каналов питающего валика 4 совмещены с впадинами каналов гофрированного распределителя 3 и неподвижной плоской гофрированной рабочей поверхности 7.
Фрикционный сепаратор работает следующим образом. Исходный продукт, представляющий собой смесь компонентов, частицы которых имеют различие по форме и свойствам поверхности, подается пунктирно из загрузочного приспособления 2 посредством питающего валика 4 в каналы неподвижной плоской гофрированной рабочей поверхности 7. Частицы, двигаясь изолированно по гофрированным каналам вследствие различия фрикционных свойств, приобретают разную скорость в конце рабочей поверхности и поступают в сборники 8 и 9. Частицы с меньшим коэффициентом трения поступают в сборник 8, а с большим – в сборник 9.
Положительный эффект заключается в следующем. Гофрирование рабочей поверхности позволяет стабилизировать процесс движения частиц. Обеспечивается однонаправленное перемещение частиц вдоль геодезической линии рабочей поверхности, исключается возможность взаимодействия частиц потоков, перемещающихся по соседним гофрированным каналам, наличие и подбор формы гофров позволяют избирательно исключить возможность качения и верчения частиц отдельных компонентов по рабочей поверхности. В результате стабилизации движения в большей степени проявляется различие фрикционных свойств разделяемых компонентов, а следовательно, повышается эффективность сепарирования.
Выполнение питающего валика 4 с проточенными на его поверхности продольными 5 и поперечными 6 каналами позволяет обеспечить стабильное пунктирное движение частиц по гофрированным каналам неподвижной плоской гофрированной рабочей поверхности. Выступы поперечных каналов питающего валика совмещены с впадинами каналов неподвижной плоской гофрированной рабочей поверхности 7 и гофрированного распределителя 3 и образуют между своими поверхностями ячейки для частиц смеси. Гофрированный распределитель 3 предназначен для распределения частиц по ячейкам в загрузочном приспособлении 2. Для этого он имеет на своей поверхности каналы по форме и шагу, совпадающие с каналами неподвижной плоской гофрированной рабочей поверхности. В результате в каждую ячейку в пространстве между поверхностью питающего валика и гофрированного распределителя попадает только одна частица. Она подается непосредственно на неподвижную плоскую гофрированную рабочую поверхность в строго определенное место со строго заданной начальной скоростью без стадии свободного падения. Подбор шага продольных каналов на питающем валике и угловой скорости его вращения обеспечивает пунктирное движение частиц с требуемой скоростью, что обеспечивает равные стабильные начальные условия для всех частиц смеси и их изолированное движение, т.е. наилучшие условия для полного проявления всех фрикционных свойств частиц.
Предложенный фрикционный сепаратор по сравнению с известным вариантом позволяет исключить взаимодействие частиц на разделяющей поверхности, обеспечить их изолированное пунктирное движение, устранить явления качения и верчения, стабилизировать кинематические характеристики перемещения частиц смеси по разделяющей поверхности и, как следствие, повысить эффективность фрикционного сепарирования за счет более четкого проявления частицами своих фрикционных свойств.
Формула изобретения
Фрикционный сепаратор, включающий несущую раму, загрузочное приспособление с питающим валиком, неподвижную плоскую рабочую поверхность, сборники фракций, отличающийся тем, что неподвижная плоская рабочая поверхность выполнена гофрированной, загрузочное приспособление снабжено гофрированным распределителем, при этом продольные оси гофрированных каналов неподвижной плоской гофрированной рабочей поверхности и гофрированного распределителя расположены вдоль геодезической линии рабочей поверхности, питающий валик выполнен с продольными и поперечными каналами, количество поперечных каналов соответствует количеству гофрированных каналов неподвижной плоской гофрированной рабочей поверхности и гофрированного распределителя, выступы каналов неподвижной плоской гофрированной рабочей поверхности и гофрированного распределителя совмещены с впадинами поперечных каналов питающего валика.
РИСУНКИ
|
|