|
(21), (22) Заявка: 2005138304/15, 07.05.2004
(24) Дата начала отсчета срока действия патента:
07.05.2004
(30) Конвенционный приоритет:
09.05.2003 AU 2003902238 29.08.2003 AU 2003242501
(43) Дата публикации заявки: 10.06.2006
(46) Опубликовано: 27.12.2008
(56) Список документов, цитированных в отчете о поиске:
US 4670154 А, 02.06.1987. RU 2044078 C1, 20.09.1995. RU 2034056 C1, 30.04.1995. US 4412866 A, 01.11.1983. EP 0770427 A2, 02.05.1997.
(85) Дата перевода заявки PCT на национальную фазу:
09.12.2005
(86) Заявка PCT:
AU 2004/000606 (07.05.2004)
(87) Публикация PCT:
WO 2004/098776 (18.11.2004)
Адрес для переписки:
129010, Москва, ул. Б.Спасская, 25, стр.3, ООО “Юридическая фирма Городисский и Партнеры”, пат.пов. Е.Е.Назиной, рег. № 517
|
(72) Автор(ы):
ЗОНТОВ Николай (AU)
(73) Патентообладатель(и):
КЛИН ТЕК ПТИ ЛТД (AU)
|
(54) СПОСОБ И АППАРАТ ДЛЯ ДЕСОРБЦИИ МАТЕРИАЛА
(57) Реферат:
Изобретение может быть использовано в процессе десорбции веществ из ионообменной смолы. В изобретении предлагаются аппараты и способы для непрерывной противоточной десорбции целевых материалов. Аппарат для десорбции веществ из ионообменной смолы, имеющей сорбированные на ней примеси и целевые материалы, включает в себя первую и вторую камеры. Смолу подают в первую камеру, и она перемещается из первой камеры во вторую камеру, а десорбирующий раствор подают во вторую камеру, и он перемещается из второй камеры в первую камеру. Примеси, имеющие меньшее сродство к смоле, чем целевой материал, могут десорбироваться из смолы, а целевой материал может сорбироваться на смолу из десорбирующего раствора в первой камере. Поток примесей, имеющий высокую концентрацию примесей и относительно низкую концентрацию целевого материала, выпускают из первой камеры через первый выход. Целевой материал десорбируется из смолы во второй камере, и обогащенный поток, имеющий низкую концентрацию примесей и относительно высокую концентрацию целевого материала, выпускают из нижних частей первой и/или второй камер через второй выход. Изобретение позволяет расширить арсенал средств для десорбции веществ из ионообменной смолы. 4 н. и 37 з.п. ф-лы, 6 ил., 1 табл.
ОБЛАСТЬ ТЕХНИКИ, К КОТОРОЙ ОТНОСИТСЯ ИЗОБРЕТЕНИЕ
Настоящее изобретение относится к способу и аппарату для десорбции материалов из насыщенной ионообменной смолы.
Ионообменная смола может быть любой подходящей смолой, которая может быть насыщена целевыми материалами, которые включают в себя цветные металлы, такие как медь, никель и кобальт; благородные металлы, такие как золото и серебро; и тугоплавкие металлы, такие как молибден и вольфрам. Ионообменная смола также может быть подходящей для любого другого металла, неметалла, органических соединений, неорганических соединений и их смесей.
УРОВЕНЬ ТЕХНИКИ ИЗОБРЕТЕНИЯ
В настоящее время существует широкий выбор технологий, которые могут быть использованы для десорбции материалов из смол. Некоторые технологии более пригодны, чем другие, для конкретных приложений, и поэтому выбор наиболее подходящей технологии является важным фактором достижения высокой скорости десорбции и эффективности затрат.
Вообще говоря, процессы десорбции для десорбирования материала из смолы могут проводиться как периодические или непрерывные операции, которые обычно соответствуют аппаратам для проведения процессов, имеющим так называемые неподвижные слои или подвижные слои.
Аппараты с неподвижными слоями в настоящее время наиболее широко используются в промышленности. Например, публикация Abrams I.M., озаглавленная “Type of ion-exchange system” (Ion Exchange for Pollution Control, eds. C.Calmon and H.Gold, CRC Press, Boca Raton, vol.1, pp.71-850, 1979), описывает, что технологические единицы с неподвижным слоем работали в течение более 25 лет и в настоящее время все еще используются для умягчения 1500 мегалитров в день воды в Столичном Водном Округе Южной Калифорнии.
Публикация Salem E., озаглавленная “Equipment operation and design” (Ion Exchange for Pollution Control, eds. C.Calmon and H.Gold, CRC Press, Boca Raton, vol.1, pp.87-100, 1979), описывает, что десорбционный цикл большинства аппаратов с неподвижным слоем включает в себя: первоначальную обратную промывку слоя полностью насыщенной или насыщенной смолы; отстаивание слоя; пропускание десорбирующего раствора через слой; удаление десорбирующего раствора (или медленную промывку) и, наконец, промывку смолы перед новой подачей богатого раствора на слой.
Стадия обратной промывки удаляет взвешенные частицы, которые накопились в слое смолы, и ликвидирует каналы, которые могли образоваться во время стадии сорбции. Обратная промывка также помогает разрушить агломераты, образованные взвешенными частицами и ионообменной смолой.
Стадия отстаивания следует за стадией обратной промывки и важна для того, чтобы избежать канализирования потока через слой.
Десорбция осуществляется пропусканием десорбционного раствора через слой, переводя смолу в желаемую форму. После того как соответствующий объем десорбционного раствора провзаимодействует со смолой, происходит удаление десорбционного раствора из слоя.
Промывку смолы деминерализованной водой обычно используют для удаления последних остатков десорбционного раствора из слоя.
По завершении стадии промывки жидкая фаза, содержащая целевой материал, подлежащий сорбции на смоле во время стадии сорбции, поступает в верхнюю часть колонны, когда колонна работает в прямоточном режиме, или на дно колонны, когда колонна работает в противоточном режиме.
Патент США №4412866 описывает модификацию периодического способа с неподвижным слоем, в частности относится к имитируемому подвижному слою, в котором определены отдельные зоны, каждая из которых включает в себя один или более отдельных емкостей. Зоны соответствуют функциям способа; обычно сорбция, удаление, десорбция и промывка. Вспомогательные насосы, соединенные последовательно с емкостями, поддерживают желаемую величину напора в каждой зоне. Функции каждой зоны чередуются в последовательности, причем последовательность расписана по времени относительно перемещения фронта между соседними фазами в петле потока, циркулирующего через зоны.
Другой тип адсорбционных/десорбционных способов представляет непрерывный способ. Вообще говоря, адсорбционный/десорбционный способ может быть классифицирован как непрерывный способ, когда сорбция, промывка и десорбция проводятся одновременно, и поток продукта является непрерывным. Использование подвижного слоя смолы позволяет добиться непрерывного функционирования, и основное преимущество заключается в высокой эффективности процесса.
Как и периодические способы, непрерывные способы могут работать в прямотоке или противотоке.
Не все способы, описанные как непрерывные, являются действительно непрерывными способами. Действительно непрерывные способы работают без прерывания потоков смолы или жидкости. Полунепрерывные способы часто отличаются коротким постоянным периодом, в котором происходит абсорбция (т.е. режим работы), за которым следует период, когда слой смолы движется (режим движения). Однако так как периоды для обоих режимов очень короткие, способ фактически работает как непрерывный. Известно более сотни полунепрерывных способов, но только около шести имеют некоторую реальную промышленную значимость.
По нашему мнению наиболее широко известным способом этого типа является так называемая петля Хиггинса (описана в публикации Higgins, I.R. and Roberts, I.t. “A countercurrent solid-liquid contactor for continuous ion-exchange”. Eng Pog. Symp. Ser., 50, 87-94, 1950). Петля Хиггинса представляет собой непрерывный противоточный ионообменный способ для отделения жидкой фазы от ионных компонентов с помощью твердой ионообменной смолы.
Петля Хиггинса содержит вертикальную цилиндрическую емкость, содержащую упакованный слой ионообменной смолы, который разделен на четыре рабочие зоны поворотными или петлевыми заслонками. Эти рабочие зоны – адсорбции, десорбции, обратной промывки и пульсации – функционируют как четыре отдельные емкости.
Петля Хиггинса обрабатывает жидкости смолой в зоне сорбции, пока ионы одновременно удаляются из насыщенной смолы в зоне десорбции. Периодически небольшая часть смолы удаляется из соответствующей зоны и замещается десорбированной или насыщенной смолой на противоположном конце этой зоны. Это достигается гидравлически пульсацией смолы через петлю. Результатом является непрерывный способ, в котором жидкость и смола контактируют в противоточном режиме.
Целью настоящего изобретения является обеспечение альтернативного способа и аппарата для десорбции материалов, сорбированных на смоле, способного давать поток концентрированного элюата.
СУЩНОСТЬ ИЗОБРЕТЕНИЯ
Согласно настоящему изобретению предлагается аппарат для десорбции веществ из ионообменной смолы, имеющей сорбированные примеси и целевые материалы, причем аппарат включает в себя:
первую и вторую камеры, которые сделаны таким образом, что при работе смола подается в первую камеру и перемещается из первой камеры во вторую камеру, и десорбирующий раствор подается во вторую камеру и перемещается из второй камеры в первую камеру таким образом, что
i) примеси, имеющие меньшее сродство к смоле, чем целевой материал, могут десорбироваться из смолы, и целевой материал может сорбироваться на смолу из десорбирующего раствора, и таким образом создаются условия, когда поток примесей с высокой концентрацией примесей и относительно низкой концентрацией целевого материала может выпускаться из первой камеры, и
ii) целевой материал может десорбироваться из смолы во второй камере, и создаются условия, когда обогащенный поток с низкой концентрацией примесей и относительно высокой концентрацией целевого материала может выпускаться из нижних частей первой и/или второй камер.
Вдобавок, когда аппарат находится в работе, предпочтительно, когда смола течет вниз в первой камере и вверх во второй камере, и когда десорбирующий раствор течет в противотоке к направлению течения смолы в упомянутых камерах.
Даже более предпочтительно, когда поток примесей выпускают из верхней части первой камеры.
Предпочтительно, когда первая и вторая камеры соединены проточным соединением так, что десорбирующий раствор может перетекать из первой камеры во вторую камеру.
Согласно настоящему изобретению предлагается также аппарат для десорбции материала из насыщенной ионообменной смолы, причем аппарат включает в себя:
первую и вторую камеры, которые устроены таким образом, что при работе смола может двигаться вниз в первой камере и вверх во второй камере, и десорбирующий раствор может течь в противотоке к смоле;
первый и второй входы для подачи насыщенной смолы в первую камеру и десорбирующего раствора во вторую камеру соответственно, и первый и второй выходы для вытекания жидкости из аппарата и десорбированной смолы из второй камеры соответственно;
средство, обеспечивающее перенос смолы из первой камеры во вторую камеру и перемещение смолы вверх во второй камере; и
при работе первый поток десорбирующего раствора, содержащего относительно высокую концентрацию примесей и низкую концентрацию целевого материала, может выпускаться из первого выхода, второй поток десорбирующего раствора, содержащий относительно высокую концентрацию целевого материала и низкую концентрацию примесей, может выпускаться через первый выход из нижних частей первой и/или второй камер и/или отбираться из десорбирующего раствора, проходящего из второй камеры в первую камеру, и десорбированная смола может выпускаться из второго выхода второй камеры.
Преимущества, обеспечиваемые настоящим изобретением, включают в себя:
ii) примеси, имеющие меньшее сродство к смоле, чем целевой материал, десорбируются из смолы раньше целевого материала, и поэтому первый поток десорбирующего раствора имеет более высокую концентрацию примесей и может выпускаться из первой камеры, где десорбирующий раствор сначала входит в контакт со смолой;
iii) после десорбции примесей из смолы емкость смолы по поглощению целевых материалов увеличивается, что позволяет первой камере иметь зону для реадсорбции целевых материалов на смолу; и
iv) целевые материалы, десорбирующиеся из смолы, попадают в десорбирующий раствор, и, таким образом, увеличивается плотность раствора так, что он имеет тенденцию к оседанию под действием силы тяжести в камерах и, таким образом, помогает второму потоку десорбирующего раствора, содержащего относительно высокую концентрацию целевых веществ и низкую концентрацию примесей, выходить из нижней части аппарата.
Предпочтительно, когда десорбция примесей из смолы происходит в верхней зоне первой камеры и, таким образом, допускает сорбцию дополнительного целевого материала на смоле в верхней зоне. Другими словами, верхняя зона формирует зону реадсорбции.
Предпочтительно, когда первая и вторая камеры связаны проточным соединением так, что напор жидкости во второй камере заставляет десорбирующий раствор течь вверх в первой камере.
Следует принять во внимание то, что в результате подачи десорбирующего раствора во вторую камеру преимущественное направление течения десорбирующего раствора направлено из второй камеры в первую камеру. Следует также принять во внимание, что общий направленный вверх поток десорбирующего раствора в первой камере будет по существу равен расходу, с которым первый поток десорбирующего раствора выпускается из первой камеры.
Предпочтительно, когда первый выход для выпуска первого потока десорбирующего раствора находится в верхней части первой камеры. Преимущество, обеспечиваемое этим предпочтительным признаком, заключается в том, что десорбирующий раствор сначала входит в контакт со смолой в верхней части первой камеры, и примеси, имеющие меньшее сродство к смоле, чем целевой материал, могут отводиться из верхнего конца первой камеры.
Предпочтительно, когда второй выход для выпуска десорбированной смолы располагается в верхней части второй камеры. Преимущество, обеспечиваемое этим предпочтительным объектом, заключается в том, что смола постепенно взаимодействует с десорбирующим раствором, имеющим низкие концентрации целевых материалов, так как смола двигается вверх во второй камере и, таким образом, создает больший потенциал для десорбции целевых материалов из смолы во второй камере перед тем, как смола будет выпущена из аппарата.
Предпочтительно, когда переток направлен вниз от второго выхода для перемещения десорбированной смолы в промежуточную камеру перед выпуском из аппарата.
Предпочтительно, когда первый и второй входы для десорбированной смолы и десорбирующего раствора в первой и второй камерах соответственно расположены в верхних частях камер.
Предпочтительно, когда аппарат имеет средства контроля и управления для регулирования скорости удаления смолы из второй камеры. При работе средства контроля и управления измеряют уровень жидкости десорбирующего раствора в первой камере для того, чтобы регулировать расход, с которым смола удаляется из второй камеры.
Предпочтительно, когда вторая камера имеет другой вход для подачи концентрированного раствора целевых материалов во вторую камеру. Авторы обнаружили, что добавление концентрированного раствора во вторую камеру дополнительно увеличивает концентрацию целевых материалов во втором потоке десорбирующего раствора (т.е. потоке элюата) и уменьшает концентрацию примесей во втором потоке.
Теперь будут описаны предпочтительные признаки двух вариантов осуществления настоящего изобретения.
Предпочтительно, когда первая и вторая камеры соединены перетоком, который распространяется от первой камеры ко второй камере, причем переток сконструирован для переноса смолы и десорбирующего раствора между камерами.
Согласно одному варианту осуществления данного изобретения предпочтительно также, когда первая и вторая камеры соединены в U-образную форму, имеющую основание и два плеча, где первая и вторая камеры образуют плечи U-образной формы, и основание обеспечивает переток.
Предпочтительно, когда второй поток десорбирующего раствора, содержащий высокую концентрацию десорбированного материала, выпускают из перетока, расположенного между первой и второй камерами. В случае, когда первая и вторая камера соединены в U-образную форму, второй поток десорбирующего раствора, имеющий высокую концентрацию целевого материала, выпускают из основания U-образной формы.
Согласно другому варианту осуществления изобретения предпочтительно, когда первая и вторая камеры расположены таким образом, что одна из камер находится внутри другой камеры.
Даже более предпочтительно, когда вторая камера располагается концентрически в первой камере.
В случае, когда вторая камера располагается внутри первой камеры, предпочтительно, чтобы вторая камера имела отверстие, открытое вниз так, чтобы десорбирующий раствор из первой камеры мог течь во вторую камеру, и чтобы смола из второй камеры входила в первую камеру через это отверстие и вынужденно двигалась вверх в ней.
Предпочтительно, когда второй поток десорбирующего раствора выпускают из первой камеры в месте, расположенном ниже отверстия второй камеры.
Предпочтительно, когда нижняя стенка первой камеры наклонена в направлении выхода для выпуска второго потока десорбирующего раствора, имеющего высокую концентрацию целевых веществ.
Согласно настоящему изобретению предлагается способ десорбции веществ из ионообменной смолы, имеющей сорбированные на ней примеси и целевые материалы, причем способ включает в себя обработку ионообменной смолы в аппарате, имеющем первую и вторую камеры, где способ включает в себя следующие стадии:
а) десорбцию примесей из смолы в первой камере с применением десорбирующего раствора таким образом, что целевые материалы, имеющие большее сродство к смоле, чем примеси, могут сорбироваться на смолу из десорбирующего раствора, и, таким образом, создаются условия, когда поток, имеющий высокую концентрацию примесей и низкую концентрацию целевого материала, может выпускаться из первой камеры; и
b) десорбцию целевых материалов из смолы, обработанной согласно стадии а), во второй камере с применением десорбирующего раствора и, таким образом, создание условий, когда поток, имеющий высокую концентрацию целевых материалов и низкую концентрацию примесей, может выпускаться из аппарата.
Согласно настоящему изобретению также предлагается способ для десорбции веществ из смолы в аппарате, имеющем первую и вторую камеры, связанные проточным соединением, причем способ включает в себя стадии:
а) подачи насыщенной смолы, имеющей сорбированные на ней целевые материалы и примеси, в первую камеру и движение смолы вниз в ней;
b) перемещения смолы из первой камеры во вторую камеру и движение смолы вверх в ней;
с) подачи десорбирующего раствора во вторую камеру так, что раствор течет вниз во второй камере и вверх в первой камере в противотоке к смоле;
d) выпуска десорбированной смолы из второй камеры;
е) выпуска первого потока десорбирующего раствора, содержащего высокую концентрацию примесей и низкую концентрацию целевых веществ, из первой камеры; и
f) выпуска второго потока десорбирующего раствора, содержащего относительно высокую концентрацию целевого материала и относительно низкую концентрацию примесей, из нижней части первой и/или второй камер и/или из раствора, перемещающегося между камерами.
Предпочтительно, когда любые две или более из стадий от а) до f) выполняются одновременно.
Предпочтительно, когда примеси в смоле имеют меньшее сродство к смоле, чем целевые материалы, так что, когда смола контактирует с десорбирующим раствором в первой камере, примеси имеют тенденцию десорбироваться из смолы раньше десорбции целевых материалов.
Предпочтительно, когда десорбция примесей из смолы происходит в верхней зоне первой камеры и, таким образом, дает возможность дополнительному целевому материалу сорбироваться на смоле в верхней зоне.
Предпочтительно поэтому, когда первый поток, выпускаемый на стадии е), выпускается в верхней части первой камеры.
Предпочтительно, когда целевые материалы, десорбированные из смолы и растворенные в растворе, увеличивают плотность раствора, таким образом, заставляя фракции раствора, имеющие высокие концентрации целевых веществ, оседать под действием силы тяжести в нижние части первой и второй камер.
Поэтому предпочтительно, когда второй поток, выпускаемый на стадии f), выпускают из раствора, перемещающегося между камерами, или из нижних частей первой и/или второй камер.
Предпочтительно, когда расход, с которым смолу выпускают на стадии d), регулируется уровнем жидкости в первой камере.
Предпочтительно, когда смолу, выпускаемую на стадии d), выпускают из верхних частей второй камеры.
Предпочтительно, когда способ также включает в себя подачу концентрированного раствора целевых веществ во вторую камеру. Авторы обнаружили, что добавление раствора концентрированных веществ во вторую камеру дополнительно увеличивает концентрацию целевых веществ во втором потоке десорбирующего раствора (т.е. потоке элюата) и уменьшает концентрацию примесей во втором потоке.
Предпочтительно, когда температура концентрированного раствора находится в диапазоне приблизительно от 60 до 100°С.
Предпочтительно, когда дополнительный раствор подают во вторую камеру в месте между верхней и нижней частями второй камеры.
Способ настоящего изобретения может также включать в себя любой из признаков аппарата, описанный выше.
КРАТКОЕ ОПИСАНИЕ ЧЕРТЕЖЕЙ
Два предпочтительных варианта осуществления настоящего изобретения будут теперь описаны со ссылкой на сопровождающие чертежи, из которых:
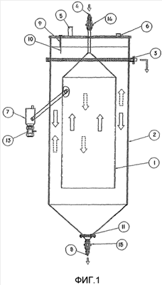
фиг.1 изображает аппарат для десорбции материала из смолы согласно одному варианту осуществления изобретения, в котором аппарат включает в себя две камеры, причем одна камера находится внутри другой;
фиг.2 и 3 изображают вариант осуществления, показанный на фиг.1, с дополнительными признаками;
фиг.4 изображает аппарат для десорбции материала из смолы согласно альтернативному варианту осуществления, в котором аппарат включает в себя две камеры, соединенные в U-образную форму; и
фиг.5 и 6 изображают вариант осуществления, показанный на фиг.4, с дополнительными признаками.
ДЕТАЛЬНОЕ ОПИСАНИЕ ПРЕДПОЧТИТЕЛЬНЫХ ВАРИАНТОВ ОСУЩЕСТВЛЕНИЯ
Два предпочтительных варианта осуществления имеют ряд общих признаков, и одни и те же номера позиций использованы для обозначения одних и тех же или подобных признаков в обоих вариантах осуществления, где это возможно.
Предпочтительный вариант осуществления, показанный на фиг.1, содержит аппарат, имеющий две камеры, из которых внутренняя камера 1 расположена концентрически во внешней камере 2.
Внутренняя камера 1 имеет входной клапан 14 для подачи десорбирующего раствора во внутреннюю камеру и выход для десорбированной смолы. От выхода направлена труба, которая направляет десорбированную смолу в промежуточный бак 7. Нижний конец внутренней камеры 1 имеет отверстие, открытое вниз так, что десорбирующий раствор течет вниз во внутренней камере 1 и вверх во внешней камере 2 в направлении пунктирных стрелок.
Напор жидкости десорбирующего раствора во внутренней камере 1 заставляет десорбирующий раствор течь вверх во внешней камере 2.
Внешняя камера 2 имеет вход смолы или трубку 5 для подачи насыщенной смолы во внешнюю камеру 2. Смола во внешней камере 2 движется вниз в направлении стрелок, изображенных непрерывными линиями, в противотоке к десорбирующему раствору. Смола также передавливается через отверстие во внутреннюю камеру 1 и движется вверх во внутренней камере 1 в направлении стрелок, изображенных непрерывными линиями, в противотоке к десорбирующему раствору.
При работе насыщенная смола входит через трубку 5 и соединяется с насыщенной смолой в верхней части внешней камеры 2. Сначала примеси, имеющие меньшее сродство к смоле, чем целевой материал, десорбируются из смолы. В результате поток десорбирующего раствора, имеющий высокую концентрацию примесей, выпускается через выходную трубу 3.
После десорбции примесей остается смола, причем емкость этой смолы в отношении сорбции целевого материала может увеличиваться так, что верхняя часть внешней камеры 1, в которой десорбировались примеси, может также формировать зону реадсорбции целевого материала на смолу. Обычно зона реадсорбции, образовавшаяся в верхней части первой камеры 1, поддерживает концентрацию целевых материалов низкой в потоке десорбирующего раствора, выпускаемого через выходную трубу 3.
Насыщенная смола движется вниз после зоны реадсорбции и во внутреннюю камеру 1, где целевой материал десорбируется в десорбционной зоне аппарата.
Смола движется вдоль внутренней и внешней камер 1 и 2, используя любое подходящее средство, такое как пульсация смолы. В случае варианта осуществления, показанного на фиг.1-3, пульсацию смолы осуществляют, открывая клапан 13 для выпуска смолы из аппарата, закрывая клапан 14 с прерыванием подачи десорбирующего раствора и накачивая воздух в колонну через трубку 6, расположенную в верхней части зоны реадсорбции.
Электроды 9 и 10, которые измеряют уровень десорбирующего раствора во внешней камере 2, осуществляют аппаратный контроль скорости, с которой смола удаляется из аппарата. Движение смолы в камерах 1 и 2 может происходить периодически один раз каждые 0,5-3,0 часа и продолжаться в течение 0,5-2,0 минуты в зависимости от свойств смолы, целевого материала и условий способа десорбции.
Десорбирующий раствор накачивают во внутреннюю камеру 1 через трубку 4 и клапан 14. Десорбирующий раствор извлекает целевой материал из перенасыщенной смолы во время его движения после зоны десорбции 1 вниз ко дну аппарата. Поток десорбирующего раствора, содержащего высокую концентрацию целевого материала и низкую концентрацию примесей, выпускают из дна аппарата через трубу 8. Поток раствора из дна аппарата регулируют с помощью клапана 15.
Сетчатый фильтр 11 у дна аппарата задерживает смолу во внешней камере 2, тогда как раствор выпускают.
Фиг.2 и 3 изображают аппарат, показанный на фиг.1, имеющий вход 12 для подачи концентрированного раствора целевого материала в середину внутренней камеры 1. Авторы обнаружили, что добавление концентрированного раствора во внутреннюю камеру 1 снижает концентрацию примесей и увеличивает концентрацию целевого материала, выпускаемого из аппарата через клапан 15.
Фиг.3 изображает аппарат, оснащенный средством теплообмена для предварительного нагрева десорбирующего раствора, подаваемого во внутреннюю камеру 1 через вход 12 и клапан 14 для облегчения десорбции материала из смолы в десорбирующий раствор. Десорбирующий раствор предпочтительно нагревают до температуры в диапазоне от 60 до 100°С.
Аппарат также включает в себя внешнюю изоляцию для сохранения температуры десорбирующего раствора в камерах 1 и 2.
Фиг.4 изображает альтернативный вариант осуществления, в котором камеры 1 и 2 соединены в U-образную форму. Более конкретно, камеры вытянуты вверх от противоположных концов горизонтального перетока, который соединяет камеры. Диаметр перетока по существу такой же, как диаметр камер 1 и 2, так что смола может перемещаться из камеры 2 в камеру 1 с применением техники пульсаций, описанной выше.
Переток также обеспечивает проточное соединение между камерами 1 и 2 так, что напор жидкости десорбирующего раствора в камере 1 заставляет десорбирующий раствор течь вверх в камере 2.
Более того, вариант осуществления, показанный на фиг.4-6, включает в себя те же признаки, как и вариант осуществления, показанный на фиг.1-3, и может работать таким же образом. Одинаковые номера позиций использованы в обоих вариантах осуществления для того, чтобы показать одинаковые признаки.
Предусмотрено, что варианты осуществления настоящего изобретения могут функционировать таким образом, что смола и десорбирующий раствор текут непрерывно и в противотоке. Однако специалистам в данной области техники следует принять во внимание, что течение десорбирующего раствора и движение смолы могут быть пульсирующими, и, вообще говоря, непрерывный способ десорбции является способом, в котором смола движется пульсациями через десорбционный аппарат. В частности, движение смолы в десорбирующем аппарате обычно включает в себя смолу, движущуюся вдоль слоя скачкообразными шагами, посредством чего пробка смолы выходит из конца слоя и остаток смолы движется в направлении вдоль слоя.
Настоящее изобретение будет теперь описано со ссылкой на следующие не ограничивающие примеры.
ПРИМЕР 1
Этот пример иллюстрирует десорбцию меди из смолы, которая была насыщена во время обработки потока сточных вод гальванической установки омеднения. Пример реализован с использованием аппарата, конструкция которого показана на фиг.4.
Концентрация меди в промывной воде была приблизительно 50-80 ч./млн, и емкость насыщения смолы достигала 28-32 г/л.
Десорбционный опыт проводили в 150 л пластиковой U-образной колонне согласно варианту осуществления, показанному на фиг.4. Насыщенная смола входила в колонну через трубку 5, расположенную на крышке колонны. После десорбции полностью очищенную смолу удаляли ежечасно из колонны через отводящую трубу и промежуточный бак 7. Смола проходила через колонну с расходом 20 л/ч.
7% раствор серной кислоты использовали в качестве десорбирующего раствора. Десорбирующий поток накачивали с расходом около 22 л/ч в верхнюю часть десорбционной зоны колонны через трубку 4 с клапаном 14 в открытом состоянии.
Отходящий поток удаляли через сток 3 с расходом 11,5-12,5 л/ч. Концентрация меди в отходящем потоке была меньше 200 ч./млн и возвращалась вместе с промывочной водой на стадию сорбции.
Поток элюата отбирали со дна колонны через решетчатый фильтр 11 и трубу 8. Раствор элюата отбирали с расходом 9,5-10,5 л/ч с помощью клапана 15. Концентрация меди в потоке элюата достигала 60 г/л, очень близко к максимуму растворимости сульфата меди (CuSO4·5H2O) (медный купорос). Этот поток элюата аналитически и экономически подходит для прямого извлечения меди с помощью хорошо известных способов, таких как электрохимическое извлечение меди или осаждение сульфата меди.
Предполагается, что поток элюата, полученный в вышеописанном примере, может быть непосредственно использован в медной электролитической ванне, и сточная промывная вода, содержащая медь, может быть возвращена в производственный цикл гальванической установки омеднения. Также предполагается, что обработанная вода может быть возвращена в водную систему гальванической установки омеднения.
ПРИМЕР 2
Этот пример иллюстрирует десорбцию никеля из смолы, которая была насыщена во время сорбционного извлечения никеля из автоклавного шлама выщелачивания латерита. Пример реализован с использованием аппарата, показанного на фиг.4.
Элементный анализ насыщенной смолы показан в таблице.
Десорбционной оборудование состояло из U-образной пластиковой лабораторной колонны с объемом 750 мл. Смола текла через колонну с расходом 100 мл/ч.
10% раствор соляной кислоты использовали как десорбирующую жидкость. Раствор накачивали в колонну через трубку 4 и клапан 14 и протекал через зоны десорбции и реадсорбции с расходом около 160 мл/ч. Поток десорбирующего раствора разделяли на две неравные части:
i) Поток сточного раствора, который отбирали после десорбции из стока 3 с объемным расходом около 100 мл/ч и направляли на стадию сорбции вместе с богатым шламом выщелачивания.
ii) Полученный поток элюата, который отбирали со дна колонны через трубу 15 и частично открытый клапан 8 с объемным расходом 60 мл/ч. Элементный анализ для потоков элюата и стоков приведен ниже в таблице.
Таблица Результаты элементного анализа исходного и конечных продуктов |
| Элементы |
Насыщенная смола, г/л |
Поток элюата, ч./млн |
Поток примесей, ч./млн |
| Ni |
36,81 |
59510 |
382 |
| Co |
1,65 |
1460 |
493 |
| Mn |
2,16 |
701 |
2750 |
| Mg |
3,40 |
72 |
2560 |
| Fe |
0,18 |
127 |
<0,001 |
| Cu |
0,27 |
69 |
0,08 |
| Zn |
0,22 |
141 |
86 |
| Ca |
0,35 |
103 |
396 |
| Si |
0,02 |
30 |
0,24 |
| Cr |
0,01 |
1,34 |
0,65 |
| Al |
0,24 |
123 |
6,05 |
Эти результаты примера показывают, что концентрация никеля в элюате была около 60 г/л, что, по оценке авторов, приблизительно на 60% больше, чем емкость насыщения богатой смолы. Также отмечается, что большая часть примесей, например магний и марганец, выходила в сточном растворе, выпускаемом через выход 3, и, в результате, высококонцентрированный элюат подходит для электролитического извлечения никеля.
ПРИМЕР 3
Этот пример иллюстрирует десорбцию меди из насыщенной смолы, которую предварительно насытили во время сорбционного извлечения меди из жидкости кучного выщелачивания. Концентрация меди была от 2 до 6 г/л.
Насыщенная емкость смолы, использованной в этом медном тесте, была 55-64 г/л. Во время этого теста смола протекала через десорбционную колонну с расходом приблизительно 100 мл/ч.
Десорбционный опыт проводили в 750 мл боросиликатной стеклянной колонне, соответствующей аппарату, показанному на фиг.6. U-образная колона была полностью изолирована для сохранения температуры в колонне 60-70°С.
10% раствор серной кислоты использовали в качестве десорбента, который предварительно нагревали до 60-70°С с помощью электрического нагревателя, на входе 4 десорбирующего раствора. Поток десорбента поддерживали при скорости около 75 мл/ч.
Дополнительно, после осаждения сульфата меди, накачивали предварительно нагретый маточный раствор в середину камеры 1 через входную трубку 12 с пропускной способностью около 85 мл/ч. В этом маточном растворе концентрация меди была около 45 г/л.
Поток примесей удаляли из камеры 2 через сток 3 с расходом 60 мл/ч, и концентрация меди была меньше чем 100 ч./млн. Этот раствор, содержащий примеси, может быть повторно использован в способе кучного выщелачивания меди.
Поток насыщенного элюата отбирали со дна аппарата через трубу 8 и регулирующий клапан 15 с расходом 100 мл/ч с концентрацией меди около 100 г/л и температурой 65°С.
Поток элюата охлаждали до 20°С непрерывным перемешиванием и приблизительно 234 г кристаллов сульфата меди осаждали из каждого литра потока элюата. После фильтрования кристаллов сульфата меди маточный раствор с концентрацией меди около 45 г/л нагревали до 70°С и повторно использовали с подачей во входную трубу 12.
ПРИМЕР 4
Этот пример иллюстрирует десорбцию молибдена из насыщенной смолы, которая была насыщена во время адсорбции молибденсодержащих растворов. Концентрация молибдена этих растворов была 1 г/л, поэтому равновесная насыщенная емкость смолы была около 100 г/л.
Десорбционный опыт проводили в 30 л колонне, соответствующей аппарату, показанному на фиг.1. Насыщенную смолу подавали во внешнюю камеру 2 колонны через трубку 5. Во время этого опыта поддерживали расход смолы 3 л/ч.
10% аммиачный раствор использовали в качестве десорбента. Этот раствор накачивали во внутреннюю камеру 1 колонны через трубку 4 с клапаном 14 в открытом положении. Скорость поддерживали 4 л/ч.
Поток сточного раствора с концентрацией молибдена меньше чем 200 ч./млн отбирали из стока 3 с расходом около 2 л/ч и возвращали с богатым раствором на стадию сорбции.
Поток насыщенного элюата отбирали со дна колонны через решетчатый фильтр 11 и трубу 8. Объем удаляемого элюата регулировали с помощью клапана 15. Концентрация молибдена в потоке элюата была 150 г/л, и концентрации основных примесей были незначительны. Этот раствор подходит для экономичного извлечения химически чистого парамолибдата аммония.
ПРИМЕР 5
Этот пример иллюстрирует способ десорбции никеля из насыщенной смолы с емкостью насыщения никелем около 42 г/л. Смолу насыщали во время сорбционного извлечения никеля из шлама атмосферного выщелачивания латерита.
Десорбционное оборудование состояло из 750 мл колонны в соответствии с вариантом осуществления, показанным на фиг.3. Насыщенную смолу подавали в колонну через трубку 5. Расход смолы во время этого опыта поддерживали равным 100 мл/ч.
10% раствор серной кислоты использовали в качестве десорбирующего раствора. Расход десорбента регулировали перистальтическим насосом и поддерживали равным 75 мл/ч. Десорбент накачивали в верхнюю часть десорбционной зоны колонны через трубку 4 и клапан 14.
Раствор после способа электролитического извлечения никеля, содержащий 43 г/л, подавали в середину десорбционной зоны колонны с расходом 85 мл/ч через трубку 12.
Поток сточного раствора (около 60 мл/ч) удаляли из колонны через сток 3. Этот раствор содержит около 200 ч./млн никеля и может быть повторно использован в способе выщелачивания.
Поток элюата отбирали со дна колонны через клапан 15 и трубу 8 с расходом около 100 мл/ч, и содержал около 85 г/л никеля. Этот раствор может быть использован для электролитического извлечения никеля.
Формула изобретения
1. Аппарат для десорбции веществ из ионообменной смолы, имеющей сорбированные на ней примеси и целевые материалы, причем аппарат включает в себя первую и вторую камеры, которые устроены таким образом, что при работе смолу подают в первую камеру, и она перемещается из первой камеры во вторую камеру, и десорбирующий раствор подают во вторую камеру, и он перемещается из второй камеры в первую камеру таким образом, что i) примеси, имеющие меньшее сродство к смоле, чем целевой материал, могут десорбироваться из смолы, и целевой материал может сорбироваться на смолу из десорбирующего раствора в первой камере и, таким образом, создаются условия, когда поток примесей, имеющий высокую концентрацию примесей и относительно низкую концентрацию целевого материала, может выпускаться из первой камеры через первый выход и ii) целевой материал может десорбироваться из смолы во второй камере, и создаются условия, когда богатый поток, имеющий низкую концентрацию примесей и относительно высокую концентрацию целевого материала, может выпускаться из нижних частей первой и/или второй камер через второй выход.
2. Аппарат по п.1, где при работе смола движется вниз в первой камере и вверх во второй камере, и десорбирующий раствор движется в противотоке к направлению смолы в упомянутых камерах.
3. Аппарат по п.1 или 2, в котором поток примесей отбирают из верхней части первой камеры.
4. Аппарат по п.1 или 2, в котором первая и вторая камеры связаны проточным соединением таким образом, что десорбирующий раствор может течь под действием силы тяжести из второй камеры в первую камеру.
5. Аппарат для десорбции материала из насыщенной ионообменной смолы, причем этот аппарат включает в себя первую и вторую камеры, которые устроены таким образом, что при работе смола может двигаться вниз в первой камере и вверх во второй камере, и десорбирующий раствор может течь в противотоке к смоле, первый и второй входы для подачи насыщенной смолы в первую камеру и десорбирующего раствора во вторую камеру соответственно, и первый и второй выходы для выпуска жидкости из аппарата, и третий выход для выпуска десорбированной смолы из второй камеры; средство, обеспечивающее перенос смолы из первой камеры во вторую камеру и перемещение смолы вверх во второй камере; посредством чего в работе первый поток десорбирующего раствора, содержащий относительно высокую концентрацию примесей и низкую концентрацию целевых материалов, могут выпускать из первого выхода, второй поток десорбирующего раствора, содержащего относительно высокую концентрацию целевого материала и низкую концентрацию примесей, могут выпускать из нижних частей первой и второй камер и/или отбирать из десорбирующего раствора, проходящего из второй камеры в первую камеру, из второго выхода, и десорбированную смолу могут выпускать из третьего выхода второй камеры.
6. Аппарат по п.5, в котором первая и вторая камеры расположены и связаны проточным соединением таким образом, что напор жидкости десорбирующего раствора во второй камере заставляет десорбирующий раствор течь вверх в первой камере.
7. Аппарат по п.5, в котором первый выход для выпускания первого потока располагают в верхней части первой камеры.
8. Аппарат по п.5, в котором третий выход для выпускания десорбированной смолы располагают в верхней части второй камеры.
9. Аппарат по п.5, в котором третий выход для перемещения десорбированной смолы из первой камеры соединяют с промежуточной камерой, в которой может собираться десорбированная смола.
10. Аппарат по п.5, который дополнительно включает в себя средство контроля для регулирования скорости удаления смолы из второй камеры.
11. Аппарат по п.10, в котором средство контроля измеряет уровень жидкости десорбирующего раствора в первой камере для регулирования скорости, с которой смолу удаляют из второй камеры.
12. Аппарат по п.5, в котором десорбция примесей из смолы происходит в верхней зоне первой камеры и, таким образом, позволяет целевому материалу в десорбирующем растворе сорбироваться на смолу в верхней зоне.
13. Аппарат по п.5, в котором десорбция целевых материалов происходит в верхней зоне второй камеры.
14. Аппарат по п.5, в котором вторая камера имеет другой вход для подачи раствора, который при подаче будет увеличивать концентрацию целевых материалов во второй камере и, таким образом, снижать концентрацию примесей во втором потоке.
15. Аппарат по п.5, в котором первая и вторая камеры связаны перетоком, приспособленным для перемещения смолы и десорбирующего раствора между камерами.
16. Аппарат по п.5, в котором первая и вторая камеры соединены в U-образную конфигурацию, где первая и вторая камеры образуют плечи U-образной формы и основание обеспечивает переток.
17. Аппарат по п.15 или 16, в котором второй поток десорбирующего раствора, содержащий высокую концентрацию десорбированного материала, могут выпускать из протока, расположенного между первой и второй камерами.
18. Аппарат по п.5, в котором первую и вторую камеры располагают так, что одна из камер находится внутри другой камеры.
19. Аппарат по п.18, в котором вторую камеру располагают концентрически в первой камере так, что первая камера имеет кольцеобразное поперечное сечение.
20. Аппарат по п.19, в котором вторая камера имеет открытое вниз отверстие, посредством которого десорбирующий раствор во второй камере может течь непосредственно из второй камеры в первую камеру, а смола из первой камеры может двигаться через это отверстие вверх во второй камере.
21. Аппарат по п.20, в котором второй поток выпускают из первой камеры в месте ниже отверстия второй камеры.
22. Способ десорбции веществ из ионообменной смолы, имеющей сорбированные в ней примеси и целевые материалы, причем способ включает в себя обработку ионообменной смолы в аппарате, имеющем первую и вторую камеры, где способ включает в себя стадии
a) десорбции примесей из смолы в первой камере десорбирующим раствором, так что целевые материалы, имеющие большее сродство к смоле, чем примеси, могут сорбироваться на смолу из десорбирующего раствора и, таким образом, создавая условия, когда поток, имеющий высокую концентрацию примесей и низкую концентрацию целевого материала, можно выпускать из первой камеры; и b) десорбции целевых материалов из смолы, обработанной согласно стадии а), во второй камере десорбирующим раствором и, таким образом, создавая условия, когда поток, имеющий высокую концентрацию целевых материалов и низкую концентрацию примесей, можно выпускать из аппарата.
23. Способ десорбции веществ из смолы в аппарате, имеющем первую и вторую камеры, соединенные проточным соединением, причем способ включает в себя стадии a) подачи насыщенной смолы, содержащей сорбированные на ней целевые материалы и примеси, в первую камеру, и движения смолы вниз в ней; b) перемещения смолы из первой камеры во вторую камеру и движения смолы вверх в ней; c) подачи десорбирующего раствора во вторую камеру так, что раствор течет вниз во второй камере и вверх в первой камере в противотоке к смоле; d) выпуска десорбированной смолы из второй камеры; e) выпуска первого потока десорбирующего раствора, содержащего высокую концентрацию примесей и низкую концентрацию целевых веществ, из первой камеры; и f) выпуска второго потока десорбирующего раствора, содержащего относительно высокую концентрацию целевого материала и относительно низкую концентрацию примесей, из нижней части первой и/или второй камер, и/или из раствора, текущего между камерами.
24. Способ по п.23, в котором любые два или более этапов от а) до f) осуществляют одновременно.
25. Способ по п.23 или 24, в котором примеси, имеющие меньшее сродство к смоле, чем целевые материалы, десорбируются из смолы, и целевой материал может сорбироваться на смолу в первой камере.
26. Способ по п.23, в котором десорбция примесей из смолы, по существу, происходит в верхней зоне первой камеры и, таким образом, дает возможность дополнительному целевому материалу из десорбирующего раствора сорбироваться на смоле в верхней зоне первой камеры.
27. Способ по п.26, в котором первый поток, выпускаемый на стадии е), выпускают из верхней зоны первой камеры.
28. Способ по п.23, в котором целевые материалы, десорбирующиеся из смолы, увеличивают плотность десорбирующего раствора и, таким образом, заставляют высокие концентрации десорбирующего раствора оседать в направлении нижних зон первой и второй камер.
29. Способ по п.23, в котором скорость, с которой выпускается смола на стадии d), регулируют уровнем жидкости в первой камере.
30. Способ по п.23, в котором смолу, выпускаемую на стадии d), выпускают из верхней зоны второй камеры.
31. Способ по п.23, который включает стадию подачи раствора, содержащего целевые вещества, во вторую камеру и, таким образом, снижается концентрация примесей во второй камере.
32. Способ по п.31, в котором температуру концентрированного раствора меняют от приблизительно 60 до 100°С.
33. Способ по п.32, в котором раствор, содержащий целевые материалы, подают во вторую камеру в месте между верхней и нижней зонами второй камеры.
34. Способ по п.23, в котором движение смолы вверх во второй камере согласно стадии b) включает в себя использование технологии пульсации смолы.
35. Способ по п.23, в котором десорбирующий раствор течет вверх в первой камере согласно этапу с) в результате напора жидкости во второй камере.
36. Способ по п.23, в котором первая и вторая камеры соединены в U-образную конфигурацию, где первая и вторая камеры образуют плечи U-образной формы, и основание обеспечивает переток, через который могут перемещаться смола и десорбирующий раствор.
37. Способ по п.36, в котором второй поток десорбирующего раствора, содержащий высокую концентрацию целевого материала, могут выпускать из протока, расположенного между первой и второй камерами.
38. Способ по п.23, в котором первую и вторую камеры располагают таким образом, что одна из камер расположена внутри другой камеры.
39. Способ по п.38, в котором вторую камеру располагают концентрически внутри первой камеры так, что первая камера имеет кольцеобразное поперечное сечение.
40. Способ по п.39, в котором вторая камера имеет открытое вниз отверстие, посредством чего десорбирующий раствор во второй камере может течь непосредственно из второй камеры в первую камеру, и смола из первой камеры может двигаться через отверстие вверх во вторую камеру.
41. Способ по п.40, в котором второй поток выпускают из первой камеры в месте ниже отверстия второй камеры.
РИСУНКИ
|