|
(21), (22) Заявка: 2006113108/14, 18.04.2006
(24) Дата начала отсчета срока действия патента:
18.04.2006
(43) Дата публикации заявки: 20.11.2007
(46) Опубликовано: 27.12.2008
(56) Список документов, цитированных в отчете о поиске:
Адрес для переписки:
453744, Республика Башкортостан, Учалинский р-н, с. Миндяк, ул. 1-я Горная, 31, А.М.Черепанову
|
(72) Автор(ы):
Черепанов Анатолий Михайлович (RU)
(73) Патентообладатель(и):
Черепанов Анатолий Михайлович (RU)
|
(54) ЭЛЕКТРОННЫЙ ПОВОДЫРЬ ДЛЯ СЛЕПЫХ
(57) Реферат:
Изобретение относится к медицинской технике, а именно к устройствам для инвалидов по зрению. Электронный поводырь для слепых содержит трость с изгибом на нижнем конце, снабженную блоком управления, источником питания и локаторами, включающими излучатели и приемники, к рукоятке которой подключен кабель. На изгибе на нижнем уровне трости установлен ультразвуковой локатор и датчик влажности, на трости смонтирован маячок с фоторезистором, выполненный с возможностью формирования световых вспышек с учащением по мере приближения движущегося транспорта, и фиксатор для размещения модуля. Блок управления соединен кабелем с источником питания, установлен в корпусе и включает инфракрасный локатор, громкоговоритель, ручки управления, а также снабжен фиксатором для размещения модуля, соединенного кабелем с блоком управления и включающего инфракрасный локатор верхнего обзора. Использование изобретения позволяет расширить возможности ориентации слепого в пространстве. 1 з.п. ф-лы, 2 ил.
(56) (продолжение):
CLASS=”b560m”08.12.1970. RU 2002129122 A, 27.04.2004. W.M.PENROD et al “A REVIEV AND COMPARISON OF ELECTRONIC TRAVEL DEVICES FOR THE BLIND”, 2004 Conference Proceedings, www.csun.edu/cod/conf/2004/proceedings/197.htm. GDP Research, The Miniguide ultrasonic mobility aid, www.gdp-research.com.au, 2002. GB 2147701 A, 15.05.1985.
Изобретение относится к области электроники, но, в частности, применяется в медицинской технике как устройство для инвалидов по зрению с целью расширения возможностей функций слепого в пространстве. Наиболее близким аналогом может служить Устройство ориентации в пространстве людей с нарушением зрительных функций (US 546467 A, 08.12.1970 г.).
Общие признаки: трость имеет изгиб на нижнем конце; на трости на разных уровнях установлены несколько источников и приемников ИК-сигналов, подключенных к общему устройству обработки информации. Известна трость ультразвуковая Batcane, разработанная фирмой Alem Technologi (SAT) в 2002 году, в которой блок управления и сама трость выполнены разъемными в виде двух частей, что позволяет обнаружить препятствие на высоте человеческого роста.
Преимуществом предлагаемого устройства является возможность еще более эффективно расширить функции ориентации человека в пространстве за счет снабжения трости и блока управления дополнительными элементами информации.
1. Установка на нижнем конце трости (на изгибе) датчика влажности для обнаружения лужи, грязи.
2. Установка на нижнем конце трости локатора для обнаружения препятствий на нижнем уровне, как самой первой и нижней точки препятствия при движении вперед.
3. Установка маячка с фоторезистором, который формирует световые вспышки с учащением по мере приближения движущегося транспорта при переходе дороги или рельсового пути для безопасности.
4. С целью перемещения «поля обзора пространства» в устройстве предусмотрен переносной модуль, который снабжен локатором с ИК-лучами, который можно перемещать относительно блока управления, т.к. предусмотрены два фиксатора для закрепления модуля как на корпусе блока управления, так и на трости.
5. С целью удобства в домашних условиях используется только блок управления, без трости, так как на нем смонтированы блок питания устройства, усилитель для усиления всех сигналов, в виде звуковой информации, различимых по частоте тональных звуков (по влажности, препятствия, маячка).
6. При ориентации в пространстве (Север – Юг) предусмотрено соединение для подключения «Электронного компаса для слепых», который здесь не описан.
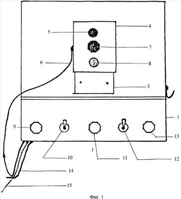
На фигуре 1 даны следующие обозначения:
Поз.1 – Корпус блока управления.
Поз.3 – Фиксатор для крепления модуля 4.
Поз.4 – Модуль переносной.
Поз.5 – ИК-излучатель.
Поз.6 – Кабель для передачи информации от ИК-локатора в блок управления.
Поз.7 – Приемник ИК-локатора.
Поз.9 – Регулятор громкости звука.
Поз.10 – Включение питания всего устройства.
Поз.11 – Регулятор чувствительности ИК-локатора.
Поз.12 – Переключатель для подзарядки аккумулятора.
Поз.14 – Кабель для подключения блока питания.
Поз.15 – Кабель соединения трости с блоком питания.
На фигуре 2 даны следующие обозначения:
Поз.15 – соединение трости с блоком питания и управления.
Поз.16 – Рукоятка трости.
Поз.17 – Тумблер включения маячка 20.
Поз.18 – Корпус, в котором размещены схема устройства, локатор 25 и датчик влажности 26.
Поз.19 – Фиксатор для закрепления модуля 4.
Поз.20 – Корпус маячка.
Поз.21 – Окно фоторезистора маячка.
Поз.22 – Окно для передачи световых вспышек в сторону движущегося транспорта.
Поз.23 – Трость.
Поз.25 – Локатор нижнего уровня, который состоит из источника сигнала F1 и приемника.
Поз.26 – Датчик влажности.
Все схемы отдельных узлов выполнены по общеизвестным схемам электроники.
Пример 1. Электронный поводырь используется в незнакомой местности. Включается тумблером 10 на блоке управления 1 питание всех узлов в целом: на локатор 25 нижнего уровня (на изгибе трости), на локатор на модуле 4, на схему определения влажности, на схему маячка с фоторезистором 20, на усилитель низкой частоты (в корпусе 1).
При передвижении трости 23 по грунту локатор 25, состоящий из излучателя и приемника, передает информацию о препятствии сигналом с частотой F1 на вход усилителя низкой частоты, затем усиленный сигнал передается через громкоговоритель незрячему человеку, который улавливает тональность данной частоты. По мере приближения к препятствию изменяется сила звука. При определенном навыке человек определяет расстояние более точно. При появлении лужи, грязи датчик влажности выдает сигнал с частотой F2, который также передается на усилитель низкой частоты.
При установке модуля 4 на фиксаторе 19 источником сигнала служит ИК-излучатель с частотой F3, приемник которого выдает сигнал о препятствии на уровне фиксатора 19 – средний уровень.
При закреплении модуля 4 на корпусе 1 он будет выдавать информацию о препятствии на уровне пояса (верхний уровень). При переходе дороги, рельсов предусмотрен маячок 20 с фоторезистором 21, включается он от тумблера 17. Маячок по мере приближения движущегося транспорта выдает световые вспышки через окно 22 и одновременно звуковой сигнал с такой же частотой вспышек. Звук также усиливается усилителем через громкоговоритель, передается незрячему, и он принимает соответствующее решение. Фоторезистор в зависимости от освещенности выдает частоту вспышек маячка.
Пример 2. В домашних условиях трость отключается от блока управления 1, т.к. на корпусе имеется фиксатор 3 для крепления модуля 4, на котором установлены ИК-излучатель 5 и приемник 7, при помощи которых обнаруживается препятствие на уровне пояса в любом направлении при повороте туловища. На блоке управления 1 предусмотрены ручки: управление громкостью 9, включение питания 10, ручка регулировки чувствительности 11, переключатель для подзарядки аккумулятора 12 для ориентации (направление Север – Юг), предусмотрено соединение 15 для подключения «Электронного компаса для слепых». (В описании как отдельная часть не приводится).
Формула изобретения
1. Электронный поводырь для слепых, содержащий трость с изгибом, на нижнем конце снабженную блоком управления, источником питания и локаторами, включающими излучатели и приемники, к рукоятке которой подключен кабель, отличающийся тем, что на изгибе на нижнем уровне трости установлен ультразвуковой локатор и датчик влажности, на трости смонтирован маячок с фоторезистором, выполненный с возможностью формирования световых вспышек с учащением по мере приближения движущегося транспорта, и фиксатор для размещения модуля, блок управления соединен кабелем с источником питания и установлен в корпусе, включает инфракрасный локатор, громкоговоритель, ручки управления и снабжен фиксатором для размещения модуля, соединенного кабелем с блоком управления и включающего инфракрасный локатор верхнего обзора.
2. Электронный поводырь по п.1, отличающийся тем, что на рукоятке имеется соединение для подключения электронного компаса для слепых.
РИСУНКИ
|