|
|
(21), (22) Заявка: 2004118080/13, 15.06.2004
(24) Дата начала отсчета срока действия патента:
15.06.2004
(30) Конвенционный приоритет:
16.06.2003 US 10/463,178
(43) Дата публикации заявки: 10.01.2006
(46) Опубликовано: 27.12.2008
(56) Список документов, цитированных в отчете о поиске:
US 4915971, 10.04.1990. US 4293572, 06.10.1981. GB 2335133, 15.09.1999. RU 2178662 C2, 27.01.2002.
Адрес для переписки:
129010, Москва, ул. Б.Спасская, 25, стр.3, ООО “Юридическая фирма Городисский и Партнеры”, пат.пов. С.А.Дорофееву
|
(72) Автор(ы):
ГАОНКАР Анилкумар Ганапати (US), ЧЭНЬ Вэй-Чжи (US), МИКЛУС Майкл Б. (US), ГЕРБСТ Лаура (US)
(73) Патентообладатель(и):
КРАФТ ФУДЗ ХОЛДИНГС, ИНК. (US)
|
(54) ПИЩЕВЫЕ ПРОДУКТЫ, ИМЕЮЩИЕ СИСТЕМУ ВЫСВОБОЖДЕНИЯ ВЛАГИ ДЛЯ ПОДДЕРЖАНИЯ ТЕКСТУРЫ ВО ВРЕМЯ ХРАНЕНИЯ
(57) Реферат:
Изобретение относится к многокомпонентным пищевым продуктам. В пищевом продукте, имеющем пищевой компонент с высокой влагоактивностью и пищевой компонент с низкой влагоактивностью, предлагается использовать систему высвобождения влаги. Указанная система содержит слой контролируемой поставки влаги, содержащий пищевой эмульсионный слой, содержащий воду в качестве внутренней фазы. Слой контролируемой поставки влаги контактирует с пищевым компонентом с низкой влагоактивностью. Кроме того, система содержит пищевой влагобарьерный слой, который контактирует с пищевым компонентом с высокой влагоактивностью. Слой контролируемой поставки влаги позволяет влаге мигрировать в пищевой компонент с низкой влагоактивностью во время хранения пищевого продукта, уменьшая черствение пищевого компонента с низкой влагоактивностью. Пищевой влагобарьерный слой уменьшает миграцию влаги из пищевого компонента с высокой влагоактивностью. Изобретение обеспечивает увеличенный срок хранения пищевого продукта по сравнению с подобным пищевым продуктом без использования системы высвобождения влаги. 2 н. и 20 з.п. ф-лы, 4 табл.
Данное изобретение относится в общем к многокомпонентным пищевым продуктам, которые содержат различные пищевые компоненты, имеющие различные влагоактивности, и к системе высвобождения влаги для таких пищевых продуктов. В этих пищевых продуктах предусмотрен пищевой, поставляющий влагу слой в контакте с первым пищевым компонентом, в который он выделяет влагу во время хранения пищевого продукта достаточно эффективно, чтобы препятствовать черствению первого пищевого компонента. Отдельный пищевой барьер для влаги расположен между поставляющим влагу слоем и вторым пищевым компонентом, имеющим более высокую влагоактивность, чем у первого пищевого компонента, эффективную для снижения потерь влаги во втором пищевом компоненте, что иначе произошло бы из-за миграции влаги между пищевыми компонентами, имеющими различные влагоактивности. Таким образом обеспечиваются многокомпонентные пищевые продукты, имеющие увеличенные сроки хранения.
Во многих пищевых продуктах необходимо поддерживать содержание влаги, чтобы они проявляли оптимальные органолептические свойства, качество и вкус. Миграция влаги в готовых пищевых продуктах может серьезно ухудшить их качество, стабильность и органолептические свойства. Кроме того, многие химические и ферментативные реакции, приводящие к порче, происходят со скоростями, частично управляемыми содержанием влаги в пищевых продуктах. Избыточные скорости указанных реакций могут способствовать изменениям, ухудшающим вкус, цвет, текстуру и питательную ценность пищевых продуктов. В многокомпонентных пищевых продуктах, в частности в тех, которые имеют компоненты с различными содержаниями воды и влагоактивностями, например, в упакованных продуктах из сыра и крекеров или из булочки и сливочного сыра, влага может мигрировать между соседними компонентами, изменяя характеристики компонентов и их органолептические свойства. В дополнение к ухудшению качества готовых пищевых продуктов миграция влаги может затруднять производство и распространение пищевых продуктов. Поэтому, например, сливочный сыр в продукте из булочки и сливочного сыра может высыхать, и в то же самое время булочка становится черствой. Черствение хлеба проявляется в изменениях текстуры, внешнего вида и вкуса, и конечным результатом является крайне негативная взаимосвязь между черствением и привлекательностью для потребителя.
Один из способов предотвращения миграции влаги в пищевых продуктах предусматривает покрытие одной или нескольких поверхностей пищевого продукта пищевым барьером для влаги. Такие барьеры должны иметь низкую влагопроницаемость для того, чтобы предотвратить миграцию влаги между участками с различными влагоактивностями. Кроме того, барьер должен покрывать поверхность пищевого продукта полностью, включая трещины, и хорошо прилипать к поверхности пищевого продукта. Барьер для влаги должен быть достаточно прочным, мягким и гибким, чтобы образовывать непрерывную поверхность, которая не будет трескаться в руках, к тому же легко может прокусываться при потреблении. Кроме того, органолептические свойства барьерной пленки по вкусу, послевкусию и ощущению во рту должны быть настолько незаметными, чтобы потребитель не ощутил барьера при потреблении пищевого продукта. И, наконец, барьер для влаги должен быть легким для производства и применения.
Поскольку липиды, такие как, например, масла, жиры и воски, состоят из липофильных или нерастворимых в воде молекул, способных к формированию водонепроницаемой структуры, они были исследованы для применения в барьерных пленках для влаги. Что касается маслянистых материалов (т.е. жиров, масел, сложных полиэфиров сахарозы и т.п.) и/или других пленкообразующих липидов, было показано, что барьер не является эффективным, несмотря на используемое нежелательно толстое покрытие. Такие пленкообразующие липиды также имеют тенденцию плавиться и течь при нормальных условиях выпечки и, следовательно, теряют целостность пленки и барьерную эффективность. Восковые барьеры имеют недостатки как барьеры для влаги, потому что они имеют тенденцию трескаться при обращении или при изменении температуры. Соответственно, на практике во многих барьерах используется водонепроницаемый липид в сочетании с гидроколлоидами или полисахаридами, такими как альгинат, пектин, каррагенан, производные целлюлозы, крахмал, гидролизаты крахмала и/или желатин, для формирования гелеобразных структур или структурированных полутвердых матриц для захватывания и/или иммобилизации неводного материала. Во многих случаях такие компоненты формируют в виде двухслойных пленок. Такие двухслойные пленки могут быть предварительно отлиты и нанесены на поверхность пищевого продукта как самоподдерживающаяся пленка с липидным слоем, обращенным к компоненту с наивысшей влагоактивностью. Пояснения таких двухслойных пленок даны, например, в патентах США № 4671963, 4880646, 4915971 и 5130151.
Однако имеются некоторые отрицательные стороны, связанные с известными ранее барьерами для влаги. Гидроколлоиды сами по себе являются гидрофильными и/или растворимыми в воде и поэтому имеют тенденцию со временем адсорбировать воду. Адсорбция воды гидрофильным материалом в барьере для влаги сильно ускоряется, когда пленка находится в непосредственном контакте с пищевыми продуктами, имеющими влагоактивность (Ав) выше 0,75. Скорость адсорбции воды гидрофильным материалом ускоряется при повышенной температуре, делая тем самым барьер для влаги неэффективным для тех применений, при которых барьер для влаги будет подвергаться воздействию тепла (например, для выпечки). Кроме того, некоторые гидроколлоиды имеют тенденцию делать барьеры для влаги довольно негибкими, требующими добавления гидрофильного пластификатора (например, полиола), чтобы увеличить гибкость. Такие пластификаторы сами по себе часто являются сильными связующими для влаги, промотирующими, следовательно, миграцию влаги в барьеры для влаги, и уменьшают структурную стабильность барьеров для влаги. Более того, текстура и необходимая толщина указанных барьеров для влаги могут делать их присутствие неприемлемым и неприятным при потреблении продукта.
Другой проблемой в продуктах с двойной текстурой, таких как сэндвич из булочки и сливочного сыра, является то, что и сливочный сыр, и булочка теряют влагу и твердеют со временем. Потеря влаги сливочным сыром может быть уменьшена с помощью влагобарьерного покрытия на сливочном сыре. Некоторая потеря влаги сливочным сыром предотвращается барьером для влаги, но булочка имеет тенденцию высыхать более быстро. В такой ситуации текстура булочки может быть сохранена в течение более продолжительного периода путем поставки влаги, например, путем распыления воды на внешнюю поверхность булочки. Однако распыление воды на булочку в достаточных количествах для борьбы с проблемой черствения имеет тенденцию делать булочку сырой.
Патент США № 6039988 описывает слоеный выпеченный продукт, такой как печенье, используемое в сэндвиче с мороженым, которое остается хрустящим после пребывания в контакте с мороженым, где миграцию влаги из мороженого в печенье предотвращают с помощью промежуточного пищевого масляного слоя и адсорбирующей жир мембраны, такой как бумага из рисового или картофельного крахмала. Как указано выше, применение промежуточного барьера для воды может защитить и стабилизировать влагосодержание начинки, но стабилизация влагосодержания внешних слоев с более низкими влагоактивностями остается проблематичной.
Патент США № 5573793 описывает композиционный пищевой продукт, содержащий печенье и начинку, содержащую ферментированный молочный продукт, причем начинка находится в форме эмульсии типа вода-в-масле, и ограниченная миграция воды из начинки в печенье происходит при температурах от 4 до 6°С, что снижает влагоактивность и влагосодержание начинки, когда печенье адсорбирует ее влагу. Однако значительные изменения во влагосодержании начинок нежелательны во время хранения многослойного композиционного пищевого продукта, так как органолептические свойства начинки подобным образом будут подвергаться значительному изменению.
Патент США № 4847098 описывает пищевые продукты с двойной текстурой, включающие эмульсию типа вода-в-масле, используемую для замедления миграции компонента начинки к внешней части и продлевающую таким образом срок хранения. Уменьшение переноса влаги из внутренней сердцевины наружу, как сообщается, удерживает начинку от того, чтобы она становилась твердой, и внешнюю часть от того, чтобы она становилась мокрой.
Опубликованная заявка Японии № 60224445 описывает пирог, устойчивый против смачивания благодаря использованию эмульсии типа вода-в-масле, в котором перенос влаги из эмульсии в пирог уменьшен.
Патент США № 6146672 описывает начинку на основе эмульсии типа вода-в-масле, которая продлевает срок хранения теста, обеспечивая стабильный при хранении защитный барьер, результатом чего является уменьшение переноса влаги в тесто.
Патент США № 4293572 описывает эмульсию типа вода-в-масле, которая подавляет миграцию изнутри наружу в многокомпонентом пищевом продукте.
Патент США № 5472724 описывает способ приготовления выпечного изделия, в котором свежевыпеченное изделие быстро замораживают, например криогенным охлаждением, чтобы получить продукт со значительно уменьшенным черствением при хранении в условиях окружающей среды.
Патент США № 5795603 описывает булочку с начинкой из сливочного сыра, но не предоставляет продукта с продолжительной сохранностью в охлажденном состоянии.
Патент США № 6472006 описывает стабильный в печи пищевой барьер для влаги, содержащий совместно микроизмельченные масла с низкими и высокими температурами плавления, используемый для предотвращения миграции влаги внутри многокомпонентного пищевого продукта между компонентами, имеющими разные влагоактивности.
Было бы желательно предоставить многокомпонентный пищевой продукт, который может предотвращать или замедлять проблемы черствения в пищевом компоненте, который иначе сильно подвержен черствению во время хранения пищевого продукта, который используется в сочетании с другим типом пищевого компонента, имеющим более высокую влагоактивность, предотвращая в то же время миграцию влаги из пищевого компонента, имеющего более высокую влагоактивность. Данное изобретение относится к такому многокомпонентному пищевому продукту, отвечающему этим и другим требованиям.
Данное изобретение обеспечивает многокомпонентный пищевой продукт, имеющий увеличенный срок хранения, причем пищевой продукт содержит различающиеся пищевые компоненты, имеющие разные влагоактивности. В таких многокомпонентных пищевых продуктах пищевой, поставляющий влагу слой находится в контакте с первым пищевым компонентом, в который он выделяет влагу, чтобы замедлить скорость черствения первого пищевого компонента во время хранения и тем самым повысить срок его хранения. Отдельный пищевой барьер для влаги расположен между поставляющим влагу слоем и вторым пищевым компонентом, имеющим более высокую влагоактивность, чем у первого пищевого компонента, причем отдельный пищевой барьер для влаги эффективен для снижения потерь влаги во втором пищевом компоненте из-за миграции влаги, что иначе происходило бы между пищевыми компонентами, имеющими разные влагоактивности.
В одном предпочтительном варианте настоящее изобретение предлагает внутреннюю систему высвобождения влаги, имеющую двойную функциональность поставки влаги/ограничения миграции влаги, путем обеспечения интегральной композитной субструктуры, расположенной между различающимися пищевыми компонентами, имеющими разные влагоактивности. Например, система высвобождения влаги предусмотрена между внутренним слоем начинки и внешним слоем оболочки, чтобы эффективно поддерживать слои оболочки мягкими и свежими (т.е. чтобы они были менее черствыми), при поддержании и сохранении в то же время исходной влажности начинки в течение нескольких недель или даже месяцев хранения. Чтобы обеспечить такую двойную функциональность, поставляющий влагу слой предусмотрен в контакте со слоем оболочки, тогда как барьер для влаги предусмотрен в контакте с внутренней начинкой.
Более конкретно, указанный поставляющий влагу слой внутренней системы высвобождения влаги предпочтительно является слоем эмульсии, в которой вода является включенной фазой. Такой слой может быть выбран из эмульсии типа масло-в-воде или типа масло-в-воде-в-масле. Эмульсионный слой действует как система контролируемого высвобождения влаги для того компонента многокомпонентного пищевого продукта, который более подвержен черствению из-за его относительно низкого влагосодержания, открытой поверхности и т.п.
Система высвобождения влаги по изобретению особенно пригодна в многокомпонентных пищевых продуктах, включающих различающиеся или разные компоненты, имеющие значительно отличающиеся друг от друга влагоактивности, так что когда два компонента находятся в тесном контакте, они испытывают значительную миграцию воды между двумя компонентами. В одном варианте влагоактивность пищевого компонента, имеющего более высокую влагоактивность, по меньшей мере приблизительно на 0,03 или более выше влагоактивности другого пищевого компонента.
Многокомпонентные пищевые продукты, которые могут выгодно включать и использовать двойную субструктуру поставки влаги/ограничения миграции влаги по изобретению, включают, например, сэндвич из булочки и сливочного сыра, комбинацию сыра и крекера и т.п. В случае сэндвича из булочки и сливочного сыра, например, влагосодержание пищевого компонента, имеющего более низкую влагоактивность (т.е. булочки) может увеличиваться по меньшей мере на 15%, в частности от около 15 до около 40%, после около четырех месяцев хранения пищевого продукта при около 4°С. Тем временем влагосодержание начинки из сливочного сыра остается относительно постоянным или не снижается до уровня, влияющего на его свежесть, в течение того же периода времени, так что органолептические свойства и начинки и булочки остаются свежими и приятными даже после нескольких месяцев хранения в холодильнике.
Для целей оценки сохранности здесь “хранение при охлаждении” означает хранение при температуре около 4°С. Следует принимать во внимание, что пищевые продукты по изобретению могут храниться при других температурах, используемых на практике. “Черствый” или “черствение” и подобные термины, используемые здесь, относятся к заметному ухудшению одного или нескольких органолептических свойств пищевого компонента, выбранных из текстуры, вкуса, цвета и/или запаха. Например, в случае пищевого продукта, имеющего хлебный компонент, такого как сэндвич из булочки и сливочного сыра, черствение может быть оценено по меньшей мере в отношении увеличения твердости и/или жесткости компонента булочки. Компонент сливочной начинки при деградации становится заметно менее влажным и/или крошливым по текстуре, и/или менее аппетитным по вкусу, цвету или запаху. “Свежий” означает такие органолептические свойства пищевого продукта, которые он имеет, когда только что приготовлен.
Другие признаки и преимущества данного изобретения будут понятны из следующего подробного описания предпочтительных вариантов изобретения со ссылкой на прилагаемые иллюстрации, на которых:
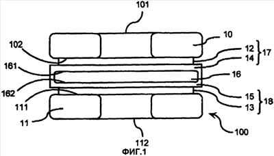
Фиг. 1 – пищевой продукт согласно варианту выполнения изобретения,
Фиг. 2 – график, представляющий влагосодержания компонентов булочки на протяжении части периода хранения пищевого продукта согласно варианту выполнения изобретения, а также пищевых продуктов для сравнения и контроля,
Фиг. 3 – график, представляющий влагосодержания компонентов сливочного сыра на протяжении части периода хранения пищевого продукта согласно варианту выполнения изобретения, а также пищевых продуктов для сравнения и контроля,
Фиг.4 – график, представляющий органолептический анализ текстуры (твердости) компонентов булочки на протяжении периода хранения пищевого продукта согласно варианту выполнения изобретения, а также пищевых продуктов для сравнения и контроля,
Фиг.5 – пищевой продукт согласно другому варианту выполнения изобретения,
Фиг.6 – пищевой продукт согласно еще одному варианту выполнения изобретения.
Специалисту будет понятно, что элементы на чертежах проиллюстрированы схематично, и необязательно в масштабе. Например, размеры некоторых деталей, таких как толщины пленки и слоя, показанные на чертежах, увеличены относительно других деталей, чтобы облегчить обсуждение здесь вариантов изобретения. Также детали на различных чертежах, обозначенные такими же позициями, являются подобными, если не указано иное.
Подробное описание изобретения
На фиг.1 в общем показан пищевой продукт 100, представляющий вариант выполнения изобретения, который включает интегрированную систему 17 высвобождения влаги (и отдельно 18), содержащую влагосодержащий эмульсионный слой 12 (13) для контролируемой поставки влаги к внешнему компоненту 10 (11) для уменьшения черствения, и отдельный влагобарьерный компонент 14 (15) для сохранения влагосодержания начинки 16.
В качестве неограничительного примера, пищевой продукт 100 является сэндвичем из булочки и сливочного сыра. Булочка разрезана на две половинки 10 и 11. Начинка 16 из сливочного сыра уложена между двумя половинками 10 и 11, но не в прямом физическом контакте с ними. В этом варианте слой 12 эмульсии типа вода-в-масле и влагобарьерная пленка 14 уложены между одной стороной 161 слоя 16 сливочного сыра и внутренней стороной 102 половинки 10 булочки, а другой слой 13 эмульсии типа вода-в-масле и другая влагобарьерная пленка 15 расположены между противоположной стороной 162 слоя 16 сливочного сыра и внутренней стороной 111 половинки 11 булочки.
Было экспериментально продемонстрировано, как описано в описанных здесь примерах, что компоненты 10, 11 булочки спустя несколько месяцев хранения имеют более высокую влажность, чем перед их введением в контакт с соответствующими слоями 12, 13 эмульсии типа вода-в-масле и сборкой с другими компонентами сэндвича 100. Например, повышения влагосодержания компонентов 10, 11 булочки по меньшей мере около 15%, и в частности, от около 15% до около 40%, достигают после хранения сэндвича 100 в холодильнике в течение около четырех месяцев. Соответственно, влагоактивности компонентов 10, 11 булочки также увеличиваются после нескольких месяцев хранения по сравнению с исходными величинами, измеренными перед их введением в контакт с соответствующими слоями 12, 13 эмульсии типа вода-в-масле и сборкой сэндвича 100. В дополнение, влагосодержание слоя 16 сливочного сыра, имеющего более высокую влагоактивность, чем компоненты 10, 11 булочки, не используется или в нем нет необходимости как в источнике влаги, подпитывающей увлажненные компоненты 10, 11 булочки. Вместо этого поставляющие влагу эмульсионные слои 12, 13 выполняют эту роль и функцию для компонентов 10, 11 булочки. Влагосодержание слоя 16 сливочного сыра хорошо поддерживается влагобарьерными слоями 14, 15, размещенными на его противоположных главных поверхностях 161, 162. Таким образом, слой 16 сливочного сыра может быть сохранен свежим без ухудшений физических и/или органолептических свойств, иначе происходивших бы из-за значительных потерь влаги, которые случаются во время хранения.
В данном описании влагоактивность (Ав) является показателем доступной влаги в пищевой системе. Доступная вода является “свободной” или не связанной, так что она доступна в качестве растворителя для различных растворимых в воде пищевых компонентов. Влагоактивность измеряют в переводе на равновесную относительную влажность, приближенную к пищевой системе. Влагоактивность представляет отношение давления паров воды пищевого продукта к давлению паров чистой воды при тех же условиях и выражена как дробь. Шкала влагоактивности имеет протяженность от 0 (совершенно сухой) до 1,0 (100% относительная влажность). Множество электронных инструментов, работающих на основе различных принципов измерения, коммерчески доступно для измерения влагоактивности образцов пищевых продуктов с адекватной точностью, воспроизводимостью и надежностью, которые, если их использовать должным образом, могут быть использованы для измерения влагоактивности для целей данного изобретения. Обычно инструменты для измерения влагоактивности измеряют “равновесную относительную влажность” образца, помещенного в герметичную оболочку, после подходящего периода достижения равновесного состояния. Двумя преобладающими главными типами инструментов для измерения влагоактивности являются электрические датчики, которые отслеживают вызываемые влагой изменения сопротивления или электрической емкости, и датчики точки росы по принципу охлажденного зеркала.
В данном изобретении каждая система высвобождения влаги, предусмотренная в пищевом продукте между пищевыми компонентами, имеющими различные влагоактивности (Ав), включает компонент резервуара влаги, например, образованный поставляющим влагу эмульсионным слоем 12, который поставляет влагу к одному пищевому компоненту с относительно более низкой Ав в течение времени, пока происходит эффективное уменьшение разницы Ав между компонентами с более низкой Ав и более высокой Ав, что, в свою очередь, снижает движущую силу миграции влаги между двумя пищевыми компонентами, уменьшая тем самым потерю влаги из пищевого компонента, имеющего более высокую влагоактивность, или же потерю из-за миграции между компонентами. В то же время влагобарьерный компонент системы высвобождения влаги, такой как слой 14, помогает “закупорить” влагу в начинке, имеющей более высокую влагоактивность, так что она остается влажной и аппетитной после хранения.
Влагу для хлебного компонента (булочки) в течение периода хранения обеспечивают путем покрытия внутренней части булочки или внешней части покрытой влагобарьером пластины сливочного сыра эмульсией, содержащей адекватное количество воды. Эмульсии типа вода-в-масле (В/М) или масло-в-воде-в-масле (М/В/М) предпочтительны в практике данного изобретения, так как вода образует внутреннюю фазу указанных эмульсий. Инкапсулированные водные растворы могут также работать в определенных применениях.
В данном изобретении для данной эмульсии вода-в-масле, если разница влагоактивностей относительно высока между двумя примыкающими пищевыми компонентами и/или хранение продукта является относительно продолжительным, эмульсия, когда она расположена между ними, ведет себя подобно “резервуару влаги” для пищевого компонента, имеющего более низкую влагоактивность. С другой стороны, если разница влагоактивностей относительно мала и/или хранение продукта относительно короткое, движущая сила влаги между пищевыми компонентами будет достаточно мала, так что эмульсия вода-в-масле будет действовать скорее как влагобарьер.
Таким образом, данное изобретение использует эмульсию с внутренней водной фазой для постоянной поставки влаги во внешнюю оболочку, такую как булочка, так что она не высыхает и не становится слишком жесткой и/или черствой во время хранения. То есть эмульсионный слой 12 сохраняет мягкость булочки, поставляя влагу к булочке 10 и уменьшая разницу влагоактивностей между покрытым сыром 16 и булочкой 10. Во время периодов хранения эмульсионное покрытие, постепенно высвобождая влагу, увеличивает количество влаги в булочке. Это уменьшает определяемое при органолептической оценке ощущение черствения путем уменьшения жесткости булочки во время хранения в холодильнике. Данное изобретение, таким образом, исключает проблемы, связанные с распылением воды на поверхность булочки, как неудачного способа ее “увлажнения”, который создает немедленную и продолжительную сырость на поверхности булочки. В данном изобретении вода, заключенная в эмульсионном слое 12, высвобождается медленно, не вызывая сырости, однако эффективно повышает влажность булочки. Кроме того, эмульсионный слой 12 может быть использован в качестве носителя для ароматизаторов или антимикробных добавок, которые могут быть диспергированы или растворены в водной фазе эмульсии. В данном изобретении на текстуру начинки не влияет используемый механизм увлажнения, потому что эмульсионный слой, используемый для непрерывного высвобождения влаги, не находится в контакте с внутренней начинкой.
Хотя данное изобретение поясняется здесь на примере сэндвича из булочки и сливочного сыра, следует учитывать, что оно имеет более широкое применение, охватывающее практически любой многокомпонентный пищевой продукт, в котором слои пищевых компонентов с разными влагоактивностями расположены смежно друг другу. Принципы изобретения применимы, главным образом, к многокомпонентным пищевым продуктам, которые хранят и которыми манипулируют, не вызывая их замораживания, например, при температуре в пределах от около 0°С до около 28°С в зависимости от конкретного пищевого продукта. Многокомпонентный пищевой продукт, в котором слои различающихся пищевых компонентов с разными влагоактивностями расположены смежно друг другу, может включать стопку, стопку, свернутую в форме цилиндра, один пищевой компонент, окруженный другим пищевым компонентом, и так далее. Слои различающихся пищевых компонентов могут чередоваться друг с другом один или более раз. Предпочтительно, система высвобождения влаги расположена между каждым комплектом обращенных друг к другу сторон слоев различающихся пищевых компонентов с поставляющим влагу эмульсионным слоем в контакте с пищевым компонентом, имеющим относительно более низкую влагоактивность, тогда как влагобарьер контактирует с пищевым компонентом, имеющим относительно более высокую влагоактивность в этом комплекте. В качестве варианта, система высвобождения влаги может быть помещена между одной или некоторыми, но не всеми, различными парами различающихся пищевых компонентов, представленных в пищевом продукте.
Система высвобождения влаги, описанная здесь, расположена между слоями различающихся пищевых компонентов. Например, пищевой продукт может быть также сочетанием сыра и крекера, закусочным батончиком, батоном для завтрака, кондитерским батончиком и так далее.
В дополнение, хотя слои 10 и 11 с более низкой влагоактивностью представлены в этом примере как внешние слои, а слой 16 с более высокой влагоактивностью представлен как внутренний слой в пищевом продукте, показанном на фиг. 1, следует учитывать, что система 17 высвобождения влаги по изобретению не ограничивается указанными конфигурациями. Например, как показано на фиг. 5, изобретение также применимо к структурам 500 пищевых продуктов, в которых и слой с более низкой влагоактивностью, и слой с более высокой влагоактивностью имеют обращенные друг к другу стороны, разделенные системой высвобождения влаги, описанной здесь, тогда как их соответствующие противоположные стороны или поверхности открыты. В другом варианте, как показано на фиг.6, изобретение также применимо к структурам 600 пищевых продуктов, в которых и слой с более низкой влагоактивностью, и слой с более высокой влагоактивностью являются внутренними слоями в пищевом продукте, имеющем слои 61 и 62 других пищевых компонентов, которые отличаются от слоев 10, 11 и 16.
Наиболее эффективные влагобарьеры в пищевых продуктах выполнены в основном из липидов, особенно когда разница влагоактивностей между пищевыми компонентами с более высокой и более низкой Ав велика (например, >0,5). Добавление какого-либо гидрофильного вещества в барьер, однако, снижает эффективность барьера в отношении предотвращения миграции влаги. Эмульсия В/М поэтому не является эффективным влагобарьером, когда разница влагоактивностей большая и/или хранение продукта продолжительное (например, более чем около 2 месяцев при охлаждении). В данном изобретении эмульсионный слой вместо этого действует как слой контролируемой поставки влаги или как “резервуар влаги”, который высвобождает влагу в компонент с более низкой влагоактивностью в течение времени.
В одном предпочтительном варианте эмульсия типа вода-в-масле (В/М), используемая как компонент поставляющего влагу слоя (ПВС) системы высвобождения влаги, имеет состав из от около 20 до около 80% воды и от около 80 до около 20% жира или жира и масла. В данном описании жидкие жиры часто упоминаются как масла.
Жировая фаза представляет от около 50 до около 100% жирового ингредиента (ингредиентов). Жир может быть животным или растительным. Жиром могут быть также растительные масла, такие как, например, пальмовое масло, пальмоядровое масло, хлопковое масло, масло канолы консервов, подсолнечное масло, соевое масло, арахисовое масло, кукурузное масло, сафлоровое масло, оливковое масло, кокосовое масло и их смеси. Им также могут быть или он может содержать животные жиры, такие как топленый говяжий жир, сливочное масло, лярд и их смеси. Жиры также могут быть частично гидрогенизированными, такими как гидрогенизированное соевое масло. В одном предпочтительном варианте используемый жир преимущественно (т.е. 50% или более) содержит одну или несколько C8-C18 насыщенных жирных кислот, примеры его включают пальмоядровое масло, кокосовое масло и некоторые пальмовые масла, пасты и жидкие фракции говяжьего жира.
Эмульсии типа вода-в-масле включают эмульгатор. Предпочтительно, эмульгатор имеет низкий гидрофильно-липофильный баланс (ГЛБ). Эмульгаторы с низким ГЛБ имеют величину ГЛБ менее чем около 8. Эмульгатором с низким ГЛБ могут быть сложные эфиры ангидросорбита, сложные эфиры полиглицерина, сложные эфиры сахара, модифицированные или немодифицированные моноглицериды, смеси моно- и диглицеридов, сложные эфиры полиэтиленгликоля с жирными кислотами, лецитин и тому подобное. Эмульгатор с низким ГЛБ обычно вводят в состав эмульсии в количестве от около 1 до около 5 вес.%.
В качестве эмульгирующей добавки эмульгатор с низким ГЛБ может быть использован один или в сочетании с эмульгатором с высоким ГЛБ (ГЛБ более чем около 10). При использовании в сочетании отношение при добавлении эмульгатор с низким ГЛБ/эмульгатор с высоким ГЛБ предпочтительно составляет от около 8 до около 10:1 соответственно. Эмульгатор или эмульгаторы могут быть диспергированы и в непрерывной, и в дисперсной фазах эмульсии или в одной из этих фаз.
Эмульсии типа вода-в-масле предпочтительно содержат стабилизатор. Стабилизатор пригоден для регулирования подвижности воды, повышения пластичности эмульсии и т.п. Предпочтительно, стабилизатором является пищевой гидрофильный коллоид, такой как крахмал; камедь, такая как ксантановая камедь, геллановая камедь, каррагенан, гуммиарабик, камедь бобов рожкового дерева, камедь рожкового дерева, камедь таро, трагакантовая камедь и т.п.; химически модифицированный полисахарид, такой как химически модифицированные целлюлозы типа метилцеллюлозы, метилэтилцеллюлозы, 2-гидроксиэтилметилцеллюлозы, карбоксиметилцеллюлозы, и т.п. по отдельности или в комбинации. Стабилизатор обычно вводят в состав эмульсии в количестве от около 0,1 до около 1,5% по сухому веществу этого компонента.
Водная фаза эмульсии, необязательно, может включать такие компоненты, как подсластители, молочные ингредиенты, пищевые кислоты, фруктовые концентраты или соки и так далее, пока они не оказывают вредного воздействия на функциональный характер системы высвобождения влаги или на органолептические свойства пищевого продукта. Подобным образом другие добавки могут присутствовать в эмульсии типа вода-в-масле, такие как ароматизаторы, красители, агенты, замедляющие рост жировых кристаллов, соль, ингибиторы плесени, такие как сорбат калия, бензоат натрия и так далее, отбеливатели, такие как диоксид титана, пассиваторы, такие как пирофосфат щелочного металла, используемый для ограничения содержания ионных металлических частиц, подкислители, буферы, пищевые кислоты, консерванты, антиоксиданты, витамины, минеральные добавки, питательные добавки и т.п.
Эмульсионный состав может быть приготовлен смешиванием или пластифицированием в любом удобном порядке воды, жиров, эмульгатора, стабилизатора и других добавок таким образом (например, с помощью гомогенизатора), чтобы получить гомогенную смесь. Обычно ингредиенты эмульсионного состава смешивают при температуре от около 5 до около 10°С выше температуры плавления жира в течение от около 1 до около 2 минут, чтобы достичь желательной эмульсии.
В одном примере приготовления жировую фазу получают добавлением эмульгатора с низким ГЛБ к жиру. Водную фазу получают объединением воды и стабилизатора до образования дисперсии. Вода может иметь комнатную температуру или может быть нагрета приблизительно до той же температуры, что и жировая фаза. Водную фазу затем обычно смешивают с жировой фазой, пока не получат эмульсию. Ароматизаторы и другие необязательные добавки могут быть добавлены к эмульсии при перемешивании с высоким усилием сдвига до тех пор, пока смесь не будет тщательно диспергирована и не будет получена относительно однородная смесь. Например, усилие сдвига при приготовлении эмульсии может быть эквивалентно давлениям от около 500 до около 25000 фунтов на кв. дюйм. В качестве варианта, необязательные игредиенты могут быть предварительно смешаны с жиром перед приготовлением жировой фазы, как описано здесь. Если жировой ингредиент имеет высокое содержание твердого жира при комнатной температуре, жир должен быть достаточно нагрет, чтобы сделать возможным его тщательное смешивание с какими-либо жировыми ингредиентами с более низким содержанием твердого жира и другими добавками, включенными в жировую фазу.
В одном аспекте приготовленный поставляющий влагу эмульсионный слой системы высвобождения влаги наносят на внутреннюю часть булочки или другого пищевого продукта с низкой Ав после выпечки. В качестве варианта, эмульсия может быть нанесена на влагобарьер, который уже нанесен на другой пищевой компонент с более высокой влагоактивностыо, такой как слой сливочного сыра. Поставляющий влагу эмульсионный слой может быть нанесен по какой-нибудь обычной технологии, чтобы обеспечить тонкий, главным образом, однородный слой. Подходящие технологии предусматривают, например, нанесение щеткой, погружение, напыление, покрытие в форме и применение псевдоожиженного слоя. Поставляющий влагу эмульсионный слой должен быть достаточно толстым, чтобы содержать достаточное количество влаги, чтобы обеспечить желательный перенос влаги, предотвращая тем самым черствение компонента с низкой влагоактивностью. Как правило, слой контролируемой поставки влаги наносят на пищевой компонент, чтобы сформировать по существу непрерывный эмульсионный слой толщиной по меньшей мере около 100 микрометров, предпочтительно от около 150 до около 2000 микрометров и более предпочтительно от около 500 до около 1000 микрометров толщиной.
Как правило, составы влагобарьера, используемые в практике данного изобретения, содержат пищевой жир или масло. Дополнительно может быть использован высокоплавкий липид и/или агент, замедляющий рост жировых кристаллов. Агенты, замедляющие рост жировых кристаллов, которые обычно являются липидами, имеют тенденцию задерживать рост кристаллов жира внутри влагобарьерной композиции. Не желая ограничивать себя теорией, представляется, что эффективность влагобарьера повышается путем поддержания относительно малым (т.е. около 200 микрометров или менее) среднего размера частиц жира во влагобарьерной композиции. В одном конкретном варианте влагобарьерная пленка содержит (1) от около 60 до около 100 процентов пищевого низкоплавкого липида (т.е. липида, имеющего температуру плавления около 35°С или ниже и предпочтительно от около 15 до около 30°С), (2) от около 0 до около 40 процентов пищевого высокоплавкого жира (т.е. жира, имеющего температуру плавления около 35°С или выше и предпочтительно от около 37 до около 70°С) и (3) от около 0,02 до около 0,5% агента, замедляющего рост жировых кристаллов. В одном варианте агент, замедляющий рост жировых кристаллов, содержит эмульгаторы с низким ГЛБ, описанные выше, и может быть, например, эмульгатором на основе моноолеата диглицерина или триглицерина. К другим подходящим агентам, замедляющим рост жировых кристаллов, относятся, например, сложные эфиры полиглицерина, тристеарат ангидросорбита и т.п.
Подходящие пищевые низкоплавкие масла обычно содержат гидрогенизированные или негидрогенизированные масла, имеющие желательные температуры плавления. Подходящие пищевые низкоплавкие масла содержат натуральные или частично гидрогенизированные растительные или животные масла, включая, например, кокосовое масло, пальмоядровое масло, пальмовое масло, рапсовое масло, соевое масло, подсолнечное масло, кукурузное масло, масло канолы, хлопковое масло, арахисовое масло, какао-масло, безводный молочный жир, лярд, говяжий жир и т.п., а также и их смеси. Предпочтительные пищевые низкоплавкие масла включают кокосовое масло, пальмоядровое масло, масло канолы и их смеси.
Подходящие пищевые высокоплавкие липиды обычно включают пищевые длинноцепочечные жирные кислоты, их моноглицериды, диглицериды и триглицериды, их соли с щелочными металлами и другие их производные (например, высокоплавкие сложные полиэфиры сахарозы). Как правило, пищевые высокоплавкие липиды получают из длинноцепочечных жирных кислот, имеющих по меньшей мере около 16 атомов углерода и предпочтительно от около 18 до около 26 атомов углерода, предпочтительно длинноцепочечные жирные кислоты являются насыщенными. Подходящие насыщенные длинноцепочечные жирные кислоты, используемые для получения пищевых высокоплавких липидов, включают, например, стеариновую кислоту, арахидоновую кислоту, бегеновую кислоту, линоцеротиновую кислоту и т. п., их производные, включая, например, моностеарат глицерина, дистеарат глицерина, тристеарат глицерина, стеарат кальция, стеарат магния, высокоплавкие сложные полиэфиры сахарозы, высокоплавкие жирные спирты, высокоплавкие воски и т.п., а также их смеси.
Влагобарьер может быть нанесен с использованием любой подходящей технологии. Влагобарьер может быть нанесен на высвобождающий влагу слой или на пищевой компонент с более высокой Ав так, что он контактирует с поставляющим влагу слоем в готовом продукте. Влагобарьер может быть нанесен погружением поверхности, которая должна быть покрыта, в расплавленную влагобарьерную композицию, удалением пищевого продукта из расплава и выдерживанием пищевого продукта для охлаждения. В другом варианте изобретения влагобарьерное покрытие может быть нанесено щеткой или иным нанесением состава влагобарьерной композиции на желательную поверхность (поверхности) продукта. Подходящие технологии включают, например, погружение, покрытие в форме и применение псевдоожиженного слоя. Еще в одном практическом осуществлении изобретения пленка может быть нанесена с использованием распыления, включая тонкое распыление, напыление с помощью аэрографа и т.п.
Как правило, пищевой влагобарьер наносят, чтобы сформировать по существу непрерывный барьерный слой толщиной по меньшей мере около 10 микрометров, предпочтительно от около 20 до около 2000 микрометров и еще предпочтительнее от около 50 до около 750 микрометров толщиной.
Пищевой влагобарьер может быть, но не обязательно, стабильным в печи. В одном варианте влагобарьером может быть ацетилированный моноглицерид, например, Myvacet 7-07, имеющий температуру плавления от около 37 до около 40°С и нанесенный с толщиной около 500 микрометров, поскольку пищевой продукт не выпекают после сборки.
Поставляющий влагу слой и пищевой влагобарьер, используемые в данном изобретении, должны иметь приемлемые органолептические свойства, например, предпочтительно, когда вкус, послевкусие и ощущение во рту от поставляющего влагу слоя и влагобарьера незаметны, так что потребитель не подозревает присутствия указанных слоев при потреблении продукта. Предпочтительно, пищевой влагобарьер быстро и ровно плавится без остатка и имеет сливочное (т.е. гладкое) невосковое проявление и ощущение во рту. Дополнительно пищевая влагобарьерная композиция предпочтительно имеет устойчивую кристаллическую структуру, которая сопротивляется тенденции “цветения” или растрескивания и обеспечивает хорошую устойчивость при колебаниях температуры (например, при ее изменении от около 5 до около 80°С).
В указанных пищевых продуктах пищевой, поставляющий влагу слой предусмотрен рядом с пищевым компонентом, для которого желательна подпитка влагой во время хранения пищевого продукта, в котором один пищевой компонент имеет более низкую влагоактивность, чем другой пищевой компонент. Кроме того, миграция влаги из компонента, имеющего более высокую влагоактивность, к компоненту, имеющему более низкую влагоактивность, предотвращают промежуточным влагобарьером, располагаемым в контакте с компонентом, имеющим более высокую влагоактивность.
Следующие примеры дополнительно поясняют данное изобретение и не предназначены для его ограничения. Все части, проценты, количества и отношения даны по весу, если не указано иное.
Пример 1. Исследование срока хранения проводили на сэндвичах из булочки и сливочного сыра, чтобы изучить влияния двойной субструктуры для поставки влаги/ограничения миграции влаги согласно изобретению по сравнению с сэндвичами, используемыми без указанной субструктуры или только с одним влагобарьером. Приготавливали следующие сэндвичи.
Контроль (С) (Выдержанный): Этот образец приготавливали или с барьером на липидной основе на сливочном сыре, или с поставляющим влагу эмульсионным слоем. Предварительно разрезанные на ломтики булочки, приобретенные из охлаждаемой секции местной бакалейной лавки, использовали для приготовления сэндвичей из булочки и сливочного сыра. Для такого контрольного сэндвича сливочный сыр (сливочный сыр Philadelphia®, нарезанный ломтиками по 45 г из магазинного 3-фунтового брикета) помещали непосредственно между внутренними сторонами нарезанной ломтиками булочки в физическом контакте с ними. Никакого влагобарьерного покрытия или эмульсии не располагали между булочкой и сливочным сыром. Образец был выдержанным контролем для целей данного исследования, и его свойства измеряли через различные интервалы хранения для целей сравнения.
Сравнение (только пищевой влагобарьер) (ПБВ): Этот образец приготавливали с барьером на основе липида на сливочном сыре, но без поставляющего влагу эмульсионного слоя. Эти сэндвичи приготавливали с такими же типами компонентов булочки и сливочного сыра, как и контроль, но слой сливочного сыра покрывали влагобарьером на основе липида, т.е. эмульсией А ниже. Приблизительно 6,25 г барьерного покрытия наносили равномерно путем распыления и погружения на обе стороны ломтика 45 г сливочного сыра.
| В/М Эмульсия А: влагобарьер на основе липида |
| Ингредиент |
% |
| Кокосовое пальмоядровое масло |
72,15 |
| Масло канолы |
27,75 |
| Моноолеат ди/триглицерина |
0,10 |
| Сумма |
100,0 |
Система высвобождения влаги (ВВС) по изобретению: Этот пример по изобретению приготавливали с барьером на основе липида на сливочном сыре и эмульсией типа вода-в-масле (В/М), нанесенной на внутреннюю поверхность булочки. Эти сэндвичи имели такие же типы компонентов сливочного сыра, булочки и влагобарьера, как и сравнительные сэндвичи, но дополнительно содержали эмульсию В/М в качестве поставляющего влагу слоя (ПВС, т.е. эмульсию В), распыленную на внутреннюю поверхность каждой разрезанной булочки перед сборкой с ломтиком сливочного сыра, имеющим барьер на основе липида, обеспеченный на каждой его стороне. В связи с этим приблизительно 6,25 г В/М эмульсии В (около 60% воды и около 40% масла) наносили в виде по существу однородного покрытия на каждую поверхность разреза булочки. Фиг. 1 показывает обычную сборку компонентов для этого примера.
| В/М Эмульсия В: поставляющий влагу слой |
| Ингредиент |
% |
| Кокосовое пальмоядровое масло |
38,9 |
| Моностеарат ангидросорбита |
1,0 |
| Культивированный сливочный ароматизатор |
0,1 |
| Ксантановый раствор, 1% |
59,5 |
| Сорбат калия |
0,5 |
| Сумма |
100,0 |
Результаты, представленные в следующих таблицах 1-4, получены как средние измерения, сделанные на двух отдельных образцах каждого типа сэндвича при указанных интервалах времени.
После сборки сэндвичи сразу упаковывали в модифицированной атмосфере и помещали на хранение при охлаждении при около 4°С без каких-либо стадий нагревания или запекания. Величины влагосодержания (%) и влагоактивности компонентов сливочного сыра и булочки указанных различных образцов продуктов измеряли во время сборки и затем через месячные интервалы в течение 4 месяцев хранения при охлаждении. Измеряли также кислотность сливочного сыра (%).
Кроме того, черствость образцов через различные интервалы хранения измеряли, используя органолептический анализ текстуры. Свежую булочку “СБ” использовали в качестве контроля для этих сравнений жесткости. Образцы, более твердые или жесткие, чем контроль, получали положительные оценки, тогда как более мягкие образцы получали отрицательные оценки. Оценки относительные. Результаты этих органолептических испытаний показаны на фиг. 4. Проводили также органолептические оценки образцов, чтобы определить их текстуру, вкус, запах и цвет через несколько различных интервалов хранения. Свежие образцы пищевых продуктов использовали в качестве контроля для этих оценок.
Таблица 1 Влажность (%), сред., компонента булочки |
| Время (месяцы) |
Контрольный продукт К |
Сравнительный продукт (ПБВ) |
Продукт (ВВС) по изобретению |
| 0 |
35,4 |
35,4 |
35,4 |
| 1 |
47,0 |
37,5 |
42,2 |
| 2 |
46,8 |
38,6 |
43,6 |
| 3 |
46,6 |
38,3 |
43,9 |
| 4 |
46,9 |
40,4 |
45,5 |
Таблица 2 Влажность (%), сред., компонента сливочного сыра |
| Время (месяцы) |
Контрольный продукт К |
Сравнительный продукт (ПБВ) |
Продукт (ВВС) по изобретению |
| 0 |
53,8 |
53,8 |
53,8 |
| 1 |
35,3 |
51,1 |
48,9 |
| 2 |
32,4 |
49,5 |
45,7 |
| 3 |
32,1 |
49,3 |
44,9 |
| 4 |
30,4 |
46,8 |
43,2 |
Фиг. 2 графически поясняет данные таблицы 1, тогда как фиг. 3 графически поясняет данные таблицы 2. Как показано на этих фигурах, влагосодержание булочки в примере по изобретению (“ВВС”), эти данные обозначены на графике как “ “, значительно увеличивается во время хранения при охлаждении без каких-либо значительных сопутствующих потерь влаги в слое сливочного сыра. Только в одном типе образца сэндвича была достигнута такая двойная функциональность.
В частности, как видно из результатов, начальное влагосодержание испытуемых компонентов булочки было около 35%, которое после четырех месяцев хранения при охлаждении увеличилось до около 40% в сравнительном сэндвиче из булочки со сливочным сыром (ПБВ), включающем только влагобарьер. Образец сэндвича по изобретению “ВВС” из булочки и сливочного сыра, содержащий эмульсионный слой и влагобарьер, приобретал повышенное влагосодержание в компоненте булочки до около 45% после четырех месяцев хранения при охлаждении. В результате образец “ВВС” по изобретению не становился черствым при хранении. К тому же повышение влаги происходило без каких-либо негативных особенностей вкуса, наблюдаемых в некоторых компонентах образца “ПБВ” по изобретению после четырех месяцев хранения.
С другой стороны, влагосодержание булочки значительно повышалось в контрольном образце “К”, данные которого представлены на графике как “ ” на фиг.2-3, который не содержит ни влагобарьера, ни поставляющего влагу эмульсионного слоя. Это повышение происходило за счет значительного снижения влагосодержания слоя сливочного сыра в течение указанного периода.
Что касается фиг.4, жесткость булочки уменьшалась с увеличением продолжительности хранения продукта у каждого из трех типов испытуемых сэндвичей. Черствение часто измеряют по жесткости хлебобулочного изделия. Как показано на фиг.4, компонент булочки контроля “К” имеет жесткость булочки, которая показывает наибольшее отклонение от свежего контроля при измерениях через различные интервалы хранения.
К тому же слой сливочного сыра контрольного сэндвича “К” заметно менее свеж, с органолептической точки зрения, чем образец “ВВС” по изобретению, через один или несколько месяцев хранения.
Сравнительный образец “ПБВ”, который содержит только влагобарьерный слой и данные по которому представлены на графике как “ ” на фиг.2-3, сохранял влагосодержание слоя сливочного сыра достаточно хорошо. Влагосодержание булочки образца “ПБВ”, однако, не увеличивалось столь значительно, особенно по отношению к тому, что наблюдалось в образце “ВВС” по изобретению, так что он был менее влажным.
Таблица 3 Влагоактивность (Ав), сред., компонента сливочного сыра |
| Время (месяцы) |
Контрольный продукт К |
Сравнительный продукт (ПБВ) |
Продукт (ВВС) по изобретению |
| 0 |
0,999 |
0,999 |
0,999 |
| 1 |
0,975 |
0,991 |
0,994 |
| 2 |
0,975 |
0,996 |
0,987 |
| 3 |
0,975 |
0,992 |
0,992 |
| 4 |
0,967 |
0,991 |
0,992 |
Таблица 4 Влагоактивность (Ав), сред., компонента булочки |
| Время (месяцы) |
Контрольный продукт К |
Сравнительный продукт (ПБВ) |
Продукт (ВВС) по изобретению |
| 0 |
0,946 |
0,946 |
0,946 |
| 1 |
0,973 |
0,954 |
0,970 |
| 2 |
0,976 |
0,957 |
0,968 |
| 3 |
0,976 |
0,960 |
0,975 |
| 4 |
0,971 |
0,960 |
0,972 |
Как показано в таблице 4, влагоактивности булочек из сэндвича “ПБВ” со сливочным сыром с барьерным покрытием и из сэндвича “ВВС” по изобретению, содержащим эмульсию и барьерное покрытие, равны 0,960 и 0,972 соответственно через 4 месяца хранения в условиях охлаждения. Сэндвич “ВВС” по изобретению имеет компонент булочки с наивысшей влагоактивностью через четыре месяца хранения в условиях охлаждения.
Как показано на этих примерах, уникальность данного изобретения происходит из применения в сочетании эмульсии типа вода-в-масле и эффективного пищевого влагобарьера. Эффективный пищевой влагобарьер предотвращает потерю влаги из начинки, тогда как эмульсия типа вода-в-масле поставляет необходимую влагу к булочке во время хранения продукта, чтобы сделать булочку мягче. В результате данное изобретение предоставляет эффективный способ поддержания качества компонентов и с высокой, и с низкой влагоактивностью и, следовательно, качества всего продукта.
Хотя пояснение в указанном выше примере было дано на сэндвиче из булочки и сливочного сыра, следует понимать, что данное изобретение не ограничивается этим. Данное изобретение находит широкое применение в многокомпонентных пищевых продуктах, которые содержат компоненты, имеющие различные влагоактивности, и могут подвергаться внутренней миграции влаги между различными компонентами в пищевом продукте. Данное изобретение стабилизирует такие пищевые продукты, обеспечивая вспомогательный слой для поставки влаги в пищевой компонент, имеющий низкое начальное влагосодержание, то есть более подверженный черствению, и в то же время защищая влагобарьерным слоем пищевой компонент с более высоким содержанием влаги от ее потери.
Многокомпонентные пищевые компоненты такого типа включают, например, пищевые продукты, имеющие хлебный компонент, крекер или печенье или другой тип кондитерской оболочки в качестве оболочки или субстрата с более низким влагосодержанием (т.е. низкой влагоактивностью Ав), используемых в качестве подложки для начинки или пасты, имеющей более высокое влагосодержание. Хлебные компоненты включают, например, ломтики булочки, ломтики буханки хлеба, оладьи, ломтики рогалика, корочку пиццы или хлебную основу для пиццы. Крекером может быть, например, ароматизированный сыром крекер, пшеничный крекер и так далее. Коммерческие сорта применимых крекеров включают, например, крекеры Ritz®, крекеры Triscuit® и так далее. Намазываемое покрытие или начинка с более высоким влагосодержанием (т.е. высокой влагоактивностью Ав) могут содержать сливочный сыр, сырную пасту, пасту, содержащую томатный соус, джем, желе, фруктовую пасту, эмульсию, содержащую фрукты, начинку для печенья, глазурь, йогурт, сметану и так далее.
Хотя изобретение, в частности, описано с конкретной ссылкой на конкретные варианты способа и продукта, следует понимать, что на основе данного раскрытия возможны различные изменения, модификации и приспособления, которые находятся в объеме данного изобретения, определенного следующей формулой изобретения.
Формула изобретения
1. Система высвобождения влаги для применения в пищевом продукте, имеющем пищевой компонент с высокой влагоактивностью и пищевой компонент с низкой влагоактивностью, причем указанная система содержит (a) слой контролируемой поставки влаги, содержащий пищевой эмульсионный слой, содержащий воду в качестве внутренней фазы, причем слой контролируемой поставки влаги контактирует с пищевым компонентом с низкой влагоактивностью, и (b) пищевой влагобарьерный слой, который контактирует с пищевым компонентом с высокой влагоактивностью; при этом слой контролируемой поставки влаги позволяет влаге мигрировать в пищевой компонент с низкой влагоактивностью во время хранения пищевого продукта, уменьшая черствение пищевого компонента с низкой влагоактивностью, а пищевой влагобарьерный слой уменьшает миграцию влаги из пищевого компонента с высокой влагоактивностью, при этом система высвобождения влаги обеспечивает увеличенный срок хранения пищевого продукта по сравнению с подобным пищевым продуктом без этой системы высвобождения влаги.
2. Система высвобождения влаги по п.1, в которой указанный пищевой эмульсионный барьерный слой содержит эмульсию, выбранную из эмульсии типа вода-в-масле или эмульсии типа масло-в-воде-в-масле.
3. Система высвобождения влаги по п.1, в которой пищевой эмульсионный барьерный слой содержит от около 20 до около 80% воды и от около 80 до около 20% жира.
4. Система высвобождения влаги по п.1, в которой пищевой эмульсионный барьерный слой содержит жировую фазу, содержащую C8-C18 насыщенную жирную кислоту.
5. Система высвобождения влаги по п.1, в которой пищевой влагобарьерный слой содержит эмульсию, включающую пищевой липид, пищевое низкоплавкое масло и агент, замедляющий рост жировых кристаллов.
6. Система высвобождения влаги по п.2, в которой эмульсия имеет средний размер эмульсионных частиц менее чем около 200 мкм.
7. Пищевой продукт, содержащий пищевой компонент с высокой влагоактивностью, пищевой компонент с низкой влагоактивностью и систему контролируемого высвобождения влаги, причем система высвобождения влаги содержит (a) слой контролируемой поставки влаги, содержащий пищевой эмульсионный слой, содержащий воду в качестве внутренней фазы, при этом слой контролируемой поставки влаги контактирует с пищевым компонентом с низкой влагоактивностью, и (b) пищевой влагобарьерный слой, который контактирует с пищевым компонентом с высокой влагоактивностью; причем слой контролируемой поставки влаги позволяет влаге мигрировать в пищевой компонент с низкой влагоактивностью во время хранения пищевого продукта, уменьшая черствение пищевого компонента с низкой влагоактивностью, а пищевой влагобарьерный слой уменьшает миграцию влаги из пищевого компонента с высокой влагоактивностью, при этом система высвобождения влаги обеспечивает увеличенный срок хранения пищевого продукта по сравнению с подобным пищевым продуктом без этой системы высвобождения влаги.
8. Пищевой продукт по п.7, в котором пищевой эмульсионный слой содержит эмульсию, выбранную из эмульсии типа вода-в-масле или эмульсии типа масло-в-воде-в-масле.
9. Пищевой продукт по п.7, в котором пищевой эмульсионный слой содержит от около 20 до около 80% воды и от около 80 до около 20% жира.
10. Пищевой продукт по п.7, в котором пищевой эмульсионный слой содержит жировую фазу, содержащую C8-C18 насыщенную жирную кислоту.
11. Пищевой продукт по п.7, в котором влагобарьерный слой содержит пищевой липид, пищевое низкоплавкое масло и агент, замедляющий рост жировых кристаллов.
12. Пищевой продукт по п.8, в котором эмульсия имеет средний размер эмульсионных частиц менее чем около 200 мкм.
13. Пищевой продукт по п.7, в котором влагосодержание пищевого компонента с низкой влагоактивностью увеличивается по меньшей мере на 15% при хранении пищевого продукта в течение около четырех месяцев при около 4°С.
14. Пищевой продукт по п.7, в котором влагосодержание пищевого компонента с низкой влагоактивностью увеличивается на от около 15% до около 40% при хранении пищевого продукта в течение около четырех месяцев при около 4°С.
15. Пищевой продукт по п.7, в котором пищевой компонент с высокой влагоактивностью имеет влагоактивность по меньшей мере на около 0,03 больше влагоактивности пищевого компонента с низкой влагоактивностью, когда пищевой компонент с низкой влагоактивностью, слой поставки влаги, влагобарьерный слой и пищевой компонент с высокой влагоактивностью собраны вместе.
16. Пищевой продукт по п.7, дополнительно содержащий второй пищевой влагобарьерный слой, контактирующий с противоположной стороной пищевого компонента с высокой влагоактивностью, и второй слой контролируемой поставки влаги, содержащий другой пищевой эмульсионный слой, содержащий воду в качестве внутренней фазы, который контактирует с другим пищевым компонентом с низкой влагоактивностью.
17. Пищевой продукт по п.7, в котором пищевой продукт является сэндвичем из булочки и сливочного сыра.
18. Пищевой продукт по п.7, в котором пищевой продукт является крекером с сырной начинкой.
19. Пищевой продукт по п.7, в котором пищевой продукт является печеньем.
20. Пищевой продукт по п.7, в котором пищевой продукт является закусочным батончиком или питательным батончиком.
21. Пищевой продукт по п.7, в котором пищевой компонент с низкой влагоактивностью содержит хлебный материал, выбранный из ломтика булочки, ломтика буханки хлеба, оладьи, ломтика рогалика, корочки пиццы или хлебной основы для пиццы.
22. Пищевой продукт по п.7, в котором пищевой компонент с высокой влагоактивностью содержит намазываемый материал, выбранный из сливочного сыра, сырной пасты, пасты, содержащей томатный соус, джема, желе, фруктовой пасты, эмульсии, содержащей фрукт, начинки для печенья, глазури, йогурта и сметаны.
РИСУНКИ
|
|