|
|
(21), (22) Заявка: 2005125579/28, 11.08.2005
(24) Дата начала отсчета срока действия патента:
11.08.2005
(30) Конвенционный приоритет:
25.08.2004 UA 20040807021
(43) Дата публикации заявки: 20.02.2007
(46) Опубликовано: 20.12.2008
(56) Список документов, цитированных в отчете о поиске:
RU 2221992 С1, 20.01.2004. Справочник «Оборудование комбикормовых заводов». Борискин М.А. и др. – М.: ВО «АГРОПРОМИЗДАТ», 1986, С.59-61. RU 2094995 С1, 10.11.1997. SU 1546038 A1, 28.02.1990. RU 1791715 A1, 30.01.1993. RU 21006094 С1, 10.03.1998. WO 2004002228 A, 08.01.2004.
Адрес для переписки:
04050, г. Киев, ул. Ивашкевича,8,кв,3, Б.Н. Самиливу
|
(72) Автор(ы):
Шаповалова Людмила Игоревна (UA)
(73) Патентообладатель(и):
Общество с ограниченной ответственностью “ЛЕСАФФР УКРАИНА” (UA)
|
(54) ДОЗАТОР УЛУЧШИТЕЛЕЙ МУКИ ТЕСТОМЕСИЛЬНОЙ МАШИНЫ
(57) Реферат:
Изобретение относится к средствам дозирования сыпучих материалов, а именно улучшителей муки в хлебопекарной промышленности. Техническим результатом изобретения является точное и непрерывное дозирование материала-улучшителя, равномерное распределение и возможность менять количество материала-улучшителя в зависимости от количества муки. Этот результат обеспечивается за счет того, что в дозаторе, который содержит бункер с ситом и заслонкой, ворошитель в виде лопастей, размещенных на горизонтальном валу в бункере, бункер состоит из двух стенок, к которым прикреплен желобообразный лист из нержавеющей стали, а ворошитель имеет три лопасти. При этом горизонтальный вал, на котором размещены три лопасти, соединен кривошипно-шатунным механизмом с валом дозатора тестомесильной машины. Количество дозируемых улучшителей муки тестомесильной машины регулируют увеличением или уменьшением количества отверстий сита при помощи заслонки, увеличением или уменьшением угла поворота ворошителя, путем изменения длины рычагов кривошипно-шатунного механизма. 3 ил.
Изобретение относится к устройствам для дозирования сыпучих материалов, а именно улучшителей муки, и может быть использовано в хлебопекарной промышленности на тестомесильной машине непрерывного действия.
Для приготовления хлебобулочных изделий необходимо иногда смешивать муку с небольшим количеством улучшителей для повышения качества изделий. При замешивании теста на тестомесильной машине непрерывного действия необходимо осуществлять дозирование улучшителей в точно установленных дозах. Для дозирования необходимого количества улучшителя в зависимости от количества муки, которая перерабатывается в совокупности с тестомесильной машиной, применяются дозирующие устройства.
Известный дозатор улучшителей (Патент РФ №2221992, Кл. G01F 11/00, опубл. 2004 г.), который содержит бункер с загрузочным отверстием, ворошитель, размещенный внутри бункера, вал привода ворошителя, вертикальный дозирующий канал, внутри которого размещен шнек, вал привода которого размещен внутри вала привода ворошителя. Работой дозатора управляет устройство для управления дозированием.
Однако это устройство имеет сложную конструкцию, невысокую точность дозирования, а также не может менять дозирование улучшителя.
Известно также маркировочное устройство (дозатор) (Патент США №1814488, опубл. 1931 г.), которое используют для нанесения ограничительных линий сухой известью на площадках для теннисных кортов. Устройство состоит из бункера, который содержит переднюю и заднюю стенки, боковые стороны и суженное основание, составленное из двух частей, которые формируют воронку с открытым регулированным отверстием, соединенным с механизмом смешивания.
Конструкция маркированного устройства является сходной с конструкцией заявляемого дозатора, однако такая конструкция предназначена только для нанесения линий, позволяет изменять дозирование в зависимости от необходимой ширины линий и не может быть использована для дозирования улучшителей муки для тестомесильной машины.
Наиболее сходным по конструкции к предложенному изобретению является дозатор сухого корма (Патент РФ №2179801, кл. А01К 5/02; G01F 11/24, 11/34, 11/46), который используется в устройстве для увлажнения сухих кормов. Дозатор сухого корма содержит бункер с загрузочным отверстием, нижняя часть которого исполнена в виде сита с заслонкой и ворошитель, который представляет собой лопасти, размещенные на валу, который размещен горизонтально внутри бункера.
Такое устройство предназначено для дозирования сухих кормов, работает вместе с устройством для увлажнения сыпучих кормов и также не может быть использовано для дозирования улучшителей по причине невысокой точности дозирования.
Изобретением поставлена задача, обеспечить возможность точного, непрерывного дозирования улучшителей муки в соответствии с тестомесильной машиной, равномерное их распределение и возможность менять дозирование в зависимости от качества и количества муки.
Поставленная задача решается тем, что в дозаторе улучшителей муки тестомесильной машины, который содержит бункер с загрузочным отверстием и ворошитель, нижняя часть бункера выполнена в виде сита с заслонкой, ворошитель представляет собой лопасти, размещенные на горизонтальном валу внутри бункера, согласно изобретению бункер образован желобообразным листом с нержавеющей стали, ворошитель содержит как минимум три лопасти, размещенные на валу с возможностью регулирования угла поворота и расстояния к поверхности сита, вал соединен шатунным механизмом с валом разгрузочного устройства тестомесильной машины.
Благодаря соединению вала дозатора через шатунный механизм с валом разгрузочного устройства тестомесильной машины дозатор работает в соответствии с тестомесильной машиной и не останавливается, таким образом обеспечивается безостановочное дозирование. Исполнение ворошителя в виде лопастей на валу, расстояние которых к поверхности сита и угла поворота лопастей можно регулировать, дает возможность устанавливать определенную необходимую пропорцию улучшителя, которая будет поступать сквозь сито. Пропорцию улучшителя можно регулировать и вручную путем закрывания заслонкой части сита.
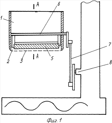
На фиг.1 изображен дозатор в разрезе; на фиг.2 – бункер с размещенным в нем ворошителем; на фиг.3 – разрез по А-А на фиг.1.
Дозатор улучшителей муки тестомесильной машины содержит бункер 1, образованный желобообразным листом с нержавеющей стали, нижняя часть желобообразного листа выполнена в виде сита 3 с пазами 2, в которые вставлена заслонка 4. Внутри бункера 1 размещен ворошитель, который являет собой три лопасти 5, размещенные на горизонтальном валу 6 с возможностью регулирования угла поворота и расстояния к поверхности сита 3. Вал 6 соединен шатунным механизмом 7 с валом 8 разгрузочного устройства тестомесильной машины. Лопасти 5 перемещаются внутри бункера 1 и заставляют сыпаться улучшителю сквозь отверстия сита 3. Движение ворошитель осуществляет при помощи шатунного механизма 7, который передает его от вала разгрузочного устройства тестомесильной машины.
Дозатор работает следующим образом.
В бункер 1 засыпают улучшитель. При помощи шатунного механизма 7 движение вала 8 разгрузочного устройства тестомесильной машины передается валу 6 ворошителя 7. Вал 6 поворачивается и поворачивает лопасти 5 на определенный угол, которые пропускают необходимое количество (установленную дозу) улучшителя сквозь сито 3 в тестомесильную машину. Количество улучшителя в зависимости от качества и количества муки регулируют путем сближения или отдаления лопастей 5 к поверхности сита 3, увеличением либо уменьшением количества отверстий сита 3 при помощи заслонки 4, увеличением или уменьшением угла поворота ворошителя, изменяя длину рычагов шатунного механизма 7.
Предложенное устройство можно использовать на всех типах тестомесильных машин непрерывного действия и позволяет удобно контролировать количество дозирования.
Формула изобретения
Дозатор улучшителей муки тестомесильной машины, который содержит бункер с ситом и заслонкой, ворошитель в виде лопастей, размещенных на горизонтальном валу в бункере, отличающийся тем, что бункер состоит из двух стенок, к которым прикреплен желобообразный лист из нержавеющей стали, ворошитель имеет три лопасти, горизонтальный вал, на котором размещены три лопасти, соединен кривошипно-шатунным механизмом с валом дозатора тестомесильной машины, при этом количество дозируемых улучшителей муки тестомесильной машины регулируют увеличением или уменьшением количества отверстий сита при помощи заслонки, увеличением или уменьшением угла поворота ворошителя путем изменения длины рычагов кривошипно-шатунного механизма.
РИСУНКИ
|
|