|
|
(21), (22) Заявка: 2007101765/02, 17.01.2007
(24) Дата начала отсчета срока действия патента:
17.01.2007
(43) Дата публикации заявки: 27.07.2008
(46) Опубликовано: 20.12.2008
(56) Список документов, цитированных в отчете о поиске:
US 4509401 A1, 09.04.1985. FR 2601442 A1, 15.01.1988. RU 29994 U1, 10.06.2003. RU 2113673 C1, 20.06.1998. RU 2234653 C2, 20.08.2004.
Адрес для переписки:
300001, г.Тула, Щегловская засека, ГУП “Конструкторское бюро приборостроения”
|
(72) Автор(ы):
Слугин Валерий Георгиевич (RU), Кисляк Владимир Александрович (RU), Машкин Анатолий Семенович (RU), Карасев Владимир Павлович (RU), Бурлаков Борис Валентинович (RU)
(73) Патентообладатель(и):
Государственное унитарное предприятие “Конструкторское бюро приборостроения” (RU)
|
(54) УСТРОЙСТВО ДЛЯ ПОДАЧИ ПАТРОНОВ В ПРИЕМНИК ОРУЖИЯ
(57) Реферат:
Изобретение относится к военной технике и может быть использовано в стрелково-пушечных установках с ленточным боепитанием, имеющих большой боекомплект. Устройство содержит корпус с барабаном и конвейерное устройство для перемещения ленты из магазина к гнездам барабана. Корпус установлен на приемнике оружия. Корпус снабжен рукояткой, взаимодействующей с подпружиненным фиксатором. На оси рукоятки установлено храповое колесо, взаимодействующее с подпружиненной собачкой. Рукоятка кинематически с помощью зубчатых колес связана с барабаном. Конвейерное устройство выполнено в виде троса с зацепом, уложенного на барабане. Изобретение позволяет упростить конструкцию устройства и уменьшить усилие заряжания оружия стрелково-пушечной установки. 2 ил.
Изобретение относится к военной технике и может быть использовано в стрелково-пушечных установках с ленточным боепитанием, имеющих протяженные тракты питания и большой боекомплект.
Известно устройство для подачи патронов в подающее устройство автоматического огнестрельного оружия (патент Швейцарии №669253 от 26.02.89 г., МПК7 F41A 9/82).
Известно заряжающее устройство для автоматического оружия с большой емкостью магазина (заявка Франции №2601442 от 15.01.88 г., МПК7 F41A 9/82), которое позволяет досылать патроны на подаватель. Устройство состоит из толкателя и опорного элемента, которые скользят по жесткому профилю с помощью поршня, связанного с возвратной пружиной. Применяется в автоматическом оружии большой огневой мощи для снаряжения боеприпасами механизмов заряжания.
Известно устройство для подачи патронов в систему оружия (патент США №4509401 от 9.04.85 г., МПК7 А41А 9/86), которое выбрано в качестве прототипа.
Устройство предназначено для подачи крупнокалиберных патронов, находящихся в трубчатых элементах ленты, из подающего контейнера в систему оружия. Устройство содержит корпус, установленный на контейнерах, внутри корпуса расположен барабан с несколькими неподвижными гнездами, которые радиально размещены вблизи одного конца барабана. В подающем отсеке имеется конвейерное устройство, с помощью которого лента из подающего контейнера перемещается так, что трубчатые элементы ленты направлены к гнездам барабана. На барабане имеется челночное устройство, которое может сцепляться с боеприпасами. При повороте барабана устройство захватывает боеприпас из трубчатого элемента и перемещает его к противоположному концу барабана. Недостаток устройства – сложность конструкции.
Задачей предлагаемого изобретения является упрощение конструкции устройства и уменьшение усилия заряжания оружия стрелково-пушечной установки с ленточным боепитанием, имеющей большой боекомплект.
Поставленная задача решается тем, что устройство для подачи патронов в приемник оружия, содержащее корпус с барабаном и средство для перемещения патронной ленты из магазина к приемнику оружия, снабжено рукояткой, установленной на корпусе, храповым колесом с подпружиненной собачкой, закрепленным на оси рукоятки и фиксатором рукоятки. Рукоятка кинематически связана через зубчатые колеса с барабаном. Средство для перемещения патронной ленты выполнено в виде уложенного на барабан троса с зацепом для фиксирования его на патронной ленте, а корпус выполнен с возможностью установки на приемнике оружия.
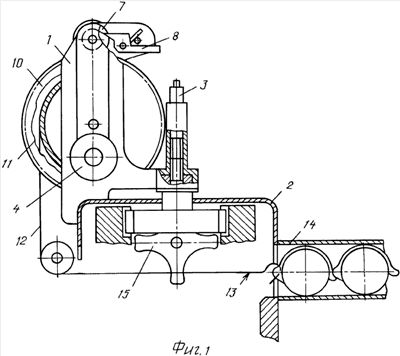
Предложенное техническое решение поясняется графическими материалами, где на фиг.1 изображен общий вид устройства для подачи патронов в приемник оружия, на фиг.2 – вид сбоку на устройство.
Устройство для подачи патронов в приемник оружия содержит корпус 1, который закрепляется на приемнике 2 с помощью винта 3. В корпусе 1 шарнирно установлена рукоятка 4. В походном или боевом положении оружия, когда корпус 1 устройства отстыкован от приемника 2, рукоятка 4 зафиксирована подпружиненным фиксатором 5, который выключается флажком 6. На оси рукоятки установлено храповое колесо 7, взаимодействующее с подпружиненной собачкой 8. Соосно с храповым колесом 7 закреплена шестерня 9, находящаяся в зацеплении с зубчатым колесом 10. На зубчатом колесе 10 жестко закреплен барабан 11, на котором уложен трос 12. На конце троса 12 закреплен зацеп 13, с помощью которого осуществляется подтяг патронной ленты из магазина по гибкому рукаву 14 к механизму подачи оружия 15, размещенному в приемнике 2.
Подача патронов в приемник при заряжании оружия происходит следующим образом. Корпус 1 устройства устанавливают на приемник 2 и закрепляют винтом 3. Трос 12 пропускают внутри гибкого рукава 14 и с помощью зацепа 13 фиксируют на патронной ленте. Вращением рукоятки 4 патронная лента подтягивается к приемному окну приемника 2. Для предотвращения обратного движения патронной ленты под собственным весом при отпускании рукоятки 4, служит храповое колесо 7 с подпружиненной собачкой 8. После вхождения патрона в приемное окно приемника 2 до упора в звездочку механизма 15, корпус 1 устройства отстыковывается от приемника 2 оружия и производится досылание патрона в патронник ствола.
Таким образом, предложенное техническое решение позволило упростить конструкцию и уменьшить усилие заряжания оружия стрелково-пушечной установки.
Формула изобретения
Устройство для подачи патронов в приемник оружия, содержащее корпус с барабаном и средство для перемещения патронной ленты из магазина к приемнику оружия, отличающееся тем, что оно снабжено рукояткой, установленной на корпусе, храповым колесом с подпружиненной собачкой, закрепленным на оси рукоятки, фиксатором рукоятки, при этом рукоятка кинематически связана через зубчатые колеса с барабаном, средство для перемещения патронной ленты выполнено в виде уложенного на барабан троса с зацепом для фиксирования его на патронной ленте, а корпус выполнен с возможностью установки на приемнике оружия.
РИСУНКИ
|
|