|
|
(21), (22) Заявка: 2007111582/06, 30.03.2007
(24) Дата начала отсчета срока действия патента:
30.03.2007
(46) Опубликовано: 20.12.2008
(56) Список документов, цитированных в отчете о поиске:
RU 1468150 С, 30.09.1994. RU 2036373 C1, 27.05.1995. RU 2116562 C1, 27.07.1998. SU 1019905 A1, 13.12.1980. EP 0199321 A, 29.10.1986.
Адрес для переписки:
125171, Москва, ул. Космонавта Волкова, 6А, ОАО “ВНИИАМ”, отдел 35, зав. сектором Л.М. Андрееву
|
(72) Автор(ы):
Шамароков Александр Сергеевич (RU), Балусов Борис Алексеевич (RU), Жингель Владимир Иосифович (RU), Тарасова Светлана Валентиновна (RU)
(73) Патентообладатель(и):
Открытое акционерное общество “Всероссийский научно-исследовательский и проектно-конструкторский институт атомного энергетического машиностроения” (ОАО “ВНИИАМ”) (RU)
|
(54) ТЕПЛООБМЕННИК
(57) Реферат:
Изобретение относится к атомной энергетике и может быть использовано при проектировании воздушных теплообменников систем аварийного расхолаживания и пассивного отвода тепла реакторных установок, а также при конструировании сепараторов-пароперегревателей турбоустановок атомных электростанций. Теплообменник содержит корпус, в котором размещен кольцевой пучок трубчатых ширм. Ширмы установлены с образованием межширмовых проемов и выполнены в поперечном сечении корпуса изогнутыми в одну сторону в направлении от центрального коллектора к стенке корпуса. Трубы промежуточных участков ширм расположены со стороны стенки корпуса и образуют с ней периферийные каналы, в которых ярусами расположены поперечные перегородки. В проемах поперечно установлены вертикальные перегородки, соединенные с соответствующими поперечными перегородками в каждом ярусе. В периферийных каналах каждый из периферийных потоков после встречи с поперечной перегородкой отбрасывается в зазоры между трубами промежуточного участка ширм. При таком выполнении теплообменника резко повышается гидравлическое сопротивление периферийных каналов, что увеличивает расход воздуха через межтрубное пространство ширм и повышает мощность теплообменника. 1 з.п. ф-лы, 4 ил.
Изобретение относится к атомной энергетике и может быть использовано при проектировании воздушных теплообменников систем аварийного расхолаживания (САРХ) и систем пассивного отвода тепла (СПОТ) реакторных установок, а также при конструировании трубных систем сепараторов-пароперегревателей турбоустановок атомных электростанций.
Известен теплообменник, содержащий корпус с трубным пучком, охваченным перфорированной перегородкой, образующей с корпусом периферийный канал, причем последний одной стороной подключен к полости корпуса, расположенной до трубного пучка по ходу среды межтрубного пространства, и закрыт с другой стороны для исключения проскока этой среды мимо пучка (см. Европейский патент №0199321 В1, F28D 7/06, 1988).
В таком теплообменнике среда из периферийного канала через перфорацию перегородки попадает в межтрубное пространство, где, смешиваясь с основным потоком, интенсифицирует теплообмен. Однако, поскольку все отверстия перфорации включены параллельно, скорости среды, выходящей из этих отверстий, недостаточны, чтобы заметно улучшить теплообмен в межтрубном пространстве.
Недостатком прототипа является неравномерность эпюры скоростей в поперечном сечении корпуса из-за протечек среды по периферийным каналам, несмотря на наличие поперечных перегородок, что снижает расход среды через межтрубное пространство и тепловую мощность теплообменника.
В таком теплообменнике поток среды, проходящий по периферийным каналам, несколько раз встречает на своем пути поперечные перегородки, которые отбрасывают этот поток в сторону пучка ширм. Предполагалось, таким образом, повысить гидравлическое сопротивление периферийных каналов, уменьшить в теплообменнике байпасные протечки и интенсифицировать теплообмен в пучке ширм.
Однако в таком теплообменнике периферийные каналы открыты со стороны межширмовых проемов, поэтому каждый периферийный поток среды, после встречи с поперечной перегородкой, отбрасывается в упомянутые проемы, имеющие незначительное гидравлическое сопротивление, огибает эту перегородку, затем возвращается в периферийный канал, поднимается до поперечной перегородки вышерасположенного яруса, которой опять отбрасывается в проем. При этом периферийный поток огибает перегородки, практически не взаимодействуя (без теплообмена) с трубами промежуточных участков ширм. Так получается потому, что гидравлическое сопротивление упомянутых проемов незначительно по сравнению с аналогичным сопротивлением зазоров между трубами промежуточных участков ширм.
Таким образом, недостатком прототипа является низкая интенсивность теплообмена в пучке ширм, что приводит к снижению тепловой мощности теплообменника.
Технической задачей изобретения является повышение интенсивности теплообмена в пучке ширм, что приведет к повышению тепловой мощности теплообменника.
Техническая задача изобретения решается в теплообменнике, содержащем вертикальный корпус с пучком трубчатых ширм, установленных вокруг центрального коллектора с образованием межширмовых проемов и выполненных в поперечном сечении корпуса изогнутыми в одну сторону в направлении от центрального коллектора к стенке корпуса, причем ширмы имеют промежуточные участки из вертикальных труб, расположенных со стороны стенки корпуса и образующих с ней периферийные каналы, в которых ярусами расположены поперечные перегородки, а в каждом межширмовом проеме поперечно установлена вертикальная перегородка, соединенная с соответствующими поперечными перегородками в каждом ярусе.
Кроме того, каждая поперечная перегородка может быть установлена с уклоном 5-30° в сторону стенки корпуса и с наклоном 5-20° к соответствующей вертикальной перегородке.
Наличие в межширмовых проемах вертикальных перегородок, размещенных в них поперечно и соединенных с соответствующими поперечными перегородками в каждом ярусе, расположенными в периферийных каналах, приводит к тому, что для периферийных потоков путь через межширмовые проемы будет перекрыт вертикальными перегородками, и этот поток после встречи с поперечной перегородкой каждого яруса теперь будет отбрасываться в зазоры между трубами промежуточных участков ширм.
Такое выполнение теплообменника резко повышает гидравлическое сопротивление периферийных каналов и снижает расходы периферийных потоков, что соответственно повышает расход среды через межтрубное пространство и увеличивает тепловую мощность теплообменника. Кроме того, теперь каждый периферийный поток интенсивно участвует в теплообмене, так как, поскольку межширмовый проем закрыт вертикальной перегородкой, периферийный поток, чтобы обогнуть поперечную перегородку, вынужден дважды проходить через зазоры между трубами промежуточных участков ширм.
Установка поперечных перегородок с уклоном 5-30° в сторону стенки корпуса и одновременно с наклоном 5-20° к соответствующей вертикальной перегородке увеличивает долю периферийного потока, направляемого в зазоры между трубами промежуточных участков ширм, и снижает паразитные протечки через возможные монтажные зазоры между стенкой корпуса и этими поперечными перегородками.
Таким образом, повышается интенсивность теплообмена не только в межтрубном пространстве ширм, но и в периферийной части пучка ширм, что приводит к повышению мощности теплообменника.
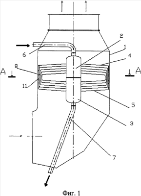
Изобретение поясняется чертежами, где на фиг.1 изображен общий вид теплообменника; на фиг.2 – разрез А-А фиг.1; на фиг.3 – узел I фиг.2; на фиг.4 – разрез Б-Б фиг.3.
Теплообменник содержит корпус 1, в котором размещены центральный коллектор с раздающей камерой 2 и собирающей камерой 3, а также установленный вокруг центрального коллектора кольцевой пучок трубчатых ширм с верхними участками 4 и нижними участками 5. Верхние участки 4 пучка трубчатых ширм подключены радиальными концами труб к раздающей камере 2 коллектора, а нижние участки 5 этого пучка – к его собирающей камере 3. Раздающая камера 2 подключена к трубопроводу 6 подвода теплоносителя трубного пространства ширм, а собирающая камера 3 – к трубопроводу 7 отвода этого теплоносителя.
Участки 4 и 5 ширм сообщены между собой по трубному пространству посредством соответствующих промежуточных участков 8 ширм. Промежуточные участки 8 ширм выполнены из вертикальных труб, распределенных в поперечном сечении корпуса 1 с образованием зазоров 9 относительно друг друга.
Ширмы установлены с образованием между собой межширмовых проемов 10 и выполнены в поперечном сечении корпуса 1 изогнутыми в одну сторону в направлении от центрального коллектора к стенке корпуса 1. Вертикальные трубы промежуточных участков 8 ширм расположены со стороны стенки корпуса 1 и образуют с ней периферийные каналы 11, в которых ярусами расположены поперечные перегородки 12, а в проемах 10 поперечно установлены вертикальные перегородки 13, соединенные с соответствующими поперечными перегородками 12 в каждом ярусе.
После монтажа между перегородками 12, с одной стороны, и стенкой корпуса 1, с другой стороны, могут остаться небольшие монтажные зазоры 14. Чтобы снизить паразитные протечки среды через зазоры 14, перегородки 12 устанавливают с уклоном 5-30° в сторону стенки корпуса 1 и одновременно с наклоном 5-20° к соответствующей вертикальной перегородке 13.
Предлагаемый теплообменник будет установлен в системе аварийного расхолаживания реакторной установки БН-800. При работе теплообменника жидкометаллический теплоноситель с температурой 505°С по трубопроводу 6 подают в камеру 2 центрального коллектора. Далее теплоноситель последовательно проходит по трубам участков 4, 8 и 5 ширм, в которых охлаждается до 309°С. Охлажденный теплоноситель собирается в камере 3 центрального коллектора, из которой отводится трубопроводом 7.
Теплоноситель охлаждается наружным воздухом, который за счет естественной тяги в корпусе 1 проходит по межтрубному пространству пучка.
Конфигурация ширм приводит к тому, что между корпусом 1 и трубным пучком образуются периферийные каналы 11, по которым проходят периферийные потоки охлаждающего воздуха.
В периферийных каналах 11 каждый из периферийных потоков после встречи с поперечной перегородкой 12 отбрасывается в зазоры 9 между трубами соответствующего промежуточного участка 8 ширм. В зазорах 9 периферийный поток огибает перегородку 12 с интенсивным теплообменом, затем возвращается в периферийный канал 11, поднимается до перегородки 12 вышерасположенного яруса, которая опять отбрасывает периферийный поток в зазоры 9 между трубами промежуточного участка 8 ширм. В результате резко повышается гидравлическое сопротивление периферийных каналов 11, что увеличивает расход воздуха через межтрубное пространство участков 4 и 5 ширм и повышает мощность теплообменника.
Пройдя пучок ширм, периферийные потоки соединяются с основным потоком охлаждающего воздуха, и объединенный поток выводится из теплообменника.
Формула изобретения
1. Теплообменник, содержащий вертикальный корпус с пучком трубчатых ширм, установленных вокруг центрального коллектора с образованием межширмовых проемов и выполненных в поперечном сечении корпуса изогнутыми в одну сторону в направлении от центрального коллектора к стенке корпуса, причем ширмы имеют промежуточные участки из вертикальных труб, расположенных со стороны стенки корпуса и образующих с ней периферийные каналы, в которых ярусами расположены поперечные перегородки, отличающийся тем, что в каждом межширмовом проеме поперечно установлена вертикальная перегородка, соединенная с соответствующими поперечными перегородками в каждом ярусе.
2. Теплообменник по п.1, отличающийся тем, что каждая поперечная перегородка установлена с уклоном 5-30° в сторону стенки корпуса и с наклоном 5-20° к соответствующей вертикальной перегородке.
РИСУНКИ
|
|