|
|
(21), (22) Заявка: 2006118398/06, 26.05.2006
(24) Дата начала отсчета срока действия патента:
26.05.2006
(43) Дата публикации заявки: 10.12.2007
(46) Опубликовано: 20.12.2008
(56) Список документов, цитированных в отчете о поиске:
GB 2051246 А, 14.01.1981. RU 2143579 C1, 27.12.1999. RU 2131989 C1, 20.06.1999. US 3170295 A, 23.02.1965. US 2935846 A, 10.051960.
Адрес для переписки:
141070, Московская обл., г. Королев, ул. Ленина, 4а, ОАО “РКК “Энергия” им. С.П. Королева”, отдел интеллектуальной собственности
|
(72) Автор(ы):
Банин Виктор Никитович (RU), Гореликов Владимир Иванович (RU)
(73) Патентообладатель(и):
Открытое акционерное общество “Ракетно-космическая корпорация “Энергия” имени С.П. Королева” (RU)
|
(54) СИСТЕМА НАДДУВА ТОПЛИВНЫХ БАКОВ (ВАРИАНТЫ)
(57) Реферат:
Изобретение относится к космической технике, а точнее к проектированию и эксплуатации реактивных двигательных установок (РДУ) космических летательных аппаратов (КЛА). В систему наддува топливных баков, содержащую баллоны высокого давления, связанные пневмомагистралями с газовыми полостями соответствующих топливных баков горючего и окислителя, и последовательно установленные на пневмомагистралях пускоотсечные клапаны и газовые редукторы, в отличие от прототипа, по первому варианту в нее введено подогревающее устройство, выполненное в виде подключенного к системе терморегулирования многоканального кожухотрубного теплообменника, внутри каждой трубки которого расположено тело-вытеснитель по всей длине трубки с образованием равномерного зазора в кольцевом канале между стенкой трубки и телом-вытеснителем, причем трубки выполнены в виде змеевиков и каналы теплообменника включены в соответствующие контуры пневмомагистралей после газовых редукторов, перед которыми установлены дроссельные устройства, при этом межтрубная полость теплообменника подключена к бортовой системе терморегулирования. По второму варианту в систему наддува топливных баков введено подогревающее устройство, выполненное в виде подключенного к системе терморегулирования многоканального кожухотрубного теплообменника, внутри каждой трубки которого расположено тело-вытеснитель по всей длине трубки с образованием равномерного зазора в кольцевом канале между стенкой трубки и телом-вытеснителем, причем трубки выполнены в виде змеевиков и каналы теплообменника включены в соответствующие контуры пневмомагистралей после дроссельных устройств, установленных перед газовыми редукторами, при этом межтрубная полость теплообменника подключена к бортовой системе терморегулирования. Изобретение обеспечивает повышение эффективности и надежности за счет исключения образования холодного потока газа, входящего в газовые полости топливных баков горючего и окислителя. 2 н.п. ф-лы, 2 ил.
Изобретение относится к космической технике, а точнее к проектированию и эксплуатации реактивных двигательных установок (РДУ) космических летательных аппаратов (КЛА).
Система наддува топливных баков горючего и окислителя, например, двигательной установки космического летательного аппарата используется в современных РДУ КЛА, применяемых для создания импульсов тяги, необходимых как для перемещения центра масс КЛА (коррекция траектории движения, торможение КЛА для обеспечения схода с орбиты), так и для создания управляющих моментов относительно его центра масс (ориентация, развороты и т.д.). Импульсы тяги для различных режимов управления аппаратом в пространстве создаются с помощью имеющихся на борту реактивных двигателей (РД), величины тяг которых в зависимости от их назначения изменяются в широких пределах (от нескольких сотен кГс до единиц кГс и менее). Работа указанных двигателей с заданными параметрами обеспечивается системами наддува топливных баков и подачи топлива к входам двигателей.
Известны системы наддува топливных баков горючего и окислителя двигательной установки КЛА (см., например, журнал №7 «Авиация и космонавтика», М., Воениздат, 1978 г., стр.36, 37, рис.2). Системы наддува содержат баллоны высокого давления, заполненные газом, например азотом, которые служат для обеспечения выдавливания топлива из топливных баков и подачи его к реактивным двигателям двигательной установки.
Баллоны высокого давления связаны с газовыми полостями наддува топливных баков посредством пневмомагистралей, содержащих пускоотсечные клапаны, газовые редукторы. Заправка баллонов газом высокого давления производится на Земле перед стартом ракеты-носителя.
Недостатками известных аналогов системы наддува топливных баков горючего и окислителя двигательной установки КЛА являются малая эффективность и низкая надежность системы.
Известна также система наддува топливных баков горючего и окислителя двигательной установки КЛА, выбранная в качестве прототипа (см., например, патент Великобритании №2051246, МПК: F04F 1/06, F02K 9/50 от 1981 г.). Система содержит баллоны высокого давления, связанные пневмомагистралями с газовыми полостями соответствующих топливных баков горючего и окислителя, и последовательно установленные на пневмомагистралях пускоотсечные клапаны и газовые редукторы. В данных системах в качестве источников газа высокого давления служат газонаполненные баллоны. При подаче топлива к потребителю, например к РД, выдавливание топлива из топливных баков производят газом с давлением порядка 10 кГс/см2, например азотом, закачанным до давления порядка 350 кГс/см2, в баллоны высокого давления на Земле перед стартом. Понижение давления до рабочего состояния 10 кГс/см2 осуществляют посредством газовых редукторов, при этом за счет большого и резкого понижения давления (с 350 до 10 кГс/см2) происходит значительное понижение температуры рабочего газа (азота), что отрицательно сказывается на состоянии как топлива (горючего и окислителя), так и на конструкции топливных баков и приводит к необходимости дополнительно термостатировать топливные баки, а это снижает эффективность и надежность системы.
Недостатками прототипа системы наддува топливных баков горючего и окислителя двигательной установки КЛА являются малая эффективность и низкая надежность системы из-за образования холодного потока газа, входящего в газовые полости топливных баков.
Задачей настоящего изобретения является создание системы наддува топливных баков, обладающей повышенной эффективностью и надежностью за счет исключения образования холодного потока газа, входящего в газовые полости топливных баков горючего и окислителя.
По первому варианту технический результат достигается тем, что в систему наддува топливных баков, содержащую баллоны высокого давления, связанные пневмомагистралями с газовыми полостями соответствующих топливных баков горючего и окислителя, и последовательно установленные на пневмомагистралях пускоотсечные клапаны и газовые редукторы, в отличие от прототипа, в нее введено подогревающее устройство, выполненное в виде подключенного к системе терморегулирования многоканального кожухотрубного теплообменника, внутри каждой трубки которого расположено тело-вытеснитель по всей длине трубки с образованием равномерного зазора в кольцевом канале между стенкой трубки и телом-вытеснителем, причем трубки выполнены в виде змеевиков и каналы теплообменника включены в соответствующие контуры пневмомагистралей после газовых редукторов, перед которыми установлены дроссельные устройства, при этом межтрубная полость теплообменника подключена к бортовой системе терморегулирования.
По второму варианту технический результат достигается тем, что в систему наддува топливных баков, содержащую баллоны высокого давления, связанные пневмомагистралями с газовыми полостями соответствующих топливных баков горючего и окислителя, и последовательно установленные на пневмомагистралях пускоотсечные клапаны и газовые редукторы, в отличие от прототипа, в нее введено подогревающее устройство, выполненное в виде подключенного к системе терморегулирования многоканального кожухотрубного теплообменника, внутри каждой трубки которого расположено тело-вытеснитель по всей длине трубки с образованием равномерного зазора в кольцевом канале между стенкой трубки и телом-вытеснителем, причем трубки выполнены в виде змеевиков и каналы теплообменника включены в соответствующие контуры пневмомагистралей после дроссельных устройств, установленных перед газовыми редукторами, при этом межтрубная полость теплообменника подключена к бортовой системе терморегулирования.
Использование предлагаемой системы наддува топливных баков КЛА, например, на грузовом космическом корабле типа «Прогресс» позволит дать значительный экономический эффект за счет повышения эффективности и надежности путем исключения образования холодного потока газа, входящего в газовые полости топливных баков горючего и окислителя.
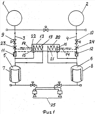
Сущность изобретения поясняется чертежами. На фиг.1 дана схема системы наддува топливных баков, а на фиг.2 – поперечное сечение трубки змеевика.
Предлагаемая система наддува топливных баков, например, двигательной установки КЛА состоит из следующих основных узлов, деталей и агрегатов: баллонов высокого давления 1, 2, связанных пневмомагистралями 3, 4 с газовыми полостями 5, 6 соответствующих топливных баков горючего 7 и окислителя 8, и последовательно установленных на пневмомагистралях 3, 4 пускоотсечных клапанов 9, 10 и газовых редукторов 11, 12. Система наддува содержит подогревающее устройство 13, выполненное в виде подключенного к системе терморегулирования 14 многоканального кожухотрубного теплообменника 15, содержащего в каждой трубке 16 тело-вытеснитель 17, расположенное внутри по всей длине трубки 16 с образованием равномерного зазора в кольцевом канале 18 между стенкой трубки 16 и телом-вытеснителем 17. В качестве тела-вытеснителя используют, например, запаянную с двух концов трубку, входящую с зазором в полость трубки 16, образующим кольцевой канал 18. Теплообменник 15 содержит два змеевика 19 и 20, выполненные из трубок 16 с каналом 18 и размещенные в межтрубной полости 21 теплообменника 15, образованной внутри кожуха 22. По варианту 1 каналы 18 теплообменника 15 включены в соответствующие контуры пневмомагистралей 3, 4 после газовых редукторов 11, 12, перед которыми установлены дроссельные устройства 23, 24. По варианту 2 каналы 18 теплообменника 15 аналогично включены в соответствующие контуры пневмомагистралей 11, 12 после дроссельных устройств 23, 24, установленных перед газовыми редукторами 11, 12 (на фиг.1 показано пунктирной линией). Межтрубная полость 21 теплообменника 15 подключена к бортовой системе терморегулирования 14. Дроссельные устройства 23, 24 выполнены в виде дроссельных шайб. Для обеспечения равномерного кольцевого зазора, образующего в трубке 16 канал 18, на поверхность тела-вытеснителя 17 напаивают спираль, например, из проволоки или узкой ленты.
Работает система наддува топливных баков двигательной установки КЛА следующим образом. При выдавливании и подаче топлива к потребителю, например к РД 25, из топливных баков горючего 7 и окислителя 8 открывают пускоотсечные клапаны 9, 10 и газ, например азот, из баллонов 1, 2 под высоким давлением порядка 350 кГс/см2 проходит через дроссельные устройства 23, 24. В процессе дросселирования наряду с понижением давления до 30 кГс/см2 значительно понижается температура газа. Далее охлажденный газ с пониженным (расчетным) давлением порядка 30 кГс/см2 поступает в газовые редукторы 11, 12, которые понижают давление газа до заданного и необходимого давления порядка 10 кГс/см2 для выдавливания топлива из топливных баков 7, 8 и подачи его к потребителю, например к РД 25. По варианту 1 после газовых редукторов 11,12 газ гелий поступает в каналы 18 змеевиков 19 и 20, где подогревается до заданной температуры от теплоносителя бортовой СТР 14, прокачиваемого через межтрубную полость 21 теплообменника 15, и подается в газовые полости 5, 6 топливных баков 7, 8, откуда производится выдавливание и подача топлива к потребителю, например к РД 25.
По второму варианту при использовании воздуха или азота после дроссельных устройств 23, 24 газообразное вещество с давлением порядка 30 кГс/см2 поступает в каналы 18 змеевиков 19 и 20, где подогревается до заданной температуры от теплоносителя бортовой СТР 14, прокачиваемого через межтрубную полость 21 теплобменника 15. Далее подогретый газ (подогрев газа улучшает работу газовых редукторов) поступает в газовые редукторы 11, 12, которые понижают давление газа до 10 кГс/см2. При таком перепаде (с 30 до 10 кГс/см2) давления понижение температуры предварительно подогретого газа практически не происходит. После газовых редукторов 11, 12 газ при давлении 10 кГс/см2 подается в газовые полости 5, 6 топливных баков 7, 8, откуда производится выдавливание и подача топлива к потребителю, например к РД 25.
В случае использования гелия для наддува, газовые редукторы работают на сухом газе – гелии, так как сжижения газа (гелия) не происходит и, следовательно, не снижается работоспособность газовых редукторов; в этом случае при подключении подогревателей после газовых редукторов обеспечивается более качественное поддержание температуры на входе в газовые полости топливных баков, что и определяет выбор 1-го варианта. В случае использования для наддува воздуха или азота при донных перепадах давлений происходит сжижение газообразного вещества, что недопустимо для работы газовых редукторов, поэтому нагреватели необходимо устанавливать перед газовыми редукторами, как во 2-ом варианте.
Выбор и использование того или другого вариантов включения подогревающего устройства 13 в пневмомагистрали 3, 4 производится в зависимости от применения газов (азота, гелия или др.), имеющих различные теплофизические свойства и состояния при дросселировании газа. Таким образом, предлагаемое техническое решение в части включения в контуры пневмомагистралей 3, 4 подогревающего устройства 13: по варианту 1 – после газовых редукторов 11, 12, перед которыми установлены дроссельные устройства 23, 24; и по варианту 2 – после дроссельных устройств 23, 24, установленных перед газовыми редукторами 11, 12, обеспечивает повышение эффективности и надежности за счет исключения образования холодного потока газа, входящего в газовые полости 5, 6 топливных баков горючего 7 и окислителя 8, что обеспечивает выполнение поставленной задачи.
Формула изобретения
1. Система наддува топливных баков, содержащая баллоны высокого давления, связанные пневмомагистралями с газовыми полостями соответствующих топливных баков горючего и окислителя, и последовательно установленные на пневмомагистралях пускоотсечные клапаны и газовые редукторы, отличающаяся тем, что в систему введено подогревающее устройство, выполненное в виде подключенного к системе терморегулирования многоканального кожухотрубного теплообменника, внутри каждой трубки которого расположено тело-вытеснитель по всей длине трубки с образованием равномерного зазора в кольцевом канале между стенкой трубки и телом-вытеснителем, причем трубки выполнены в виде змеевиков и каналы теплообменника включены в соответствующие контуры пневмомагистралей после газовых редукторов, перед которыми установлены дроссельные устройства, при этом межтрубная полость теплообменника подключена к бортовой системе терморегулирования.
2. Система наддува топливных баков, содержащая баллоны высокого давления, связанные пневмомагистралями с газовыми полостями соответствующих топливных баков горючего и окислителя, и последовательно установленные на пневмомагистралях пускоотсечные клапаны и газовые редукторы, отличающаяся тем, что в систему введено подогревающее устройство, выполненное в виде подключенного к системе терморегулирования многоканального кожухотрубного теплообменника, внутри каждой трубки которого расположено тело-вытеснитель по всей длине трубки с образованием равномерного зазора в кольцевом канале между стенкой трубки и телом-вытеснителем, причем трубки выполнены в виде змеевиков и каналы теплообменника включены в соответствующие контуры пневмомагистралей после дроссельных устройств, установленных перед газовыми редукторами, при этом межтрубная полость теплообменника подключена к бортовой системе терморегулирования.
РИСУНКИ
|
|