|
|
(21), (22) Заявка: 2007107028/03, 26.02.2007
(24) Дата начала отсчета срока действия патента:
26.02.2007
(30) Конвенционный приоритет:
27.02.2006 US 11/307,889
(46) Опубликовано: 20.12.2008
(56) Список документов, цитированных в отчете о поиске:
RU 2267604 C1, 10.01.2006. RU 2098615 C1, 10.12.1997. RU 2104393 C1, 10.02.1998. RU 2156860 C2, 27.09.2000. RU 2268356 C1, 20.01.2006. RU 2254461 С1, 20.06.2005. RU 2225942 С1, 20.03.2004. SU 1830411 А1, 30.07.1993. US 5163321 A, 17.11.1992. US 5332035 A, 26.07.1999.
Адрес для переписки:
129010, Москва, ул. Б.Спасская, 25, стр.3, ООО “Юридическая фирма Городисский и Партнеры”, пат.пов. А.В.Миц
|
(72) Автор(ы):
УОЛФОРД Меррик (FR)
(73) Патентообладатель(и):
ШЛЮМБЕРГЕР ТЕКНОЛОДЖИ Б.В. (NL)
|
(54) ОСУЩЕСТВЛЯЕМЫЕ В РЕАЛЬНОМ МАСШТАБЕ ВРЕМЕНИ НА СТОРОНЕ ДОБЫЧИ КОНТРОЛЬ И УПРАВЛЕНИЕ ДЛЯ ПРИМЕНЕНИЙ, ПРЕДУСМАТРИВАЮЩИХ ИЗВЛЕЧЕНИЕ ФЛЮИДОВ С ПОМОЩЬЮ НАГРЕВАНИЯ
(57) Реферат:
Изобретение относится к автоматическому управлению системой, которая защищает скважинное оборудование и оборудование, расположенное на поверхности, от высоких температур, являющихся результатом прорыва нагнетаемого пара. Техническим результатом изобретения является увеличение времени эксплуатации скважины за счет устранения повреждения скважинного и околоскважинного оборудования. Для этого контролируют температуру добываемого флюида в местоположении выше по течению от скважинного оборудования. Если эта температура превышает характеристику пороговой температуры прорыва нагнетаемого пара, генерируется сигнал тревоги. В ответ на прием этого сигнала тревоги подача электрической энергии в скважинное оборудование автоматически прекращается. Перепускной клапан избирательно направляет добываемый флюид в перепускной канал оборудования, расположенного на поверхности. Для направления добываемого флюида в перепускной канал, в ответ на прием сигнала тревоги, осуществляется автоматическое управление перепускным клапаном. 11 н. и 41 з.п. ф-лы, 4 ил.
Область техники, к которой относится изобретение
В широком смысле это изобретение относится к устройствам и способам извлечения флюида с помощью нагнетания горячего пара или иным способам добычи с помощью нагрева. Более конкретно – это изобретение относится к устройствам и способам извлечения природного битума и других форм тяжелой нефти способами добычи с помощью нагрева.
Предшествующий уровень техники
Существует множество нефтеносных пластов, из которых невозможно извлечь нефть обычными средствами, так как эта нефть является настолько вязкой, что не будет течь из пласта в обычную нефтяную скважину. Примерами таких пластов являются залежи природного битума в Канаде и Соединенных Штатах, а также залежи тяжелой нефти в Канаде, Соединенных Штатах и Венесуэле. В этих залежах нефть является настолько вязкой в преобладающих условиях температуры и давления в пластах, что она течет очень медленно (или вообще не течет) в ответ на силу тяжести. Тяжелая нефть – это битуминозная, плотная (с низкой плотностью в градусах Американского нефтяного института (АНИ)) и вязкая нефть, которая химически характеризуется своим содержанием асфальтенов (очень больших молекул, включающих в себя большинство серы и, возможно, 90 процентов металлов в нефти). Наиболее тяжелая нефть находится у границ геологических бассейнов и считается отложением прежней легкой нефти, утратившей компоненты с малой молекулярной массой из-за деградации, обусловленной бактериями, вымывания водой и испарения. Природный битум (часто называемый битуминозными песками или нефтеносными песками) сохраняет признаки тяжелой нефти, но является еще более плотным и более вязким.
Тяжелую нефть обычно извлекают путем нагнетания перегретого водяного пара в продуктивный пласт, что уменьшает вязкость нефти и увеличивает пластовое давление за счет смещения и частичной дистилляции нефти. Водяной пар можно нагнетать непрерывно, пользуясь отдельными нагнетательными и эксплуатационными скважинами. В альтернативном варианте водяной пар можно нагнетать циклически, так что при этом скважины попеременно используются для нагнетания и добычи (так называемый процесс циклического нагнетания водяного пара в ствол скважины).
Природный битум настолько вязок, что он неподвижен в продуктивном пласте. В случае залежей нефтеносных песков глубиной менее 70 метров битум извлекают путем разработки песков, после чего отделяют битум от пластовой породы посредством обработки горячей водой, а в заключение – обогащают природный битум, получая синтетическую сырую нефть. В случае более глубоких залежей битума в продуктивный пласт нагнетают водяной пар, делая нефть подвижной с целью ее извлечения. Продукт можно обогащать на месте или смешивать с разбавителем и транспортировать к обогатительному оборудованию.
На фиг.1А и 1В изображена система для извлечения нефти из продуктивного пласта природного битума. В этой системе, которую обычно называют системой подачи самотеком с помощью водяного пара, используется пара расположенных одна над другой горизонтальных скважин, находящихся в продуктивном пласте 2 природного битума, который в типичном случае заключен между верхним слоем покрывающей породы 4 и нижним слоем сланца 6. Верхняя скважина 8, называемая нагнетательной скважиной, используется для нагнетания горячего парообразного флюида (такого, как водяной пар и/или пар растворителя) в продуктивный пласт 2 битума. Горячий парообразный флюид нагревает пласт и делает битум подвижным. Сила тяжести вызывает движение подвижного битума к нижней скважине 10, называемой эксплуатационной скважиной, как показано на фиг.1В. Затем флюид битума выкачивают посредством насосно-компрессорной эксплуатационной системы на поверхность через эксплуатационную скважину 10.
Последние достижения в конструкциях электрических погружных насосов (ЭПН) (таких как ЭПН модели HOTLINE от фирмы Schlumberger) сделали возможной работу в диапазонах повышенных температур (например, более 205°С) при реализации многих способов добычи с помощью нагрева, предусматривающих использование системы подачи самотеком с помощью водяного пара, показанной на фиг.1А и 1В, для извлечения битума. Однако скважинный ЭПН подвержен повреждениям (или воздействиям, негативно сказывающимся на технологическом сроке его службы) из-за периодического непосредственного прорыва нагнетаемого пара, который называется в данном описании «прорывом нагнетаемого пара». Нагнетаемый пар обычно подается в нагнетательную скважину 8 при температуре порядка 260°С. Когда происходит прорыв нагнетаемого пара, нагнетаемый пар попадает в эксплуатационную скважину, не подвергаясь значительному охлаждению по сравнению с его температурой в горячем состоянии, при которой он подается в нагнетательную скважину. Высокая температура, характерная для прорыва водяного пара, может вызвать повреждение ЭПН в процессе его работы и/или может негативно сказаться на его времени эксплуатации.
С похожими проблемами можно столкнуться и в случае оборудования, расположенного на поверхности, такого как многофазный расходомер. Многофазный расходомер непрерывно измеряет отдельные фазы добываемого флюида, не нуждаясь в предварительном его разделении, что обеспечивает быстрый и эффективный анализ тенденций рабочих параметров скважины, а также немедленную диагностику скважины. Высокие температуры, являющиеся результатом прорыва нагнетаемого пара, могут вызывать повреждение таких многофазных расходомеров или значительно снижать их эксплуатационную долговечность.
Таким образом, в данной области техники сохраняется потребность в разработке механизмов, которые защищают скважинное оборудование и оборудование, расположенное на поверхности, от высоких температур, являющихся результатом прорыва нагнетаемого пара, в прикладных системах, предусматривающих добычу с помощью нагрева.
Краткое изложение существа изобретения
Следовательно, задача изобретения состоит в том, чтобы разработать механизм, который защищает скважинное оборудование от высоких температур, являющихся результатом прорыва нагнетаемого пара, в применениях, предусматривающих добычу с помощью нагрева.
Другая задача настоящего изобретения состоит в том, чтобы разработать механизм, который защищает оборудование, расположенное на поверхности, от высоких температур, являющихся результатом прорыва нагнетаемого пара, в применениях, предусматривающих добычу с помощью нагрева.
В соответствии с этими задачами, которые будут подробно рассмотрены ниже, предложена система автоматического управления, которая защищает скважинное оборудование (такое как электрические погружные насосы), а также оборудование, расположенное на поверхности (такое как многофазные расходомеры), от высоких температур, являющихся результатом прорыва нагнетаемого пара. Применительно к защите скважинного оборудования система работает, получая оценку температуры добываемого флюида в некотором месте выше по течению от скважинного оборудования. В случае, если эта температура превышает характеристику пороговой температуры прорыва нагнетаемого пара, генерируется первый сигнал тревоги. В ответ на прием первого сигнала тревоги подача электрической энергии в скважинное оборудование автоматически прекращается. Применительно к защите оборудования, расположенного на поверхности, предусмотрен перепускной канал с перепускным клапаном для избирательного направления добываемого флюида в перепускной канал. Система работает, получая оценку температуры добываемого флюида в некотором месте на поверхности выше по течению от оборудования, расположенного на поверхности. В случае, если эта температура превышает характеристику пороговой температуры прорыва нагнетаемого пара, генерируется второй сигнал тревоги. Для направления добываемого флюида в перепускной канал в ответ на прием второго сигнала тревоги осуществляется автоматическое управление перепускным клапаном.
Следует понять, что посредством автоматического отключения скважинного оборудования, когда мимо этого скважинного оборудования происходит прорыв нагнетаемого пара, можно избежать повреждения скважинного оборудования и увеличить это время эксплуатации. Аналогичным образом можно избежать повреждения оборудования, расположенного на поверхности, и увеличить это время эксплуатации, направляя прорыв нагнетаемого пара по перепускному каналу.
В соответствии с одним вариантом осуществления изобретения, проводимые системой измерения температуры получаются путем оптического измерения коэффициента отражения методом наблюдения за формой отраженного сигнала оптических импульсов, которые распространяются по оптическому волокну, идущему к соответствующим местам измерений по насосно-компрессорной колонне.
Дополнительные задачи и преимущества изобретения станут очевидными для специалистов в данной области техники при обращении к нижеследующему подробному описанию, приводимому в связи с чертежами.
Краткое описание чертежей
На фиг.1А и 1В представлены наглядные иллюстрации системы подачи самотеком с помощью водяного пара.
На фиг.2А представлена наглядная иллюстрация скважинных компонентов усовершенствованной системы подачи самотеком с помощью водяного пара.
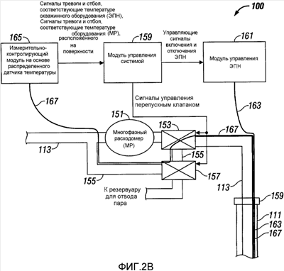
На фиг.2В представлена функциональная блок-схема компонентов, расположенных на поверхности, усовершенствованной системы подачи самотеком с помощью водяного пара в соответствии с настоящим изобретением.
Подробное описание изобретения
В описании термины «ниже по течению» и «выше по течению», «ниже по стволу скважины» и «выше по стволу скважины», «внизу» и «вверху», «вниз» и «вверх», а также другие подобные им термины указывают относительные положения в стволе скважины относительно направления потока флюида в ней. Иными словами, флюид течет от мест и элементов, расположенных «выше по течению», к местам и элементам, расположенным «ниже по течению». Отметим, что применительно к устройствам и способам, предназначенным для применения в стволах скважин, которые являются наклонными или горизонтальными, такие термины могут относиться к взаимосвязанным местоположениям слева направо, взаимосвязанным местоположениям справа налево, или к другим взаимосвязанным местоположениям.
Обращаясь теперь к фиг.2А и 2В, отмечаем, что здесь показана усовершенствованная система 100 подачи самотеком с помощью водяного пара в соответствии с настоящим изобретением. Эта система включает в себя систему автоматического управления, которая защищает скважинное оборудование и оборудование, размещенное на поверхности от высоких температур, являющихся результатом прорыва нагнетаемого пара.
Как обычно, в системе 100 применяется пара расположенных одна над другой горизонтальных скважин, находящихся в продуктивном пласте 102 природного битума, который в типичном случае заключен между верхним слоем покрывающей породы 104 и нижним слоем сланца (не показан). Инжекционная скважина 108 нагнетает горячий парообразный флюид, такой, как водяной пар, пар углекислого газа и/или пар растворителя, в продуктивный пласт 102 битума, что хорошо известно в данной области техники. Нагнетание горячего парообразного флюида нагревает продуктивный пласт 102 и делает битум подвижным. Сила тяжести вызывает движение подвижного битума к эксплуатационной скважине 110, как показано на фиг.1В.
В эксплуатационной скважине 110 применяется обсадная колонна 111, которая зацементирована по месту. Обсадная колонна 111 имеет множество перфорационных отверстий 112, которые обеспечивают гидравлическое сообщение между внутренним пространством обсадной колонны 111 и продуктивным пластом 102 битума. Насосно-компрессорная колонна 113 проходит внутри обсадной колонны 111 от поверхности к узлу 114 ЭПН (электрического погружного насоса), находящемуся внутри обсадной колонны 111. Узел 115 хвостовика из бурильных труб проходит внутри обсадной колонны 111 между расположенным ниже по стволу скважины концом узла 114 ЭПН и эксплуатационным пакером 116 (если он используется). Для изоляции продуктивной зоны внутри боковой секции обсадной колонны 111 можно использовать или не использовать изоляционный пакер 117 и отстойный пакер 118. От эксплуатационного пакера 116 (если он используется) к отстойному пакеру 118 (если он используется) проходит ответвляемая насосно-компрессорная колонна 119 (которую иногда называют колонной труб, сворачиваемой в бухту, спусковой колонной или употребляют другие термины, известные в данной области техники). Участок ответвляемой насосно-компрессорной колонны 119 в зоне перфорационных отверстий 112 включает в себя фильтрующий элемент 121, что хорошо известно в данной области техники. В общем случае фильтрующий элемент 121 имеет перфорированную базовую трубу с расположенной на ней фильтрующей средой для обеспечения необходимой фильтрации. Такая фильтрующая среда может состоять, например, из проволочной оплетки, сетчатого материала, полуфабрикатов, нескольких слоев материалов, тканой сетки, сетки, полученной спеканием, фольги, оберточного материала с прорезями или оберточного перфорированного листа. Многие распространенные фильтрующие элементы включают в себя прокладку, которая разносит фильтрующую среду от базовой трубы, чтобы обеспечить проточное кольцевое пространство между ними. Как правило, в ствол скважины нагнетают гранулированный фильтровальный осадочный материал, например, гравийную набивку или набивку на смоляной основе, чтобы этот материал заполнил кольцевое пространство между фильтрующим элементом 121 и обсадной колонной 111 скважины и проделанными сквозь нее перфорационными отверстиями 112.
Узел 114 ЭПН снабжается электрической энергией, подаваемой к нему с поверхности. Узел 114 ЭПН выкачивает флюид мобилизованного битума в перфорационные отверстия 112 и фильтрующий элемент 121 и далее через ответвляемую насосно-компрессорную колонну 119 и узел 115 хвостовика из бурильных труб вверх в насосно-компрессорную колонну 113 к поверхности. Узел 114 ЭПН может содержать множество компонентов в зависимости от практического приложения или среды, в которой этот узел эксплуатируется. Возможный узел 114 ЭПН, показанный на фиг.2А, включает в себя спускоподъемный переводник 114-1, выпускную головку 114-2, насосную секцию 114-3, защитно-уплотнительную секцию 114-4, секцию 114-5 двигателя и пробку 114-6 двигателя. Спускоподъемный переводник 114-1 используется для манипуляций с узлом 114 ЭПН во время установки и действует как соединитель с резьбой насосно-компрессорной колонны, которая ведет к верхней части насосно-компрессорной колонны 113. Насосная секция 114-3 обеспечивает механические элементы (например, лопасти, поршни), которые обеспечивают выкачивание мобилизированного битума от впускных каналов наружу из выпускной головки 114-2 для подачи на поверхность. Впускные каналы обеспечивают путь флюида для всасывания флюида в насосную секцию 114-3 из продуктивного пласта 102 через узел 115 хвостовика из бурильных труб, ответвляемую насосно-компрессорную колонну 119, фильтрующий элемент 121 и перфорационные отверстия 112. Защитно-уплотнительная секция 114-4 передает крутящий момент, создаваемый секцией 114-5 двигателя, в насосную секцию 114-3 для приведения в действие насоса. Защитно-уплотнительная секция 114-4 также обеспечивает уплотнение, препятствующее проникновению флюидов и загрязняющих веществ в секцию 114-5 двигателя. Секция 114-5 двигателя снабжает узел электрического двигателя электрической энергией, подаваемой к нему с поверхности. Пробка 114-6 двигателя, которая находится на нижнем конце узла 114 ЭПН, обеспечивает дополнительное положение зажима, а также защиту узла ЭПН в процессе работы по заканчиванию скважины. Как правило, между секцией 114-5 двигателя и пробкой 114-6 двигателя предусмотрен скважинный контролирующий инструмент (не показан). Этот скважинный контролирующий инструмент обеспечивает контроль и телеметрию скважинных условий и параметров в месте выкачивания или около этого места.
Как показано на фиг.2В, насосно-компрессорная труба выходит из обсадной колонны 111 на поверхности. На пути насосно-компрессорной колонны предусмотрен многофазный расходомер 151. Этот многофазный расходомер 151 непрерывно измеряет отдельные фазы добываемого флюида, протекающего по насосно-компрессорной колонне 113, не нуждаясь в предварительном отделении этого флюида, что обеспечивает быстрый и эффективный анализ тенденций рабочих параметров скважины, а также немедленную диагностику скважины. Перепускной канал вокруг многофазного расходомера 151 обеспечивается перепускным клапаном 153 и перепускной трубной секцией 155. Для отвода парообразного флюида, а, возможно, и других добываемых флюидов, в резервуар для отвода пара или другие подходящие технологические средства можно использовать второй перепускной клапан 157. Перепускной клапан 153 и перепускной клапан 157 имеют электронный привод (т.е. открываются и закрываются электронными средствами), а управление ими осуществляет модуль 159 управления системой.
Предусмотрен модуль 161 управления ЭПН, который управляет работой секции 114-5 двигателя ЭПН (фиг.2А) узла 114 ЭПН посредством кабелей 163 электропитания между ними. Кабели 163 электропитания, которые обычно защищены армированием или являются изолированными проводниками, проходят сквозь выходное отверстие 159 устья скважины вниз вдоль насосно-компрессорной колонны 113 снаружи нее в кольцевом пространстве между насосно-компрессорной колонной 113 и обсадной колонной 111. При их наличии по этим кабелям 163 электропитания передаются телеметрические сигналы, формируемые скважинным контролирующим инструментом узла 114 ЭПН. Модуль 161 управления ЭПН также выполнен с возможностью избирательного включения и отключения подачи в секцию 114-5 двигателя ЭПН той энергии, которая подается в нее по кабелям 163 электропитания. Модуль 161 управления ЭПН также может обладать функциональными возможностями привода с регулируемой скоростью, что позволяет регулировать выходную мощность насоса путем изменения рабочей скорости двигателя, обеспечиваемой секцией 114-5 двигателя ЭПН. В скважинах, где применяется система подачи самотеком с помощью водяного пара, температуры обычно слишком высоки, чтобы для отключения ЭПН можно было использовать обычные датчики давления и температуры. Поэтому в настоящее время допускается прохождение горячей пробки флюида через насосы с сопутствующими этому прохождению вредными воздействиями. В отличие от этого, соответствующее настоящему изобретению применение измерительной системы на основе волоконно-оптического распределенного датчика температуры (РДТ) для обнаружения горячей пробки флюида обеспечивает отключение насоса до того, как горячая пробка флюида достигнет его.
Поэтому в эксплуатационной скважине 110 применяется измерительно-контролирующая система на основе волоконно-оптического распределенного датчика температуры, реализованная в виде измерительно-контролирующего модуля 165 на основе волоконно-оптического распределенного датчика температуры с выходящим из него оптическим волокном 167. В иллюстрируемом варианте осуществления оптическое волокно 167 развернуто в виде линии передачи сигналов управления, которая проходит вдоль перепускного канала, а потом – вдоль насосно-компрессорной колонны 113 вниз через выходное отверстие 159 устья скважины к узлу хвостовика из бурильных труб, расположенному ниже узла 114 ЭПН. Аналогично кабелям 163 электропитания, волоконно-оптическая линия 167 передачи сигналов управления проходит вниз снаружи насосно-компрессорной колонны 113 вдоль нее в кольцевом пространстве между насосно-компрессорной колонной 113 и обсадной колонной 111. Волоконно-оптическая линия 167 передачи сигналов управления может оканчиваться в предварительно определенном положении ниже по течению от узла 114 ЭПН (например, рядом с узлом 115 хвостовика из бурильных труб), как показано на чертеже. Глубина, на которой может оканчиваться волоконно-оптическая линия 167 передачи сигналов управления, будет определена с обеспечением достаточно раннего обнаружения горячей пробки флюида, позволяющего отключить ЭПН и обеспечить охлаждение двигателя перед тем, как мимо него пройдет горячая пробка флюида. В альтернативном варианте волоконно-оптическая линия 167 передачи сигналов управления может продолжаться дальше в ствол эксплуатационной скважины 110, например, до окрестности продуктивной зоны. В еще одних вариантах осуществления волоконно-оптическая линия передачи сигналов управления может образовывать замкнутый контур, который возвращается обратно вверх по эксплуатационной скважине 110 для обеспечения двухсторонней передачи сигналов измерения, что хорошо известно, либо этот замкнутый контур может продолжаться, заходя в инжекционную скважину 108 или другие скважины (не показаны) для осуществления в них измерений посредством распределенных датчиков температуры. В других вариантах осуществления измерительно-контролирующий модуль 165 на основе волоконно-оптического распределенного датчика температуры может быть размещен рядом с инжекционной скважиной 108 или рядом с еще одной скважиной с целью передачи из него сигналов тревоги и отбоя.
Осуществляемая измерительно-контролирующим модулем 165 на основе волоконно-оптического распределенного датчика температуры операция измерения температуры основана на измерении коэффициента отражения методом наблюдения за формой отраженного сигнала (ИКОМНФОС), причем это измерение обычно называют «обратным рассеянием». При этом методе работающий в импульсном режиме лазерный источник большой мощности запускает импульс света по оптическому волокну 167 через направленный ответвитель. Оптическое волокно 167 образует измеряющий температуру элемент системы и развертывается там, где нужно измерить температуру. По мере распространения импульса по оптическому волокну 167 его свет рассеивается посредством нескольких механизмов, включая флуктуации плотности и состава (рассеяние Рэлея), а также молекулярных и объемных колебаний (соответственно, рассеяния Рамана и Бриллюэна). Часть этого рассеянного света остается внутри сердцевины волокна и направляется обратно к источнику. Этот возвращающийся сигнал выделяется направленным разветвителем и посылается в высокочувствительный приемник. В однородном волокне интенсивность возвращающегося света демонстрирует экспоненциальное затухание со временем (что и позволяет найти расстояние, пройденное светом вниз по волокну, на основе скорости света в волокне). Изменения таких факторов, как состав и температура, вдоль длины волокна проявляются в отклонениях от «совершенного» экспоненциального затухания интенсивности с расстоянием. Метод ИКОМНФОС надлежащим образом апробирован и широко применяется в промышленности средств оптической связи для оценки волоконно-оптической линии связи или места возникновения отказа. В такой прикладной системе проверяется характеристика обратного рассеяния Рэлея. Характеристика обратного рассеяния Рэлея остается несмещенной от длины волны запуска. Эта характеристика обеспечивает информацию о потерях, разрывах и неоднородностях вдоль длины волокна, и она очень чувствительна к температурным различиям вдоль волокна. Две других составляющих рассеяния (характеристика рассеяния Бриллюэна и характеристика рассеяния Рамана) смещаются от длины волны запуска, а интенсивность этих сигналов гораздо ниже, чем у составляющей Рэлея. Характеристика рассеяния Бриллюэна и характеристика «антистоксова» обратного рассеяния Рамана чувствительны к температуре. Любую из этих характеристик рассеяния (или их обе) можно выделить из возвращающихся сигналов путем оптической фильтрации и обнаружения с помощью детектора. Обнаруженные сигналы обрабатывают с помощью схемы обработки сигналов, которая, как правило, усиливает обнаруженные сигналы, а затем преобразует получаемые сигналы в цифровую форму (например, оцифровывает их с помощью высокоскоростного аналого-цифрового преобразователя). Потом можно анализировать цифровые сигналы, формируя профиль температуры вдоль оптического волокна 167. Оптическое волокно 167 может быть либо многомодовым волокном, либо одномодовым волокном. Примером промышленно поставляемой измерительно-контролирующей системы на основе волоконно-оптического распределенного датчика температуры является система распределенного датчика температуры модели SENSA от фирмы Schlumberger.
Управление измерительно-контролирующим модулем 165 на основе волоконно-оптического распределенного датчика температуры осуществляется с целью контроля температуры в скважине в некотором месте ниже по течению от узла 114 ЭПН и выдачи сигнала тревоги, если температура в этом месте превышает предварительно определенную максимальную температуру. Предварительно определенную максимальную температуру задают равной температуре, которая обеспечивает обнаружение различия между обычным добываемым флюидом и потоком прорыва нагнетаемого пара. Таким образом, сигнал тревоги указывает на прорыв нагнетаемого пара (обычно называемый «горячей пробкой»), проходящего через насосно-компрессорную колонну в месте, находящемся ниже узла ЭПН. Сигнал отбоя тревоги передается, когда измеренная температура падает до температуры, которая указывает, что восстановился поток нормально добываемого флюида (т.е. что поток прорыва нагнетаемого пара миновал). Сигналы тревоги и отбоя, соответствующие скважинной температуре, передаются из измерительно-контролирующего модуля 165 на основе волоконно-оптического распределенного датчика температуры в модуль 159 управления системой. В ответ на прием сигнала тревоги, соответствующего скважинной температуре, модуль 159 управления системой посылает команду «Отключить ЭПН» в модуль 161 управления ЭПН, по которой отключается подача энергии в секцию 114-5 двигателя ЭПН. В ответ на прием сигнала отбоя тревоги модуль 159 управления системой посылает команду «Включить ЭПН» в модуль 161 управления ЭПН, по которой включается подача энергии в секцию 114-5 двигателя ЭПН в соответствии с разработанным алгоритмом управления. Как правило, такие алгоритмы управления обеспечивают контроль давления в скважине и управление энергией, подаваемой в секцию 114-5 двигателя ЭПН. Для регулирования энергии, подаваемой в секцию 114-5 двигателя ЭПН с целью максимизации дебита, на основе измерений скважинного давления в реальном масштабе времени можно использовать регуляторы скорости. Распространенной практикой для алгоритма управления секцией 114-5 двигателя ЭПН является динамическое обновление данных с целью достижения оптимальных рабочих параметров. Таким образом, измерительно-контролирующий модуль 165 на основе волоконно-оптического распределенного датчика температуры, модуль 159 управления системой и модуль 161 управления ЭПН взаимодействуют, чтобы отключить подачу энергии в секцию 114-5 двигателя ЭПН, когда прорыв нагнетаемого пара идет по ответвляемой насосно-компрессорной колонне и проходит мимо узла 114 ЭПН. Это уменьшает риск повреждения секции 114-5 двигателя ЭПН, обуславливаемый большими температурами прорыва нагнетаемого пара при эксплуатации двигателя, и позволяет ожидать увеличения эксплуатационной долговечности двигателя ЭПН в таких условиях сильного нагрева.
Ниже приводится пояснение механизма, за счет которого горячая пробка флюида движется мимо ЭПН. В скважинах, где обеспечивается подача самотеком с помощью водяного пара, используется очень низкое давление на устье скважины, чтобы избежать выплеска водяного пара из добытого флюида ниже ЭПН. Если ЭПН отключен, гидростатический столб флюида в насосно-компрессорной колонне предотвращает миграцию водяного пара через ЭПН вверх по данной колонне. Вместо этого упомянутый пар мигрирует вверх по кольцевому пространству к поверхности и выпускается в специальный резервуар. С этой целью данный выпуск является общим признаком скважин, где предусматривается подача самотеком с помощью водяного пара. Можно ожидать быстрого охлаждения горячей пробки в кольцевом пространстве, которое обычно имеет большой объем, и пар будет рассеиваться обратно во флюид, который затем будет падать по мере его охлаждения и окажется удобным для выкачивания вверх по насосно-компрессорной колонне сразу же после повторного запуска ЭПН.
Управление измерительно-контролирующим модулем 165 на основе волоконно-оптического распределенного датчика температуры также осуществляется с обеспечением контроля температуры в местоположении на поверхности выше по течению от многофазного расходомера 151, а также с обеспечением выдачи сигнала тревоги, если температура в этом местоположении на поверхности превышает предварительно определенную максимальную температуру. В данном случае предварительно определенную максимальную температуру тоже задают равной температуре, которая обеспечивает обнаружение различия между обычным добываемым флюидом и прорывом нагнетаемого пара. Таким образом, сигнал тревоги указывает на прорыв нагнетаемого пара (обычно называемый «горячей пробкой»), проходящего через насосно-компрессорную колонну в местоположении на поверхности выше по течению от многофазного расходомера. Сигнал отбоя тревоги передается, когда измеренная температура падает до температуры, которая указывает, что восстановился поток нормального добываемого флюида (т.е. что поток прорыва нагнетаемого пара миновал). Сигналы тревоги и отбоя, соответствующие температуре расходомера, передаются из измерительно-контролирующего модуля 165 на основе волоконно-оптического распределенного датчика температуры в модуль 159 управления системой. В ответ на прием сигнала тревоги, соответствующего температуре расходомера, модуль 159 управления системой управляет отводным или перепускным клапаном 153, направляя добываемый флюид по отводной трубной секции или перепускному каналу 155, вследствие чего этот флюид обходит многофазный расходомер 151. По выбору можно также управлять отводным или перепускным клапаном 157, направляя поток добываемого флюида по перепускному каналу в резервуар или другие подходящие средства обработки. Таким образом, измерительно-контролирующий модуль 165 на основе волоконно-оптического распределенного датчика температуры и модуль 159 управления системой взаимодействуют, направляя прорыв пара по перепускной трубе 155, чтобы избежать термического контакта с многофазным расходомером 151. Это уменьшает риск повреждения многофазного расходомера 151 и позволяет ожидать увеличения эксплуатационной долговечности многофазного расходомера 151 в таких условиях сильного нагрева.
Здесь описан и проиллюстрирован вариант осуществления усовершенствованной системы подачи самотеком с помощью водяного пара. Эта система включает в себя систему автоматического управления, которая защищает скважинное оборудование (такое как ЭПН), а также оборудование, расположенное на поверхности (такое как многофазный расходомер) от высоких температур, являющихся результатом прорыва нагнетаемого пара. Хотя описаны конкретные варианты осуществления изобретения, не следует считать, что изобретение ими ограничивается, поскольку предполагается, что изобретение следует толковать в настолько широком смысле, насколько позволяет известный уровень техники, и что именно в таком контексте нужно читать описание. Таким образом, хотя описана конкретная конфигурация пары расположенных одна над другой горизонтальных скважин, следует понять, что можно также использовать другие конфигурации скважин (например, с одной или несколькими вертикальными инжекционными скважинами, которые работают совместно с одной или несколькими эксплуатационными скважинами, или другие подходящие конфигурации). Кроме того, хотя описаны конкретные типы заканчиваний скважин, следует понять, что возможны и другие типы заканчиваний скважин. Например – но не в ограничительном смысле – можно использовать заканчивания скважин с уплотнением гидравлических разрывов, эаканчивания скважин при необсаженных забоях, заканчивания скважин с автономными сетчатыми фильтрами и заканчивания скважин с раздвижными сетчатыми фильтрами. В прикладных системах, предусматривающих заканчивание скважин с помощью микропроцессорных устройств, можно применять пакеры с гидравлическим приводом. Кроме того, хотя предпочтительны методологии измерения и контроля на основе волоконно-оптических распределенных датчиков, следует понять, что можно использовать и другие технологии дистанционного измерения температуры, например, на основе точечных датчиков. Помимо этого, вместо датчиков температуры или в дополнение к ним в настоящем изобретении можно использовать волоконно-оптические датчики давления. Кроме того, хотя автоматическая система описана как часть прикладной системы, предусматривающей подачу самотеком с помощью водяного пара, следует понять, что ее можно использовать аналогичным образом как часть других прикладных систем, предусматривающих добычу битума и/или других разновидностей тяжелой нефти с помощью нагрева. Более того, предполагается, что настоящее изобретение можно применять в других прикладных системах, предусматривающих извлечение флюидов с помощью нагревания, например, удаление загрязняющих веществ из почвы с помощью нагрева. Поэтому специалисты в данной области техники поймут, что в изобретение можно внести еще и другие изменения в рамках объема притязаний.
Формула изобретения
1. Устройство, предназначенное для применения при извлечении флюида с помощью нагревания, при этом нагнетают горячий парообразный флюид в зону эксплуатационной скважины, причем в этой эксплуатационной скважине используется снабжаемое электрической энергией скважинное оборудование для выкачивания из нее добываемого флюида, при этом устройство содержит
средство, измеряющее и контролирующее температуру, чтобы охарактеризовать температуру добываемого флюида в некотором местоположении выше по течению от скважинного оборудования эксплуатационной скважины,
средство, формирующее сигнал тревоги, для формирования сигнала тревоги в случае, когда упомянутая температура превышает пороговую характеристику температуры прорыва нагнетаемого пара, и средство управления, оперативно подключенное к упомянутому средству, формирующему сигнал тревоги, и упомянутому скважинному оборудованию, для отключения подачи электрической энергии к скважинному оборудованию в ответ на прием упомянутого сигнала тревоги.
2. Устройство по п.1, дополнительно содержащее
средство, формирующее сигнал отбоя тревоги, для формирования сигнала отбоя тревоги в случае, когда упомянутая температура является характеристикой восстановления нормального потока добываемого флюида.
3. Устройство по п.2, в котором
упомянутое средство управления оперативно подключено к упомянутому средству, формирующему сигнал отбоя тревоги, и управляет подачей электрической энергии к скважинному оборудованию в соответствии с выделенной схемой управления в ответ на прием упомянутого сигнала отбоя тревоги.
4. Устройство по п.1, в котором
средство, измеряющее и контролирующее температуру, содержит оптическое волокно, которое проходит вниз в эксплуатационную скважину, по меньшей мере, до упомянутого местоположения выше по течению от скважинного оборудования.
5. Устройство по п.4, в котором
упомянутое средство, измеряющее и контролирующее температуру, получает результаты измерения температуры в упомянутом местоположении выше по течению от скважинного оборудования путем оптического измерения коэффициента отражения методом наблюдения за формой отраженного сигнала оптических импульсов, которые распространяются по упомянутому оптическому волокну.
6. Устройство по п.1, в котором
скважинное оборудование содержит электрический погружной насос, гидравлически сообщающийся с насосно-компрессорной колонной, которая идет к поверхности.
7. Устройство по п.1, в котором
упомянутый добываемый флюид содержит извлекаемую тяжелую нефть.
8. Устройство по п.7, в котором
упомянутая извлекаемая тяжелая нефть выделяется из битума.
9. Устройство, предназначенное для применения при извлечении флюида с помощью нагревания, при этом нагнетают горячий парообразный флюид в зону эксплуатационной скважины, причем для этой эксплуатационной скважины используется оборудование, расположенное на поверхности, которое термически связано с добываемым флюидом, выкачиваемым из эксплуатационной скважины, при этом устройство содержит
перепускной канал для отвода добываемого флюида вокруг оборудования, расположенного на поверхности,
перепускное клапанное средство для избирательного направления добываемого флюида в упомянутый перепускной канал,
средство, измеряющее и контролирующее температуру, чтобы охарактеризовать температуру добываемого флюида в некотором месте на поверхности выше по течению от оборудования, расположенного на поверхности, эксплуатационной скважины,
средство, формирующее сигнал тревоги, для формирования сигнала тревоги в случае, когда упомянутая температура превышает пороговую характеристику температуры прорыва нагнетаемого пара, и
средство управления, оперативно подключенное к упомянутому средству, формирующему сигнал тревоги, и упомянутому перепускному клапанному средству, для управления упомянутым перепускным клапанным средством для направления добываемого флюида в упомянутый перепускной канал в ответ на прием упомянутого сигнала тревоги, чтобы таким образом избежать термической связи добываемого флюида с оборудованием, расположенным на поверхности.
10. Устройство по п.9, дополнительно содержащее средство, формирующее сигнал отбоя тревоги, для формирования сигнала отбоя тревоги в случае, когда упомянутая температура является характеристикой восстановления нормального потока добываемого флюида.
11. Устройство по п.10, в котором упомянутое средство управления оперативно подключено к упомянутому средству, формирующему сигнал отбоя тревоги, и осуществляет деактивацию упомянутого перепускного клапанного средства в ответ на прием упомянутого сигнала отбоя тревоги.
12. Устройство по п.9, в котором средство, измеряющее и контролирующее температуру, содержит оптическое волокно, которое проходит, по меньшей мере, до упомянутого местоположения на поверхности выше по течению от оборудования, расположенного на поверхности.
13. Устройство по п.12, в котором упомянутое средство, измеряющее и контролирующее температуру, получает измерение температуры в упомянутом местоположении на поверхности выше по течению от оборудования, расположенного на поверхности, путем оптического измерения коэффициента отражения методом наблюдения за формой отраженного сигнала оптических импульсов, которые распространяются по упомянутому оптическому волокну.
14. Устройство по п.9, в котором оборудование, расположенное на поверхности, содержит многофазный расходомер, анализирующий поток добываемого флюида, текущий по насосно-компрессорной колонне, которая идет вниз по эксплуатационной скважине.
15. Устройство по п.9, в котором упомянутый добываемый флюид содержит извлекаемую тяжелую нефть.
16. Устройство по п.15, в котором упомянутая извлекаемая тяжелая нефть выделяется из битума.
17. Способ, предназначенный для применения при извлечении флюида с помощью нагревания, при этом нагнетают горячий парообразный флюид в зону эксплуатационной скважины, причем в этой эксплуатационной скважине используется снабжаемое электрической энергией скважинное оборудование для выкачивания из нее добываемого флюида, при этом способ заключается в том, что
получают оценку температуры добываемого флюида в местоположении выше по течению от скважинного оборудования эксплуатационной скважины,
формируют сигнал тревоги в случае, когда упомянутая температура превышает пороговую характеристику температуры прорыва нагнетаемого пара, и
отключают подачу электрической энергии к скважинному оборудованию в ответ на прием упомянутого сигнала тревоги.
18. Способ по п.17, дополнительно предусматривающий формирование сигнала отбоя тревоги в случае, когда упомянутая температура является характеристикой восстановления нормального потока добываемого флюида.
19. Способ по п.18, дополнительно содержащий управление подачей электрической энергии к скважинному оборудованию в соответствии с выделенной схемой управления в ответ на прием упомянутого сигнала отбоя тревоги.
20. Способ по п.17, в котором получают упомянутую температуру путем оптического измерения коэффициента отражения методом наблюдения за формой отраженного сигнала оптических импульсов, которые распространяются по упомянутому оптическому волокну, которое проходит, по меньшей мере, до упомянутого местоположения выше по течению от скважинного оборудования.
21. Способ по п.17, в котором скважинное оборудование содержит электрический погружной насос, гидравлически сообщающийся с насосно-компрессорной колонной, которая идет к поверхности.
22. Способ по п.17, в котором упомянутый добываемый флюид содержит извлекаемую тяжелую нефть.
23. Способ по п.22, в котором упомянутую извлекаемую тяжелую нефть выделяют из битума.
24. Способ, предназначенный для применения при извлечении флюида с помощью нагревания, при этом нагнетают горячий парообразный флюид в зону эксплуатационной скважины, причем для этой эксплуатационной скважины используется оборудование, расположенное на поверхности, которое термически связано с добываемым флюидом, выкачиваемым из эксплуатационной скважины, при этом способ содержит следующие этапы:
обеспечивают перепускной канал для отвода добываемого флюида вокруг оборудования, расположенного на поверхности, наряду с перепускным клапаном для избирательного направления добываемого флюида в перепускной канал,
получают оценку температуры добываемой текучей среды в некотором месте на поверхности выше по течению от оборудования, расположенного на поверхности эксплуатационной скважины,
формируют сигнал тревоги в случае, когда упомянутая температура превышает пороговую характеристику температуры прорыва нагнетаемого пара, и
управляют упомянутым перепускным клапаном, направляя добываемый флюид в упомянутый перепускной канал в ответ на прием упомянутого сигнала тревоги, чтобы таким образом избежать термической связи прорыва нагнетаемого пара с оборудованием, расположенным на поверхности.
25. Способ по п.24, дополнительно предусматривающий формирование сигнала отбоя тревоги в случае, когда упомянутая температура является характеристикой восстановления нормального потока добываемого флюида.
26. Способ по п.25, дополнительно предусматривающий деактивацию упомянутого перепускного клапана в ответ на прием упомянутого сигнала отбоя тревоги.
27. Способ по п.24, в котором получают упомянутую температуру путем оптического измерения коэффициента отражения методом наблюдения за формой отраженного сигнала оптических импульсов, которые распространяются по упомянутому оптическому волокну, которое проходит до упомянутого местоположения на поверхности выше по течению от оборудования, расположенного на поверхности.
28. Способ по п.24, в котором оборудование, расположенное на поверхности, содержит многофазный расходомер, анализирующий поток добываемого флюида, текущего по насосно-компрессорной колонне, которая идет вниз по эксплуатационной скважине.
29. Способ по п.24, в котором упомянутый добываемый флюид содержит извлекаемую тяжелую нефть.
30. Способ по п.29, в котором упомянутую извлекаемую тяжелую нефть выделяют из битума.
31. Система для извлечения флюида с помощью нагревания, содержащая,
по меньшей мере, одну инжекционную скважину и, по меньшей мере, одну эксплуатационную скважину, причем упомянутая, по меньшей мере, одна инжекционная скважина обеспечивает нагнетание горячего парообразного флюида в зону упомянутой, по меньшей мере, одной эксплуатационной скважины, при этом в упомянутой, по меньшей мере, одной эксплуатационной скважине используется снабжаемое электрической энергией скважинное оборудование для выкачивания из нее добываемого флюида,
средство, измеряющее и контролирующее температуру, чтобы охарактеризовать температуру добываемого флюида в местоположении выше по течению от скважинного оборудования эксплуатационной скважины,
средство, формирующее сигнал тревоги, для формирования сигнала тревоги в случае, когда упомянутая температура превышает пороговую характеристику температуры прорыва нагнетаемого пара, и средство управления, оперативно подключенное к упомянутому средству, формирующему сигнал тревоги, и упомянутому скважинному оборудованию, для отключения подачи электрической энергии к скважинному оборудованию в ответ на прием упомянутого сигнала тревоги.
32. Система по п.31, дополнительно содержащая средство, формирующее сигнал отбоя тревоги, для формирования сигнала отбоя тревоги в случае, когда упомянутая температура является характеристикой восстановления нормального потока добываемого флюида.
33. Система по п.32, в которой упомянутое средство управления оперативно подключено к упомянутому средству, формирующему сигнал отбоя тревоги, и управляет подачей электрической энергии к скважинному оборудованию в соответствии с выделенной схемой управления в ответ на прием упомянутого сигнала отбоя тревоги.
34. Система по п.31, в которой средство, измеряющее и контролирующее температуру, содержит оптическое волокно, которое проходит вниз в эксплуатационную скважину, по меньшей мере, до упомянутого местоположения выше по течению от скважинного оборудования.
35. Система по п.34, в которой упомянутое средство, измеряющее и контролирующее температуру, получает измерение температуры в упомянутом местоположении выше по течению от скважинного оборудования путем оптического измерения коэффициента отражения методом наблюдения за формой отраженного сигнала оптических импульсов, которые распространяются по упомянутому оптическому волокну.
36. Система по п.31, в которой скважинное оборудование содержит электрический погружной насос, гидравлически сообщающийся с насосно-компрессорной колонной, которая идет к поверхности.
37. Система по п.31, в которой упомянутый добываемый флюид содержит извлекаемую тяжелую нефть.
38. Система по п.37, в которой упомянутая извлекаемая тяжелая нефть выделяется из битума.
39. Система для извлечения флюида с помощью нагревания, содержащая
по меньшей мере, одну инжекционную скважину и, по меньшей мере, одну эксплуатационную скважину, причем упомянутая, по меньшей мере, одна инжекционная скважина обеспечивает нагнетание горячего парообразного флюида в зону упомянутой, по меньшей мере, одной эксплуатационной скважины, при этом для упомянутой, по меньшей мере, одной эксплуатационной скважины используется оборудование, расположенное на поверхности, которое термически связано с добываемым флюидом, выкачиваемым из эксплуатационной скважины, перепускной канал для отвода добываемого флюида вокруг оборудования, расположенного на поверхности,
перепускное клапанное средство для избирательного направления добываемого флюида в упомянутый перепускной канал, средство, измеряющее и контролирующее температуру, чтобы охарактеризовать температуру добываемого флюида в местоположении на поверхности выше по течению от оборудования, расположенного на поверхности эксплуатационной скважины,
средство, формирующее сигнал тревоги, для формирования сигнала тревоги в случае, когда упомянутая температура превышает пороговую характеристику температуры прорыва нагнетаемого пара, и средство управления, оперативно подключенное к упомянутому средству, формирующему сигнал тревоги, и упомянутому перепускному клапанному средству, для управления упомянутым перепускным клапанным средством для направления добываемого флюида в упомянутый перепускной канал в ответ на прием упомянутого сигнала тревоги, чтобы таким образом избежать термической связи добываемого флюида с оборудованием, расположенным на поверхности.
40. Система по п.39, дополнительно содержащая средство, формирующее сигнал отбоя тревоги, для формирования сигнала отбоя тревоги в случае, когда упомянутая температура является характеристикой восстановления нормального потока добываемого флюида.
41. Система по п.40, в которой упомянутое средство управления оперативно подключено к упомянутому средству, формирующему сигнал отбоя тревоги, и осуществляет деактивацию упомянутого перепускного клапанного средства в ответ на прием упомянутого сигнала отбоя тревоги.
42. Система по п.39, в которой средство, измеряющее и контролирующее температуру, содержит оптическое волокно, которое проходит вниз в эксплуатационную скважину, по меньшей мере, до упомянутого местоположения на поверхности выше по течению от оборудования, расположенного на поверхности.
43. Система по п.42, в которой упомянутое средство, измеряющее и контролирующее температуру, получает измерение температуры в упомянутом местоположении на поверхности выше по течению от оборудования, расположенного на поверхности, путем оптического измерения коэффициента отражения методом наблюдения за формой отраженного сигнала оптических импульсов, которые распространяются по упомянутому оптическому волокну.
44. Система по п.39, в которой оборудование, расположенное на поверхности, содержит многофазный расходомер, анализирующий добываемый флюид, текущий по насосно-компрессорной колонне, которая идет вниз по эксплуатационной скважине.
45. Система по п.39, в которой упомянутый добываемый флюид содержит извлекаемую тяжелую нефть.
46. Система по п.45, в которой упомянутая извлекаемая тяжелая нефть выделяется из битума.
47. Устройство, предназначенное для применения при извлечении флюида с помощью нагревания, при этом нагнетают горячий парообразный флюид в зону эксплуатационной скважины, причем в этой эксплуатационной скважине используется снабжаемое электрической энергией скважинное оборудование для выкачивания из нее добываемого флюида, а также для упомянутой скважины используется оборудование, расположенное на поверхности, которое термически связано с добываемым флюидом, выкачиваемым из эксплуатационной скважины, при этом устройство содержит
перепускной канал для отвода добываемого флюида вокруг оборудования, расположенного на поверхности,
перепускное клапанное средство для избирательного направления добываемого флюида в упомянутый перепускной канал, средство, измеряющее и контролирующее температуру, для характеристики первой температуры добываемого флюида в первом местоположении, находящемся выше по течению от оборудования, расположенного на поверхности эксплуатационной скважины, и для характеристики второй температуры добываемого флюида во втором местоположении, находящегося выше по течению от скважинного оборудования,
средство, формирующее сигнал тревоги, для формирования первого сигнала тревоги в случае, когда упомянутая первая температура превышает пороговую характеристику температуры прорыва нагнетаемого пара, и для формирования второго сигнала тревоги в случае, когда упомянутая вторая температура превышает пороговую характеристику температуры прорыва нагнетаемого пара, и
средство управления, оперативно подключенное к упомянутому средству, формирующему сигнал тревоги, и упомянутому перепускному клапанному средству, для управления упомянутым перепускным клапанным средством для направления добываемого флюида в упомянутый перепускной канал в ответ на прием упомянутого первого сигнала тревоги и для отключения подачи электрической энергии к скважинному оборудованию в ответ на прием упомянутого второго сигнала тревоги.
48. Устройство по п.47, в котором упомянутое средство, измеряющее и контролирующее температуру, получает измерение температуры в упомянутом местоположении выше по течению от скважинного оборудования путем оптического измерения коэффициента отражения методом наблюдения за формой отраженного сигнала оптических импульсов, которые распространяются по оптическому волокну, которое проходит, по меньшей мере, между упомянутыми первым и вторым местоположениями.
49. Устройство, предназначенное для применения при извлечении флюида с помощью нагревания, при этом нагнетают горячий парообразный флюид в зону эксплуатационной скважины, причем в этой эксплуатационной скважине используется снабжаемое электрической энергией скважинное оборудование для выкачивания из нее добываемого флюида, при этом устройство содержит
средство, измеряющее и контролирующее давление, для характеристики давления добываемого флюида в местоположении выше по течению от скважинного оборудования эксплуатационной скважины,
средство, формирующее сигнал тревоги, для формирования сигнала тревоги в случае, когда упомянутое давление превышает пороговую характеристику давления прорыва нагнетаемого пара, и
средство управления, оперативно подключенное к упомянутому средству, формирующему сигнал тревоги, и скважинному оборудованию, для отключения подачи электрической энергии к скважинному оборудованию в ответ на прием упомянутого сигнала тревоги.
50. Устройство, предназначенное для применения при извлечении флюида с помощью нагревания, при этом нагнетают горячий парообразный флюид в зону эксплуатационной скважины, причем для этой эксплуатационной скважины используется оборудование, расположенное на поверхности, которое термически связано с добываемым флюидом, выкачиваемым из эксплуатационной скважины, при этом устройство содержит
перепускной канал для отвода добываемого флюида вокруг оборудования, расположенного на поверхности,
перепускное клапанное средство для избирательного направления добываемого флюида в упомянутый перепускной канал, средство, измеряющее и контролирующее давление, для характеристики давления добываемого флюида в местоположении на поверхности выше по течению от оборудования, расположенного на поверхности эксплуатационной скважины,
средство, формирующее сигнал тревоги, для формирования сигнала тревоги в случае, когда упомянутое давление превышает пороговую характеристику давления прорыва нагнетаемого пара, и
средство управления, оперативно подключенное к упомянутому средству, формирующему сигнал тревоги, и упомянутому перепускному клапанному средству, для управления упомянутым перепускным клапанным средством для направления добываемого флюида в упомянутый перепускной канал в ответ на прием упомянутого сигнала тревоги, чтобы таким образом избежать термической связи добываемого флюида с оборудованием, расположенным на поверхности.
51. Способ, предназначенный для применения при извлечении флюида с помощью нагревания, при этом нагнетают горячий парообразный флюид в зону эксплуатационной скважины, причем в этой эксплуатационной скважине используется снабжаемое электрической энергией скважинное оборудование для выкачивания из нее добываемого флюида, при этом способ содержит этапы, при которых получают оценку давления добываемого флюида в местоположении выше по течению от скважинного оборудования эксплуатационной скважины, формируют сигнал тревоги в случае, когда упомянутое давление превышает пороговую характеристику давления прорыва нагнетаемого пара, и
отключают подачу электрической энергии к скважинному оборудованию в ответ на прием упомянутого сигнала тревоги.
52. Способ, предназначенный для применения при извлечении флюида с помощью нагревания, при этом нагнетают горячий парообразный флюид в зону эксплуатационной скважины, причем для этой эксплуатационной скважины используется оборудование, расположенное на поверхности, которое термически связано с добываемым флюидом, выкачиваемым из эксплуатационной скважины, при этом способ содержит этапы, при которых
обеспечивают перепускной канал для отвода добываемого флюида вокруг оборудования, расположенного на поверхности, наряду с перепускным клапаном для избирательного направления добываемого флюида в перепускной канал,
получают оценку давления добываемого флюида в местоположении на поверхности выше по течению от оборудования, расположенного на поверхности эксплуатационной скважины,
формируют сигнал тревоги в случае, когда упомянутое давление превышает пороговую характеристику температуры прорыва нагнетаемого пара, и
управляют упомянутым перепускным клапаном, направляя добываемый флюид в упомянутый перепускной канал в ответ на прием упомянутого сигнала тревоги, чтобы таким образом избежать термической связи прорыва нагнетаемого пара с оборудованием, расположенным на поверхности.
РИСУНКИ
|
|