|
(21), (22) Заявка: 2006147042/03, 27.12.2006
(24) Дата начала отсчета срока действия патента:
27.12.2006
(43) Дата публикации заявки: 10.07.2008
(46) Опубликовано: 20.12.2008
(56) Список документов, цитированных в отчете о поиске:
RU 2108452 С1, 10.04.1998. RU 2260117 С1, 10.09.2005. RU 2264532 C1, 20.11.2005. RU 2264524 C1, 20.11.2005. US 5184678 A, 09.02.1993.
Адрес для переписки:
625000, г.Тюмень, ул. Володарского, 38, ТюмГНГУ, патентно-информационный отдел
|
(72) Автор(ы):
Савиных Юрий Александрович (RU), Музипов Халим Назипович (RU), Васильева Анастасия Юрьевна (RU), Шамшеев Константин Александрович (RU)
(73) Патентообладатель(и):
Государственное образовательное учреждение высшего профессионального образования “Тюменский государственный нефтегазовый университет” (RU)
|
(54) СПОСОБ СНИЖЕНИЯ ЗАСОРЕНИЯ ЧАСТИЦАМИ ПРИМЕСЕЙ ПЕРФОРАЦИОННЫХ ОТВЕРСТИЙ И МАГИСТРАЛЬНЫХ ТРЕЩИН ПОРИСТОЙ МАТРИЦЫ ПЛАСТА В НАГНЕТАТЕЛЬНЫХ СКВАЖИНАХ
(57) Реферат:
Изобретение относится к нефтяной промышленности, в частности к способам борьбы с примесями частиц при нагнетании воды в пласт. Способ включает спуск на насосно-компрессорных трубах акустического преобразователя шума в скважину в интервал между верхними и нижними перфорационными отверстиями. Далее при осуществлении способа нагнетают техническую жидкость в скважину с последующим движением ее через перфорационные отверстия в пласт и генерированием звуковых волн в скважину и зумпф перфорационными отверстиями во время движения через них технической жидкости. Преобразуют акустическим преобразователем шума звуковые волны в ультразвуковую частоту. Создают стоячую звуковую волну в кольцевом пространстве между обсадной колонной с перфорационными отверстиями и акустическим преобразователем шума. Осуществляют процесс коагуляции механических частиц в кольцевом пространстве между перфорационными отверстиями и акустическим преобразователем шума с последующим их осаждением в зумпф. Обеспечивается эффективная эксплуатация нагнетательных скважин с высокой концентрацией взвешенных частиц в технической жидкости. 2 ил.
Изобретение относится к нефтяной промышленности, в частности к способам борьбы с примесями частиц при нагнетании технической воды в пласт.
Известны способы защиты, например механическое разделение с помощью фильтров /1/.
Недостатки этих способов заключаются в следующем. Механическое разделение водной и загрязняющих фаз с помощью фильтров получило широкое распространение, особенно после внедрения скоростных фильтров и разработки технологии обратной их промывки. Вместе с тем, использование в качестве фильтрующих материалов песка и других наполнителей создало проблему их регенерации и утилизации обогащенного нефтью огромных объемов замазученного песка, стекловолокна и т.д. Это же относится и к быстродействующим фильтрам, разработанным в США на основе диатомовых земель, наносимых на пористую тканевую или металлическую основу и удаляемых с нережущими элементами по мере их загрязнения.
Высокая стоимость, металлоемкость и энергоемкость процесса, а также проблема регенерации или утилизации фильтрующего материала делает это направление эффективным только при необходимости осуществления тонкой очистки небольших объемов воды на II или III ступенях после удаления из воды основной массы загрязнений, а также при использовании губчатых фильтров, очищаемых периодическим отжатием.
Наиболее близкий способ к технической сущности очистки нагнетаемой жидкости – это предварительная коалесценция капель, увеличение размеров всплывающих частиц за счет внешних источников, изменение подъемной силы капель (загрязнений), значительно ускоряющие процессы очистки сточных вод, что позволяет отнести эти методы (включая коалесцирующие фильтры, гидродинамические коалесценторы, электрокоагуляцию, применение коагулянтов и т.д.) к более высокому уровню технологии очистки пластовых вод /1, с.304-306/.
Недостаток данного способа состоит в следующем. Технологические процессы позволяют более быстро и надежно повышать качество очищаемой воды, но требуют в традиционном исполнении больших капиталовложений, применения сложной техники, затрат дефицитной электроэнергии.
Задачей изобретения является обеспечение эффективной эксплуатации нагнетательных скважин с высокой концентрацией взвешенных частиц в технической жидкости.
Технический результат – снижение засорения частицами примесей перфорационных отверстий и магистральных трещин пористой матрицы пласта в нагнетательных скважинах, оборудованных обсадной колонной с перфорационными отверстиями, достигается тем, что способ предусматривает следующие операции: а) спуск на насосно-компрессорных трубах акустического преобразователя шума в скважину в интервал между верхними и нижними перфорационными отверстиями; б) осуществление нагнетания технической жидкости в скважину с последующим движением ее через перфорационные отверстия в пласт; в) генерирование звуковых волн в скважину и зумпф перфорационными отверстиями во время движения технической жидкости через перфорационные отверстия; г) преобразование акустическим преобразователем шума звуковых волн в ультразвуковую частоту; д) создание стоячей звуковой волны в кольцевом пространстве между обсадной колонной с перфорационными отверстиями и акустическим преобразователем шума; е) осуществление движения частиц примеси из нагнетаемой жидкости в звуковое поле стоячей волны; ж) осуществление коагуляции частиц примесей в кольцевом пространстве между обсадной колонной с перфорационными отверстиями и акустическим преобразователем шума с последующим их осаждением в зумпф.
Сопоставительный анализ с прототипом показывает, что в заявленном способе снижения засорения частицами примесей перфорационных отверстий и магистральных трещин пористой матрицы пласта в нагнетательных скважинах используются звуковые волны, генерируемые перфорационными отверстиями.
Таким образом, предлагаемое изобретение соответствует критерию «новизна».
Сравнение заявленного решения с другими техническими решениями показывает, что коагуляция твердых частиц в жидкости известна [1]. Однако неизвестно, что стоячие звуковые волны в ультразвуковом диапазоне можно создать из звуковых волн, генерируемых перфорационными отверстиями, акустическим преобразователем шума (АПШ).
Таким образом, предлагаемое изобретение соответствует критерию «изобретательский уровень».
Основные положения физической сущности для осуществления способа.
1. Наличие постоянного низкочастотного шума в скважине.
2. Источником низкочастотного шума являются перфорационные отверстия.
3. Преобразование низкочастотного шума акустическим преобразователем шума (АПШ) в ультразвук. АПШ – это набор последовательно соединенных четвертьволновых резонаторов /2/.
4. Преобразование низкочастотного шума в скважине осуществляется набором акустических преобразователей шума, размещенных в скважине в интервале между верхними и нижними перфорационными отверстиями.
5. Формирование ультразвуковых стоячих волн в пространстве между обсадной колонной и набором акустических преобразователей шума.
6. Использование явления физического процесса акустической коагуляции частиц примеси (фракций твердой фазы нагнетаемой жидкости) стоячей волной с последующим осаждением частиц на забой скважины.
Покажем возможность использования акустической коагуляции частиц примеси ультразвуковыми стоячими волнами с последующим осаждением их на забой скважины.
1. Волны и колебательная скорость.
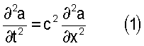
Волновое уравнение, описывающее упругое возмущение, имеет вид /3/.

Частным решением уравнения (1) является

где а – смещение частицы среды относительно положения покоя; А – амплитуда смещения; – угловая частота; t – время.
Выражение (2) описывает плоскую гармоническую волну частоты f= /2 , распространяющуюся в положительном направлении оси х.
Дифференцируя (2) по t, получаем для скорости частицы среды – так называемой колебательной скорости

Следовательно, амплитуда колебательной скорости

Величина U определяет ту максимальную скорость, с которой частицы движутся в процессе колебаний.
Согласно выражению (4) скорость частицы колеблется между этой величиной и нулем.
2. Интерференция волн. Стоячие волны.
Явления, связанные с одновременным существованием в некоторой точке среды нескольких колебаний, называют интерференцией.
Явления интерференции играют важную роль в излучении звука.
Особенно важную роль играет интерференция при распространении двух одинаковых волн в противоположных направлениях. Колебания, распространяющиеся в положительном и отрицательном направлениях по оси х, записывают в виде:


Применяя теорему сложения, получают для результирующей стоячей волны выражение

из которого непосредственно вытекает, что в точках Cos(2 x/ ) обращается в нуль, смещение а тождественно равно нулю; это имеет место при х, равном нечетному числу /4. Посередине между этими точками располагаются точки, в которых Cos(2 х/ ) по абсолютной величине максимален; здесь амплитуда смещения в стоячей волне вдвое превосходит амплитуды в исходных бегущих волнах.
Выражение для колебательной скорости в стоячей волне находят, дифференцируя выражение

Таким образом, узлы и пучности колебательной скорости располагаются в тех же точках, что и узлы и пучности смещения.
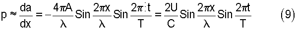
3. Давление в стоячей волне.
Обратимся теперь к вопросу о распределении давления в стоячей волне. В волне, распространяющейся в направлении сил оси х, давление р пропорционально изменению смещения вдоль х, т.е. величине da/dx. Дифференцируя выражение (7) по х, получают

Таким образом, в стоячей волне и звуковое давление содержит узлы и пучности; однако местоположение узлов давления совпадает с положением пучностей смещения и, наоборот. Амплитуда давления в пучностях вдвое превосходит амплитуду в исходных бегущих волнах [3].
4. Акустическая коагуляция.
Давно известно, что под влиянием звуковых колебаний между частицами, колеблющимися в звуковом поле, могут возникать силы притяжения и отталкивания. Для сферических частиц этот процесс был экспериментально и теоретически исследован Кенигом [4] в связи с работами Бьеркнесса [5]. На этом явлении основано отчасти возникновение пылевых фигур в трубках Кундта.
Брандт и Фройнд [6] и Брандт и Гидеман [7] показали, что под действием ультразвуковых волн в аэрозолях мгновенно происходит коагуляция и осаждение частиц.
Брандт и Фройнд изучили подробности процесса оседания частиц микрофотографированием при освещении по методу темного поля.
На основании этих опытов Брандт и Гидеман различают две стадии коагуляции. Вначале частицы принимают участие в колебательном процессе и следуют за движением жидкости между пучностями и узлами колебаний. При этом они в результате столкновений и под действием сил взаимного притяжения слипаются и увеличиваются в размерах. На второй стадии увеличившиеся частицы уже не следуют за звуковыми колебаниями, а совершают хаотические движения, причем в результате новых взаимных соударений и столкновений с меньшими частицами их размеры продолжают увеличиваться, а затем выпадают в осадок.
5. Коагуляция частиц примеси в стоячей волне.
Пусть в жидкости с динамической вязкостью , колеблющейся с амплитудой UЖ и частотой f, находится частица примеси с радиусом R и плотностью .
Согласно закону Стокса [2] сила трения, действующая на частицу

где  – разность скоростей частиц примеси и жидкости.
Согласно формуле (10) скорость частиц жидкости

Движение частицы примеси описывается дифференциальным уравнением

или

Общее решение этого уравнения имеет вид [2]

Непериодический член отображает переходной процесс. Им можно пренебречь, так как коагуляция происходит через такое время, когда переходной процесс не оказывает уже никакого влияния.
Таким образом, амплитуда колебания частицы механической примеси равна

Степень участия частицы в звуковых колебаниях среды (так называемый коэффициент увлечения) в случае стоячей звуковой волны определяется соотношением

Отношение амплитуд ХМП/UЖ будет тем меньше, чем больше радиус частицы и чем выше частота.
Таким образом, для степени участия частицы примеси в колебаниях жидкости определяющей является величина R2f.
Если принять значение ХМП/UЖ=0,8 за границу, до которой частицы примеси еще увлекаются звуковыми колебаниями, то из соотношения

получают

Величина Z определяет степень участия частиц примеси в колебаниях жидкости.
Таким образом, соотношение (18) позволяет рассчитать частоты для акустического преобразователя шума, необходимые для создания стоячих волн с целью коагуляции частиц примеси с последующим осаждением их в зумпф.
Согласно приведенным выше положениям физической сущности достигается акустическая коагуляция частиц примеси из нагнетаемой технической воды в пласт.
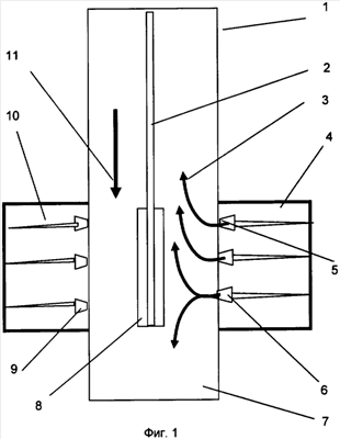
На фиг.1 изображена схема расположения на насосно-компрессорных трубах (НКТ) акустического преобразователя шума (АПШ) в интервале между верхними и нижними перфорационными отверстиями, являющегося источником звука.
На фиг.2 изображена схема, поясняющая процесс коагуляции частиц примеси из технической жидкости в звуковом поле стоячих волн на длине АПШ с последующим осаждением частиц примеси в зумпф в кольцевом пространстве между АПШ и перфорационными отверстиями.
На фиг.1 изображены 1 – обсадная колонна; 2 – НКТ; 3 – звуковая волна, генерируемая перфорационными отверстиями; 4 – призабойная зона скважины; 5 – верхние перфорационные отверстия в обсадной колонне; 6 – нижние перфорационные отверстия в обсадной колонне; 7 – зумпф; 8 – АПШ; 9 – ряд перфорационных отверстий в обсадной колонне; 10 – магистральные трещины пористой матрицы пласта; 11 – движение технической жидкости с частицами примеси.
На фиг.2 изображены: 2 – НКТ; 4 – призабойная зона скважины; 8 – АПШ; 9 – ряд перфорационных отверстий в обсадной колонне; жирной стрелкой показано направление движения технической жидкости 11 с частицами примеси 12, 13 – процесс коагуляции частиц примеси 12 в звуковом поле стоячей волны; штриховой линией обозначено распределение колебательной скорости 14 в стоячей волне; сплошной линией обозначено распределение звукового давления 15 в стоячей волне; 16 – осаждение в зумпф частиц примесей 12 после коагуляции.
Пример осуществления способа.
Первая операция. Спуск на НКТ 2 (фиг.1) АПШ 8 (фиг.1) в скважину в интервал между верхними 5 (фиг.1) и нижними (6) перфорационными отверстиями.
Вторая операция. Осуществление движения (нагнетания) технической жидкости 11 (фиг.1) через ряд перфорационных отверстий 9 (фиг.1 и 2) и магистральные трещины 10 (фиг.1 и 2) пористой матрицы пласта призабойной зоны 4 (фиг.1 и 2).
Третья операция. Генерирование звуковых волн 3 (фиг.1) рядами перфорационных отверстий 9 (фиг.1) в скважину и зумпф 7 (фиг.1) при движении технической жидкости 11 (фиг.1).
Четвертая операция. Преобразование АПШ 8 (фиг.2) звуковых волн 3 (фиг.1) в ультразвуковую частоту.
Пятая операция. Создание стоячей звуковой волны с параметрами давления 15 (фиг.2) и колебательной скоростью 14 (фиг.2) в кольцевом пространстве между обсадной колонной 1 (фиг.1) с рядом перфорационных отверстий 9 (фиг.2) и АПШ 8 (фиг.2).
Шестая операция. Осуществление движения (фиг.2) частиц примесей 12 (фиг.2) из технической (нагнетаемой) жидкости 11 (фиг.2) в звуковое поле стоячей волны с параметрами давления 15 (фиг.2) и колебательной скоростью 14 (фиг.2).
Седьмая операция. Осуществление процесса коагуляции частиц примесей 12 (фиг.2) из движущейся технической жидкости 11 (фиг.1 и фиг.2) в кольцевом пространстве между обсадной колонной 1 (фиг.1) с рядом перфорационных отверстий 9 (фиг.1 и 2) и АПШ 8 (фиг.1 и 2) с последующим их осаждением 16 (фиг.2) в зумпф 7 (фиг.2).
Источники информации
1. Тронов В.П., Тронов А.В. Очистка вод различных типов для использования в системе ППД. – Казань: «Фэн». 2001. – С.304-306 /прототип/.
2. Борьба с шумом на производстве: Справочник / Е.Я.Юдин, Л.А.Борисов, И.В.Горенштейн и др.; Под общ. ред. Е.Я Юдина – М.: Машиностроние, 1985. – С.303.
3. Бергман Л. Ультразвук и его применение в науке и технике. ИЛ. – М.: ИЛ, 1957. – С.23-25, 489-491, 495-497 [прототип].
4. König W., Hydrodynamisch-akustische Untersuchungen, Ann. d. Phys. (3), 42, 353, 549 (1891).
5. Bjerknes C.A. Remarques historiques sur la theori du mouvement d un ou de plusieurs corps, de formes constantes ou variables, dans un fluide incompfessible; sur les forces apparentes, qui en resultent et sur les experiences qui s’y rattachent, Compt. Rent., 84, 1222, 1309, 1375, 1446, 1493 (1867).
6. Brandt., Über das Verhalten von Schwebstofen in schwingen Gasen bei Schall- und Ultraschallfrequenzen, Kolloid/ Zs., 76, 272 (1936).
7. Brandt O., Hiedenmann E., Über das Verhalten von Aerosolen im akustischen Feld, Kolloid. Zs., 75,129 (1936).
Формула изобретения
Способ снижения засорения частицами примесей перфорационных отверстий и магистральных трещин пористой матрицы пласта в нагнетательных скважинах, оборудованных обсадной колонной с перфорационными отверстиями, предусматривающий следующие операции: а) спуск на насосно-компрессорных трубах акустического преобразователя шума в скважину в интервал между верхними и нижними перфорационными отверстиями; б) осуществление нагнетания технической жидкости в скважину с последующим движением ее через перфорационные отверстия в пласт; в) генерирование звуковых волн в скважину и зумпф перфорационными отверстиями во время движения технической жидкости через перфорационные отверстия; г) преобразование акустическим преобразователем шума звуковых волн в ультразвуковую частоту; д) создание стоячей звуковой волны в кольцевом пространстве между обсадной колонной с перфорационными отверстиями и акустическим преобразователем шума; е) осуществление движения механических частиц из нагнетаемой жидкости в звуковое поле стоячей волны; ж) осуществление процесса коагуляции механических частиц в кольцевом пространстве между перфорационными отверстиями и акустическим преобразователем шума, с последующим их осаждением в зумпф.
РИСУНКИ
|