|
|
(21), (22) Заявка: 2007115038/03, 20.04.2007
(24) Дата начала отсчета срока действия патента:
20.04.2007
(46) Опубликовано: 20.12.2008
(56) Список документов, цитированных в отчете о поиске:
SU 1425305 A1, 23.09.1988. SU 1661377 A1, 07.07.1991. SU 1497375 A1, 30.07.1989. SU 1479626 A1, 15.05.1989. RU 2023140 C1, 15.11.1994. RU 2261957 C2, 20.06.2003. RU 2146759 C1, 20.03.2000. US 5240075 A, 31.08.1993. US 3603398 A, 07.09.1971.
Адрес для переписки:
117997, Москва, В-420, ГСП-7, ул. Наметкина, 16, ОАО “Газпром”, Департамент стратегического развития
|
(72) Автор(ы):
Гасумов Рамиз Алиджавад оглы (RU), Дубенко Валерий Евсеевич (RU), Дубенко Данил Валерьевич (RU), Кузьменко Олег Владимирович (RU), Шамшин Виталий Иванович (RU)
(73) Патентообладатель(и):
Открытое акционерное общество “Газпром” (RU)
|
(54) ЦИРКУЛЯЦИОННАЯ ОБВЯЗКА ДЛЯ СООРУЖЕНИЯ ГРАВИЙНОГО ФИЛЬТРА В СКВАЖИНЕ
(57) Реферат:
Изобретение относится к газодобывающей промышленности, в частности к наземному оборудованию скважины. Циркуляционная обвязка для сооружения гравийного фильтра в скважине включает насосный агрегат, жестко соединенный с всасывающим трубопроводом и выкидной линией, связанными с приемной емкостью, и нагнетательный трубопровод. Нагнетательный трубопровод снабжен последовательно установленными перед распределительным блоком смесителем, манометром ультразвуковым расходомером и пробоотборником. По обе стороны от смесителя установлены краны и тройники, соединяющие нагнетательный трубопровод с боковым отводом, содержащим фильтр с кранами на его входе и выходе, а на выходе смесителя установлен обратный клапан. Выкидная линия связана с приемной емкостью. Циркуляционная обвязка дополнительно содержит распределительный блок, снабженный линией связи с трубным пространством скважины и линией связи с затрубным пространством скважины. Распределительный блок выполнен из четырех соединенных друг с другом тройников с кранами между ними, образующих замкнутый контур. Один тройник жестко связан с нагнетательным трубопроводом, второй – с линией связи с трубным пространством скважины, третий – с линией связи с затрубным пространством скважины, четвертый – с выкидной линией. Техническим результатом является повышение качества сооружения гравийного фильтра. 1 ил.
Изобретение относится к газодобывающей промышленности, в частности к наземному оборудованию скважины, и предназначено для управления потоками циркулирующего агента при заканчивании и проведении капитального ремонта скважин для борьбы с выносом песка.
Анализ существующего уровня техники показал следующее:
известна циркуляционная обвязка для сооружения гравийного фильтра, содержащая насосный агрегат, жестко соединенный с всасывающим трубопроводом (всасывающим патрубком) (см. а.с. №1497375 от 22.06.86 г., кл. Е21В 43/04, опубл. в БИ №28, 1989 г.) Всасывающий трубопровод соединен со смесителем (емкостью), связанным с приемной емкостью (отстойником) и герметичным бункером для гравия. Насосный агрегат соединен с нагнетательным трубопроводом, снабженным манометром. Циркуляционная обвязка содержит выкидную линию (сливную магистраль).
Недостатком указанной установки является невысокое качество намыва гравийного фильтра, что обусловлено следующими причинами:
– подачу песчано-гравийной пульпы проводят прямой циркуляцией через распределительный узел, циркуляционные каналы которого имеют сужения. В циркуляционных каналах возможно образование песчаной пробки, для разрушения которой необходимо оперативное переключение потоков циркулирующего агента. Образование песчаной пробки сопровождается резким скачком давления, что может послужить ложным сигналом окончания намыва гравия и приведет к неполному заполнению каверны с образованием пустот в обсыпке;
– песчано-гравийная пульпа нагнетается в скважину непосредственно насосом, что приводит к частым остановкам для его очистки и быстрому выходу насоса из строя.
Известно устройство для намыва гравийного фильтра, содержащее насосный агрегат, жестко соединенный с всасывающим (циркуляционным) трубопроводом, связанным с приемной емкостью, и нагнетательным трубопроводом, снабженным смесителем и манометром, и выкидную линию (циркуляционный трубопровод), связанную с приемной емкостью (см. а.с. №1661377 от 20.06.87 г., кл. Е21В 43/04, опубл. в ОБ №25. 1991 г.)
Недостатком указанного устройства является низкое качество намыва гравийного фильтра, обусловленное следующими причинами:
– намыв песчано-гравийной пульпы возможен только в затрубное пространство скважины, что может вызвать поглощение жидкости-песконосителя в пласт и неравномерное распределение гравия в обсыпке. К тому же возможно образование песчаных пробок в затрубном пространстве скважины.
В качестве прототипа взята циркуляционная обвязка для сооружения гравийного фильтра в скважине, описанная в авторском свидетельстве «Способ сооружения гравийного фильтра в скважине» (см. а.с.№1425305 от 26.11.86 г., кл. Е21В 43/04, опубл. в ОБ №35, 1988 г.), содержащая насосный агрегат, жестко соединенный с всасывающим трубопроводом, связанным с приемной емкостью (отстойником), и нагнетательным трубопроводом, снабженным смесителем и манометром, и выкидную линию (сливную магистраль), связанную с приемной емкостью.
Недостатком указанной установки является невысокое качество намыва гравийного фильтра, обусловленное следующими причинами:
– намыв гравийного фильтра возможен только прямой циркуляцией песчано-гравийной пульпы через распределительный узел, имеющий сужения в циркуляционных каналах, в которых возможно образование песчаной пробки, вызывающей потерю подвижности колонны труб. Для разрушения песчаной пробки эффективно изменять направление потоков, но данная установка не позволяет оперативно произвести эти операции. Образование песчаной пробки сопровождается резким скачком давления, что может послужить ложным и преждевременным сигналом окончания намыва песчано-гравийной пульпы и приведет к неполному заполнению каверны с образованием пустот в обсыпке;
– регулирование производительности установки осуществляется путем дросселирования через отвод нагнетательного трубопровода. Изменение скорости подачи жидкости влияет на концентрацию песка в песчано-гравийной пульпе, что приводит к образованию пробок и неконтролируемому процессу закачки;
– циркуляционная обвязка не позволяет осуществить комплекс операций по сооружению гравийного фильтра ввиду отсутствия устройства для более качественной очистки технологической жидкости, а также невозможно обеспечить постоянную концентрацию гравия в жидкости за эжектором-смесителем, так как подачу песчано-гравийной смеси осуществляют неконтролируемо за счет сил гравитации.
Технический результат, который может быть получен при осуществлении предлагаемого изобретения, заключается в повышении качества сооружения гравийного фильтра за счет возможности оперативного переключения потоков, обеспечивающих намыв песчано-гравийной пульпы в трубное пространство и донамыв в затрубное пространство скважины с возможностью контроля параметров закачки и свойств различных технологических жидкостей и исключения образования песчаных пробок.
Технический результат достигается с помощью известной циркуляционной обвязки, включающей насосный агрегат, жестко соединенный с всасывающим трубопроводом, связанным с приемной емкостью, и нагнетательным трубопроводом, снабженным смесителем и манометром, и выкидную линию, связанную с приемной емкостью. По заявляемой конструкции циркуляционная обвязка для сооружения гравийного фильтра в скважине дополнительно содержит распределительный блок, снабженный линией связи с трубным пространством скважины и линией связи с затрубным пространством скважины. Распределительный блок выполнен из четырех соединенных друг с другом тройников с кранами между ними, образующих замкнутый контур. При этом один тройник жестко связан с нагнетательным трубопроводом, второй – с линией связи с трубным пространством скважины, третий – с линией связи с затрубным пространством скважины, четвертый – с выкидной линией. Нагнетательный трубопровод снабжен ультразвуковым расходомером и пробоотборником последовательно установленными перед распределительным блоком. По обе стороны от смесителя установлены краны и тройники, соединяющие нагнетательный трубопровод с боковым отводом, содержащим фильтр с кранами на его входе и выходе. При этом на выходе смесителя установлен обратный клапан.
Таким образом, заявляемое техническое решение соответствует условию новизны.
Анализ изобретательского уровня показал следующее: из источников патентной документации и научно-технической литературы нами не выявлены технические решения, имеющие в своей основе признаки, совпадающие с отличительными признаками заявляемого технического решения. Достигаемый технический результат обусловлен неизвестными свойствами конструктивных элементов распределительного блока и гидравлическими связями циркуляционной обвязки, обеспечивающими оперативное переключение потоков технологической жидкости с возможностью контроля параметров закачки и свойств различных технологических жидкостей. Техническое решение явным образом не следует из уровня техники, т.е. соответствует условию изобретательского уровня.
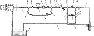
На чертеже представлена принципиальная схема предлагаемой циркуляционной обвязки.
Заявляемая циркуляционная обвязка содержит насосный агрегат 1, жестко соединенный с всасывающим трубопроводом 2, связанным с приемной емкостью 3. Насосный агрегат 1 жестко соединен с нагнетательным трубопроводом 4. На нагнетательном трубопроводе 4 последовательно установлены смеситель 5, обратный клапан 6, ультразвуковой расходомер 7, пробоотборник 8 и манометр 9. По обе стороны от смесителя 5 на нагнетательном трубопроводе 4 расположены краны 10, 11 и тройники 12, 13. Посредством тройников 12, 13 к нагнетательному трубопроводу 4 прикреплен боковой отвод с фильтром 14 и кранами 15 и 16 на его входе и выходе. Циркуляционная обвязка содержит распределительный блок, снабженный линией связи с трубным пространством скважины 17 и линией связи с затрубным пространством скважины 18. Распределительный блок состоит из четырех соединенных друг с другом тройников 19, 20, 21, 22, образующих замкнутый контур. Между тройниками 19, 20, 21, 22 установлены краны 23, 24, 25, 26. Тройник 19 распределительного блока жестко соединен с нагнетательным трубопроводом 4, тройник 20 – с линией связи с трубным пространством скважины 17, тройник 22 – с линией связи с затрубным пространством скважины 18. Циркуляционная обвязка содержит выкидную линию 27 жестко связанную с тройником 21 распределительного блока и приемной емкостью 3. Все элементы установки жестко соединены в замкнутую систему циркуляции посредством быстросборных соединений 28.
Более подробно сущность заявляемого технического решения поясняется следующим примером.
Циркуляционная обвязка для сооружения гравийного фильтра в скважине имеет следующие габариты:
| Длина, мм |
7500 |
| Ширина, мм |
1500 |
| Высота, мм |
1000 |
Техническая характеристика:
| Диаметр проходного сечения, мм |
50 |
| Присоединительная резьба |
СБ-60 |
| Рабочее давление, МПа |
20 |
Рабочая среда – абразивная среда технологических жидкостей (песконосителей, цементного раствора, в том числе углеводородосодержащих, обработанных химическими реагентами, плотностью до 1900 кг/м3). Гравий с крупностью фракций 0,08-1,2 мм; объемная концентрация гравия в жидкости-песконосителе 5-10%.
При сборке установки используют стандартное оборудование: смеситель гидронапорный СГН (ТУ 39-00147001), кран шаровой КШ 50×210, портативный ультразвуковой расходомер фирмы EESiFlo (США) с накладным датчиком модель 10Р, соединение быстросборное СБ-60-70, затвор обратный поворотный типа КУ-50×20 ЛС МТ.
Проблемы, возникающие в процессе борьбы с выносом песка при эксплуатации газодобывающих скважин и скважин ПХГ, диктуют необходимость разработки новых технологических операций и технических средств. Для предотвращения выноса мелкозернистого песка из скважины наиболее эффективна установка гравийного фильтра. Однако этот процесс технологически сложен и сопряжен с риском потери подвижности колонны труб и создания неоднородной, содержащей пустоты гравийной обсыпки. И то и другое возможно при образовании песчаной пробки в кольцевом пространстве выше требуемого интервала обсыпки фильтра, эти пробки образуются либо при поглощении жидкости, либо в местах сужений, например напротив соединений муфта-труба, пакеров и т.п.
Поставленная задача решается за счет использования циркуляционной обвязки скважины, включающей распределительный блок, обеспечивающий оперативное переключение потоков технологической жидкости. Циркуляционная обвязка снабжена устройствами, позволяющими осуществлять контроль параметров закачки и свойств различных технологических жидкостей. Ультразвуковой расходомер обеспечивает измерение мгновенного расхода, скорости и суммарного расхода закачиваемой технологической жидкости. Пробоотборник обеспечивает контроль параметров технологической жидкости и определение концентрации гравия в ней в процессе закачки песчано-гравийной пульпы в скважину. Для предотвращения перелива жидкости из воронки смесителя при несанкционированной остановке насосов или повышении давления установка оборудована обратным клапаном. Для очистки технологической жидкости и выполнения необходимых подготовительных работ установка оборудована фильтром устьевым ФУ-168, изготовленным в ОАО «СевКавНИПИгаз».
В скважину на колонне труб спускают необходимое оборудование для проведения комплекса технологических операций по сооружению гравийного фильтра. Прокачивают технологическую жидкость через фильтр 14 методом прямой циркуляции, при этом краны 15, 16, 23 и 25 устанавливают в положение «открыто», а краны 10, 11, 24, 26 в положение «закрыто». Из приемной емкости 3 насосный агрегат 1 принимает технологическую жидкость по всасывающему трубопроводу 2 и нагнетает ее под давлением от 4,0 до 7,5 МПа с производительностью 14-15 дм3/мин в нагнетательный трубопровод 4. Далее технологическая жидкость проходит через фильтр 14, ультразвуковой расходомер 7, пробоотборник 8, кран 23 распределительного блока и поступает в линию связи с трубным пространством скважины 17. Выходящая из скважины технологическая жидкость поступает по линии связи с затрубным пространством скважины 18 и направляется в приемную емкость 3 через кран 25 распределительного блока и выкидную линию 27. Промывают скважину в течение цикла. Производят расширение ствола скважины и очистку каверны. Останавливают циркуляцию. Поднимают колонну труб с инструментом.
В скважину спускают колонну труб и промывают по циклу через фильтр устьевой 14 для очистки ствола скважины и технологической жидкости от шлама. Прямой циркуляцией производят закачку песчано-гравийной пульпы в скважину через смеситель 5. Краны 10, 11, 23, 25 устанавливают в положение «открыто», а краны 15, 16, 24, 26 – «закрыто». Насосным агрегатом 1 с расходом от 4 до 6 дм3/мин через смеситель 5 закачивают в скважину песчано-гравийную пульпу концентрацией 5-10%. При этом песчано-гравийная пульпа проходит через обратный клапан 6, расходомер 7, пробоотборник 8, кран 23 распределительного блока и линию связи с трубным пространством скважины 17. В каверне скважины гравий оседает, образуя гравийный массив, а технологическая жидкость выходит из скважины по линии связи с затрубным пространством скважины 18 и направляется через кран 25 распределительного блока и выкидную линию 27 в приемную емкость 3. Намывают необходимый объем гравийного массива. Останавливают насосный агрегат 1 и поднимают колонну труб из скважины.
Прямой циркуляцией прокачивают технологическую жидкость через фильтр 14, при этом краны 15, 16, 23 и 25 устанавливают в положение «открыто», а краны 10, 11, 24, 26 – в положение «закрыто», проводят вмыв фильтра в созданный гравийный массив. Переключают краны 15, 16, 24, 26 в положение «открыто», а краны 10, 11, 23, 25 – в положение «закрыто» и прокачкой технологической жидкости через фильтр 14 методом обратной циркуляции уплотняют гравий за фильтром. По завершении вмыва фильтра в созданный гравийный массив колонна труб разъединяется с фильтром.
Проводят донамыв гравия по затрубному пространству скважины. Для этого приподнимают колонну труб и переключают краны 10, 11, 24, 26 в положение «открыто», а краны 15, 16, 23, 25 – в положение «закрыто». С использованием смесителя 5 проводят донамыв гравия по затрубному пространству скважины. Включают насосный агрегат 1, в смеситель 5 засыпают расчетное количество гравия и прокачивают гравийную пульпу через обратный клапан 6, ультразвуковой расходомер 7, пробоотборник 8, кран 26 распределительного блока и линию связи с затрубным пространством скважины 18. Намывают необходимый объем гравийного массива. Технологическая жидкость поднимается из скважины в линию связи с трубным пространством скважины 17 и направляется через кран 24 распределительного блока и выкидную линию 27 в приемную емкость 3. Контроль и регистрацию параметров технологической жидкости при донамыве гравия осуществляют с использованием ультразвукового расходомера 7, пробоотборника 8 и манометра 9.
При проведении операций намыва и донамыва возможно увеличение давления, что может послужить ложным и преждевременным сигналом окончания намыва песчано-гравийной пульпы и приведет к неполному заполнению каверны. Для этого необходимо через фильтр 14 путем многократного реверсирования на распределительном блоке менять направление потоков технологической жидкости и по моменту «стоп» определять разрушение песчаной пробки.
Таким образом, возможность оперативного переключения потоков, обеспечивающих проведение намыва песчано-гравийной пульпы в трубное пространство скважины и донамыва в затрубное пространство скважины с возможностью контроля параметров закачки различных технологических жидкостей и исключения образования песчаных пробок, гарантируют повышение качества сооружения гравийного фильтра в скважине.
Заявляемое техническое решение соответствует критерию патентоспособности, а именно условию новизны, изобретательского уровня и промышленной применимости.
Формула изобретения
Циркуляционная обвязка для сооружения гравийного фильтра в скважине, включающая насосный агрегат, жестко соединенный с всасывающим трубопроводом, связанным с приемной емкостью, и нагнетательным трубопроводом, снабженным смесителем и манометром, и выкидную линию, связанную с приемной емкостью, отличающаяся тем, что она дополнительно содержит распределительный блок, снабженный линией связи с трубным пространством скважины и линией связи с затрубным пространством скважины, при этом распределительный блок выполнен из четырех соединенных друг с другом тройников с кранами между ними, образующих замкнутый контур, причем один тройник жестко связан с нагнетательным трубопроводом, второй – с линией связи с трубным пространством скважины, третий – с линией связи с затрубным пространством скважины, четвертый – с выкидной линией, а нагнетательный трубопровод снабжен ультразвуковым расходомером и пробоотборником, последовательно установленными перед распределительным блоком, причем по обе стороны от смесителя установлены краны и тройники, соединяющие нагнетательный трубопровод с боковым отводом, содержащим фильтр с кранами на его входе и выходе, при этом на выходе смесителя установлен обратный клапан.
РИСУНКИ
|
|