|
|
(21), (22) Заявка: 2007109331/03, 15.03.2007
(24) Дата начала отсчета срока действия патента:
15.03.2007
(46) Опубликовано: 20.12.2008
(56) Список документов, цитированных в отчете о поиске:
RU 2244102 C1, 10.01.2005. RU 2077735 C1, 20.04.1997. RU 2165517 C2, 20.04.2001. RU 2179637 C1, 20.02.2002. RU 2263202 C2, 27.10.2005. US 4414846 A, 15.11.1983. US 4328705 A, 11.05.1982.
Адрес для переписки:
614990, г.Пермь, ул. Букирева, 15, ПГУ, пат. пов. А.А. Онорину, рег.№126
|
(72) Автор(ы):
Савич Анатолий Данилович (RU), Шумилов Александр Владимирович (RU), Балдин Анатолий Валентинович (RU), Черных Ирина Александровна (RU)
(73) Патентообладатель(и):
Общество с ограниченной ответственностью Предприятие “FXC-ПНГ” (RU)
|
(54) СПОСОБ ИНФОРМАЦИОННОГО ОБЕСПЕЧЕНИЯ И УПРАВЛЕНИЯ ОТБОРОМ ФЛЮИДА ИЗ НЕФТЯНЫХ СКВАЖИН И УСТАНОВКА ДЛЯ ЕГО ОСУЩЕСТВЛЕНИЯ
(57) Реферат:
Способ информационного обеспечения и управления отбором флюида из нефтяных скважин. Перед спуском колонны под центробежным насосом на отрезке геофизического кабеля подвешивают и подключают к кабелю центробежного насоса глубинный прибор с датчиками давления, температуры, и состава резистивиметр или влагомер. Затем при спуске колонны лифтовых труб на заданном расстоянии выше центробежного насоса монтируют второй глубинный прибор с датчиками температуры и давления. Далее соединяют кабельной линией связи со скважинной системой контроля, устанавливают их над продуктивным пластом в стволе вертикальной или наклонно-направленной скважины. С помощью наземного комплекса аппаратуры, включающего блок управления, станцию управления насосной установки и измерительный блок поверхностных параметров, проводят измерения заданных параметров и текущего времени по командам блока управления. Полученные данные записываются в запоминающее устройство, визуализация значений на блоке индикации и передача по каналам связи на пульт диспетчера, по командам с которого наземный блок управления формирует и передает в станцию управления насосной установки сигналы, обеспечивающие оптимизацию процесса эксплуатации скважины. Изобретение повышает достоверность контролируемых параметров при оптимизации процесса управления и эксплуатации. 2 н. и 4 з.п. ф-лы, 1 ил.
Область техники
Изобретение относится к нефтяной промышленности и может быть использовано при добыче нефти из вертикальных, наклонно-направленных и горизонтальных скважин, эксплуатируемых с помощью установок электроцентробежных насосов.
Уровень техники
Известны скважинные системы контроля и, в частности, система «СКАД-2002», включающая скважинный преобразователь для контроля давления на приеме электроцентробежного насоса, температуры статорных обмоток погружного электродвигателя и температуры откачиваемой пластовой жидкости, информация о которых по кабелю-токопроводу погружного электродвигателя поступает в наземный прибор для осуществления приема и детектирования информации [1].
Недостатками данной системы являются отсутствие возможностей прямых измерений параметров продуктивных пластов (забойное давление, температура, расход, состав и др.), и поверхностных параметров (давления буферное и затрубное, температура флюида на устье, расход по фазам и др.). Система не позволяет производить управление работой насосной установки в зависимости от фактических параметров пласта и скважины.
Известна система информационного обеспечения разработки нефтяных месторождений, которая предусматривает получение и регистрацию информации о работе продуктивного пласта от датчиков, подвешенного на геофизическом кабеле, глубинного прибора и о работе технологического оборудования скважины от датчиков блока поверхностных параметров, а также управление процессом регистрации информации [2].
Основным недостатком системы является снижение достоверности вычисляемых параметров, при работе системы в автономном режиме, из-за отсутствия информации о распределении свойств добываемого флюида на различных глубинах ствола скважины выше места нахождения глубинного прибора. Для получения названной информации необходимы дополнительные затраты времени на подключение каротажной станции и проведение геофизических исследований ниже приема насоса. Система также не позволяет получать информацию о работе нефтяного пласта в горизонтальных скважинах.
Наиболее близким к изобретению является способ добычи нефти и устройство для контроля забойных термобарических параметров флюида при добыче нефти, обеспечивающие с помощью цифровых приборов, фиксировано расположенных на хвостовике из труб, кабеля или троса измерение давления, температуры и электропроводности добываемого флюида. Каждый прибор, количество которых предусматривается не менее трех, соединяется кабельной линией связи с поверхностью, притом один из них располагается выше приема насоса при механизированной добыче. Такое расположение датчиков позволяет реализовать известные алгоритмы для определения состава флюида (плотность и обводненность), находящегося в стволе скважины между датчиками давления [3].
Недостатками указанного решения как в части способа, так и в части устройства является необходимость прокладывания кабеля связи с глубинными приборами на поверхность, что, к тому же, усложняет технологию спуска глубинного насоса и не во всех скважинах возможно из-за малых зазоров между обсадной колонной и корпусом насоса, а также конструктивных особенностей устьевого оборудования, на части планшайб которого отсутствует возможность установки сальников для герметизации кабеля. Известное решение также не предусматривает возможность использования в качестве продолжительного участка линии связи кабеля-токопровода погружного электродвигателя на скважинах, эксплуатируемых установками электроцентробежных насосов, что не позволяет применять для контроля термобарических параметров в месте расположения насоса датчики, смонтированных на них, скважинных систем контроля и вызывает необходимость их дублирования глубинными приборами.
Отсутствие интерфейса связи со станцией управления глубинным насосом и с приборами наземного контроля работы оборудования не позволяет производить автоматическое, а отсутствие возможности индикации измеряемых параметров в режиме реального времени на скважине – ручное, оперативное регулирование режима работы скважины.
К недостаткам решения следует отнести также невозможность его реализации в части определения состава флюида (плотность и обводненность) в горизонтальных скважинах.
Раскрытие изобретения
Предлагаемым изобретением решается задача получения оптимального количества информации о работе нефтяного пласта или/и участков ствола скважины и технологического оборудования в реальном масштабе времени на протяжении всего межремонтного периода, а также управления процессом отбора флюида на основании анализа информации, полученной в скважинах, эксплуатируемых при помощи установок электроцентробежных насосов.
Поставленная задача решается с помощью признаков, указанных в 1-м пункте формулы изобретения, общих с прототипом, таких как способ информационного обеспечения и управления отбором флюида из нефтяных скважин, включающий спуск в скважину колонны труб с центробежным насосом, системой контроля технологических и глубинных параметров, данные измерения которой кодируют в виде цифровой информации, передают по кабельной линии на поверхность для обработки и визуализации, например, с помощью ЭВМ, и отличительных, существенных признаков, таких как перед спуском колонны под центробежным насосом на отрезке геофизического кабеля подвешивают и подключают к кабелю – токопроводу центробежного насоса глубинный прибор с датчиками давления, температуры и состава, резистивиметр или влагомер, затем при спуске колонны лифтовых труб на заданном расстоянии выше центробежного насоса монтируют второй глубинный прибор с датчиками температуры и давления, соединяют кабельной линией связи со скважинной системой контроля, устанавливают над продуктивным пластом в стволе вертикальной или наклонно-направленной скважины, при этом с помощью наземного комплекса аппаратуры, включающей блок управления, станцию управления насосной установки и измерительный блок поверхностных параметров, имеющих общий интерфейс, проводят измерения заданных параметров и текущего времени по командам блока управления или глубинного прибора, ведут запись значений в запоминающее устройство, визуализацию значений на блоке индикации и передачу по каналам связи на пульт диспетчера, по командам с которого или автономно наземный блок управления формирует и передает в станцию управления насосной установки сигналы, обеспечивающие оптимизацию процесса эксплуатации скважины.
Согласно пункту 2 формулы изобретения в горизонтальных скважинах глубинные приборы устанавливают перед продуктивными объектами условно-горизонтального участка ствола на жестком хвостовике с пропущенным внутри проводом или геофизическим кабелем.
Поставленная задача решается с помощью признаков указанных в 3-м пункте формулы изобретения, общих с прототипом таких как, установка для информационного обеспечения и управления отбором флюида из нефтяных скважин включающая колонну труб с центробежным насосом, на котором размещена система контроля технологических и глубинных параметров, кабельную линию связи с поверхностью и приборный комплекс для контроля забойных термобарических параметров флюида, и отличительных, существенных признаков, таких как установка дополнительно содержит подвешенный на отрезке геофизического кабеля под центробежным насосом глубинный прибор с датчиками давления, температуры и состава, резистивиметр или влагомер, а также второй глубинный прибор с датчиками давления и температуры, установленный на заданном расстоянии над центробежным насосом, при этом нижний глубинный прибор электрически и механически связан со скважинной системой контроля, к которой посредством кабеля подключен верхний глубинный прибор, при этом в качестве линии связи с поверхностью используют кабель-токопровод электродвигателя центробежного насоса, а приборный комплекс содержит систему хранения, обработки и управления информации для отбора флюидов из нефтяных скважин, включающую измерительные блоки глубинных и поверхностных параметров, блок индикации, блок управления и блок передачи информации, подключенные через общий интерфейс к связанным общей шиной между собой станцией управления насосом и блоком согласования и считывания информации, на первый вход которого, подают информацию о глубинных параметрах, а второй вход через общий интерфейс связан с измерительным блоком поверхностных параметров.
Согласно пункту 4 формулы измерительный блок поверхностных параметров включает смонтированные на фонтанной арматуре датчики устьевого и затрубного давлений, температуры, расхода добываемого флюида по фазам.
Согласно пункту 5 формулы при исследовании нескольких продуктивных пластов установка включает несколько геофизических приборов, каждый из которых размещают на отрезке кабеля над кровлей соответствующего пласта, причем приборы снабжены датчиками расхода, имеют механическую и транзитную электрическую связь для подключения расположенных ниже приборов, которые при использовании оборудования для одновременно-раздельной эксплуатации с изоляцией пластов пакерами, монтируют на лифтовой колонне, а отрезки кабеля герметично пропускают через пакеры, при этом блок управления выполняет регулирование объема отбираемого флюида из каждого продуктивного пласта.
Согласно пункту 6 формулы в горизонтальных скважинах глубинные приборы установлены перед продуктивными объектами условно горизонтального участка ствола на хвостовике из отрезка гибких длинномерных или насосно-компрессорных труб малого диаметра с пропущенным внутри проводом или геофизическим кабелем, при этом глубинные приборы с эксцентричным расположением их массы устанавлены между частями хвостовика на вращающихся приборных головках.
Вышеперечисленная совокупность существенных признаков позволяет получить следующий технический результата – получение оптимального количества информации о работе нефтяного пласта и/или участков ствола скважины и технологического оборудования в реальном масштабе времени на протяжении всего межремонтного периода, а также управления процессом отбора флюида на основании анализа информации, полученной в скважинах, эксплуатируемых при помощи установок электроцентробежных насосов.
Возможны следующие варианты практической реализации способа.
Способ реализуется в составе скважинной системы контроля и одного глубинного прибора подвешенного над продуктивным пластом на отрезке геофизического кабеля.
Дополнительно подключается глубинный прибор, расположенный на заданном расстоянии над установкой электроцентробежного насоса.
Способ может быть реализован в составе скважинной системы контроля и нескольких геофизических приборов, каждый из которых на отрезке геофизического кабеля располагается над кровлей соответствующего пласта, притом приборы дополнительно оснащаются высоконадежными датчиками расхода, а также имеют возможность механической и транзитной электрической связи для подключения расположенных ниже приборов, которые при использовании оборудования для одновременно-раздельной эксплуатации с изоляцией пластов пакерами монтируются на лифтовой колонне, а отрезки кабеля герметично пропускаются через пакеры.
Дополнительно подключается глубинный прибор, расположенный над установкой электроцентробежного насоса.
Каждый из перечисленных вариантов имеет совместный интерфейс с измерительным блоком поверхностных параметров.
В горизонтальных скважинах глубинные приборы устанавливаются перед продуктивными объектами условно горизонтального участка ствола на хвостовике из отрезков гибких длинномерных или насосно-компрессорных труб малого диаметра с пропущенным внутри проводом или геофизическим кабелем. Между отрезками труб, на вращающихся приборных головках, монтируются глубинные приборы с эксцентричным расположением их массы, что позволяет ориентировано размещать по периметру ствола скважины датчики состава и получать информацию об объемном распределении фаз добываемого флюида.
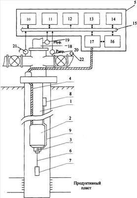
На чертеже представлена схема реализации одного из вариантов установки. Изобретение иллюстрируется следующим чертежом.
Установка для информационного обеспечения и управления отбором флюида из нефтяных скважин включает колонну труб 1 с центробежным насосом 2, на котором размещена система контроля технологических и глубинных параметров 3, кабельную линию связи 4 с поверхностью и приборный комплекс 5 для контроля забойных термобарических параметров флюида. Установка дополнительно содержит подвешенный на отрезке геофизического кабеля 6 под центробежным насосом 2 глубинный прибор 7 с датчиками давления, температуры и состава, резистивиметр или влагомер, а также второй глубинный прибор 8 с датчиками давления и температуры, установленный на заданном расстоянии над центробежным насосом 2. Нижний глубинный прибор 7 электрически и механически связан со скважинной системой контроля 3, к которой посредством кабеля 9 подключен верхний глубинный прибор 8, при этом в качестве линии связи с поверхностью используют кабель-токопровод 4 электродвигателя центробежного насоса 2.
Приборный комплекс 5 содержит систему хранения, обработки и управления информации для отбора флюидов из нефтяных скважин включающую измерительные блоки поверхностных 10 и глубинных 11 параметров, блок индикации 12, блок управления 13 и блок передачи информации 14, подключенные через общий интерфейс 15 к связанным общей шиной между собой станцией управления насосом 16 и блоком согласования и считывания информации 17, на первый вход которого подают информацию о глубинных параметрах, а второй вход через общий интерфейс связан с измерительным блоком поверхностных параметров 11.
Измерительный блок поверхностных параметров 10 включает смонтированные на фонтанной арматуре 18 датчики устьевого 19 и затрубного давлений 20, температуры 21, датчик расхода добываемого флюида по фазам 22.
При исследовании нескольких продуктивных пластов установка включает несколько геофизических приборов, каждый из которых размещают на отрезке кабеля над кровлей соответсвующего пласта, причем приборы снабжены датчиками расхода, имеют механическую и транзитную электрическую связь для подключения расположенных ниже приборов, которые при использовании оборудования для одновременно-раздельной эксплуатации с изоляцией пластов пакерами, монтируют на лифтовой колонне, а отрезки кабеля герметично пропускают через пакеры, при этом блок управления выполняет регулирование объема отбираемого флюида из каждого продуктивного пласта (на чертеже не показано).
В горизонтальных скважинах глубинные приборы установлены перед продуктивными объектами условно горизонтального участка ствола на хвостовике из отрезка гибких длинномерных или насосно-компрессорных труб малого диаметра с пропущенным внутри проводом или геофизическим кабелем, при этом глубинные приборы с эксцентричным расположением их массы установлены между частями хвостовика на вращающихся приборных головках, (на чертеже не показано)
Установка содержит два глубинных прибора, скважинную систему контроля и измерительный блок поверхностных параметров с комплектом датчиков наземного контроля. Нижний прибор 7, предназначенный для измерения, как минимум, давления, температуры и состава добываемого флюида подвешивается над продуктивным пластом при помощи отрезка геофизического кабеля 6, подсоединенного к скважинной системе контроля 3, которая монтируется на приеме насоса 2 и также содержит датчики температуры, давления и состава. Верхний прибор 8, содержащий датчики давления и температуры, крепится на заданной глубине над электроцентробежным насосом 2 к лифтовой колонне 1 и посредством проводной линии связи 9 также подключается к скважинной системе контроля 3. Питание приборов и скважинной системы контроля электрическим током и передача информации от датчиков на поверхность производится по кабелю-токопроводу 4 погружного электродвигателя глубинного насоса 2. Для измерения давлений в затрубном пространстве и на буфере (Рзатр и Рбуф), а также температуры флюида на поверхности (t°) в приборный комплекс 5 включается измерительный блок поверхностных параметров 10 со смонтированными на фонтанной арматуре 18 соответствующими датчиками давления и температуры (19, 20, 21).
Управление работой глубинных измерительных модулей комплекса, регистрация, передача и хранение информации производится измерительным блоком глубинных параметров 11 или при помощи нижнего глубинного прибора 7. Работа измерительного блока поверхностных параметров 10 осуществляется как автономно, так и по управляющим командам блока управления 13, который выполняет сбор и анализ глубинной и поверхностной информации, передачу ее для визуального контроля на блок индикации 12 и на диспетчерский пульт контроля через блок передачи информации и приема управляющих сигналов 14, а также осуществляет формирование управляющих сигналов. Сигналы по управлению отбором флюида, через блок согласования и считывания информации 17, поступают в станцию управления установкой электроцентробежного насоса 16 от блока управления 13 или с диспетчерского пульта, притом последние являются приоритетными. Считывание информации с глубинных приборов, как и передача на них кодов выбора режима работы, также производится через блок согласования и считывания информации 17.
Наземные блоки монтируется возле устья скважины в специальном металлическом контейнере или в контейнере станции управления электроцентробежным насосом. Связь с поверхностными датчиками осуществляется при помощи линии связи из бронированного кабеля. Питание приборного комплекса производится от промышленной сети переменного тока, а в случае его отключения – от автономных источников питания, позволяющих сохранять работоспособность измерительной системы не менее пяти суток, притом глубинный комплекс оснащается аккумулятором. В зависимости от решаемых задач и условий эксплуатации глубинного насоса приборный комплекс может работать в одном из пяти режимов, первый из которых задается при помощи компьютера, остальные – при помощи блока управления 13.
Примеры осуществления изобретения. Способ реализуется с помощью вышеописанной установки, которая эксплуатируется следующим образом:
Режим 1 (технологический), предназначен для измерения гидростатического давления, температуры и состава жидкости вдоль ствола скважины, а также документирования технологического процесса по обустройству скважины глубинным и устьевым оборудованием с помощью нижнего глубинного прибора при его доставке на заданную глубину во время спуска электроцентробежного насоса. Питание прибора осуществляется при помощи аккумулятора. Периодичность снятия информации с первичных преобразователей (датчиков) находится в пределах от одной секунды до одних суток и устанавливается с помощью компьютера перед спуском прибора при включении режима работы. Зарегистрированная информация, а также дата и время ее получения записываются в энергонезависимую память прибора, где хранятся до момента подачи сетевого напряжения или до ее считывания в память компьютера после подъема прибора на поверхность. При включения сетевого напряжения выполнение режима 1 прекращается, а зарегистрированная информация автоматически поступает в измерительный блок глубинных параметров, записывается в его память и хранится до считывания на внешние носители.
Выполнение режима 2 (контрольный), предназначенного для информационного сопровождения, документирования и оптимизации технологического процесса вывода скважин на режим при запуске их в работу, начинается по команде, переданной с блока управления. Снятие синхронизированных во времени отсчетов со всех датчиков глубинных приборов, скважинной системы контроля и измерительного блока поверхностных параметров, в том числе вибраций и силы тока питания электродвигателя насоса по фазам, производится через заданные на блоке управления промежутки времени. Значения давления, температуры, состава, а при наличии датчиков расходометрии также расхода добываемого флюида, измеряемых глубинными приборами и скважинной системой контроля, совместно с текущим временем их измерения, записываются в память измерительного блока глубинных параметров и так же, как и значения поверхностных параметров, передаются на блок управления. Регламентные показатели вывода на режим контролируются и поддерживаются блоком управления посредством анализа поступающей информации. При выходе текущих параметров за установленные граничные значения обеспечивается сигнализация отступления от регламента на блок индикации и пульт управления диспетчера. В случае отсутствия управляющих команд с пульта, на станцию управления электроцентробежным насосом посылаются дублирующие управляющие сигналы по уменьшению или увеличению объема отбора флюида или остановке (отключении) глубинного насоса, что может произойти, например, при превышении предельных значений температуры нагрева электродвигателя. При соответствии контролируемых параметров регламентным подаются сигналы на возобновление режима работы насоса или на включение электродвигателя. При отключении питающего напряжения приборный комплекс переключается на работу в режиме 3.
Режим 3 (аварийный), предназначен для получения информации от глубинных и поверхностных датчиков во время отключения питающей сети и при гидродинамических исследованиях скважин. Командой на выполнение режима является аварийное или специальное отключение питающего напряжения, после чего приборный комплекс переходит на питание от автономных источников. Регистрация сигналов с поверхностных датчиков давления производится под управлением измерительного блока поверхностных параметров, с датчиков глубинных приборов и скважинной системы контроля – нижнего глубинного прибора или измерительного блока глубинных параметров. Периодичность опроса глубинных датчиков является функцией изменения забойного давления, измеряемого датчиком нижнего прибора, а промежутки времени между отсчетами значений затрубного и буферного давлений зависят от изменения затрубного давления. В запоминающие устройства записываются также дата и время снятия отсчетов. Указанный способ регистрации обеспечивает экономное расходование энергии источников питания при получении оптимального объема информации, рациональное использование памяти приборного комплекса и может быть реализован, например, при помощи следующего алгоритма:
,
где t – интервал времени в минутах, по истечении которого будет снят следующий отсчет (Pn+1).
Изменение давления Р определяется, как разность , где Рn и Рn-1 – значения текущего и предыдущего отсчетов давлений соответственно. Снятие первого отсчета производится сразу после поступления команды на выполнение режима. Промежуток времени до снятия второго отсчета является величиной постоянной и равняется тридцати секундам. Коэффициент пропорциональности k задается с измерительных блоков или блока управления и в зависимости от фильтрационно-емкостных свойств исследуемого пласта может изменяться. После подачи напряжения комплекс автоматически переходит на работу в предшествующий режим.
Режим 4 (рабочий) применяется для непрерывного получения информации со всех датчиков с целью обеспечения оптимальных условий работы системы пласт – скважина – установка электроцентробежного насоса и сбора данных для использования их в информационной базе мониторинга разработки месторождения (залежи). Информация снимается со всех датчиков через заданные промежутки времени или по алгоритму. Измерение технологических параметров (вибраций и силы тока питания электродвигателя насоса по фазам, температуры внутри насоса) производится через заданные на блоке управления промежутки времени. Критерием обеспечения оптимального режима работы скважины являются, предварительно установленные на блоке управления, максимальные и минимальные значения измеряемых параметров, например, забойного давления, перепадов давлений измеряемых в системе прием насоса – верхний глубинный прибор – затрубное пространство, состава и расхода жидкости, которые передаются также и на пульт диспетчера. При отклонении контролируемых параметров за пределы интервалов блок управления формирует и передает в станцию управления команды на увеличение или уменьшение подачи насоса. Например, при снижении забойного давления до значений, соответствующих давлению насыщения нефти попутным газом, или до значений, при которых начинается интенсивное поступление воды в ствол скважины, что вызывает необходимость уменьшать объем отбираемого флюида, с блока управления поступают команды на уменьшение подачи. При соответствии указанных параметров верхним предельным значениям подача увеличивается. В скважинах с одновременно-раздельной эксплуатацией нескольких объектов блок управления выполняет регулирование объема отбираемого флюида из каждого продуктивного пласта при помощи предварительно устанавливаемых для этих целей в глубинной части компоновки лифтового оборудования, штуцеров или клапанов.
Для обеспечения эффективной работы насосной установки задаются предельные значения технологических параметров, при превышении которых в станцию управления поступает команда на переход в режим, снижающий нагрузку на электродвигатель насоса или его остановку и соответственно на увеличение подачи или включение насоса при снижении контролируемых параметров до установленных значений.
В случае отключения питающего напряжения приборный комплекс переходит на работу в режиме 3, а при его подаче продолжается выполнение режима 4.
Режим 5 (периодический) используется для эксплуатации скважин, работающих в режиме накопления, и предназначен для управления работой глубинного насоса. Питание приборного комплекса комбинированное – напряжение промышленной сети во время работы насоса, а при его отключении питание наземных блоков производится от сети, глубинных приборов – от аккумулятора. Включение и отключение глубинного насоса производится станцией управления по командам блока управления, которые формируются в зависимости от показаний датчика давления нижнего прибора или/и показаний датчиков скважинной системы контроля и верхнего глубинного прибора. При значениях давлений, равных установленным верхнему или нижнему предельным значениям соответственно, выдается команда на включение или отключение глубинного насоса. Обеспечение оптимального режима эксплуатации скважины и насосной установки во время ее работы, а также измерение глубинных и поверхностных параметров производится как и при эксплуатации скважины в режиме 4. Во время накопления флюида (глубинный насос отключен) производится измерение и регистрация глубинных и поверхностных параметров и текущего времени их получения.
Работа в данном режиме предусматривает возвращение в него независимо от количества отключений насоса. Переход в режим 3 (аварийный) происходит только при отключении питающего напряжения от всего комплекса, при его подаче поступает команда на включение глубинного насоса. Из описания и практического применения настоящего изобретения специалистам будут очевидны и другие частные формы его выполнения. Данное описание и примеры рассматриваются как материал, иллюстрирующий изобретение, сущность которого и объем патентных притязаний определены в нижеследующей формуле изобретения, совокупностью существенных признаков и их эквивалентами.
Источники информации
2. Патент на изобретение RU 2077735 С, G01V 1/40, 9/00.
3. Патент на изобретение RU 2244102 С1, 7 Е21В 43/00 (прототип).
Формула изобретения
1. Способ информационного обеспечения и управления отбором флюида из нефтяных скважин, включающий спуск в скважину колонны труб с центробежным насосом, системой контроля технологических и глубинных параметров, данные измерения которой кодируют в виде цифровой информации, передают по кабельной линии на поверхность для обработки и визуализации, например, с помощью ЭВМ, отличающийся тем, что перед спуском колонны под центробежным насосом на отрезке геофизического кабеля подвешивают и подключают к кабелю-токопроводу центробежного насоса глубинный прибор с датчиками давления, температуры и состава, резистивиметр или влагомер, затем при спуске колонны лифтовых труб на заданном расстоянии выше центробежного насоса монтируют второй глубинный прибор с датчиками температуры и давления, соединяют кабельной линией связи со скважинной системой контроля, устанавливают их над продуктивным пластом в стволе вертикальной или наклонно-направленной скважины, при этом с помощью наземного комплекса аппаратуры, включающей блок управления, станцию управления насосной установки и измерительный блок поверхностных параметров, имеющих общий интерфейс, проводят измерения заданных параметров и текущего времени по командам блока управления или глубинного прибора, ведут запись значений в запоминающее устройство, визуализацию значений на блоке индикации и передачу по каналам связи на пульт диспетчера, по командам с которого или автономно наземный блок управления формирует и передает в станцию управления насосной установки сигналы, обеспечивающие оптимизацию процесса эксплуатации скважины.
2. Способ по п.1, отличающийся тем, что в горизонтальных скважинах глубинные приборы устанавливают перед продуктивными объектами условно-горизонтального участка ствола на жестком хвостовике с пропущенным внутри проводом или геофизическим кабелем.
3. Установка для информационного обеспечения и управления отбором флюида из нефтяных скважин, включающая колонну труб с центробежным насосом, на котором размещена система контроля технологических и глубинных параметров, кабельную линию связи с поверхностью и приборный комплекс для контроля забойных термобарических параметров флюида, отличающаяся тем, что она дополнительно содержит подвешенный на отрезке геофизического кабеля под центробежным насосом глубинный прибор с датчиками давления, температуры и состава, резистивиметр или влагомер, а также второй глубинный прибор с датчиками давления и температуры, установленный на заданном расстоянии над центробежным насосом, при этом нижний глубинный прибор электрически и механически связан со скважинной системой контроля, к которой посредством кабеля подключен верхний глубинный прибор, при этом в качестве линии связи с поверхностью используют кабель-токопровод электродвигателя центробежного насоса, а приборный комплекс содержит систему хранения, обработки и управления информации для отбора флюидов из нефтяных скважин, включающую измерительные блоки глубинных и поверхностных параметров, блок индикации, блок управления и блок передачи информации, подключенные через общий интерфейс к связанным общей шиной между собой станцией управления насосом и блоком согласования и считывания информации, на первый вход которого подают информацию о глубинных параметрах, а второй вход через общий интерфейс связан с измерительным блоком поверхностных параметров.
4. Установка по п.3, отличающаяся тем, что измерительный блок поверхностных параметров включает смонтированные на фонтанной арматуре датчики устьевого и затрубного давлений, температуры, расхода добываемого флюида по фазам.
5. Установка по п.3, отличающаяся тем, что при исследовании нескольких продуктивных пластов установка включает несколько геофизических приборов, каждый из которых размещают на отрезке кабеля над кровлей соответствующего пласта, причем приборы снабжены датчиками расхода, имеют механическую и транзитную электрическую связь для подключения расположенных ниже приборов, которые при использовании оборудования для одновременно-раздельной эксплуатации с изоляцией пластов пакерами монтируют на лифтовой колонне, а отрезки кабеля герметично пропускают через пакеры, при этом блок управления выполняет регулирование объема отбираемого флюида из каждого продуктивного пласта.
6. Установка по п.3, отличающаяся тем, что в горизонтальных скважинах глубинные приборы установлены перед продуктивными объектами условно горизонтального участка ствола на хвостовике из отрезка гибких длинномерных или насосно-компрессорных труб малого диаметра с пропущенным внутри проводом или геофизическим кабелем, при этом глубинные приборы с эксцентричным расположением их массы установлены между частями хвостовика на вращающихся приборных головках.
РИСУНКИ
PD4A – Изменение наименования обладателя патента СССР или патента Российской Федерации на изобретение
(73) Новое наименование патентообладателя:
Общество с ограниченной ответственностью Предприятие «ФXC-ПНГ» (RU)
Адрес для переписки:
614990, г. Пермь, ул. Букирева, 15, ПГУ, пат. пов. А.А. Онорину
Извещение опубликовано: 27.08.2010 БИ: 24/2010
|
|