|
|
(21), (22) Заявка: 2005138108/12, 07.05.2004
(24) Дата начала отсчета срока действия патента:
07.05.2004
(30) Конвенционный приоритет:
08.05.2003 BE 2003/0278
(43) Дата публикации заявки: 10.05.2006
(46) Опубликовано: 20.12.2008
(56) Список документов, цитированных в отчете о поиске:
JP 8226045 A, 03.09.1996. US 2627644 A, 10.02.1953. DE 10100484 A1, 11.07.2002. SU 711198 A1, 25.01.1980. SU 653314 A1, 25.03.1979.
(85) Дата перевода заявки PCT на национальную фазу:
08.12.2005
(86) Заявка PCT:
BE 2004/000066 (07.05.2004)
(87) Публикация PCT:
WO 2004/099478 (18.11.2004)
Адрес для переписки:
129090, Москва, ул. Б.Спасская, 25, стр. 3, ООО “Юридическая фирма Городисский и Партнеры”, пат.пов. С.А.Дорофееву, рег.№ 146
|
(72) Автор(ы):
МОНС Марк Лодевейк (BE)
(73) Патентообладатель(и):
ЛЮДВИГ СВЕНССОН Б.В. (NL)
|
(54) ТКАНЬ, ПРЕДНАЗНАЧЕННАЯ ДЛЯ ОБЕСПЕЧЕНИЯ, ПО МЕНЬШЕЙ МЕРЕ, ОДНОЙ ПОСТОЯННОЙ СКЛАДКИ, И СПОСОБ ЕЕ ИЗГОТОВЛЕНИЯ
(57) Реферат:
В ткани формируют по меньшей мере одну постоянную складку, в которую вплетена по меньшей мере одна усадочная нить. Усадочная нить или усадочные нити проложены в ткани в общем в направлении, поперечном к зоне образования складки. Изобретение позволяет зарабатывать усадочные нити в ткань простым и быстрым способом, что обеспечивает повышение скорости выработки ткани и снижает стоимость ее изготовления. 2 н. и 3 з.п. ф-лы, 6 ил.
Настоящее изобретение относится к ткани.
В частности, изобретение относится к ткани, в которой сформирована по меньшей мере одна постоянная складка.
В некоторых случаях желательно или необходимо, чтобы ткань содержала одну или несколько складок. Так, в некоторых случаях требуется «гофрированная» ткань.
Из документа ВЕ № 2002/0267 известна ткань, сконструированная таким образом, что в ней можно сформировать по меньшей мере одну постоянную складку, для чего в качестве базисной взята ткань, состоящая из уточных нитей, переплетенных с основными нитями, в которой в зонах складок, т.е. там, где надлежит сформировать складку, введена нить, посредством которой образуют складку в направлении нитей основы, причем для этого используют усадочную нить, применяя технологию основных нитей в шахматном порядке.
Хотя складки, формируемые в такой ткани, получаются хорошего качества, способ заработки нитей, посредством которых образуют складку, сложен и требует больших затрат времени, что приводит к относительно высокой стоимости изготовления ткани.
Кроме того, установлено на практике, что недостатки, имеющие место во время заработки такой усадочной нити согласно технологии заработки основных нитей в шахматном порядке, сложно выявить и, как следствие, обычно их не исправляют.
Задачей изобретения является создание ткани, в которой отсутствуют упомянутые выше и другие недостатки.
Для этого изобретением создана ткань, сконструированная таким образом, чтобы в ней можно было сформировать по меньшей мере одну постоянную складку, и для этого в упомянутую ткань вплетена по меньшей мере одна усадочная нить, причем усадочная нить или усадочные нити вплетены в ткань в направлении, в общем, поперечном к зоне образования складки.
Предпочтительно, чтобы на высоте зоны образования складки усадочные нити были расположены на большем расстоянии с одной стороны ткани, чем вне зоны образования складки.
Преимущество ткани согласно изобретению заключается в том, что усадочные нити могут быть заработаны в ткань простым и быстрым способом так, что можно повысить скорость выработки и снизить стоимость ее изготовления.
Другим преимуществом этой ткани является то, что усадочные нити, заработанные в ткань неправильно, можно легко выявить до образования складок, так как усадочные нити прокладывают прямолинейно поверх зоны образования складки.
Настоящим изобретением создан также способ изготовления ткани, содержащей по меньшей мере одну складку.
Этот способ отличается тем, что складку по меньшей мере в том месте, где ее надлежит сформировать, подвергают обработке, при которой осуществляют усадку усадочной нити или усадочных нитей по меньшей мере в зоне образования складки.
Для лучшего пояснения отличительных особенностей изобретения приводится последующее описание предпочтительных вариантов исполнения ткани и способа изготовления ткани согласно изобретению, содержащей по меньшей мере одну постоянную складку, приведенное только в качестве примера, без каких-либо ограничений объема изобретения, со ссылками на прилагаемые чертежи, на которых изображено:
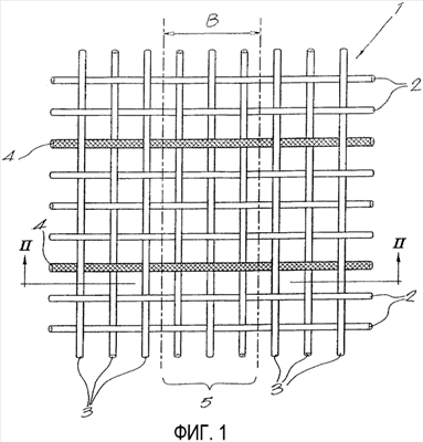
на фиг.1 – участок ткани, сконструированный согласно изобретению;
на фиг.2 – разрез II-II на фиг.1, в большем масштабе;
на фиг.3 – участок, изображенный на фиг.2, после образования постоянной складки согласно способу, предложенному в изобретении;
на фиг.4 – схематический вид в перспективе ткани со складками, выработанной согласно способу, предложенному в изобретении;
на фиг.5 – сечение V-V на фиг.4;
на фиг.6 – вариант исполнения, представленного на фиг.3.
На фиг.1 и 2 представлен участок ткани 1 согласно изобретению, причем ткань в данном случае выработана из уточных нитей 2, переплетенных с основными нитями 3; в ткань на регулярных расстояниях одна от другой в уточном направлении вплетены усадочные нити 4 согласно рисунку переплетения, отличающемуся от рисунка переплетения остальной ткани 1 на высоте зон 5 образования складок, которые в данном случае проходят в основном направлении ткани.
Различие в рисунке переплетения состоит в том, что на высоте зоны 5 образования складки усадочные нити 4 расположены с одной стороны ткани 1 на большем расстоянии, чем во всей остальной ткани 1, другими словами, с одной стороны основных нитей 3.
В приведенном примере на фиг.1 зона 5 образования складки проходит поверх трех основных нитей 3, причем усадочные нити 4 проложены с одной стороны от этих трех основных нитей 3 в зоне 5 образования складки, а за пределами зоны 5 образования складки усадочные нити 4 переплетены так же, как и другие уточные нити 2, а именно: проложены попеременно над и под последующими основными нитями 3.
Термин «нить» следует здесь понимать в широком смысле, что означает, что он включает мононити, а также пряжу и их сочетания.
Нити могут быть пряжей или комплексными нитями, текстурированными или нетекстурированными и даже эластичными нитями.
Нить может содержать натуральный материал, а также синтетический материал или их сочетание, и она может быть снабжена покрытием.
Уточные нити 2 и основные нити 3 могут быть изготовлены из различных материалов.
Усадочные нити 4 изготавливают из материала, который под воздействием тепловой, механико-тепловой, ультразвуковой, высокочастотной или другой соответствующей обработки усаживается в продольном направлении, причем усадка сохраняется постоянно и составляет предпочтительно минимум 5%. Более предпочтительно, чтобы усадочные нити 4 изготавливали из материала, усаживающегося при соответствующей обработке по меньшей мере на 5% больше, чем материал, из которого изготовлены остальные нити 2, 3, заработанные в общем направлении, параллельном упомянутым усадочным нитям 4, причем эту усадку можно определить в условиях до заработки нитей 2-4 в ткань.
Эти усадочные нити 4 предпочтительно изготавливают из нити, состоящей частично или полностью из одного или нескольких синтетических волокон, из элементарных нитей, состоящих из одной или нескольких синтетических элементарных нитей, из мононитей, состоящих из одного или нескольких синтетических базовых материалов, или из эластичной пряжи или элементарных нитей.
В качестве примера ткань 1 может быть выработана из уточных нитей 2 из полиэтилена, которые под влиянием тепловой обработки усаживаются по длине в пределах 5-7%. В этом случае можно использовать усадочные нити 4, которые вплетены в общем направлении параллельно уточным нитям 2, причем эти усадочные нити 4 скручены из другого полиэтиленового материала, усаживающегося по длине под воздействием тепловой обработки в пределах около 30-35%.
Для формирования постоянной складки 6 ткань 1 подвергают упомянутой выше обработке для усадки усадочных нитей 4 по меньшей мере в требуемой зоне 5 образования складки.
Понятно, что в результате такой усадки усадочных нитей 4 основные нити 3, прилегающие к зоне 5 образования складки с каждой стороны упомянутой зоны 5, притягиваются одна к другой так, что уточные нити 2 образуют складку, как это показано на фиг.3.
Складка получается неразглаживаемой, что означает получение постоянной складки.
Понятно, что место образования складки посредством уточных нитей 2 с одной или другой стороны ткани 1 определяют стороной, вдоль которой усадочные нити 4 прокладывают поверх зоны образования складки.
На фиг.4 и 5 представлена ткань 1, полученная согласно описанному выше способу, предложенному в изобретении, начиная с ткани 1, в которой усадочные нити 4 попеременно проложены с каждой стороны последовательно расположенных зон 5 образования складки.
Это означает, что усадочные нити 4 в ткани 1, которые находятся в базисной части последующих складок 6, последовательно проложены в непереплетенном состоянии поверх зоны 5 образования складки с каждой стороны ткани 1 и, таким образом, с каждой стороны основных нитей 3.
Величина усадки и расстояние В или, другими словами, число перекрытых основных нитей 3, поверх которых проложены в непереплетенном состоянии усадочные нити 4 с одной стороны основных нитей 3, определяют пространство (раскрытие) в складках 6 или, другими словами, определяют степень притягивания основных нитей 3 одна к другой с каждой стороны зоны 5 образования складки и, таким образом, какой будет величина угла А между этими соседними частями при возможности их свободного расхождения.
Естественно можно прижать складки 6 одну к другой так, чтобы части ткани 1, расположенные между последующими зонами 5 образования складок, соприкасались одна с другой и чтобы упомянутый угол А практически был сведен к нулю.
На фиг.6 представлен вариант исполнения участка ткани 1 согласно изобретению, в которой основные нити 3 проложены на большем расстоянии одна от другой в зоне 5 образования складки, в результате чего усадочные нити 4 в этой зоне 5 образования складки оказываются автоматически проложенными на большем расстоянии В с одной стороны ткани 1, чем во всей остальной ткани 1 вне зоны 5 образования складки или зон 5 образования складок соответственно.
Ткань 1 с постоянными складками 6 в данном случае также получают описанным выше способом путем обработки, посредством которого вызывают усадку усадочных нитей.
Во всех описанных выше вариантах исполнения получают ткань 1, содержащую постоянные складки 6 со стабильными размерами, которые в данном случае формируют в направлении основы, причем эти складки 6 могут быть растянуты эластичным образом.
Ткань 1 может быть любой тканью, например марлей и т.п., с любым видом переплетения уточных нитей 2 и основных нитей 3.
Материал 1 необязательно должен быть тканью. Он может быть трикотажным полотном или даже нетканым материалом. В последнем случае усадочные нити 4 должны быть введены после изготовления нетканого материала.
Ткань 1, снабженная складками 6, может быть сеткой от насекомых, солнцезащитной сеткой, занавесью, упаковочным материалом, хозяйственной сумкой, портфелем-«дипломатом» или частью его, подкладкой для чемодана, фильтром или, как факт, любым объектом, изготовленным из материала, снабженного одной или множеством постоянных складок 6.
Понятно, что в различных вариантах исполнения согласно изобретению усадочные нити 4 могут быть проложены в направлении основы, при этом зоны 5 образования складки проходят в уточном направлении, если это необходимо.
Объем изобретения не ограничен описанным выше вариантом исполнения, представленным на прилагаемых чертежах; напротив, такую ткань и такой способ изготовления ткани, содержащей по меньшей мере одну постоянную складку, можно использовать во всевозможных вариантах, не выходя при этом за пределы объема изобретения.
Формула изобретения
1. Ткань, предназначенная для обеспечения, по меньшей мере, одной постоянной складки, содержащая
множество уточных нитей (2), ориентированных в поперечном направлении;
множество основных нитей (3), переплетенных через равные интервалы с уточными нитями (2) в основном направлении;
по меньшей мере, одну зону (5) образования складки, предусмотренную для определения, по меньшей мере, одной постоянной складки (6), проходящей в основном направлении; и
по меньшей мере, одну усадочную нить (4), вплетенную в ткань (1), причем, по меньшей мере, одна усадочная нить (4) вплетена в ткань (1) в поперечном направлении и проходит поперечно к зоне образования складки (5),
в которой расстояние между основными нитями (3) в зоне (5) образования складки увеличивается таким образом, что, по меньшей мере, одна усадочная нить (4) расположена на большем расстоянии с одной стороны ткани, чем во всей остальной ткани (1) вне зоны (5) образования складки.
2. Ткань по п.1, в которой указанная, по меньшей мере, одна усадочная нить (4) представляет собой несколько усадочных нитей (4), проходящих на расстоянии одна от другой поверх зоны (5) образования складки.
3. Ткань по п.1, отличающаяся тем, что указанная, по меньшей мере, одна усадочная нить (4) изготовлена из материала, усаживающегося при соответствующей обработке, по меньшей мере, на 5% больше, чем материал, из которого изготовлены остальные нити (2, 3), вплетенные в общем в направлении, параллельном указанной, по меньшей мере, одной усадочной нити (4).
4. Способ формирования, по меньшей мере, одной постоянной складки (6) в ткани (1) по п.1, в котором ткань (1), по меньшей мере, там, где надлежит сформировать складку (6), подвергают обработке, вызывающей усадку, по меньшей мере, одной усадочной нити (4) по меньшей мере в зоне образования складки (5).
5. Способ по п.4, в котором всю ткань (1) подвергают обработке, вызывающей усадку, по меньшей мере, одной усадочной нити (4).
РИСУНКИ
|
|