|
|
(21), (22) Заявка: 2006101147/15, 09.06.2004
(24) Дата начала отсчета срока действия патента:
09.06.2004
(30) Конвенционный приоритет:
13.06.2003 IT MI2003A001196
(43) Дата публикации заявки: 10.06.2006
(46) Опубликовано: 20.12.2008
(56) Список документов, цитированных в отчете о поиске:
WO 0127361 А1, 19.04.2001. WO 9701658 А1, 16.01.1997. RU 2162117 С2, 20.01.2001. RU 2026896 С1, 20.01.1995.
(85) Дата перевода заявки PCT на национальную фазу:
13.01.2006
(86) Заявка PCT:
EP 2004/006244 (09.06.2004)
(87) Публикация PCT:
WO 2004/111316 (23.12.2004)
Адрес для переписки:
129010, Москва, ул. Б.Спасская, 25, стр.3, ООО “Юридическая фирма Городисский и Партнеры”, пат.пов. Е.И.Емельянову, рег.№ 174
|
(72) Автор(ы):
ВАЛЕНТЕ Джан Лука (IT), ПОДЗЕТТИ Витторио (IT), КОРДИНА Ольле (IT), МАСИ Маурицио (IT), СПЕЧИАЛЕ Натале (IT), КРИППА Данило (IT), ПРЕТИ Франко (IT)
(73) Патентообладатель(и):
ЛПЕ СПА (IT)
|
(54) УСТРОЙСТВО ДЛЯ ВЫРАЩИВАНИЯ КРИСТАЛЛОВ КАРБИДА КРЕМНИЯ
(57) Реферат:
Изобретение относится к технике для выращивания кристаллов карбида кремния на подложках. Устройство содержит камеру (1), расположенную вдоль оси, причем камера (1) включает отдельные средства (2, 3) для входа газов, содержащих углерод, и для газов, содержащих кремний, средство для поддерживания подложки (4), расположенное в первой концевой зоне (Z1) камеры, средство для выпуска отработанных газов (5), расположенное вблизи средства для поддерживания (4), и средство для нагревания, обеспечивающее нагревание камеры (1) до температуры свыше 1800°C; средство (2) для входа газов, содержащих кремний, которое размещено, сформировано и отрегулировано таким образом, что газы, содержащие кремний, входят во вторую концевую зону (Z2) камеры; средство (3) для входа газов, содержащих углерод, которое размещено, сформировано и отрегулировано таким образом, что углерод и кремний контактируют, по существу, в центральной зоне (ZC) камеры, удаленной и от концевой первой зоны (Z1) и от концевой второй зоны (Z2), при этом средство (2) для входа газов, содержащих кремний, содержит трубку, которая открыта во вторую зону (Z2) камеры и которая имеет в области ее концевой части ячейку для испарения жидких кремниевых частиц. Изобретение позволяет выращивать кристаллы карбида кремния с однородной кристаллической структурой и однородным химическим составом с постоянной скоростью роста. 18 з.п. ф-лы, 3 ил.
Настоящее изобретение относится к устройству для выращивания кристаллов карбида кремния согласно вступительной части пункта 1 формулы изобретения.
За прошедшее время выдвинуты различные предложения о выращивании кристаллов карбида кремния при очень высоких температурах (свыше 1800°C) с качеством, подходящим для использования в микроэлектронной промышленности.
Первое и основополагающее предложение выдвинуто в Nisshin Steel в 1992 г.; оно описано в европейском патенте EP 554047. В концепции выращивания кристалла Nisshin Steel предусматривается, что реакционные газы, содержащие кремний и углерод, перемешиваются для того, чтобы газовая смесь была введена в реакционную камеру при высокой температуре и чтобы перемешанные кремний и углерод осаждены на подложке. В примере осуществления Nisshin Steel предусмотрена предварительная камера при промежуточной температуре, в которой образуются твердые частицы карбида кремния.
Такая концепция была повторно использована в 1995 г. в OKMETIC, описанная в международной публикации WO 97/01658.
Второе и основополагающее предложение было выдвинуто Юрием Макаровым в 1999 г., которое описано в международной публикации WO 00/43577. Концепция выращивания кристалла Макарова предусматривает, для реакционных газов, содержащих кремний и углерод, раздельное введение в реакционную камеру при высокой температуре и осуществление контакта вблизи подложки так, что кремний и углерод осаждаются прямо на подложку; в изобретении Макарова предлагалось, что осаждение карбида кремния вдоль стенок камеры будет предотвращаться и, следовательно, предусматривалось, что карбид кремния будет вынужден образовываться исключительно вблизи подложки, т.е. растущего кристалла.
При исследовании решения, предложенного Макаровым, было установлено, что такое решение является крайне нестабильным как с точки зрения химической кинетики, так и с точки зрения динамики жидкостей и газов.
Задачей настоящего изобретения является разработка третьего и основополагающего предложения, которое отличается от предыдущих предложений и улучшено по сравнению с ними.
Поставленная задача достигается с помощью устройства для выращивания кристаллов карбида кремния, имеющего технические признаки, описанные в независимом пункте 1 формулы изобретения.
Концепция, положенная в основу настоящего изобретения, заключается в том, чтобы обеспечить подачу реакционных газов, содержащих углерод, и газов, содержащих кремний, в камеру с помощью отдельного средства для входа и контактирование указанных газов в центральной зоне камеры, удаленной от подложки для роста.
Таким образом, профиль распределения концентрации и скоростной профиль являются по существу постоянными в радиальном направлении (безусловно, что при этом имеют место неизбежные краевые эффекты) по всему поперечному сечению подложки для достижения постоянной скорости роста, однородной кристаллической структуры и однородного химического состава.
Преимущественные варианты настоящего изобретения сформулированы в зависимых пунктах формулы изобретения.
Настоящее изобретение станет более очевидным из нижеследующего описания, которое необходимо рассматривать вместе с прилагаемыми чертежами, на которых
на фиг.1 изображен схематический вид в разрезе, представленный для понимания описания идеи настоящего изобретения;
на фиг.2 изображен первый вариант осуществления настоящего изобретения в разрезе в упрощенном виде и
на фиг.3 изображен второй вариант осуществления настоящего изобретения в разрезе в упрощенном виде.
Устройство для выращивания кристаллов карбида кремния на подложках согласно настоящему изобретению содержит камеру, проходящую вдоль вертикальной оси, которая включает
– отдельные средства для входа газов, содержащих углерод, и для газов, содержащих кремний,
– средство для поддерживания подложки, расположенное в первой концевой зоне камеры,
– средство для выпуска отработанных газов, расположенное вблизи средства для поддерживания,
– средство для нагревания, приспособленное для нагревания камеры до температуры более чем 1800°C,
средство для входа газов, содержащих кремний, которое размещено, сформировано и отрегулировано для прохождения газов, содержащих кремний, во вторую концевую зону камеры, при этом
средство для входа газов, содержащих углерод, размещено, сформировано и отрегулировано для контактирования углерода и кремния по существу в центральной зоне камеры, удаленной и от первой концевой зоны и от второй концевой зоны.
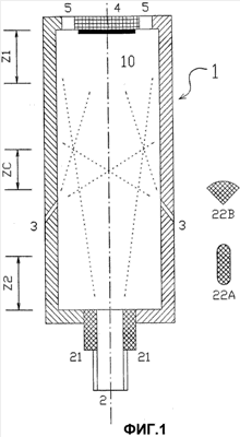
На фиг.1 обозначены камера позицией 1, пространство, окруженное камерой, 10, средство для входа газов, содержащих кремний, 2, средство для входа газов, содержащих углерод, 3, средство для поддерживания подложки 4 (подложка показана в собранном виде на средстве 4 и обозначена черной линией), средство для выпуска отработанных газов 5, ячейку испарения для средства 2 (которая будет приведена и описана ниже) 21, два возможных варианта выполнения центрального стержня средства 2 (которые будут приведены и описаны ниже), 22A и 22B, уровень, определяющий первую концевую зону камеры Z1, уровень, определяющий вторую концевую зону камеры Z2, и уровень, определяющий центральную зону камеры ZC. Кроме того, на фиг.1 распределение газов, проходящих в камеру через средства 2 и 3, показано пунктирными линиями, а ось симметрии камеры показана штрихпунктирной линией (однако камера устройства согласно изобретению необязательно симметрична по отношению к оси).
Профиль распределения концентрации и скоростной профиль по всему устройству, подробно описанному выше, по существу постоянный в радиальном направлении, по меньшей мере, в первой концевой зоне камеры (безусловно, имеют место неизбежные краевые эффекты); при этом по всему поперечному сечению подложки, размещенной на средстве поддерживания, достигается постоянная скорость роста, однородная кристаллическая структура и однородный химический состав.
Кроме того, поскольку зона для входа газов, содержащих кремний, удалена от зоны смешивания с газами, содержащими углерод (центральная зона ZC) и поскольку камера находится при очень высокой температуре, то любые жидкие кремниевые частицы, которые образуются на входе в камеру или во входном потоке к камере, испаряются и поэтому предотвращается опасность образования твердых частиц карбида кремния вследствие контакта углерода с жидкими частицами; такие твердые частицы карбида кремния трудно разрушить при возгонке (особенно, если они большие), что является очень опасным, так как они непоправимо повреждают растущий кристалл в случае соударения с его поверхностью.
В результате, поскольку зона для входа газов, содержащих кремний, удалена от зоны смешивания с газами, содержащими углерод (центральная зона ZC), то возможно обеспечить профиль распределения концентрации и скоростной профиль газов, содержащих кремний, при их объединении таким образом, чтобы они были по существу постоянными в радиальном направлении (безусловно, имеют место неизбежные краевые эффекты).
Согласно настоящему изобретению в камере определены три зоны: первая концевая зона (Z1), центральная зона (ZC) и вторая концевая зона (Z2). Во всех примерах, проиллюстрированных на чертежах (в частности на фиг.1), камера имеет по существу цилиндрическую форму и проходит в основном по существу вертикально (самый предпочтительный вариант); первая концевая зона Z1 соответствует верхней зоне цилиндра, а вторая концевая зона Z2 соответствует нижней зоне цилиндра.
Если в устройстве согласно настоящему изобретению используются нижние газовые потоки (как предпочтительные), то вертикальное размещение камеры обеспечивает любым жидким кремниевым частицам (особенно, если они большие) оставаться в нижней части до тех пор, пока они не испарятся.
В качестве примера следует отметить, что если внутренний диаметр камеры составляет 150 мм, то вторая концевая зона может проходить от основания вверх на высоту примерно 50 мм, центральная зона может проходить на высоту примерно 100 мм до примерно 150 мм и первая концевая зона может проходить на высоту примерно 200 мм до примерно 250 мм. При соответствующем выборе различных средств для выпуска газа и расхода газа и скоростей потоков газа длины различных зон и расстояний между различными зонами могут быть значительно уменьшены, более чем на половину.
Совершенно ясно, поскольку соединения, содержащие кремний, и соединения, содержащие углерод, проходят в камеру в газообразной форме и поскольку происходит в значительной степени боковая диффузия из-за высокой температуры, то невозможно очень точно определить зону, в которой они вступают в контакт и степень смешивания.
Средство для выпуска отработанных газов можно использовать для выпуска всего: продуктов реакции, соединений и компонентов, которые не прореагировали и/или не были осаждены, газов-носителей, травильных газов и, возможно твердых частиц, отделившихся от стенок камеры и/или от растущего кристалла.
Температура примерно 1800°C приблизительно соответствует температурному пределу обычных процессов CVD для роста карбида кремния; кроме того, такая температура примерно 1800°C является граничной температурой: ниже 1800°C обычно происходит нуклеация 3C-типа структуры SiC, а свыше 1800°C обычно происходит нуклеация 6Н-типа или 4H-типа структуры SiC, и, наконец, такая температура примерно 1800°C служит гарантией, что кремний находится в газообразной фазе в диапазоне давлений (0,1-1,0 атм) и с разжижением (1-20%), которые и представляют интерес.
Если средство для входа газов, содержащих углерод, размещено, сформировано и отрегулировано таким образом, что углерод и кремний по существу входят в контакт в зоне, которая является также удаленной от стенок камеры (как это имеет место, отчасти, в случае изображенном на фиг.1), то осаждение карбида кремния на внутренних стенках камеры гораздо более ограничено.
Камера устройства согласно настоящему изобретению преимущественно может иметь средство для входа антинуклеационного газа; средство может быть размещено, сформировано и отрегулировано многими различными способами, возможно соединение друг с другом; соляная кислота [HCl] преимущественно может использоваться как антинуклеационный газ; это соединение реагирует с кремнием в газообразной фазе, предотвращая нуклеационные явления; соляная кислота преимущественно может использоваться в соединении с водородом.
Камера устройства согласно настоящему изобретению преимущественно может иметь средство для входа травильных газов; средство может быть размещено, сформировано и отрегулировано многими различными способами, возможно соединение друг с другом; соляная кислота [HCl] преимущественно может использоваться как травильный газ; это соединение разрушает твердые отложения, и частицы твердого кремния, и частицы карбида кремния (в особенности, если они поликристаллические); соляная кислота преимущественно может использоваться в соединении с водородом.
Средство для входа травильных газов может быть размещено, сформировано и отрегулировано таким образом, чтобы газ проходил в первую концевую зону камеры (как в вариантах осуществления на фиг.2 и 3), то есть вблизи средства для поддерживания и средства для выпуска отработанных газов. Эти средства можно использовать для предотвращения средства для выпуска отработанных газов от блокирования, связанного с осаждением материала. В вариантах осуществления на фиг.2 и 3 это средство содержит пустотелую втулку (которая также является стенкой камеры в верхней зоне камеры), которая сообщена с соответствующей трубкой и имеет множество отверстий, обращенных к внутреннему пространству камеры.
Средство для входа антинуклеационного газа может быть размещено, сформировано и отрегулировано таким образом, чтобы газ проходил во вторую концевую зону камеры (как в варианте осуществления на фиг.2), то есть вблизи средства для входа газов, содержащих кремний. Это средство можно использовать для уменьшения наличия жидких кремниевых частиц в камере, в частности во второй зоне камеры. В варианте осуществления на фиг.2 это средство содержит множество сопел, расположенных в кольце и ориентированных под углом примерно 45° по направлению к центру камеры.
Средства для входа антинуклеационного газа могут быть размещены, сформированы и отрегулированы так, чтобы газ проходил в центральную зону камеры. Это средство можно использовать для уменьшения наличия жидких кремниевых частиц в камере, в частности в центральной зоне камеры.
Средство для входа травильного газа может быть размещено, сформировано и отрегулировано так, чтобы газовый поток проходил по существу только вдоль стенок камеры. Это средство можно использовать для удаления и/или предотвращения осаждения карбида кремния на стенках камеры; однако при создании такого потока травильных газов вдоль стенок необходимо принять во внимание его воздействие на стенки камеры, которые должны быть соответствующим образом защищены.
Средство для входа травильных газов может быть приспособлено для подачи травильного газа, обычно соляной кислоты, соединенной с газом-носителем, обычно водородом (альтернативно аргоном, гелием или смесью двух или более указанных газов) для прохождения в камеру; соотношения между травильным газом и газом-носителем могут быть, например, 10 slm для водорода и 1-2 slm для соляной кислоты.
Средство для поддерживания в устройстве согласно настоящему изобретению также может иметь преимущественно средства для входа травильного газа (как в варианте осуществления на фиг.2 и 3); они могут быть размещены, сформированы и отрегулированы таким образом, чтобы газ проходил вокруг подложек. Указанные средства можно использовать для удаления отложений карбида кремния (в частности, поликристаллического карбида кремния) в области периферии средства для поддерживания и для ограничения слоистого роста кристалла. В этом случае средство для поддерживания может быть образовано, например, с помощью толстого диска, имеющего внутреннюю полость и установленного на трубе, которая сообщена с полостью (как в варианте осуществления на фиг.2 и 3), причем труба термически изолирована и химически изолирована, травильный газ, впрыскивается в трубу, проходит через полость и выходит через множество отверстий, выполненных в периферии диска.
Устройство согласно настоящему изобретению преимущественно может содержать средство для вращения средства для поддерживания в процессе выращивания (как в варианте осуществления на фиг.2 и 3). Таким образом, получают улучшенные одинаковые условия выращивания в области поверхности кристалла.
Устройство согласно настоящему изобретению преимущественно может содержать средство для втягивания средства для поддерживания в процессе выращивания (как в варианте осуществления на фиг.2 и 3). Таким образом, во время выращивания кристаллическая поверхность по существу всегда находится в одном и том же положении в камере, независимо от длины выросшего кристалла, и, следовательно, можно будет более легко осуществлять управление условиями выращивания в области поверхности кристалла.
Средство для перемещения средства для поддерживания преимущественно может быть защищено и от высокой температуры и от химической среды реакционной камеры (как в варианте осуществления на фиг.2 и 3).
Во всех вариантах осуществления, показанных на чертежах, средство для поддерживания может поддерживать одну подложку, что является самым простым вариантом.
Согласно настоящему изобретению средство для входа газов, содержащих кремний, может быть размещено, сформировано и отрегулировано многими различными способами.
Самый простой способ создания таких средств заключается посредством выполнения трубки, которая открыта во вторую зону камеры; если камера является вертикальной и цилиндрической, трубка обычно будет вертикальной и расположенной по центру. Эта трубка сообщена с камерой устройства, и температура в концевой части трубки будет достаточно высокой, хотя и более низкой, чем температура камеры.
Выходной патрубок трубки в камере может быть преимущественно выполнен с распределителем динамического потока, приспособленным для повышения степени однородности скоростных профилей и предотвращения боковые вихрей.
Для ограничения входа жидких кремниевых частиц в камеру трубка преимущественно может иметь ячейку для испарения кремния в области концевой части трубки, такая ячейка схематично показана и обозначена 21 на фиг.1; наиболее типичным и самым простым способом испарения жидких кремниевых частиц является нагревание. Действительно, на фиг.1 схематично показана графитовая муфта, покрытая соответствующим веществом, которое может быть нагрето посредством индукции и излучения.
Для нагревания газов содержащая кремний трубка преимущественно может иметь центральный стержень в области концевой части трубки; центральный стержень может быть нагрет посредством излучения от стенок трубки; стержень может иметь различные формы и размеры; специфические формы и/или размеры могут быть разработаны таким образом, чтобы тепловой обмен между стенами трубки и стержнем и между стержнем и газом был максимальным.
Для улучшения распределения газов, содержащих кремний в камере, трубка преимущественно может иметь центральный стержень в области концевой части трубки; стержень может иметь различные формы и размеры; специфические формы и/или размеры могут быть разработаны для предотвращения вихрей и управления за возможной конденсацией вдоль стенок.
Если центральный стержень соответствующим образом выполнен и отрегулирован, он может таким образом служить как для нагревания, так и для распределения газа.
На фиг.1 показаны, в качестве ориентира, только два примера таких стержней (чтобы быть точным, на фиг.1 они показаны в сечении и они пока еще не установлены в концевой части трубки); первый стержень, обозначенный 22A, имеет цилиндрическую форму с двумя полусферическими концами и может быть вставлен полностью в концевую часть трубки; второй стержень, обозначенный 22B, имеет перевернутую конусообразную форму со сферической крышкой в основной области и может быть расположен над выходом трубки так, чтобы конец конуса был вставлен в трубку, но без ее блокирования.
Для ограничения входа жидких кремниевых частиц в камеру средство для входа газов, содержащих кремний, может преимущественно содержать элемент в форме стакана, имеющий отверстие, обращенное к трубке (как в варианте осуществления на фиг.3). Стакан таким образом нагревают посредством излучения от стенок камеры и газ, который проходит через стакан, быстро нагревают до высокой температуры посредством стенок стакана; быстрое нагревание очень выгодно, так как время, в течение которого кремний находится при температуре ниже температуры конденсации кремния, и, следовательно, время роста кремниевых частиц (и, следовательно, их размер) таким образом уменьшают; кроме того, любые частицы (в частности, жидкие кремниевые частицы) имеют тенденцию оставаться в стакане до тех пор, пока они не испарятся. Улучшенные результаты получают, если трубка проходит в стакан (как в варианте осуществления на фиг.3); резкие изменения предусмотрены в проходе, который проходит из трубки в камеру, таким образом, в действительности имеется тенденция к устранению жидких кремниевых частиц посредством соударений.
Хотя на фиг.3 показан цилиндрический стакан, стакан может быть соответствующим образом сформирован и отрегулирован как по отношению к внешней поверхности, так и по отношению к внутренней поверхности; специфические формы и/или размеры могут быть разработаны для предотвращения вихрей, чтобы сделать максимальным тепловой обмен между стенками камеры и стакана и между стаканом и газом, для управления возможной конденсацией на стенках.
Согласно настоящему изобретению средство для входа газов, содержащих углерод, может быть размещено, сформировано и отрегулировано многими различными способами.
Средство для входа газов, содержащих углерод, может содержать множество сопел, расположенных в кольце и открытых во вторую зону камеры (как в варианте осуществления на фиг.2, в которой сопла обращены по существу вверх); для вертикальной цилиндрической камеры кольцо и камера обычно коаксиальны, и кольцо обычно размещено на основании цилиндра (как в варианте осуществления на фиг.2) или на нижней части цилиндрической стенки. Сопла должны быть сформированы и отрегулированы таким образом, чтобы струя газа, содержащего углерод, по существу контактировала с кремнием в центральной зоне камеры; форма сопел определяет направление и форму газовой струи.
Средство для входа газов, содержащих углерод, может содержать множество отверстий, расположенных в кольце, которые открыты в центральную зону камеры (как в варианте осуществления на фиг.3); для вертикальной цилиндрической камеры кольцо и камера обычно коаксиальны и трубки обычно все одинаковые и параллельные; для получения хорошего результата средний диаметр кольца может быть выбран таким, чтобы быть примерно равным 2/3 внутреннего диаметра камеры. В варианте осуществления на фиг.3 трубки сообщаются с полым диском, прилегающим к основанию камеры; ряд маленьких трубочек открыт в полость диска, маленькие трубочки проходят в виде ответвлений от большой коаксиальной трубки.
Средство для входа газов, содержащих углерод, может содержать трубку в форме кольца, которая открыта в центральную зону камеры; для вертикальной цилиндрической камеры кольцо и камера обычно коаксиальны; чтобы обеспечить хорошее распределение газов, содержащих кремний (которые проходят во вторую зону камеры), средний диаметр кольца преимущественно является только несколько меньшим, чем внутренний диаметр камеры; в этом случае может быть дополнительно выполнена трубка в форме кольца для травильного газа, размещенная вблизи трубки в форме кольца для газов, содержащих углерод, и вблизи стенок камеры, чтобы сохранять стенки камеры свободными от отложений карбида кремния.
Средство для входа газов, содержащих углерод, должно быть выполнено так, чтобы обеспечить хорошее смешивание с газами, содержащими кремний, и обширное и однородное распределение газов в камере и предотвратить образование вихрей; также необходимо принимать во внимание возможную диффузию газов, содержащих углерод, происходящую в обратном направлении, по отношению к входу газов, содержащих кремний.
Как по отношению к средству для входа газов, содержащих кремний, так и по отношению к средству для входа газов, содержащих углерод, задача заключается в подаче углерода и кремния в область подложки, а не на стенки камеры.
Средство для входа газов-предшественников (содержащих кремний или углерод) обычно выполнено так, чтобы подавать в камеру газ-предшественник, который объединен и, следовательно, растворен в газе-носителе, который может быть водородом, аргоном, гелием или смесью двух или более из указанных газов; соотношение между газом-предшественником и газом-носителем может быть, например, 10 slm для газа-носителя и 1-2 slm для газа-предшественника.
Наиболее типичным газом-предшественником, включающим кремний, является силан [SiH4]; может быть выгодным смешивать силан [SiH4] с соляной кислотой [HCl] для предотвращения (или, по крайней мере, ограничения) образования кремниевых капелек где-либо в трубках; альтернативно могут быть использованы соединения, содержащие как кремний, так и хлор, такие как дихлорсилан ([DCS]), трихлорсилан ([TCS]) и тетрахлорид кремния [SiCl4].
Газом-предшественником, включающим углерод, может быть пропан [C3H8], этилен [C2H4] или ацетилен [C2H2]; наиболее устойчивым соединением при высокой температуре является ацетилен, наиболее легким в обращении является пропан и компромиссным соединением является этилен.
Так как очень высокие температуры должны поддерживаться в камере, средство для нагревания преимущественно является средством индукционного типа, которое адаптировано для нагревания стенок камеры; ни на одном из чертежей средство для нагревания не показано.
Предпочтительно поддерживать предварительно заданный температурный профиль; в частности, температура центральной зоны камеры преимущественно очень высокая (2200-2600°C), тогда как температура первой зоны (и, следовательно, подложки и растущего кристалла) немного ниже (1800-2200°C) для активирования процессов конденсации карбида кремния; температура первой зоны (входной зоны для газов, содержащих кремний) должна быть очень высокой (2200-2600°C), но также может быть и немного ниже (2000-2400°C), чем температура центральной зоны.
В первом варианте осуществления средство для нагревания может быть адаптировано для получения следующих температур в камере:
– в первой зоне, температуры в пределах диапазона 1800-2200 градусов, предпочтительно примерно 2000 градусов,
– в центральной зоне, температуры в пределах диапазона 2200-2600 градусов, предпочтительно примерно 2400 градусов,
– во второй зоне, температуры в пределах диапазона 2000-2400 градусов, предпочтительно примерно 2200 градусов.
Во втором варианте осуществления средство для нагревания может быть адаптировано для получения следующих температур в камере:
– в первой зоне температуры в пределах диапазона 1800-2200 градусов, предпочтительно примерно 2000 градусов,
– в центральной зоне, температуры в пределах диапазона 2200-2600 градусов, предпочтительно примерно 2400 градусов,
– во второй зоне, температуры в пределах диапазона 2200-2600 градусов, предпочтительно примерно 2400 градусов.
Преимущественно средство для поддерживания дополнительно включает средство для контроля температуры. Средство для поддерживания устройства согласно настоящему изобретению обычно выполнено из графита, покрытого слоем SiC или TaC, поэтому оно также используется в качестве нагревающих элементов благодаря как эффекту индукции, так и благодаря радиационному эффекту. Газовый поток, например, водорода, преимущественно может использоваться для управления температурой средства для поддерживания; поток водорода 25 slm поглощает мощность примерно 1 кВт при нагревании от окружающей температуры до 2000°C. В этом случае средство для поддерживания может быть образовано, например, посредством толстого диска, имеющего внутреннюю полость и установленного на трубе, которая сообщается с полостью; труба является термически изолированной и химически изолированной; охлаждающий газ впрыскивается в трубку, проходит через полость и выходит из множества отверстий, образованных на периферии диска. В вариантах осуществления на фиг.2 и 3, газовый поток в средстве для поддерживания преимущественно может использоваться как для травления, так и для температурного контроля.
Многие из элементов устройства согласно настоящему изобретению могут быть выполнены из графита; обычно эти элементы должны быть покрыты защитным слоем, например, SiC и TaC (который является более стойким).
На фиг.2 и 3 были использованы одни и те же ссылочные позиции, как и на фиг.1, для идентификации элементов с идентичными или подобными функциями.
Не смотря на то, что на чертежах показаны только два конкретных варианта осуществления настоящего изобретения, должно быть ясно из описания, что настоящее изобретение может быть осуществлено очень многими различными путями, полученными в результате комбинации многих вариантов, предусмотренных для входящих в его состав средств.
Формула изобретения
1. Устройство для выращивания кристаллов карбида кремния на подложках, содержащее камеру, которая расположена вдоль оси, включающую:
отдельные средства для входа газов, содержащих углерод, и для газов, содержащих кремний,
средство для поддерживания подложки, расположенное в первой концевой зоне камеры,
средство для выпуска отработанных газов, расположенное вблизи средства для поддерживания,
средство для нагревания, обеспечивающее нагревание камеры до температуры более 1800°С, при этом
средство для входа газов, содержащих кремний, размещено, сформировано и отрегулировано таким образом, что газы, содержащие кремний, проходят во вторую концевую зону камеры,
средство для входа газов, содержащих углерод, размещено, сформировано и отрегулировано таким образом, что углерод и кремний контактируют, по существу, в центральной зоне камеры, удаленной и от концевой первой зоны, и от концевой второй зоны, отличающееся тем, что средство для входа газов, содержащих кремний, содержит трубку, которая открыта во вторую зону камеры и которая имеет в области ее концевой части ячейку для испарения кремния для испарения жидких кремниевых частиц.
2. Устройство по п.1, в котором средство для входа газов, содержащих углерод, размещено, сформировано и отрегулировано таким образом, что углерод и кремний контактируют, по существу, в зоне, которая также удалена от стенок камеры.
3. Устройство по п.1, в котором камера имеет средство для входа травильного газа, которое размещено, сформировано и отрегулировано таким образом, чтобы газ входил в первую концевую зону камеры.
4. Устройство по п.1, в котором камера имеет средство для входа антинуклеационного газа, которое размещено, сформировано и отрегулировано таким образом, чтобы газ входил во вторую концевую зону камеры.
5. Устройство по п.1, в котором камера имеет средство для входа антинуклеационного газа, которое размещено, сформировано и отрегулировано таким образом, чтобы газ входил в центральную зону камеры.
6. Устройство по п.1, в котором камера имеет средство для входа травильного газа, которое размещено, сформировано и отрегулировано таким образом, что газовый поток создается, по существу, только вдоль стенок камеры.
7. Устройство по п.1, в котором средство для поддерживания имеет средство для входа травильного газа, которое размещено, сформировано и отрегулировано таким образом, чтобы газ входил вокруг подложек.
8. Устройство по п.1, содержащее средство для вращения средства для поддерживания во время процесса выращивания.
9. Устройство по п.1, которое содержит средство для втягивания средства для поддерживания во время процесса выращивания.
10. Устройство по п.1, в котором трубка имеет в области ее концевой части центральный стержень для нагревания газов, содержащих кремний, и/или для распределения газов в камере.
11. Устройство по п.1, в котором средство для входа газов, содержащих кремний, содержит элемент в форме стакана, имеющий открытую часть, обращенную к трубке.
12. Устройство по п.11, в котором трубка проходит внутри стакана.
13. Устройство по п.1, в котором средство для входа газов, содержащих углерод, содержит множество сопел, расположенных в кольце и открытых во вторую зону камеры.
14. Устройство по п.1, в котором средство для входа газов, содержащих углерод, содержит множество трубок, расположенных в кольце и открытых в центральную зону камеры.
15. Устройство по п.1, в котором средство для входа газов, содержащих углерод, содержит кольцевую трубку, которая открыта в центральную зону камеры.
16. Устройство по п.1, в котором средство для нагревания является средством индукционного типа, которое обеспечивает нагревание стенок камеры.
17. Устройство по п.1, в котором средство для нагревания выполнено для получения следующих температур в камере:
в первой зоне температуры в пределах 1800-2200°С, предпочтительно примерно 2000°С,
в центральной зоне температуры в пределах 2200-2600°С, предпочтительно примерно 2400°С,
во второй зоне температуры в пределах 2000-2400°С, предпочтительно примерно 2200°С.
18. Устройство по п.1, в котором средство для нагревания выполнено для получения следующих температур в камере:
в первой зоне температуры в пределах 1800-2200°С, предпочтительно примерно 2000°С,
в центральной зоне температуры в пределах 2200-2600°С, предпочтительно примерно 2400°С,
во второй зоне температуры в пределах 2200-2600° C, предпочтительно примерно 2400°С.
19. Устройство по п.1, в котором средство для поддерживания содержит средство для контроля температуры.
РИСУНКИ
MM4A – Досрочное прекращение действия патента СССР или патента Российской Федерации на изобретение из-за неуплаты в установленный срок пошлины за поддержание патента в силе
Дата прекращения действия патента: 10.06.2009
Извещение опубликовано: 27.07.2010 БИ: 21/2010
|
|