|
|
(21), (22) Заявка: 2007123812/02, 25.06.2007
(24) Дата начала отсчета срока действия патента:
25.06.2007
(46) Опубликовано: 20.12.2008
(56) Список документов, цитированных в отчете о поиске:
RU 2277601 C1, 10.06.2006. RU 2096503 C1, 20.11.1997. RU 2101375 C1, 10.01.1998. GB 2110244 A, 15.06.1983. JP 09-132413 A, 20.05.1997. FR 2033432 A, 04.12.1970. US 3595484 A, 27.07.1971.
Адрес для переписки:
362021, РСО-Алания, г. Владикавказ, ул. Николаева, 44, СКГМИ (ГТУ), патентный отдел, Т.А. Мешковой
|
(72) Автор(ы):
Троценко Игорь Герасимович (RU), Свистунов Николай Васильевич (RU)
(73) Патентообладатель(и):
Северо-Кавказский горно-металлургический институт (государственный технологический университет) (СКГМИ (ГТУ), Государственное образовательное учреждение высшего профессионального образования (RU)
|
(54) АППАРАТ ДЛЯ ПЕРЕРАБОТКИ ОТХОДОВ ТВЕРДЫХ СПЛАВОВ ЦИНКОВЫМ СПОСОБОМ
(57) Реферат:
Изобретение относится к металлургии вторичных цветных металлов, в частности к аппарату для переработки твердых сплавов цинковым способом при переработке, например, кусковых отходов твердого сплава на основе карбида вольфрама на кобальтовой связке. Аппарат выполнен в виде вакуумного реактора с зонами нагрева и конденсации. При этом он снабжен расположенным в вакуумном реакторе графитовым пеналом, выполненным в виде двух стаканов. Один стакан расположен в зоне нагрева, является нагревательным элементом и подключен через электроды к трансформатору. Второй стакан расположен в зоне конденсации вакуумного реактора. Техническим результатом является упрощение конструкции аппарата и технологического процесса, снижение расхода электроэнергии и стоимости переработки. 2 ил.
Изобретение относится к металлургии вторичных цветных металлов и может быть использовано для переработки кусковых отходов твердого сплава на основе карбида вольфрама на кобальтовой связке.
Известно устройство для переработки лома и отходов твердых сплавов в компрессионно-вакуумном аппарате, соединенном с водоохлаждаемым конденсатором и, помещенном в вакуумную печь с нихромовыми нагревателями. Внутри аппарата на графитовом основании, соединенном патрубком с конденсатором, установлен составной реактор из столба фасонных цилиндрических графитовых тарелок с осевыми сквозными патрубками (см. патент ФРГ 3144284, МКИ C22B 7/00, C22C 3/00, опубл. 19.05.83).
Недостатками данного устройства являются сложность конструкции, большой расход электроэнергии, а также сложность технологического процесса.
Наиболее близким к заявляемому аппарату является вакуумный реактор для переработки кусковых отходов твердых сплавов, включающий вакуумный реактор с зонами нагрева и конденсации (см. патент РФ №2277601, МПК8 С22В 7/00, опубл. 10.06.2006 г.)
Недостатками аппарата-прототипа являются использование в качестве нагревателя нихромовой проволоки, что ограничивает предел нагрева и как следствие увеличивает продолжительность процесса, необходимость разогрева самого реактора, что увеличивает расход электроэнергии.
Задачей предлагаемого технического решения является упрощение конструкции аппарата и технологического процесса, снижение расхода электроэнергии и стоимости переработки отходов твердых сплавов.
Решение технической задачи достигается тем, что известный аппарат для переработки отходов твердых сплавов цинковым способом, включающий вакуумный реактор с зонами нагрева и конденсации, согласно изобретению, снабжен расположенным в вакуумном реакторе графитовым пеналом, выполненным в виде двух стаканов, один из которых расположен в зоне нагрева, является нагревательным элементом и подключен через электроды к трансформатору, а второй стакан пенала расположен в зоне конденсации вакуумного реактора.
Данная конструкция позволит упростить конструкцию, сократить расход электроэнергии и продолжительность переработки твердого сплава.
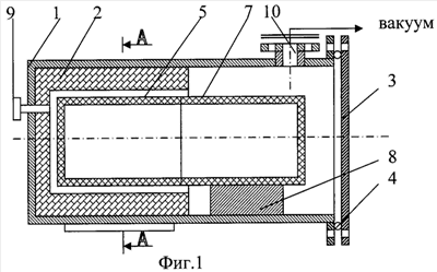
Сущность устройства поясняется чертежами, где на фиг.1 изображен общий вид устройства, на фиг.2 – разрез по А-А.
Аппарат для переработки отходов твердых сплавов цинковым способом состоит из реактора 1, футерованного огнеупорным кирпичом 2, с крышкой 3, уплотненной вакуумной резиной 4, графитового пенала, расположенного внутри реактора и выполненного в виде двух стаканов, причем один из стаканов 5 является нагревательным элементом, расположен в горячей зоне и подключен через электроды 6 к трансформатору (не показан), а второй стакан 7 расположен на подставке 8 в зоне конденсации реактора 1. Температуру в горячей зоне регулируют при помощи термопары 9, подключенной к пульту управления (не показан).
Реактор 1 снабжен патрубком 10 для создания вакуума и фланцами 11 для ввода электродов 6 и подключения к трансформатору.
Аппарат для переработки отходов твердых сплавов цинковым
способом работает следующим образом.
В стакан 5 реактора 1 загружают отходы твердого сплава с цинком, пропускают ток через стакан 5 с помощью электродов 6 и нагревают до температуры от 600 до 920°С, с образованием паров цинка, который поступает в стакан 7 холодной зоны и конденсируется на твердый сплав.
Используя в качестве нагревательного элемента графит, рабочую зону разогревают до температуры 1700°С, что позволяет в данной конструкции проводить как деструкцию (конденсации) твердого сплава парами цинка, так и спекание готовой продукции.
При этом процесс деструкции протекает с достаточно высокой скоростью и не требует расхода электроэнергии, т.к. протекает за счет физического тепла, вносимого парами цинка.
Использование аппарата для переработки отходов твердых сплавов цинковым способом позволит по сравнению с прототипом упростить конструкцию, сократить расход электроэнергии и продолжительность переработки твердого сплавав, что повышает КПД установки.
Формула изобретения
Аппарат для переработки отходов твердых сплавов цинковым способом, включающий вакуумный реактор с зонами нагрева и конденсации, отличающийся тем, что он снабжен расположенным в вакуумном реакторе графитовым пеналом, выполненным в виде двух стаканов, один из которых расположен в зоне нагрева, является нагревательным элементом и подключен через электроды к трансформатору, а второй стакан расположен в зоне конденсации вакуумного реактора.
РИСУНКИ
|
|