|
|
(21), (22) Заявка: 2007122061/15, 13.06.2007
(24) Дата начала отсчета срока действия патента:
13.06.2007
(46) Опубликовано: 20.12.2008
(56) Список документов, цитированных в отчете о поиске:
SU 1328296 A1, 07.08.1987. SU 1212549 A1, 23.02.1986. SU 986480 A1, 07.01.1983. SU 1154513 A1, 07.05.1985. US 4349969 A, 21.09.1982.
Адрес для переписки:
620002, г.Екатеринбург, ул. Мира, 19, ГОУ ВПО “УГТУ-УПИ”, Центр интеллектуальной собственности, Т.В. Маркс
|
(72) Автор(ы):
Тупоногов Владимир Геннадьевич (RU), Дубинин Алексей Михайлович (RU), Штуца Роман Сергеевич (RU), Грицук Светлана Александровна (RU), Финк Анатолий Викторович (RU)
(73) Патентообладатель(и):
Государственное образовательное учреждение высшего профессионального образования “Уральский государственный технический университет УГТУ-УПИ” (RU)
|
(54) ГАЗОГЕНЕРАТОР С КИПЯЩИМ СЛОЕМ ДЛЯ ГАЗИФИКАЦИИ ТВЕРДЫХ ТОПЛИВ
(57) Реферат:
Изобретение может быть использовано для газификации твердых углеводородных топлив, включая каменный уголь и различные древесные топлива. На решетке 11 создают кипящий слой из частиц кокса, который подается из средства подачи топлива 10. Уголь подают в камеру газификации 5, где он коксуется, выделяя при этом коксовые газы. Часть продуктов газификации отводится через патрубок 14 к потребителю, а оставшиеся продукты поступают в верхнюю часть слоя для дожигания. Воздух в кипящий слой подается в зону горения по трубам 9, вваренным в трубную доску 6. Трубы 8, вваренные в трубную доску 7, служат для сбора с горизонтального сечения реактора технологического газа, идущего потребителю. Для обеспечения хорошего перемешивания части продуктов газификации с подаваемым воздухом на трубы подачи вторичного воздуха 9 устанавливают тормозящие козырьки 18. Изобретение позволяет обеспечить полную автотермичность процесса, заметно уменьшить расход продуктов газификации, проскакивающих в камеру сгорания, увеличить производительность установки. 1 ил.
Изобретение относится к аппаратам с кипящим слоем для газификации твердых углеводородных топлив, включая каменный уголь и различные древесные топлива. Продукты газификации могут быть использованы в металлургических и энергетических отраслях для получения водорода, жидких топлив, восстановительных атмосфер, а также как высококалорийное безазотное топливо для сжигания в энергетических установках.
Известны конструкции газогенераторов с кипящим слоем для получения безазотных продуктов газификации (RU 2220187 С2, МПК C10J 3/56, заявка №2001130134). Существенным недостатком таких конструкций является значительное усложнение конструкции вследствие необходимости секционирования рабочего объема газогенератора вертикальными разделительными стенками, наличия дополнительного котла для нормальной регенерации энергии, а также специального исполнения газораспределительной решетки для обеспечения позонной подачи в слой пара и паровоздушной смеси. При этом организуется направленная циркуляция слоя побуждающими соплами через отверстия в перегородках посредством установки систем отверстий и вертикальных перегородок для организации переточных каналов топлива из газификационной камеры в камеру сгорания полукокса, что значительно усложняет конструкцию газогенератора в целом.
Известен газогенератор для газификации в кипящем слое (SU 1328296 А1). Газогенератор включает в себя корпус с подиной и сводом, снабженные теплоизоляцией, камеру газификации с размещенными внутри нее трубами для отвода технологического газа и подачи вторичного воздуха, средство для подачи топлива, парораспределительную решетку, устройство для подвода воздуха и пара, устройство для отвода технологического газа и продуктов сгорания.
По наибольшему числу существенных признаков данный газогенератор принят за прототип.
Существенным недостатком прототипа и аналогов является плохое перемешивание воздуха с частью продуктов газификации, идущей на дожигание.
Прототипом данного изобретения является газогенератор для газификации твердых топлив, также относящийся к аппаратам для газификации в кипящем слое, позволяющий обеспечить равномерное распределение технологического газа в объеме камеры газификации. Основным недостатком прототипа является плохое перемешивание подводимого воздуха с частью продуктов газификации. Воздух выходит из труб с образованием пузырей, которые не успевают перемешиваться в достаточной степени с продуктами газификации. Вследствие этого значительная часть продуктов газификации, оставшаяся в слое для дожигания, не сгорает и выбрасывается из слоя вместе с продуктами сгорания через патрубок 15.
Основной задачей изобретения является обеспечение полного перемешивания всей доли продуктов газификации с подаваемым в верхнюю часть слоя воздухом, так как именно это условие является основным для поддержания автотермичности процессов, происходящих в газогенераторе.
Указанная задача решается тем, что в известном газогенераторе для газификации в кипящем слое, включающем корпус с подиной и сводом, снабженные теплоизоляцией, камеру газификации с размещенными внутри нее трубами для отвода технологического газа и подвода воздуха, средство для подачи топлива, парораспределительную решетку, устройство для подвода воздуха и пара, устройство для отвода технологического газа и продуктов сгорания, на трубах подачи вторичного воздуха установлены козырьки в форме усеченных конусов углом в 90-120°, которые располагаются в шахматном порядке и разнесены между собой на величину , определяемую из соотношения =(0,25÷0,3)·Н, где Н – высота кипящего слоя в расширенной части корпуса газогенератора, причем диаметр основания козырька dосн определяется из соотношения dосн=(0,75÷1)·S, где S – шаг трубного пучка, а глубина погружения козырька от уровня кипящего слоя определяется из соотношения =(0,2÷0,25)·Н, где Н – высота кипящего слоя в расширенной части корпуса газогенератора.
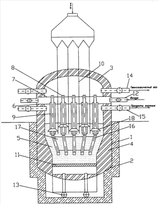
На чертеже изображена схема предлагаемого устройства. Устройство содержит корпус 1 с подиной 2 и сводом, снабженные теплоизоляцией 4, камеру 5 газификации с размещенными внутри нее трубными досками 6 и 7 с укрепленными в них трубами для отвода технологического газа 8 и подвода вторичного воздуха 9, средство 10 для подачи топлива, парораспределительную решетку 11, устройство для подвода воздуха и подвода пара 13, устройство для отвода технологического газа 14 и отвода продуктов сгорания 15. Нижние концы труб 8 для отвода технологического газа снабжены трубчатыми наконечниками 16 с пластинами 17, установленными под углом к вертикали. Пластины 17 образуют между собой обратный усеченный конус, а камера газификации в зоне расположения трубчатых наконечников 16 с пластинами 17 выполнена конической. На трубках подачи воздуха 9 в шахматном порядке установлены козырьки 18 в форме усеченных конусов углом в 90-120°.
Работа газогенератора происходит следующим образом. На решетке 11 создается кипящий слой из частиц кокса с фракциями 0-5 мм, который подается из средства подачи топлива 10. За счет процессов тепло- и массопереноса, происходящих в слое, считается, что концентрация свежего угля примерно одинакова по высоте всего слоя. Уголь попадает в камеру газификации 5, где он коксуется, выделяя при этом коксовые газы, затем за счет идеального перемешивания часть продуктов газификации отводится через патрубок 14 к потребителю. Другая часть продуктов поступает в верхнюю часть слоя для дожигания. Теплота, необходимая для догазификации и, как следствие, обеспечения автотермичности процесса получается именно в верхней части кипящего слоя сжиганием части продуктов газификации с воздухом (CO+H2+O2+3,76N2=CO2+H2O=3,76N2+Q). Воздух в кипящий слой подается в зону горения по трубам 9, вваренным в трубную доску 6. Трубы 8, вваренные в трубную доску 7, служат для сбора с горизонтального сечения реактора технологического газа, идущего потребителю. Часть газа, прошедшая мимо труб 8, поступает в зону подачи воздуха, где происходит процесс сгорания этого газа совместно со сгоранием коксовых газов, выделившихся из угля. В камере газификации 5 в зоне горения осуществляется расширение, продолжающееся в надслоевом пространстве.
Для обеспечения хорошего перемешивания части продуктов газификации с подаваемым воздухом и, как следствие, их полного сгорания используются тормозящие козырьки 18, которые устанавливаются на трубы подачи вторичного воздуха 9. Установка тормозящих козырьков исключает быстрое проскакивание воздуха через слой в виде пузырей, и наоборот, как показали специальные исследования обтекания тел, погруженных в кипящий слой [1], газовая фаза накапливается под поверхностью тела в виде газовой прослойки, из которой генерируются новые пузыри. Поэтому в данном случае под куполом козырька воздух накапливается вместе с продуктами газификации и только после этого образовавшаяся смесь в виде новых пузырей вытекает из-под купола пузырька. Генерация пузырей смеси воздуха и продуктов газификации происходит достаточно регулярно во времени, при этом происходит процесс самообогрева.
Таким образом, после установки тормозящих элементов в виде козырьков полное перемешивание части продуктов газификации с подаваемым воздухом обеспечивается. Следовательно, обеспечивается полная автотермичность процесса (самообогрев); заметно уменьшается расход продуктов газификации, проскакивающих в камеру сгорания; увеличивается общий КПД процесса газификации, уменьшается расход топлива в расчете на единицу вырабатываемого синтез-газа, увеличивается производительность установки в целом.
Источник информации
1) А.П.Баскаков. Скоростной безокислительный нагрев и термическая обработка в кипящем слое. «Металлургия», 1968, 223 с.
Формула изобретения
Газогенератор с кипящим слоем для газификации твердых топлив, включающий корпус с подиной и сводом, снабженные теплоизоляцией, камеру газификации с размещенными внутри нее трубами для отвода технологического газа и подачи вторичного воздуха, средство для подачи топлива, парораспределительную решетку, устройство для подвода воздуха и пара, устройство для отвода технологического газа и продуктов сгорания, отличающийся тем, что на трубах подачи вторичного воздуха установлены козырьки в форме усеченных конусов под углом в 90-120°, которые располагаются в шахматном порядке и разнесены между собой на величину , определяемую из соотношения =(0,25÷0,3)·Н, где Н – высота кипящего слоя в расширенной части корпуса газогенератора, причем диаметр основания козырька dосн определяется из соотношения dосн=(0,75÷1)·S, где S – шаг трубного пучка, а глубина погружения козырька от уровня кипящего слоя определяется из соотношения =(0,2÷0,25)Н, где Н – высота кипящего слоя в расширенной части корпуса газогенератора.
РИСУНКИ
|
|