|
|
(21), (22) Заявка: 2005141534/04, 04.06.2004
(24) Дата начала отсчета срока действия патента:
04.06.2004
(30) Конвенционный приоритет:
04.06.2003 EP 03076733.9
(43) Дата публикации заявки: 10.07.2006
(46) Опубликовано: 20.12.2008
(56) Список документов, цитированных в отчете о поиске:
ЕР 0613935 А1, 07.09.1994. US 5593643 А, 14.01.1997. RU 2124565 С1, 10.01.1999. RU 2121003 С1, 27.10.1998. RU 2040536 С1, 25.07.1995. RU 94033102 А1, 27.08.1996. WO 00/50538 А1, 31.08.2000. ЕР 0604026 А1, 04.12.1985. US 5055177 А, 08.10.1991. US 5039397 A, 13.03.1991. US 4909993 A, 20.03.1990.
(85) Дата перевода заявки PCT на национальную фазу:
10.01.2006
(86) Заявка PCT:
EP 2004/051036 (04.06.2004)
(87) Публикация PCT:
WO 2004/108861 (16.12.2004)
Адрес для переписки:
103735, Москва, ул. Ильинка, 5/2, ООО “Союзпатент”, пат.пов. Ю.В.Пинчуку, рег.№ 656
|
(72) Автор(ы):
ДИРКСЕ Хендрикус Арин (NL), ДРИС Хюбертус Вилхелмус Албертус (NL)
(73) Патентообладатель(и):
ШЕЛЛ ИНТЕРНЭШНЛ РИСЕРЧ МААТСХАППИЙ Б.В. (NL)
|
(54) РАЗДЕЛИТЕЛЬНОЕ УСТРОЙСТВО
(57) Реферат:
Группа изобретений относится к устройствам для выделения твердых частиц из смеси газ – частицы. Представлена конфигурация двух циклонов (1,2) для выделения твердого вещества из смеси твердое вещество – газ, в которой выходное газовое отверстие (3) первого циклона (1) гидравлически соединено с выпускным трубопроводом (4), снабженным отверстием для выхода газа (5), а входное газовое отверстие (6) второго циклона (2) соединено с входным трубопроводом (7), снабженным отверстием (8) для впуска газа, причем выпускной (4) и впускной (7) трубопроводы расположены коаксиально и таким образом, что газ, выходящий из выпускного отверстия (5) выпускного трубопровода (4), поступает во входное отверстие (8) впускного трубопровода (7), а газ из внешней части циклонной конфигурации может поступать во входное газовое отверстие (8) впускного трубопровода (7), отверстие (5) для выпуска газа и отверстие (8) для впуска газа располагаются по оси на расстоянии друг от друга, а внутренняя часть газовой выпускной трубы (4) снабжена средствами для уменьшения вихревого движения газа, проходящего по указанному выпускному трубопроводу (4). Также описан второй вариант такой конфигурации. Достигается повышение прочности конструкции циклонных конфигураций. 2 н. и 5 з.п. ф-лы, 4 ил.
Область техники, к которой относится изобретение
Настоящее изобретение относится к усовершенствованному разделительному устройству, в котором частицы могут эффективно выделяться из смеси газ – частицы (твердого материала). Изобретение также относится к применению такого устройства в процессе каталитического крекинга с псевдоожиженным слоем катализатора.
Уровень техники
Область техники, относящаяся к каталитическому крекингу с псевдоожиженным слоем катализатора (FCC), подвергается значительному развитию и усовершенствованию главным образом за счет прогресса в каталитической технологии и связанным с ним распределением продуктов процесса. С появлением высокоактивных катализаторов, в особенности катализаторов крекинга на базе кристаллических цеолитов, стали встречаться новые области действующей технологии, требующие дополнительных усовершенствований в технологии производства с тем, чтобы воспользоваться высокой каталитической активностью, селективностью и чувствительностью новых катализаторов. Особый интерес в данной области вызывает развитие методов и систем отделения углеводородного продукта от частиц катализатора, в особенности высокоактивных кристаллических цеолитных катализаторов крекинга, при более эффективных условиях разделения с тем, чтобы уменьшить чрезмерно глубокий крекинг продуктов конверсии и обеспечить регенерацию желаемых продуктов FCC процесса. В опубликованных патентах ЕР-А-162978, ЕР-А-629679, US-A-5248411 и ЕР-А-604026 описываются разработки, касающиеся быстрого выделения и регенерации частиц унесенного катализатора из углеводородных продуктов. Быстрое выделение достигается за счет того, что частицы катализатора выделяют из выпускного потока вертикального реактора в первом циклонном сепараторе, первичном циклоне, выпускной газовый трубопровод которого находится в жидкостной взаимосвязи с вторичным циклоном. Такую стыковку циклонов в FCC реакторах также называют плотно-соединенным (close-coupling) циклонным разделением при условии, что первичный и вторичный циклоны находятся в одном большом сосуде. Такое соединение первичного и вторичного циклонов минимизирует продолжительность пребывания, в течение которого углеводородный продукт находится в состоянии контакта с катализатором, после его выхода из вертикального реактора, что ограничивает нежелательный последующий крекинг.
В соединительном трубопроводе между первичным и вторичным циклонами может быть предусмотрено отверстие или щель, через которые может поступать газ с внешней области конфигурации циклона. Щель, подобная той, что описана в цитированных выше опубликованных патентах, используется для вывода отпаривающего газа из FCC реактора совместно с углеводородными продуктами.
Были предложены различные конструкции щели в соединительном трубопроводе. Наиболее подходящая конструкция описана в ЕР-А-162978. Согласно такой конструкции отверстие для входа газа во впускной трубопровод, соединенный с отверстием для входа газа во второй циклон, имеет больший диаметр, чем отверстие для выхода газа выпускного трубопровода, соединенного с выпускным газовым отверстием первого циклона. Согласно такой конструкции входной трубопровод перекрывает выпускной трубопровод. Кольцевое пространство между двумя трубопроводами образует щелевое отверстие. Части двух рассматриваемых трубопроводов могут перемещаться относительно друг друга. Такое расположение позволяет первичному циклону, обычно закрепленному на вертикальном реакторе, и вторичным циклонам, которые обычно устанавливаются на корпусе FCC вертикального реактора, передвигаться относительно друг друга в ходе операции запуска и выключения установки. Рассматриваемое относительное движение происходит за счет различного теплового расширения указанных различных частей в FCC реакторном сосуде.
В ЕР-А-6132935 описывается конфигурация двух циклонов для выделения твердых веществ из смеси твердые вещества – газ, в которой газовый выход из первого циклона гидравлически связан с выпускным трубопроводом, снабженным отверстием для выхода газа, а газовый выход из второго циклона соединен с входным трубопроводом, снабженным отверстием для входа газа, причем выпускной трубопровод и впускной трубопровод расположены коаксиально и таким образом, что газ, выходящий из выпускного отверстия выпускного трубопровода, и газ из внешней части циклонной конфигурации может поступать в отверстие для впуска газа во впускном трубопроводе.
Недостаток такого щелевого отверстия заключается в том, что в кольцевом пространстве может отлагаться кокс, в результате чего две указанные части трубопровода могут терять подвижность относительно друг друга. В ходе операции запуска и остановки может создаваться нежелательное механическое напряжение, воздействующее на конфигурацию циклона, что может вызывать его серьезные повреждения.
Цель настоящего изобретения заключается в создании более прочной щелевой конструкции для циклонных конфигураций плотно-соединенного типа.
Раскрытие изобретения
Описывается конфигурация двух циклонов, предназначенных для выделения твердых материалов из газовой смеси, содержащей твердые частицы, в которой отверстие для выпуска газа из первого циклона гидравлически соединено с выпускным трубопроводом, снабженным отверстием для выпуска газа, а отверстие для входа газа во второй циклон соединено с выпускным трубопроводом, снабженным отверстием для выхода газа. Выпускной и впускной трубопроводы расположены коаксиально и таким образом, что газ, выходящий из выпускного отверстия выходного трубопровода, поступает во входное отверстие входного трубопровода. Газ с внешней части конфигурации циклона может подаваться в отверстие для впуска газа входного трубопровода. Отверстие для выпуска газа и отверстие для впуска газа аксиально находятся на расстоянии друг от друга. Внутренняя часть трубопровода для выпуска газа снабжена устройствами, способствующими уменьшению вихревого движения газа, проходящего через указанный выпускной трубопровод.
Авторы изобретения обнаружили, что в том случае, когда выпускной трубопровод первичного циклона и впускной трубопровод вторичного циклона не перекрываются, образуется щель, менее подверженная отложению кокса. Кроме этого, авторы изобретения установили, что необходимо обеспечивать выпускной трубопровод первичного циклона средствами, обеспечивающими уменьшение вихревого движения в указанном трубопроводе. Такая конструкция является выгодной, поскольку в ином случае газ способен радиально перемещаться от центра трубопровода и от входного отверстия (8) впускного трубопровода (7).
Настоящее изобретение также относится к FCC реактору, включающему описанную выше конфигурацию циклона, причем нижняя часть вертикального FCC вертикального реактора гидравлически соединена с впускным отверстием первичного циклона, а выход газа гидравлически соединен с выпускным газовым отверстием вторичного циклона и отверстием для выхода твердого материала в нижней части сосуда.
Кроме этого, настоящее изобретение относится к процессу каталитического крекинга, в котором используется рассмотренный FCC реактор.
Ниже приводится более подробное описание настоящего изобретения, включающего некоторые предпочтительные воплощения.
Краткое описание чертежей
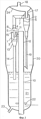
Фиг.1 иллюстрирует вид поперечного сечения плотно-соединенного циклонного устройства в FCC реакторе.
Фиг.2 иллюстрирует вид сверху первичного циклона и верхнюю часть соединительного трубопровода (7).
Фиг.3 иллюстрирует вид сверху первичного циклона Фигуры 2.
Фиг.4 изображает предпочтительное воплощение первичного циклона и входной патрубок соединительного трубопровода (7).
Осуществление изобретения
Фиг.1 представляет собой предпочтительное воплощение аппарата настоящего изобретения. На рассматриваемой Фиг.1 показан вертикальный реактор (10) процесса крекинга в псевдоожиженном слое катализатора, который гидравлически соединен через трубопровод (11) с первичным циклоном (1). В целях упрощения на Фиг.1 показан только один первичный циклонный сепаратор. Обычно более одного, как правило, два или три первичных циклонных сепаратора (1) могут быть гидравлически связаны с нижней частью (12) вертикального реактора (10). Первичный циклон (1) включает трубчатый корпус, снабженный тангенциально расположенным входным отверстием для приема суспензии частиц катализатора и паров углеводорода, которые выходят из вертикального реактора (10). Нижний конец трубчатого корпуса гидравлически соединен с помощью секции (13), имеющей усеченные конические стенки, с гидравлической трубой (dipleg) (14). Через элемент (14) большая часть частиц катализатора выгружается вниз. Верхняя часть трубчатого корпуса снабжена корпусом (15). Корпус (15) снабжен коническим кольцевым отверстием (16), через которое проходит трубопровод для выхода газа (4).
В целях упрощения на Фиг.1 показан только один вторичный сепаратор (12). Более одного, например два вторичных сепаратора (2), могут быть гидравлически соединены с одним первичным циклоном (1). Через трубопровод для выхода газа (17) вторичного циклона (2) пары углеводородов, обедненные частицами катализатора, выводятся из FCC реакционного сосуда через камеру повышенного давления (24) и отверстие для выхода газа (18). Эти пары могут дополнительно перерабатываться в расположенном ниже оборудовании для разделения продукта. Вторичный циклон (2) дополнительно снабжен гидравлической трубой (dip-leg) (19) для нисходящего вывода выделенных каталитических частиц.
Нижняя часть реакционного сосуда (20) дополнительно включает зону отпаривания (21), снабженную приспособлениями (22), предназначенными для подачи отпаривающей среды в плотный псевдоожиженный слой отделенных частиц катализатора, образующий зону отпаривания (21). Отпаривающая среда может представлять собой любой инертный газ. Пар или газы, содержащие пар, могут успешно использоваться в качестве отпаривающей среды.
Кроме этого, реакционный сосуд (20) включает средства для удаления отпаренных частиц катализатора из сосуда через трубопровод (23). Отпаренный или отработанный катализатор через трубопровод (23) переносится в зону регенерации (не показана). В такой зоне регенерации кокс удаляют из катализатора в результате (неполного) сгорания. Регенерированный катализатор подают в верхнюю часть вертикального реактора, где он контактирует с введенным углеводородом с образованием упомянутой выше суспензии частиц катализатора и паров углеводородного продукта в нижней части вертикального реактора.
Реакторный сосуд (20) дополнительно включает приспособления для вывода углеводорода и паров отпаривающей среды из сосуда по трубопроводу (18).
Первичный циклон (1) и вторичный циклон (2) гидравлически связаны друг с другом с помощью выпускного трубопровода (4) и впускного трубопровода (7). Выпускной трубопровод (4) гидравлически соединен с отверстием для выхода газа (3) первичного циклона (1). Противоположный конец выходного трубопровода (4) гидравлически связан с отверстием для выхода газа (3) первичного циклона (1). Противоположный конец выпускного трубопровода (4) снабжен отверстием для выхода газа (5).
Входной трубопровод (7) гидравлически соединен с входным отверстием для газа (6) во вторичном циклоне (2). Два этих трубопровода (4,7) размещены коаксиально так, что газ, выходящий из выпускного отверстия (5) выпускного трубопровода (4) поступает во входное отверстие (8) впускного трубопровода (7). Отпаривающий газ из отпарной зоны (21) может поступать во входное отверстие (8) впускного трубопровода (7). Отверстие (5) для выпуска газа и отверстие (8) для ввода газа расположены аксиально на расстоянии друг от друга.
Как показано на Фиг.1, первичный циклон (1) зафиксирован на стояке (10), а вторичный циклон (2) прикреплен к верхней части сосуда (20). В результате такой конструкции, в ходе запуска и охлаждения относительные расстояния между отверстиями (5) и (8) могут изменяться за счет различного теплового расширения различных частей сосуда (20). Используемый в тексте термин «неперекрывающееся отверстие» подразумевает неперекрывающуюся ситуацию, что имеет место при обычных технологических условиях.
Фиг.2 изображает верхнюю часть первичного циклона (1) и нижний край впускного трубопровода (7). Используются те же справочные номера, что и на Фиг.1. Внутренняя часть трубы (4) для выхода газа снабжена приспособлениями (9), предназначенными для уменьшения вихревого движения газа, проходящего через выпускной трубопровод (4). Такие приспособления (9) могут представлять собой дефлекторы (перегородки), прикрепленные к внутренней поверхности трубопровода (4). Предпочтительно, чтобы такие перегородки проходили по радиусу от поверхности к центру трубопровода. Рассматриваемые приспособления (9) могут располагаться вдоль стенки параллельно оси (25), как это показано на чертеже. С другой стороны, приспособления (9) могут располагаться под углом к оси (25) таким образом, что они направляются в сторону завихрения, но под меньшим углом, чем угол самого завихрения, в результате чего все еще достигается уменьшение степени завихрения.
Отверстие (5) предпочтительно снабжено коническим отверстием (27) с целью дополнительного направления газа в отверстие (8). Расстояние (d) между отверстием (5) и отверстием (8) равно нулю или имеет положительное значение, которое позволяет обеспечить неперекрывающееся отверстие. Расстояние (d) предпочтительно в 0-3 раза больше диаметра отверстия (5). Предпочтительно, чтобы диаметр отверстия (8) был больше диаметра отверстия (5).
Конфигурация, изображенная на Фиг.2, дополнительно демонстрирует, что корпус (15) первичного циклона снабжен наклонной кровлей (26), которая дополнительно направляет десорбированный газ из отпарной зоны (21) в направлении отверстия (8). Дополнительное преимущество такой наклонной кровли (26) состоит в том, что катализатор не отлагается на кожухе (15) первичного циклона (1). Предпочтительно, чтобы угол ( ) был больше угла естественного откоса частиц катализатора, более предпочтительный угол ( ) составляет 45°. Максимальное значение рассматриваемого угла выбирают из интервала 45-90° и оно определяется практическими соображениями, такими как пространственные ограничения. Настоящее изобретение также относится к конфигурации циклона, в которой корпус первичного циклона снабжен наклонной кровлей (26), а в соединительном трубопроводе между первичным и вторичным циклонами имеется щель. Угол представляет собой угол между поверхностью наклонной кровли (26) и горизонтальным корпусом (15) циклона.
На фиг.1 и 2 отверстия (5) и (8) находятся в вертикальной части трубопровода, соединяющего первичный и вторичный циклоны. Менее предпочтительно, когда такие отверстия находятся в горизонтальной части указанного соединительного трубопровода.
Фиг.3 изображает вид сверху первичного циклона 1, на котором иллюстрируется тангенциально расположенное входное отверстие, соединенное с трубопроводом (11), и уменьшающие завихрение перегородки (9) внутри трубопровода (4), которые просматриваются через отверстие (5). Также показан верхний край трубопровода (4), который представляет собой коническое отверстие (27).
Фиг.4 изображает предпочтительное воплощение изобретения, в котором впускной трубопровод (7) снабжен несколькими направляющими устройствами (28), из которых для ясности показано лишь одно из них и которые в ходе эксплуатации дополнительно способствуют тому, чтобы трубопроводы (4) и (7) оставались в коаксиальном положении относительно оси (25). Направляющие приспособления (28) предпочтительно закрепляют на трубопроводе (7) и они способствуют тому, чтобы движение впускного и выпускного трубопроводов относительно друг друга происходило только в аксиальном направлении. Рассматриваемые направляющие приспособления (28) дополнительно обеспечивают уменьшение вихревого движения газа, выходящего из отверстия (5).
Примеры FCC процессов, в которых могут успешно использоваться устройства настоящего изобретения, приведены в упомянутых выше опубликованных патентах и в документе Catalytic Cracking of Heavy Petroleum Fractions, Daniel DeCroocq, Institut Francais du Petrole, 1984 (ISBN) 2-7108-455-7, стр.100-114. Предпочтительно использовать устройство в FCC процессах, в которых суспензия, содержащая газ и твердый материал, подаваемая в первичный циклон, содержит твердые вещества в количестве 1-12 кг/м3.
Формула изобретения
1. Конфигурация двух циклонов (1,2) для выделения твердого вещества из смеси твердое вещество – газ, в которой выходное газовое отверстие (3) первого циклона (1) гидравлически соединено с выпускным трубопроводом (4), снабженным отверстием для выхода газа (5), а входное газовое отверстие (6) второго циклона (2) соединено с входным трубопроводом (7), снабженным отверстием (8) для впуска газа, причем выпускной (4) и впускной (7) трубопроводы расположены коаксиально и таким образом, что газ, выходящий из выпускного отверстия (5) выпускного трубопровода (4), поступает во входное отверстие (8) впускного трубопровода (7), а газ из внешней части циклонной конфигурации может поступать во входное газовое отверстие (8) впускного трубопровода (7), отверстие (5) для выпуска газа и отверстие (8) для впуска газа располагаются по оси на расстоянии друг от друга, а внутренняя часть газовой выпускной трубы (4) снабжена средствами для уменьшения вихревого движения газа, проходящего по указанному выпускному трубопроводу (4).
2. Конфигурация по п.1, в которой отверстие (5) выпускного трубопровода (4) представляет собой конусное отверстие (27).
3. Конфигурация по любому из пп.1 и 2, в которой выпускной трубопровод (4) и впускной трубопровод (7) расположены вдоль вертикальной коаксиальной оси.
4. Конфигурация по п.3, в которой выпускной трубопровод (4) и впускной трубопровод (7) поддерживаются в коаксиальном положении относительно друг друга с помощью направляющих устройств (28), которые связаны с впускным трубопроводом (7) и проходят до выпускного трубопровода (4), обеспечивая движение входного и выходного трубопроводов (4, 7) относительно друг друга только в аксиальном направлении.
5. Конфигурация по любому из пп.1 и 2, в которой первый циклон (1) снабжен наклонной кровлей (26).
6. Конфигурация по п.5, в которой угол между наклонной кровлей и горизонтальной вершиной первого циклона (1) составляет более 45°.
7. Конфигурация двух циклонов (1, 2) для выделения твердых частиц из смеси твердые вещества – газ, в которой отверстие (3) для выхода газа в первом циклоне (1) гидравлически соединено с выходым трубопроводом (4), снабженным отверстием (5) для выхода газа, а входное газовое отверстие (6) второго циклона (2) соединено с входным трубопроводом (7), снабженным отверстием (8) входного трубопровода (7), причем выходной трубопровод (4) и входной трубопровод (7) расположены коаксиально и таким образом, что газ, выходящий из отверстия (5) для выхода газа из выходного трубопровода (4), поступает в отверстие (8) входного трубопровода (7), куда также может поступать газ из внешней части циклонной конфигурации, причем первый циклон (1) снабжен наклонной кровлей (26), а угол между наклонной кровлей и горизонтальной вершиной первого циклона (1) составляет более 45°.
РИСУНКИ
|
|