|
|
(21), (22) Заявка: 2005121570/04, 03.12.2003
(24) Дата начала отсчета срока действия патента:
03.12.2003
(30) Конвенционный приоритет:
09.12.2002 US 10/315,295 09.12.2002 US 10/315,294 21.08.2003 US 10/645,737 21.08.2003 US 10/645,734 22.09.2003 US 10/667,744
(43) Дата публикации заявки: 20.01.2006
(46) Опубликовано: 20.12.2008
(56) Список документов, цитированных в отчете о поиске:
US 4357475 А, 02.11.1982. US 3170768 А, 23.02.1965. RU 2035966 С1, 27.05.1995. US 5359133 А, 25.10.1994. WO 94/17892 А, 18.08.1994.
(85) Дата перевода заявки PCT на национальную фазу:
11.07.2005
(86) Заявка PCT:
US 03/38305 (03.12.2003)
(87) Публикация PCT:
WO 2004/052820 (24.06.2004)
Адрес для переписки:
129090, Москва, ул. Б.Спасская, 25, стр.3, ООО “Юридическая фирма Городисский и Партнеры”, пат.пов. Е.Е.Назиной
|
(72) Автор(ы):
САМНЕР Чарльз Эдван Мл. (US), БАУЭРЗ Дэвид Тэйлор (US), ГИБСОН Филип Эдвард (US), ЛИН Роберт (US), АРНОЛЬД Эрнест Уилльям III (US), ФЬЮГЭЙТ Эрик Джэксон (US), СТИВЕНСОН Джордж М. (US), КЭРРЕЛЛ Гарри Ли (US), МАККЛАНАХАН Уэйн (US)
(73) Патентообладатель(и):
ИСТМАН КЕМИКАЛ КОМПАНИ (US)
|
(54) СПОСОБ ОЧИСТКИ СУСПЕНЗИИ СЫРОЙ КАРБОНОВОЙ КИСЛОТЫ
(57) Реферат:
Изобретение относится к усовершенствованному способу получения продукта – очищенной карбоновой кислоты, включающему в себя: (а) окисление ароматических исходных материалов в зоне первичного окисления с образованием суспензии сырой карбоновой кислоты; где суспензия сырой карбоновой кислоты содержит терефталевую кислоту; где указанное окисление осуществляют при температуре в пределах от 120°С до 200°С; (b) удаление примесей из сырой суспензии карбоновой кислоты, отведенной при температуре от 140°С до 170°С со стадии окисления параксилола в зоне первичного окисления и содержащей терефталевую кислоту, катализатор, уксусную кислоту и примеси, осуществляемое в зоне разделения твердых продуктов и жидкости с образованием потока маточной жидкости и продукта в виде суспензии; где часть указанного катализатора в указанной суспензии сырой карбоновой кислоты удаляется в указанном потоке маточной жидкости; и где в указанную зону разделения твердых продуктов и жидкости необязательно добавляется дополнительный растворитель; (с) окисление указанного продукта в виде суспензии в зоне последующего окисления, с образованием продукта последующего окисления; где указанное окисление осуществляется при температуре в пределах от 190°С до 280°С; и где указанное окисление происходит в указанной зоне последующего окисления при температуре, более высокой, чем в указанной зоне первичного окисления; (d) кристаллизацию указанного продукта последующего окисления в зоне кристаллизации, с образованием кристаллизованного продукта в форме суспензии; (е) охлаждение указанного кристаллизованного продукта в форме суспензии в зоне охлаждения с образованием охлажденной суспензии очищенной карбоновой кислоты; и (f) фильтрование и необязательную сушку указанной охлажденной суспензии очищенной карбоновой кислоты в зоне фильтрования и сушки для удаления из указанной охлажденной суспензии карбоновой кислоты части растворителя с получением указанного продукта – очищенной карбоновой кислоты. Способ дает продукт – очищенную карбоновую кислоту, имеющую хороший цвет и низкие уровни примесей, без использования стадий очистки, подобных гидрированию. 7 з.п. ф-лы, 1 табл., 1 ил.
Область техники, к которой относится изобретение
Настоящее изобретение относится к способу очистки суспензии сырой карбоновой кислоты. Более конкретно, настоящее изобретение относится к способу очистки суспензии сырой карбоновой кислоты посредством использования зоны разделения твердых продуктов и жидкости между зоной первичного окисления и зоной последующего окисления.
Уровень техники
Терефталевая кислота производится в промышленных масштабах посредством окисления параксилола в присутствии катализатора, такого, например, как Co, Mn, Br, и растворителя. Терефталевая кислота, используемая при производстве полиэфирных волокон, пленок и смол, должна дополнительно обрабатываться для удаления примесей, присутствующих из-за окисления параксилола. В типичном промышленном процессе производят сырую терефталевую кислоту, затем растворяют твердую сырую терефталевую кислоту в воде при высоких температурах и давлениях, гидрируют полученный раствор, охлаждают и кристаллизуют продукт – терефталевую кислоту из раствора, и отделяют продукт в виде твердой терефталевой кислоты от жидкости, как описано в патенте США № 3584039, который включается сюда посредством ссылки.
Разработан и является коммерчески доступным ряд способов для производства твердой очищенной терефталевой кислоты. Обычно очищенную терефталевую кислоту производят в виде твердого продукта в многостадийном процессе, в котором получают сырую терефталевую кислоту. Сырая терефталевая кислота не имеет достаточно высокого качества для непосредственного использования в качестве исходного материала для промышленного полиэтилентерефталата (PET). Вместо этого сырую терефталевую кислоту обычно перерабатывают до твердой очищенной терефталевой кислоты.
Жидкофазное окисление п-ксилола дает сырую терефталевую кислоту. Сырую терефталевую кислоту растворяют в воде и гидрируют с целью превращения 4-карбоксибензальдегида в п-толуиловую кислоту, которая представляет собой более водорастворимое производное, и с целью превращения соединений характерного желтого цвета в бесцветные производные. Значительные количества 4-карбоксибензальдегида и п-толуиловой кислоты в конечном очищенном продукте – терефталевой кислоте являются особенно вредными для процессов полимеризации, поскольку они могут действовать как прерыватели цепи во время реакции конденсации между терефталевой кислотой и этиленгликолем при производстве PET. Типичная очищенная терефталевая кислота содержит, по массе, менее чем 250 миллионных долей (м.д.) 4-карбоксибензальдегида и менее чем 150 м.д. п-толуиловой кислоты.
Сырая терефталевая кислота обычно содержит, по массе, примерно от 800 до 7000 миллионных долей (м.д.) 4-карбоксибензальдегида и примерно от 200 до 1500 м.д. п-толуиловой кислоты, в качестве главных примесей. Сырая терефталевая кислота также содержит меньшие количества, в пределах примерно 20-200 м.д., ароматических соединений, имеющих структуры, производные от бензила, флуоренона и/или антрахинона, которые представляют собой соединения характерного желтого цвета, в качестве примесей, возникающих из-за побочных реакций связывания, происходящих во время окисления п-ксилола.
Такой способ очистки, как правило, включает в себя добавление воды к сырой терефталевой кислоте, с образованием суспензии сырой терефталевой кислоты, которую нагревают для растворения сырой терефталевой кислоты. Затем раствор сырой терефталевой кислоты пропускают в зону реактора, в которой раствор вступает в контакт с водородом, в присутствии гетерогенного катализатора, при температурах от примерно 200° до примерно 375°C. Эта стадия восстановления превращает различные цветообразующие соединения, присутствующие в сырой терефталевой кислоте, в бесцветные производные. Главная примесь – 4-карбоксибензальдегид – превращается в п-толуиловую кислоту.
Типичная сырая терефталевая кислота содержит избыточные количества, по массе, как 4-карбоксибензальдегида, так и п-толуиловой кислоты. По этой причине для получения менее чем 250 м.д. массовых 4-карбоксибензальдегида и менее чем 150 м.д. массовых п-толуиловой кислоты в очищенной терефталевой кислоте требуются механизмы для очистки сырой терефталевой кислоты и удаления примесей.
Во многих процессах окрашенные примеси гидрируются до бесцветных производных и покидают процесс вместе с твердым продуктом – терефталевой кислотой и потоками сточных вод. Однако один из вариантов осуществления настоящего изобретения предусматривает привлекательный способ для производства суспензии очищенной карбоновой кислоты путем использования зоны разделения твердых продуктов и жидкости, содержащей сепаратор твердых продуктов и жидкости, после окисления продукта суспензии сырой карбоновой кислоты и перед конечным фильтрованием и сушкой, без использования стадии гидрирования.
Сущность изобретения
В одном из вариантов осуществления настоящего изобретения предусматривается способ производства продукта – очищенной карбоновой кислоты без использования гидрирования терефталевой кислоты или способа отделения примеси окисляющего растворителя, как описано в патенте США № 3584039.
В другом варианте осуществления настоящего изобретения предусматривается способ производства продукта в виде суспензии. Способ включает в себя удаление примесей из суспензии сырой карбоновой кислоты в зоне разделения твердых продуктов и жидкости с образованием продукта в виде суспензии.
В другом варианте осуществления настоящего изобретения предусматривается способ производства продукта – очищенной карбоновой кислоты. Способ включает в себя:
(a) удаление примесей из суспензии сырой карбоновой кислоты в зоне разделения твердых продуктов и жидкости с образованием продукта – суспензии;
(b) окисление продукта – суспензии в зоне последующего окисления с образованием продукта последующего окисления;
(c) кристаллизацию продукта последующего окисления в зоне кристаллизации с образованием кристаллизованного продукта.
В другом варианте осуществления настоящего изобретения предусматривается способ производства суспензии очищенной карбоновой кислоты. Способ включает в себя:
(a) удаление примесей из суспензии сырой карбоновой кислоты в зоне разделения твердых продуктов и жидкости с образованием продукта – суспензии; где суспензия сырой карбоновой кислоты содержит терефталевую кислоту, катализатор, уксусную кислоту и примеси, которые отводятся при температуре в пределах примерно между 140°C и примерно 170°C, из процесса окисления параксилола в зоне первичного окисления;
(b) окисление продукта – суспензии в зоне последующего окисления с образованием продукта последующего окисления; при котором окисление осуществляется при температуре в пределах примерно между 190°C и примерно 280°C; и при котором окисление в зоне последующего окисления происходит при температуре более высокой, чем в зоне первичного окисления;
(c) кристаллизация продукта последующего окисления в зоне кристаллизации с образованием кристаллизованного продукта;
(d) охлаждение кристаллизованного продукта в зоне охлаждения с образованием охлажденной суспензии очищенной карбоновой кислоты; и
(e) фильтрование и необязательную сушку охлажденной суспензии очищенной карбоновой кислоты в зоне фильтрования и сушки, для удаления части растворителя из охлажденной суспензии карбоновой кислоты с получением продукта – очищенной карбоновой кислоты.
Еще в одном варианте осуществления настоящего изобретения предусматривается способ производства продукта – очищенной карбоновой кислоты. Способ включает в себя:
(a) окисление ароматических исходных материалов в зоне первичного окисления с образованием суспензии сырой карбоновой кислоты; где суспензия сырой карбоновой кислоты содержит терефталевую кислоту; где окисление осуществляют при температуре в пределах примерно от 120°C до примерно 190°C;
(b) удаление примесей из суспензии сырой карбоновой кислоты в зоне разделения твердых продуктов и жидкости с образованием продукта – суспензии; где суспензия сырой карбоновой кислоты содержит терефталевую кислоту, катализатор, уксусную кислоту и примеси, которые отводятся при температуре в пределах между примерно 140°C и примерно 170°C, из процесса окисления параксилола в зоне первичного окисления;
(c) окисление продукта – суспензии в зоне последующего окисления с формированием продукта последующего окисления; где окисление осуществляется при температуре в пределах примерно от 190°C до примерно 280°C; и где окисление происходит при температуре, в зоне последующего окисления, более высокой, чем в зоне первичного окисления;
(d) кристаллизацию продукта последующего окисления в зоне кристаллизации с формированием кристаллизованного продукта;
(e) охлаждение кристаллизованного продукта в зоне охлаждения с формированием охлажденной суспензии очищенной карбоновой кислоты; и
(f) фильтрование и необязательную сушку охлажденной суспензии очищенной карбоновой кислоты в зоне фильтрования и сушки, для удаления части растворителя из охлажденной суспензии карбоновой кислоты, с получением продукта – очищенной карбоновой кислоты.
Эти и другие цели станут более понятны специалистам в данной области после чтения настоящего описания.
Краткое описание чертежей
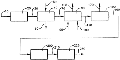
Фигура представляет собой схему способа по настоящему изобретению для окислительной очистки карбоновой кислоты, в котором зона 40 разделения твердых продуктов и жидкости используется между первичной зоной 20 окисления и зоной 80 последующего окисления.
Подробное описание изобретения
Настоящее изобретение предлагает способ очистки суспензии 30 сырой карбоновой кислоты. Способ включает в себя стадии выделения маточной жидкости из суспензии сырой карбоновой кислоты в зоне 40 разделения твердых продуктов и жидкости с образованием продукта 70 суспензии.
Сырую терефталевую кислоту удобно получать посредством жидкофазного окисления параксилола на воздухе, в присутствии соответствующего окислительного катализатора. Пригодные для использования катализаторы включают в себя, по меньшей мере, один катализатор, выбранный, но без ограничения указанным из соединений кобальта, брома и марганца, которые растворимы в выбранном растворителе. Пригодные для использования растворители включают, но без ограничения указанными, алифатические монокарбоновые кислоты, предпочтительно, содержащие от 2 до 6 атомов углерода, или бензойную кислоту, и их смеси, и смеси этих соединений с водой. Предпочтительно, растворитель представляет собой уксусную кислоту, смешанную с водой, при отношении примерно от 5:1 примерно до 25:1, предпочтительно, в пределах примерно между 8:1 и примерно 20:1. В настоящем описании уксусная кислота будет упоминаться как растворитель. Однако следует понимать, что и другие пригодные для использования растворители, такие как те, которые описаны ранее, также могут использоваться. Патенты, описывающие производство терефталевой кислоты, такие как патенты США № 4158738 и № 3996271, включаются сюда в качестве ссылок.
В одном из вариантов осуществления настоящего изобретения способ для производства продукта 70 в виде суспензии приводится на чертеже. Способ включает в себя удаление примесей из суспензии 30 сырой карбоновой кислоты в зоне 40 разделения твердых продуктов и жидкости с образованием продукта 70 в виде суспензии; где продукт 70 суспензии образуется без стадии гидрирования.
Зона 40 разделения твердых продуктов и жидкости, примеси, суспензия 30 сырой карбоновой кислоты и продукт 70 в виде суспензии, – все описываются впоследствии в настоящем описании.
В другом варианте осуществления настоящего изобретения на чертеже приводится способ для производства продукта 230 – очищенной карбоновой кислоты. В способ включаются следующие стадии.
Стадия (a) включает в себя удаление примесей из суспензии 30 сырой карбоновой кислоты в зоне 40 разделения твердых продуктов и жидкости с образованием продукта 70 в виде суспензии.
Суспензия 30 сырой карбоновой кислоты содержит, по меньшей мере, одну карбоновую кислоту, катализатор, по меньшей мере, один растворитель и примеси удаляются через линию 30.
Примеси, как правило, включают в себя, по меньшей мере, одно или несколько из следующих соединений: 4-карбоксибензальдегид (4-CBA), тримеллитовую кислоту (TMA) и 2,6-дикарбоксифлуоренон (2,6-DCF). Растворитель, как правило, включает в себя уксусную кислоту, но может представлять собой любой растворитель, который рассматривался ранее.
Суспензию 30 сырой карбоновой кислоты получают посредством окисления в первичной зоне 20 окисления ароматических исходных материалов 10. В одном из вариантов осуществления ароматические исходные материалы включают в себя параксилол. Первичная зона 20 окисления содержит, по меньшей мере, один реактор окисления, а суспензия 30 сырой карбоновой кислоты содержит, по меньшей мере, одну карбоновую кислоту. Реактор окисления может работать при температурах в пределах примерно от 120°C до примерно 200°C, предпочтительно, примерно от 140°C до примерно 170°C. Как правило, ароматические исходные материалы 10 представляют собой параксилол, а карбоновая кислота представляет собой терефталевую кислоту. В одном из вариантов осуществления настоящего изобретения зона первичного окисления содержит барботажную колонну.
По этой причине, когда используется терефталевая кислота, суспензия 30 сырой карбоновой кислоты будет упоминаться как суспензия сырой терефталевой кислоты, а продукт 230 – очищенная карбоновая кислота – должен упоминаться как продукт – очищенная терефталевая кислота.
Карбоновые кислоты включают в себя ароматические карбоновые кислоты, получаемые посредством контролируемого окисления органического субстрата. Такие ароматические карбоновые кислоты включают в себя соединения, по меньшей мере, с одной группой карбоновой кислоты, присоединенной к атому углерода, который является частью ароматического кольца, предпочтительно, имеющего, по меньшей мере, 6 атомов углерода, еще более предпочтительно, имеющего только атомы углерода. Подходящие примеры таких ароматических колец включают в себя, но не ограничиваются этим, бензол, бифенил, терфенил, нафталин и другие конденсированные ароматические кольца на основе углерода. Примеры пригодных для использования карбоновых кислот включают в себя, но не ограничиваются этим, терефталевую кислоту, бензойную кислоту, п-толуиловую, изофталевую кислоту, тримеллитовую кислоту, нафталиндикарбоновую кислоту и 2,5-дифенил-терефталевую кислоту. Может осуществляться любой из вариантов осуществления настоящего изобретения, в котором по существу отсутствует терефталевая кислота и изофталевая кислота в суспензии сырой карбоновой кислоты. Когда используется термин «по существу отсутствует», он означает количество менее чем 5% массовых.
Суспензию сырой терефталевой кислоты удобно синтезировать посредством жидкофазного окисления параксилола в присутствии соответствующего окислительного катализатора. Пригодные для использования катализаторы включают в себя, но не ограничиваются этим, соединения кобальта, марганца и брома, которые растворимы в выбранном растворителе. В одном из вариантов осуществления настоящего изобретения катализатор содержит кобальт, бром и марганец. Кобальт и марганец, вместе взятые, могут находиться в суспензии сырой карбоновой кислоты при концентрациях примерно от 150 м.д. примерно до 3200 м.д. массовых. Бром может находиться в суспензии сырой карбоновой кислоты при концентрациях примерно от 10 м.д. примерно до 5000 м.д. массовых. Предпочтительно, кобальт и марганец, вместе взятые, могут находиться в суспензии сырой карбоновой кислоты при концентрациях примерно от 1050 м.д. примерно до 2700 м.д. массовых. Бром может находиться в суспензии сырой карбоновой кислоты при концентрациях примерно от 1000 м.д. примерно до 2500 м.д. массовых.
Суспензию сырой карбоновой кислоты по трубопроводу 30 вводят в зону 40 разделения твердых продуктов и жидкости, способную удалять часть жидкости, содержащейся в суспензии 30 сырой карбоновой кислоты, с получением продукта – суспензии в трубопроводе 70. «Часть» означает, что удаляется, по меньшей мере, 5 мас.% жидкости. Удаление части жидкости с получением продукта суспензии в трубопроводе 70 может осуществляться с помощью любых средств, известных в данной области. Как правило, зона 40 разделения твердых продуктов и жидкости содержит сепаратор для твердых продуктов и жидкости, который выбирают из группы, состоящей из декантирующей центрифуги, роторной дисковой центрифуги, ленточного фильтра, роторного вакуумного фильтра и тому подобное. Суспензию сырой карбоновой кислоты в трубопроводе 30 вводят в зону 40 разделения твердых продуктов и жидкости, содержащую сепаратор для твердых продуктов и жидкости. Сепаратор для твердых продуктов и жидкости работает при температурах в пределах примерно между 50°C и примерно 200°C, предпочтительно, от 140°C примерно до 170°C. Сепаратор для твердых продуктов и жидкости работает при давлениях в пределах между примерно 30 фунт/кв. дюйм и примерно 200 фунт/кв. дюйм. Сепаратор для твердых продуктов и жидкости в зоне 40 разделения твердых продуктов и жидкости может работать в непрерывном или периодическом режиме, хотя будет понятно, что для промышленных процессов непрерывный режим является предпочтительным.
Примеси в маточной жидкости удаляют из зоны 40 разделения твердых продуктов и жидкости и отводят через линию 60. В одном из вариантов осуществления настоящего изобретения в зону 40 разделения твердых продуктов и жидкости вводят дополнительный растворитель посредством линии 50, для повторного суспендирования суспензии 30 сырой карбоновой кислоты и формирования продукта 70 в виде суспензии. Маточную жидкость 60 удаляют из зоны 40 разделения твердых продуктов и жидкости через линию 60, и она содержит растворитель, как правило, уксусную кислоту, катализатор и соединения брома. Маточная жидкость в линии 60 может быть либо направлена в процесс для отделения примесей от окисляющего растворителя, посредством линий, которые не показаны, либо рециркулирована в систему катализаторов посредством линий, которые не показаны. Одна из технологий для удаления примесей из маточной жидкости 60, повсеместно используемая в химической перерабатывающей промышленности, заключается в извлечении или “очистке” некоторой части рециркулируемого потока. Как правило, очищаемый поток просто заменяют или, если это экономически оправдано, подвергают различным видам обработки для удаления нежелательных примесей, извлекая в то же время ценные компоненты. Примеры способов удаления примесей включают в себя патент США № 4939297 и патент США № 4356319, включаемые сюда в качестве ссылок.
Стадия (b), включающая в себя окисление продукта 70 в виде суспензии в зоне 80 последующего окисления с образованием продукта 110 последующего окисления.
В одном из вариантов осуществления настоящего изобретения продукт 70 суспензии отводят через линию 70 в зону 80 последующего окисления, где его нагревают до температуры в пределах примерно между 190°C и примерно 280°C, а предпочтительно, примерно между 200°C и примерно 250°C, и дополнительно окисляют с помощью воздуха, вводимого посредством линии 100, с получением продукта 110 последующего окисления.
Зона 80 последующего (дополнительного) окисления содержит, по меньшей мере, одну емкость реактора последующего окисления. Продукт 70 в виде суспензии вводят в зону 80 последующего окисления. Термин “последующее окисление” означает, что окисление осуществляется как в зоне 20 первичного окисления, обсуждавшейся ранее, так и в зоне 80 последующего окисления. Например, зона 80 последующего окисления может содержать ряд последовательных реакторных емкостей стадий последующего окисления.
Когда карбоновая кислота представляет собой терефталевую кислоту, зона 80 последующего окисления содержит реактор окисления, который нагревают до температуры в пределах примерно между 190°C и примерно 280°C, предпочтительно, примерно между 200°C и примерно 250°C, и наиболее предпочтительно, между 205°C и 225°C, и проводят дополнительное окисление с помощью воздуха или источника молекулярного кислорода, вводимого посредством линии 100, с получением продукта 110 последующего окисления. Как правило, окисление в зоне 80 последующего окисления происходит при температуре более высокой, чем окисление в зоне 20 первичного окисления, для улучшения удаления примесей. Зона 80 последующего окисления может нагреваться непосредственно, с помощью паров растворителя или водяного пара, посредством трубопровода 90 или опосредованно, с помощью любых средств, известных в данной области. Очистка в зоне последующего окисления имеет место посредством механизма, связанного с перекристаллизацией или ростом кристаллов и окислением примесей.
Дополнительный воздух или молекулярный кислород могут вводиться в зону 80 последующего окисления через трубопровод 100, в количестве, необходимом для окисления достаточной части частично окисленных продуктов, таких как 4-карбоксбензальдегид (4-CBA), в суспензии 30 сырой карбоновой кислоты или в продукте 70 в виде суспензии, до соответствующей карбоновой кислоты. Как правило, по меньшей мере, 70% массовых 4-CBA превращается в терефталевую кислоту в зоне 80 последующего окисления. Предпочтительно, по меньшей мере, 80% массовых 4-CBA превращается в терефталевую кислоту в зоне 80 последующего окисления. Значительные концентрации 4-карбоксибензальдегида и п-толуиловой кислоты в продукте – терефталевой кислоте являются особенно вредными для процесса полимеризации, поскольку они могут действовать как прерыватели цепи во время реакции конденсации между терефталевой кислотой и этиленгликолем, при получении полиэтилентерефталатов (PET). Типичный продукт – терефталевая кислота содержит, по массе, менее чем примерно 250 миллионных долей (м.д.) 4-карбоксбензальдегида и менее чем примерно 150 м.д. п-толуиловой кислоты.
Примеси в суспензии 30 сырой карбоновой кислоты или продукта 70 суспензии переходят в раствор, когда частицы терефталевой кислоты растворяются и перекристаллизуются в зоне 80 последующего окисления. Выпускной газ из зоны 80 последующего окисления удаляют посредством линии 105 и вводят в систему извлечения, где из выпускного газа, содержащего летучие органические соединения (VOC), удаляют растворитель. VOC, содержащие метилбромид, могут обрабатываться, например, посредством сжигания в установке каталитического окисления. Продукт 110 последующего окисления из зоны 80 последующего окисления удаляют посредством линии 110.
Стадия (c) включает в себя кристаллизацию продукта 110 последующего окисления в зоне 120 кристаллизации, с получением кристаллизованного продукта 160. Как правило, зона 120 кристаллизации содержит, по меньшей мере, один кристаллизатор. Парообразный продукт из зоны кристаллизации может конденсироваться, по меньшей мере, в одном конденсаторе и возвращаться в зону кристаллизации. Необязательно, жидкость из конденсатора или парообразный продукт из зоны кристаллизации можно рециркулировать, или его можно извлекать или направлять в устройство для извлечения энергии. В дополнение к этому отходящий газ из кристаллизатора удаляют через линию 170, и его можно направлять в систему извлечения, где растворитель удаляют, а выпускной газ из кристаллизатора, содержащий VOC, может обрабатываться, например, посредством сжигания, в установке каталитического окисления.
Когда карбоновая кислота представляет собой терефталевую кислоту, продукт 110 последующего окисления из зоны 80 последующего окисления удаляется посредством линии 110 и вводится в зону 120 кристаллизации, содержащую, по меньшей мере, один кристаллизатор, где он охлаждается до температуры в пределах примерно между 110°C и примерно 190°C с образованием кристаллизованного продукта 160, предпочтительно, до температуры в пределах примерно между 140°C и примерно 180°C, наиболее предпочтительно, примерно от 150°C примерно до 170°C.
Кристаллизованный продукт 160 из зоны 120 кристаллизации удаляют посредством линии 160. Как правило, кристаллизованный продукт 160 затем вводят непосредственно в емкость и охлаждают с образованием охлажденной суспензии 210 очищенной карбоновой кислоты. Когда карбоновая кислота представляет собой терефталевую кислоту, охлажденную суспензию 210 кристаллизованной очищенной карбоновой кислоты охлаждают в емкости, как правило, до температуры приблизительно 90°C или меньше, перед введением в процесс для извлечения терефталевой кислоты в виде сухого порошка или влажной лепешки.
Стадия (d) включает в себя охлаждение кристаллизованного продукта в зоне 200 охлаждения с образованием охлажденной суспензии 210 очищенной карбоновой кислоты.
Кристаллизованный продукт 160 удаляют из зоны 120 кристаллизации через линию 160. Кристаллизованный продукт 160 вводят в зону 200 охлаждения и охлаждают до температуры, меньшей примерно 90°C, с образованием охлажденной суспензии 210 очищенной карбоновой кислоты. Охлаждение суспензии очищенной карбоновой кислоты может осуществляться с помощью любых средств, известных в данной области, как правило, зона 200 охлаждения содержит испарительный танк.
Стадия (e) включает в себя фильтрование и необязательную сушку охлажденной суспензии 210 очищенной карбоновой кислоты в зоне 220 фильтрования и сушки, для удаления части растворителя из охлажденной суспензии 210 очищенной карбоновой кислоты, с получением продукта 230 – очищенной карбоновой кислоты.
Охлажденную суспензию 210 очищенной карбоновой кислоты удаляют из зоны 200 охлаждения и вводят в зону 220 фильтрования и сушки. Часть растворителя и остающегося катализатора и примесей отделяют, и продукт очищенной карбоновой кислоты удаляют посредством линии 230.
Зона 220 фильтрования и сушки содержит фильтр, пригодный для извлечения твердой карбоновой кислоты, и сушилку. Фильтрование может осуществляться с помощью любых средств, известных в данной области. Например, для фильтрования может использоваться роторный вакуумный фильтр, с получением отфильтрованной лепешки. Отфильтрованная лепешка проходит через стадию начального удаления растворителя, затем промывается с помощью промывочной кислоты, чтобы удалить остаток катализатора, а затем растворитель вновь удаляют перед направлением в сушилки. Сушка лепешки на фильтре может осуществляться с помощью любых средств, известных в данной области, которые способны выпарить, по меньшей мере, 10% летучих веществ, остающихся в лепешке, на фильтре, с получением продукта – карбоновой кислоты. Например, может использоваться сушилка Single Shaft Porcupine® Processor.
Продукт 230 – очищенная карбоновая кислота имеет значение b*, меньшее чем примерно 4,5. Предпочтительно, показатель цвета b* очищенной карбоновой кислоты (продукта) 230 является меньшим, чем примерно 3,5. Наиболее предпочтительно, показатель цвета b* продукта 230, т.е. очищенной карбоновой кислоты, является меньшим, чем примерно 3. Показатель цвета b* представляет собой одну из трех цветовых характеристик, измеряемых на спектроскопическом инструменте, основанном на измерении коэффициента отражения. Цвет может измеряться с помощью любого устройства, известного в данной области. Измерительное устройство, как правило, представляет собой инструмент Hunter Ultrascan XE в режиме измерения коэффициента отражения.
Положительные регистрируемые значения означают уровень желтого (или коэффициент поглощения голубого), в то время как отрицательные регистрируемые значения означают уровень голубого (или коэффициент поглощения желтого).
Необходимо заметить, что описанные ранее зоны процесса могут быть использованы для получения продукта – очищенной карбоновой кислоты в любом другом логическом порядке. Необходимо также заметить, что, когда зоны процесса располагаются в другом порядке, условия процесса могут изменяться.
В другом варианте осуществления настоящего изобретения каждый вариант осуществления может необязательно содержать дополнительную стадию, включающую в себя обесцвечивание карбоновой кислоты или эстерифицированной карбоновой кислоты посредством гидрирования.
Обесцвечивание суспензии очищенной карбоновой кислоты или эстерифицированной карбоновой кислоты может осуществляться с помощью любых средств, известных в данной области, и не ограничивается гидрированием. Однако, например, в одном из вариантов осуществления настоящего изобретения обесцвечивание может осуществляться посредством взаимодействия карбоновой кислоты, которая была подвергнута обработке эстерификацией, например, с помощью этиленгликоля, с молекулярным водородом, в присутствии катализатора гидрирования, в зоне реактора, с получением раствора обесцвеченной карбоновой кислоты или обесцвеченного сложноэфирного продукта. Для зоны реактора не существует каких-либо конкретных ограничений на его форму или конструкцию, при условии использования структуры, которая дает возможность подачи водорода при осуществлении тесного контакта карбоновой кислоты или сложноэфирного продукта с катализатором в зоне реактора. Как правило, катализатор гидрирования обычно представляет собой отдельный металл Группы VIII или сочетание металлов Группы VIII. Предпочтительно, катализатор выбирают из группы, состоящей из палладия, рутения, родия и их сочетаний. Зона реактора содержит реактор гидрирования, который работает при температуре и давлении, достаточных для гидрирования части соединений характерного желтого цвета до их бесцветных производных.
Примеры
Настоящее изобретение будет далее иллюстрироваться с помощью следующего далее примера его предпочтительных вариантов осуществления, хотя будет понятно, что эти примеры включаются только для целей иллюстрации и не предназначаются для ограничения рамок настоящего изобретения, если только специально не указано иное.
Пример
Параксилол окисляют при 160°C с использованием каталитической системы Co, Mn, Br, с получением суспензии сырой терефталевой кислоты, имеющей 30-35% твердых продуктов. Суспензию сырой терефталевой кислоты кристаллизуют и очищают с использованием способа, показанного на чертеже, за исключением стадии гидрирования, и кристаллизованный продукт из зоны 120 кристаллизации переносят непосредственно в испарительный танк. Продукт удаляют после фильтрования и сушки и анализируют на 4-карбоксибензальдегид (4-CBA), тримеллитовую кислоту (TMA) и 2,6-дикарбоксифлуоренон (2,6-DCF), коэффициент пропускания и b*. b* представляет собой одну из трех цветовых характеристик, измеряемых на спектроскопическом инструменте, на основе измерения коэффициента отражения. Измерительное устройство, как правило, представляет собой инструмент Hunter Ultrascan XE. Положительные регистрируемые значения означают уровень желтого (или коэффициент поглощения голубого), в то время как отрицательные регистрируемые значения обозначают уровень голубого (или коэффициент поглощения желтого).
Концентрации 4-CBA, TMA, 2,6-DCF в терефталевой кислоте анализируют посредством жидкостной хроматографии. Для определения коэффициента пропускания измеряют 10% раствор продукта терефталевой кислоты в 2M KOH, с использованием спектрометра в УФ и видимой области, на 340 нм. b* терефталевой кислоты измеряют с использованием метода отражения цветов на 340 нм. Результаты представлены в таблице.
Таблица
| Пр. № |
4-CBA1 (м.д.) |
TMA2 (м.д.) |
2,6-DCF3 (м.д.) |
%T4 |
b*5 |
| 1 |
103 |
51 |
10 |
89 |
4,1 |
Количество 4-CBA, присутствующее в продукте – очищенной терефталевой кислоте, полученной с помощью способа по настоящему изобретению, значительно понижается по сравнению с типичными уровнями, обнаруженными в суспензии сырой карбоновой кислоты. Типичные уровни не измеряются в настоящем исследовании, но эти уровни известны специалистам в данной области и являются примерно такими, как описывалось ранее, при этом суспензия сырой карбоновой кислоты, содержащая терефталевую кислоту, как правило, содержит, по массе, примерно от 800 до 7000 миллионных долей (м.д.) 4-карбоксибензальдегида. % пропускания продукта очищенной терефталевой кислоты оказывает прямое воздействие на цвет производимого полиэтилентерефталата (PET). Желаемая PTA (очищенная терефталевая кислота) является белой (что упоминается как наличие слабой окраски). Более высокий % прохождения указывает на более слабую окраску PTA. Уровень улучшения во всех измеренных категориях является особенно неожиданным, если учесть простоту центрифугирования в зоне разделения твердого продукта и жидкости и то, что стадия гидрирования не осуществляется. В прошлом сравнимые уровни чистоты достигались, как правило, посредством использования установки для гидрирования, которая содержит многочисленные ступени и единицы оборудования, и значительных капиталовложений.
Настоящее изобретение подробно описывалось с конкретными ссылками на его предпочтительные варианты осуществления, но будет понятно, что вариации и модификации могут быть осуществлены в пределах сути и объема настоящего изобретения.
Формула изобретения
1. Способ получения продукта – очищенной карбоновой кислоты, включающий в себя:
(а) окисление ароматических исходных материалов в зоне первичного окисления с образованием суспензии сырой карбоновой кислоты, где суспензия сырой карбоновой кислоты содержит терефталевую кислоту, где указанное окисление осуществляют при в пределах от 120 до 200°С;
(b) удаление примесей из сырой суспензии карбоновой кислоты, отведенной при температуре от 140 до 170°С со стадии окисления параксилола в зоне первичного окисления и содержащей терефталевую кислоту, катализатор, уксусную кислоту и примеси, осуществляемое в зоне разделения твердых продуктов и жидкости с образованием потока маточной жидкости и продукта в виде суспензии, где часть указанного катализатора в указанной суспензии сырой карбоновой кислоты удаляется в указанном потоке маточной жидкости, и где в указанную зону разделения твердых продуктов и жидкости необязательно добавляется дополнительный растворитель;
(c) окисление указанного продукта в виде суспензии в зоне последующего окисления с образованием продукта последующего окисления, где указанное окисление осуществляется при температуре от 190 до 280°С и где указанное окисление происходит в указанной зоне последующего окисления при температуре более высокой, чем в указанной зоне первичного окисления;
(d) кристаллизацию указанного продукта последующего окисления в зоне кристаллизации с образованием кристаллизованного продукта в форме суспензии;
(e) охлаждение указанного кристаллизованного продукта в форме суспензии в зоне охлаждения с образованием охлажденной суспензии очищенной карбоновой кислоты и
(f) фильтрование и необязательную сушку указанной охлажденной суспензии очищенной карбоновой кислоты в зоне фильтрования и сушки для удаления из указанной охлажденной суспензии карбоновой кислоты части растворителя с получением указанного продукта – очищенной карбоновой кислоты.
2. Способ по п.1, дополнительно включающий в себя обесцвечивание указанной суспензии очищенной карбоновой кислоты или эстерифицированной карбоновой кислоты в зоне реактора.
3. Способ по п.2, в котором указанное обесцвечивание осуществляют посредством взаимодействия раствора указанной сырой карбоновой кислоты с водородом в присутствии катализатора гидрирования в зоне реактора с получением обесцвеченного раствора карбоновой кислоты.
4. Способ по п.1, в котором указанная зона разделения твердых продуктов и жидкости содержит сепаратор для твердых продуктов и жидкости, который работает при температуре от 50 до 200°С.
5. Способ по п.1, в котором указанный продукт очищенной суспензии имеет значение b*, меньшее 4,5.
6. Способ по п.1, в котором указанный катализатор содержит соединения кобальта, марганца и брома.
7. Способ по п.6, в котором кобальт и марганец, вместе взятые, присутствуют в суспензии сырой карбоновой кислоты в концентрации от 1050 до 2700 ч/млн массовых, а бром может находиться в суспензии сырой карбоновой кислоты в концентрации от 1000 до 2500 ч/млн. массовых.
8. Способ по п.1, в котором указанная суспензия сырой карбоновой кислоты содержит терефталевую кислоту.
РИСУНКИ
|
|