|
|
(21), (22) Заявка: 2007120233/03, 30.05.2007
(24) Дата начала отсчета срока действия патента:
30.05.2007
(46) Опубликовано: 20.12.2008
(56) Список документов, цитированных в отчете о поиске:
SU 1694502 Al, 14.11.1989. RU 2073659 C1, 20.02.1997.
Адрес для переписки:
350040, г.Краснодар, ул. Ставропольская, 149, Кубанский государственный университет, отдел интеллектуальной собственности
|
(72) Автор(ы):
Яковенко Николай Андреевич (RU), Никитин Валерий Александрович (RU), Никитин Александр Валериевич (RU)
(73) Патентообладатель(и):
ГОСУДАРСТВЕННОЕ ОБРАЗОВАТЕЛЬНОЕ УЧРЕЖДЕНИЕ ВЫСШЕГО ПРОФЕССИОНАЛЬНОГО ОБРАЗОВАНИЯ “КУБАНСКИЙ ГОСУДАРСТВЕННЫЙ УНИВЕРСИТЕТ” (КубГУ) (RU)
|
(54) СПОСОБ ИЗГОТОВЛЕНИЯ ИНТЕГРАЛЬНЫХ МИКРОЛИНЗ
(57) Реферат:
Изобретение относится к интегральной оптике, а именно к способам обработки стекла. Технической задачей изобретения является изготовление микролинз, имеющих различный показатель преломления в области диффузии, а следовательно, и различные соотношения между фокусным расстоянием и диаметром формируемых микролинз. Электростимулированную миграцию ионов серебра в стеклянную пластинку осуществляют из анода, выполненного в виде капилляра, заполненного расплавом солей, содержащих ионы серебра, с погруженным в него положительным электродом, и имеющего контакт с поверхностью стеклянной пластинки. 1 ил.
Изобретение относится к интегральной оптике, а именно к способам обработки стекла.
Известен способ изготовления интегральных микролинз, основанный на диффузии высокопреломляющих. ионов в стекле, стимулированной внешним электрическим полем (А.С. СССР №1694502, МПК (5) С03С 21/00). Согласно этому способу на одной из поверхностей стеклянной подложки на местах будущих микролинз формируют алюминиевые диски диаметром, составляющим 0,1-0,2 диаметра изготавливаемых микролинз, а на противоположную сторону стеклянной подложки наносят сплошной слой алюминия, выполняющий в дальнейшем роль катода. В поверхность подложки осуществляют электростимулированную диффузию ионов рубидия из расплава нитрата рубидия, анод при этом погружен непосредственно в расплав. Затем алюминиевые диски удаляют и в стеклянную подложку внедряют ионы серебра из расплава нитрата серебра под действием внешнего стимулирующего поля.
Недостатком этого способа является его сложность, обусловленная вакуумным нанесением металлического катода и маскирующего слоя, в котором с помощью фотолитографии формируют алюминиевые диски диаметром, составляющим 0,1-0,2 диаметра изготавливаемых микролинз, а также использование в процессе изготовления двух различных расплавов солей.
Наиболее близким аналогом является способ изготовления микролинз, включающий соприкосновение одной из плоскостей стеклянной пластинки с расплавом соли, в который погружен платиновый электрод, выполняющий роль катода (патент Российской Федерации №2073659, МПК (6) С03С 21/00). Анодом и источником ионов серебра является серебряная игла, острие которой располагают на противоположной плоскости стеклянной пластинки. После приложения внешнего стимулирующего электрического поля ионы серебра диффундируют с острия серебряной иглы в поверхность стеклянной пластинки, вызывая увеличение показателя преломления стекла. Область диффузии с повышенным показателем преломления, имеющая форму полусферы, фактически является микролинзой.
Недостатком этого способа является невозможность изготовления микролинз с различным показателем преломления на одной пластинке. Микролинзы, получаемые этим способом, имеют одно и то же соотношение между фокусным расстоянием и их диаметром, что обусловлено максимальным показателем преломления в области диффузии, который можно получить в данном стекле, внедряя ионы серебра.
Технической задачей изобретения является создание микролинз, имеющих различный показатель преломления в области диффузии, а следовательно, и различные соотношения между фокусным расстоянием и диаметром формируемых микролинз.
Для решения технической задачи предлагается электростимулированную миграцию ионов серебра в стеклянную пластинку осуществлять из анода, выполненного в виде капилляра, заполненного расплавом солей, содержащих ионы серебра, с погруженным в него положительным электродом, и имеющего контакт с поверхностью стеклянной пластинки. Поскольку расплав солей, заполняющий капилляр, может содержать различное количество ионов серебра, то получаемые микролинзы будут иметь различный показатель преломления, что приведет к формированию микролинз с различным соотношением между фокусным расстоянием и диаметром формируемых микролинз.
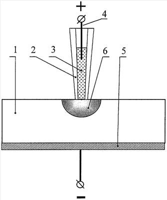
На чертеже представлена схема изготовления интегральных микролинз.
Для осуществления способа на одной из поверхностей стеклянной пластинки 1 располагают капилляр 2, заполненный расплавом солей 3, ионы которых, проникая в стеклянную подложку, приводят к увеличению показателя преломления. Внутри капилляра 2 в контакте с расплавом солей 3 находится электрод 4, на который подается положительный потенциал. На противоположную поверхность стеклянной пластинки 1 наносят алюминиевый слой 5, играющий роль тонкопленочного катода.
Внешнее электрическое поле, стимулирующее процесс внедрения ионов в стеклянную пластинку 1, прикладывают между электродом 4, погруженным в расплав солей 3, находящимся в капилляре 2, и алюминиевым слоем 5, расположенным на противоположной стороне стеклянной пластинки 1.
При подаче напряжения на электроды 4 и 5 в стеклянной пластинке 1 возникает электрическое поле, стимулирующее процесс внедрения ионов из расплава солей 3 в стеклянную пластинку 1. В процессе электростимулированной миграции ионов из расплава солей 3 в стеклянной пластинке 1 у капилляра 2 формируется область полусферической формы с повышенным показателем преломления, являющаяся микролинзой 6.
Пример. Для получения интегральной микролинзы 6 в качестве пластинки 1 использовали оптическое стекло К8, на одной из сторон которой размещали капилляр 2, заполненный расплавом солей AgNO3 и NaNO3 3, взятых в отношении 1:10 (моль). Противоположная сторона стеклянной пластинки 1 при этом была покрыта тонким алюминиевым слоем 4, игравшим роль катода. Анодом 4 служила платиновая проволока, погруженная в расплав солей 3. Стеклянная пластинка 1 с капилляром 2 нагревалась до 380°С. Стимулирующее напряжение составляло 30 В. Время изготовления интегральной микролинзы 6-30 мин. В результате электростимулированной миграции ионов из расплава солей 3 в стеклянной пластинке 1 была получена область с повышенным показателем преломления, имеющая полусферическую форму и повышенный показатель преломления – интегральная микролинза 6.
Отличительным и существенным признаком заявляемого способа является то, что анод выполнен в виде капилляра, заполненного расплавом солей, содержащих ионы серебра, с погруженным в него положительным электродом, что позволяет изготавливать на одной стеклянной пластинке микролинзы, имеющие различный показатель преломления в области диффузии, а следовательно, и различные соотношения между фокусным расстоянием и диаметром формируемых микролинз.
Формула изобретения
Способ изготовления интегральных микролинз, включающий электростимулированную миграцию ионов серебра в стеклянную пластинку, отличающийся тем, что анод выполнен в виде капилляра, заполненного расплавом солей, содержащих ионы серебра, с погруженным в него положительным электродом.
РИСУНКИ
|
|