|
|
(21), (22) Заявка: 2007112872/15, 30.03.2007
(24) Дата начала отсчета срока действия патента:
30.03.2007
(46) Опубликовано: 20.12.2008
(56) Список документов, цитированных в отчете о поиске:
RU 2234457 С2, 20.08.2004. RU 2085484 С1, 27.07.1997. RU 98105520 А, 27.01.2000. RU 2184700 С2, 10.07.2002. RU 39129 U1, 20.07.2004. US 5227038 A, 13.07.1993. US 5316636 A, 31.05.1994. US 5493094 A, 20.02.1996. US 5587141 A, 24.12.1996. US 6902655 B2, 07.06.2005. US 7125525 B2, 24.10.2006. US 20050019245 A1, 27.01.2005. JP 05-009013 A, 19.01.1993.
Адрес для переписки:
194021, Санкт-Петербург, ул. Политехническая, 26, ФТИ им. А.Ф. Иоффе РАН, патентно-лицензионная служба, В.И. Белову
|
(72) Автор(ы):
Болстрен Николай Николаевич (RU), Басаргин Игорь Владимирович (RU), Богданов Александр Алексеевич (RU), Седов Анатолий Иванович (RU), Филиппов Борис Михайлович (RU)
(73) Патентообладатель(и):
Общество с ограниченной ответственностью “Научно-производственная компания “НеоТекПродакт” (RU)
|
(54) СПОСОБ ПРОИЗВОДСТВА ФУЛЛЕРЕНСОДЕРЖАЩЕЙ САЖИ И УСТРОЙСТВО ДЛЯ ЕГО ОСУЩЕСТВЛЕНИЯ
(57) Реферат:
Изобретение может быть использовано в химии, физике, энергетике, электронике, биологии, медицине. В горизонтальной цилиндрической герметичной разрядной камере 1, снабженной сборником остатков, размещают соосные графитовые электроды 2 и 3, установленные в охлаждаемых токовводах 8, 9. Фуллеренсодержащую сажу получают в электрической дуге между электродами 2, 3. По меньшей мере один из электродов 2, 3 установлен с возможностью осевого возвратно-поступательного перемещения. Система 10 циркуляции инертного газа, создающая два закрученных кольцевых потока для отвода образующихся продуктов, содержит по меньшей мере два сопла, установленных у торцовых стенок разрядной камеры 1 по касательной к ее боковой стенке и лежащих в плоскостях, перпендикулярных оси электродов 2, 3. Средство 14 улавливания фуллеренсодержащей сажи выполнено в виде по меньшей мере одного циклона 15, 16 или 17 с танценциальным вводом газа. Повышается производительность по саже и фуллеренам при минимальных затратах энергии, исключается срыв дуги и прожигание стенки разрядной камеры, 2 н. и 21 з.п. ф-лы, 11 ил.
Изобретение относится к производству фуллеренсодержащей сажи – продукта, содержащего новую форму элемента углерода, представляющую собой электронодефицитный суперапкен со слабосопряженными двойными связями, в том числе соединения со строго определенным молекулярным, а не только кристаллическим строением, в том числе супералкены с замкнутой структурой – фуллерены, которые находят применение в химии, физике, технике, энергетике, электронике, биологии, медицине и других областях.
Фуллеренсодержащую сажу получают различными способами, например испарением графита, пиролизом углеводородов, однако не все способы могут быть использованы для промышленного производства из-за непроизводительных расходов сырья, низкого выхода целевых продуктов и трудностей масштабирования.
Известен способ получения фуллеренов (см. патент US 5275705, МПК С01В 31/00, опубликован 04.01.1994), преимущественно высших, включающий нагрев в электрической дуге аморфного углерода с плотностью <0,7 г/см3, например, в виде стержня в инертной атмосфере.
Недостатками известного способа являются большие потери углерода на образование катодного депозита, низкий выход фуллеренов и трудность получения углерода низкой плотности с хорошими электрическими и термическим характеристиками.
Известно устройство для производства фуллеренсодержащей сажи (см. патент RU 2085484, МПК, опубликован 27.07.1997), включающее эмиттер, установленный с возможностью перемещения внутри вакуумного сосуда, систему нагрева эмиттера, а также сборники сажи и коллекторы для разделения фуллеренов.
Недостатками указанного устройства являются отсутствие возможности удаления сажи, из-за испарения в вакууме не содержащей фуллеренов, в ходе процесса и прекращение процесса из-за заполнения реактора сажей.
Известен способ производства фуллеренов (см. патент US 5316636, МПК С01В 31/02, опубликован 31.05.1994), включающий испарение углеродной мишени электронным пучком в вакууме и осаждение потока углеродных атомов или кластеров на электрически заряженной или нейтральной поверхности.
Недостатками указанного способа являются неполное испарение мишени, низкий выход фуллеренов при испарении углерода в вакууме, большие потери энергии при испарении и периодичность производства.
Известно устройство для получения фуллеренсодержащей сажи (см. патент RU 2184700, МПК С01В 31/02, опубликован 10.07.2002), включающее корпус, содержащий рабочую камеру, соединенную с каналом для отвода продукта, средство для подачи углеродсодержащего материала и блок управления процессом. Корпус снабжен тонкостенным цилиндром в виде стакана, размещенным в рабочей камере, днище которого имеет отверстие, соединенное с полым конусом для отвода и сбора фуллеренсодержащего материала. В основании цилиндра установлен подшипниковый узел, имеющий дистанционный магнитный привод в виде обкладок электромагнитов, закрепленных снаружи стенок корпуса. Средство подачи углеродсодержащего материала приспособлено для его подачи порциями и выполнено в виде магазина-держателя с гнездами для графитовых стержней, расположенными по его окружности, с возможностью его осевого вращения и оборудовано узлом зажима и фиксации графитовых стержней в рабочей камере. Полость конуса оснащена фильтром для отлавливания и аккумулирования частиц фуллеренов. Узел зажима и фиксирования графитовых стержней выполнен в виде винтовых подпружиненных захватов и продольных кольцевых направляющих. Отлавливание и накопление частиц фуллеренов осуществляют за счет расположения фильтра в полости цилиндра и конуса; в качестве материала фильтра берут многослойную мелкоячеистую сетку с прослойками фольги, имеющей поры.
Недостатками указанного устройства являются усложненная конструкция устройства для улавливания сажи, необходимость высокой скорости вращения изготовленного из керамики цилиндра для отжимания фуллеренсодержащей сажи к стенкам цилиндра, нестационарная скорость инертного газа из-за забивания фильтра мелкодисперсной (размер частиц 40-50 нм) сажей и, как следствие, неработоспособность, а также ограниченный запас графитовых стержней и отсутствие узла их дегазации.
Известен способ производства фуллеренсодержащей сажи (см. патент US 5587141, МПК B01J 19/24, опубликован 24.12.1996), включающий электродуговой разряд постоянного тока между углеродным анодом и катодом в герметичном реакторе с инертной атмосферой, перемещение псевдоожиженной сажи из реактора отдельным потоком инертного газа.
Недостатками указанного способа являются большие потери углерода на образование депозита на катоде, невозможность осуществления непрерывного процесса и необходимость подачи отдельного потока инертного газа.
Известно устройство для получения фуллеренсодержащей сажи (см. заявку RU 98105520, МПК С01В 31/02, опубликована 27.01.2000), содержащее источник электрического тока, полюса которого соединены с первым и вторым электрическими вводами с закрепленными в них электродами, один из которых выполнен из углеродсодержащего материала, например графита, а также охлаждаемую первую герметичную камеру, соединенную с помощью первого газохода с вакуумным насосом и с помощью второго – с блоком подачи инертного газа в герметичную камеру. В стенке камеры с внутренней стороны установлен вакуумно-плотный первый электрический ввод с электродом в виде стержня, напротив которого, соосно с ним, на стенке герметичной камеры установлен второй электрический ввод с электродом в виде стержня, закрепленный в вакуумном уплотнении, установленном на стенке герметичной камеры. Стержни установлены торцами навстречу друг другу, а второй электрический ввод имеет возможность перемещения вдоль своей геометрической оси относительно первого электрического ввода с электродом. С внешней стороны герметичной камеры второй электрический ввод соединен с блоком его перемещения вдоль своей оси при сохранении разрядного промежутка между стержнями. Герметичная камера выполнена в виде полого тела с отношением ширины полости к ее длине, равным 0,02-1,0, причем первый электрический ввод соединен с положительным полюсом источника электрического тока, отрицательный полюс которого соединен со вторым электрическим вводом, а первый и второй электрические вводы со стержнями установлены вдоль длины полости в герметичной камере.
В известном устройстве необходимо прерывать процесс для выведения сажи из реактора и удаления остатков электродов. К недостаткам устройства следует также отнести большие потери испаренного углерода (до 50%) на образование катодного депозита на одном из электродов и низкий выход фуллеренов при использовании катализаторов.
Известен способ производства фуллеренов (см. патент US 5227038, МПК С01В 31/02, С01В 31/00, опубликован 13.07.1993), включающий генерацию углеродного пара в зоне, включающей первый электрод и второй электрод, на один из которых подается напряжение, достаточное для поддержания дуги между ними в атмосфере, способствующей образованию молекул фуллеренов (предпочтительно гелий при давлении 10-700 Торр); обеспечение источника углерода в непосредственной близости к дуге для его нагрева дугой; превращение углеродного пара в фуллерен в зоне конденсации, где углеродный пар конденсируется в твердую углеродную сажу; отделение фуллеренов от углеродной сажи. До прохождения в зону конденсации углеродный пар может быть пропущен через зону роста и отжига. Инертный газ может быть отделен в зоне конденсации и возвращен в зону генерации углеродного пара.
Недостатками известного способа являются наличие зоны роста и отжига, в которой при высокой температуре фуллерены разрушаются, необходимость хранения углерода в непосредственной близости к дуге для его нагрева дугой, что вызывает дегазацию графита, загрязнение инертного газа, снижение выхода фуллеренов и потери углерода на образование катодного депозита. Наличие циркуляции загрязненного (после нагрева, дегазации и испарения углерода) инертного газа без очистки также вызывают нарастающее загрязнение инертного газа и уменьшение выхода фуллеренов.
Известно устройство для производства фуллеренсодержащей сажи (см. патент на полезную модель RU 39129, МПК С01В 31/00, опубликован 20.07.2004), включающее плазменный реактор в виде герметичной цилиндрической камеры с размещенными по оси камеры двумя графитовыми стержневыми электродами – анодом и катодом, закрепленными в охлаждаемых токоподводах, при этом анод снабжен средством осевого перемещения, реактор снабжен средством для подачи инертного газа и закручивания потока коаксиально оси электродов, которое может быть выполнено с обеспечением возможности подвода инертного газа со стороны катода в виде патрубка, ориентированного тангенциально к боковой поверхности камеры или в виде сопла, которые обеспечивают закручивание газового потока вдоль оси электродов. Установка может быть снабжена емкостью для сбора шлаков, сообщающейся с нижней частью камеры, и устройством контроля величины зазора между электродами, а средство осевого перемещения анода выполнено с обеспечением возможности регулирования скорости его перемещения с сохранением постоянства зазора между электродами. Катод может быть снабжен средством реверсивного вращения относительно оси.
Недостатками известного технического решения являются необоснованное усложнение конструкции различными воздействиями на дугу и реакционный объем, возможность прожигания камеры в результате экстремальных воздействий (особенно на пике нагрузок), невозможность удаления образующегося катодного депозита без остановки процесса, изменение геометрического положения дуги, возможность срыва дуги закрученным потоком инертного газа и, как следствие, нестационарный характер процесса и невысокий выход фуллеренов в указанном устройстве.
Известен способ производства фуллеренсодержащей сажи (см. патент DE 4129718, МПК С01В 31/02, опубликован 11.03.1993), осуществляемый в металлическом сосуде, снабженном графитовыми анодом и катодом из двух различных сортов графита, который вакуумируют до 10-2 Торр и пропускают оксид углерода СО (CO2, О2 или их смесь) с объемной скоростью 0,5 л/ч при давлении 150 Торр, поджигают между электродами электродуговой разряд на постоянном токе при 120 А, 43 В и межэлектродном расстоянии 1-10 мм, продвигая испаряемый анод.
Недостатками указанного способа являются невозможность получения фуллеренов в атмосфере кислорода или диоксида углерода из-за окисления графита или реакции Будуара при температуре дуги, низкий выход сажи и высокие потери графита на осаждение катодного депозита (до 30%), загрязнение атмосферы токсичным оксидом углерода.
Известно устройство для производства нанотрубок, фуллеренов и их производных (см. патент US 7125525, МПК B01J 19/08, опубликован 24.10.2006), включающее вакуумный реактор, снабженный патрубками входа и вакуумирования; графитовый электрод, установленный в вакуумном реакторе; средства для испарения указанного электрода и одновременно формирования высокотемпературной плазмы вокруг указанного графитового электрода, которые содержат катушку индуктивности, установленную внутри вакуумного реактора, и генератор мощности, связанный с ней и предназначенный для создания высокочастотного электромагнитного поля с вихревыми потоками; источник инертного газа, установленный так, чтобы газ обтекал вокруг катушки индуктивности и графитового электрода.
Недостатками известного устройства являются сложность практической реализации, связанная с наличием катушки индуктивности внутри вакуумного реактора, т.е. в зоне процесса, и затрудненностью ее функционирования при образовании сажи, а также невозможность выведения из реакционного объема остатков электродов.
Известен способ производства углеродных наноструктур (см. патент US 6902655, МПК B01J 19/08, опубликован 07.05.2005), включающий создание напряжения между двумя противоположными электродами, создание разрядной плазмы в разрядном пространстве между электродами и создание магнитного поля, разнонаправленные линии которого пересекают направление подачи напряжения.
Недостатками известного способа являются невозможность введения новых электродов взамен испаренных в процессе работы, необходимость прерывания процесса для выведения сажи из реактора и удаления остатков электродов, большие потери испаренного углерода (до 50%) на образование катодного депозита на одном из электродов и низкий выход фуллеренов при использовании катализаторов.
Известно устройство для производства углеродных наноструктур (см. патент US 6902655, МПК B01J 19/08, опубликован 07.05.2005), состоящее из двух противоположных электродов, узла для создания напряжения между ними и узла для создания магнитного поля, разнонаправленные линии которого пересекают направление подачи напряжения.
Недостатками указанного устройства являются необходимость прерывания его работы для установки новых электродов взамен испаренных, удаления сажи и остатков электродов из реактора, осаждение на одном из электродов катодного депозита (до 50% от испаренного углерода) и низкий выход фуллеренов при использовании катализаторов.
Известен способ производства фуллеренсодержащей сажи (см. патент US 6358375, МПК Н05Н 1/42, опубликован 20.07.2004), включающий превращение углерода в плазменном реакторе, снабженном двумя или более электродами, направление реакционной смеси в обогреваемый сепаратор для отделения нелетучих составляющих и затем в охлаждаемый сепаратор.
Недостатками известного способа являются отсутствие дегазации электродов, осаждение большого количества сажи в реакторе и необходимость остановки процесса для замены испаренных электродов.
Известно устройство для производства фуллеренсодержащей сажи (см. патент US 6358375, МПК Н05Н 1/42, опубликован 20.07.2004), включающее плазменный реактор и расположенные последовательно нисходящие обогреваемый и охлаждаемый сепараторы.
Недостатками указанного устройства являются отсутствие дегазации электродов, осаждение на неподвижном электроде катодного депозита (потери испаренного углерода до 50%), осаждение большого количества сажи в реакторе, необходимость остановки устройства для замены испаренных электродов.
Известен способ производства углеродных нанотрубок и фуллеренов (см. заявку US 20050019245, МПК D01F 9/12, опубликован 27.01.2005), в котором создают зону генерации паров в атмосфере инертного газа путем дугового разряда постоянного тока между двумя графитовыми электродами, один из которых является подвижным расходуемым анодом, а другой представляет собой неподвижный нерасходуемый катод. Во время генерации паров поддерживают оптимальную температуру поверхности конца анода для подавления образования больших углеродных кластеров и частиц микрокристаллического углерода в зоне генерации паров. Поддерживают оптимальную концентрацию паров углерода и катализатора в зоне генерации паров для достижения оптимального выхода углеродных нанотрубок и фуллеренов. Предусмотрена автоматическая непрерывная подача подвижного анода в зону генерации паров; автоматическая непрерывная подача катализатора синтеза углеродных нанотрубок, в виде металлической проволоки или тонкого металлического порошка, в зону генерации паров через центральное отверстие в теле катода. Вне зоны генерации образуется конденсат паров, содержащий фуллереновые углеродные нанотрубки и фуллерены вне зоны генерации. Конденсат паров переносится потоком инертного газа, далее их охлаждают, фильтруют, собирают в накопительном бункере, из которого автоматически удаляют конденсат паров и извлекают из него углеродные нанотрубки и фуллерены, а инертный газ повторно используют.
Недостатками известного способа являются отсутствие предварительной дегазации анода, загрязнение инертного газа из-за отсутствия его очистки в ходе циркуляции; неуправляемое осаждение катодного депозита на неподвижном катоде; низкий выход фуллеренов (более высокий выход нанотрубок) при использовании катализаторов, накопление в реакционном объеме остатков электродов.
Известно устройство для непрерывного получения углеродных нанотрубок и фуллеренов (см. заявку US 20050019245, МПК D01F 9/12, опубликована 27.01.2005), представляющее собой замкнутую систему и включающее герметичную водоохлаждаемую камеру, состоящую из секции дугового разряда с зоной генерации паров между двумя графитовыми электродами, секции подачи анода с устройством для автоматического соединения отдельных графитовых электродов и постепенной подачи их в зону генерации паров и секции подачи катализатора с устройством для непрерывной подачи катализатора через центральное отверстие в теле катода в зону генерации паров. Секция подачи анода включает сменный герметичный патрон, содержащий несколько графитовых электродов для обеспечения непрерывной работы. Секция подачи катализатора включает сменный герметичный патрон, содержащий катализатор в виде металлической проволоки или металлического порошка для обеспечения непрерывной работы устройства, Устройство также содержит средство для поддержания оптимальной температуры поверхности анода и оптимальной концентрации паров углерода в зоне генерации паров, содержащие по крайней мере одно газовое сопло и по крайней мере один газораспределитель, размещенные внутри секции дугового разряда герметичной камеры. Кроме того, устройство содержит средство для транспортировки газом конденсирующихся паров и рециркуляции инертного газа; теплообменник для поддержания постоянной температуры потока циркулирующего инертного газа, содержащий средства для непрерывной очистки внутренних стенок теплообменника от конденсирующихся паров; фильтр для отделения конденсирующихся паров от потока инертного газа, включающий в себя средства для автоматической самоочистки фильтра, а также накопительный бункер для отфильтрованного конденсата паров, включающий в себя устройство для автоматической выгрузки конденсата паров из накопительного бункера.
Недостатками указанного устройства являются отсутствие дегазации электродов, необходимость прерывания процесса для периодической очистки стенок теплообменника и удаления из реакционного объема остатков электродов, отсутствие автоматической самоочистки фильтра и невозможность удаления катодного депозита.
Наиболее близким по совокупности признаков к заявляемому изобретению в части способа является способ производства фуллеренсодержащей сажи (см. патент RU 2234457, МПК С01В 31/02, опубликован 10.06.2003), заключающийся в испарении графита в электрической дуге между коаксиальными графитовыми электродами, размещенными в атмосфере инертного газа, один из которых непрерывно перемещается в зону электрической дуги через зону тлеющего разряда. На перемещаемый в зону электрической дуги графитовый электрод подают электрическое напряжение попеременно положительной полярности в течение 2-15 мин и отрицательной полярности в течение 1-5 мин. Сформировавшиеся внутри дуги продукты удаляются оттуда кольцевым потоком инертного газа, направленным вдоль оси электродов через область, отстоящую на расстояние R 45 мм от оси электродов.
В известном способе-прототипе предусмотрена дополнительная операция дегазации электрода тлеющим разрядом. К недостаткам способа-прототипа относится осаждение катодного депозита на втором электроде, что вызывает разрушение материала при изменении полярности, относительно невысокую производительность по саже и фуллеренам при значительных затратах энергии, возможность срыва дуги потоком инертного газа и прожигание стенки разрядной камеры.
Наиболее близким по совокупности признаков к заявляемому изобретению в части устройства является устройство для получения фуллеренсодержащей сажи (см. RU 2234457, МПК С01В 31/02, опубликован 10.06.2003), включающее плазменный реактор в виде герметичной цилиндрической камеры с системой циркуляции инертного газа со средством улавливания фуллеренсодержащей сажи, с размещенными по оси камеры двумя графитовыми стержневыми электродами, один из которых неподвижно закреплен в охлаждаемом токовводе, а другой установлен во втором охлаждаемом токовводе с возможностью осевого поступательного перемещения. Реактор дополнительно снабжен камерой обезгаживания подвижного графитового электрода тлеющим разрядом, система циркуляции инертного газа снабжена кольцевым щелевым соплом, размещенным коаксиально электродам, а средство улавливания фуллеренсодержащей сажи снабжено электрофильтром, установленным на входе системы циркуляции инертного газа.
В известном устройстве-прототипе обеспечивается дегазация одного из электродов. К недостаткам устройства относится относительно невысокая производительность по саже и фуллеренам при значительных затратах энергии, возможность срыва дуги потоком инертного газа и прожигание стенки разрядной камеры.
Целью настоящего изобретения является разработка способа производства фуллеренсодержащей сажи и устройства для его осуществления, которые бы обеспечивали высокую производительность по саже и фуллеренам при минимальных затратах энергии, исключение срыва дуги и прожигания стенки разрядной камеры.
Настоящая цель решается группой изобретений, объединенных единым изобретательским замыслом.
В части способа производства поставленная задача достигается тем, что способ производства фуллеренсодержащей сажи включает испарение графита в электрической дуге между соосными графитовыми электродами в атмосфере инертного газа в цилиндрической разрядной камере. Перемещение образующихся в электрической дуге продуктов осуществляют двумя закрученными относительно электродов кольцевыми потоками инертного газа, равноудаленными от межэлектродного зазора и отстоящими на расстояние R>45 мм от оси упомянутых электродов. При этом поток газа оказывается симметричным относительно плоскости, перпендикулярной электродам и проходящей между электродами перпендикулярно их оси. Образовавшиеся продукты удаляют через область, противолежащую межэлектродному зазору, и далее осаждают продукты в виде фуллеренсодержащей сажи.
Газодинамика, наряду с величиной потока энергии, подаваемой в электрическую дугу, имеет определяющее значение для эффективности заявляемого способа производства фуллеренсодержащей сажи. При подаче инертного газа вдоль оси электродов или закручивании потока вокруг электродов, аналогично способу-прототипу, имеется опасность резкого уменьшения выхода фуллеренов, а также возможность срыва дуги закручиваемым потоком газа. Кроме того, часть закручиваемого потока захватывает генерируемый углеродный пар и отбрасывает к боковым стенкам камеры. Поток, направленный или закручиваемый вдоль оси электродов, перемещает пар и сажу к крышке камеры с вмонтированным токоподводом. Эти недостатки преодолены в заявляемом способе подачей инертного газа из боковой стенки по меньшей мере из двух точек по касательной с закручиванием потока с двух сторон области дуги. Генерируемый в электрической дуге углеродный пар захватывается потоком газа в области образования фуллеренов, т.е. в торе с радиусом, составляющим 8-10 радиусов электрода, и перемещается к расположенному против области дуги входу в систему улавливания.
Подавать по меньшей мере один из электродов в зону электрической дуги можно через зону тлеющего электрического разряда.
Испарение графита в электрической дуге предпочтительно вести при потоке энергии 120-180 Вт/мм2. При потоке энергии меньше 120 Вт/мм2 скорость испарения углерода и селективность процесса испарения по фуллеренам весьма низки. При потоке энергии больше 180 Вт/мм2 селективность процесса по фуллеренам снижается из-за увеличения выхода рентгеноаморфного углерода, одной из составляющих фуллеренсодержащей сажи (см. патент RU 2230611, МПК B01J 21/18, опубликован 20.06.2004).
На стенку разрядной камеры может быть подан потенциал положительной полярности U величиной 1-10 В.
При потенциале положительной полярности U меньше 1 В не наблюдается уменьшения адгезии электронодефицитной фуллеренсодержащей сажи к стенке камеры. Увеличение потенциала положительной полярности больше 10 В не приводит к заметному уменьшению адгезии фуллеренсодержащей сажи к стенке камеры.
Среднее межэлектродное расстояние L может быть 1,0-5,0 мм. При межэлектродном расстоянии L меньше 1,0 мм сажа содержит больше осколков электродов (графита) и возникает опасность пробоя (короткое замыкание), а при межэлектродном расстоянии L больше 5,0 мм возрастает выход аморфного углерода и уменьшается выход фуллеренов.
Можно оба электрода подавать в реактор через зону тлеющего электрического разряда.
По меньшей мере один из электродов можно вращать вокруг оси с угловой скоростью V, составляющей 0,2-3,0 об/мин. Вращение электрода со скоростью менее 0,2 оборота/мин технически затруднительно. При вращении электрода со скоростью больше 3 оборотов/мин катодный депозит утолщается на конце за счет центробежной силы и становится более рыхлым, что увеличивает потери графита на образование остатков при изменении полярности. Вращение электрода вокруг своей оси со скоростью 0,2-3 оборота/мин способствует равномерному осаждению катодного депозита и при изменении полярности не вызывает разрушения катода.
Испарение углеродсодержащего материала преимущественно ведут при давлении инертного газа 50-300 Торр.
Через 2-30 минут можно менять полярность напряжения на электродах, при этом в зону дуги подают электрод, к которому приложено напряжение положительной полярности. Экспериментально установлено, что существует режим, при котором дуговой разряд горит в течение до 30 минут без образования катодного депозита, обеспечивая в то же время высокий процент содержания фуллеренов в саже. Реальный уровень потерь углерода может не превышать в указанном режиме 3-5 вес.%. Смена полярности напряжения на электродах позволяет работать несколько суток в непрерывном режиме.
Осаждение фуллеренсодержащей сажи можно осуществлять воздействием центробежной силой по меньшей мере в одном циклоне.
В части устройства для производства фуллеренсодержащей сажи поставленная цель достигается тем, что устройство для производства фуллеренсодержащей сажи включает горизонтальную цилиндрическую герметичную разрядную камеру с размещенными по оси камеры двумя установленными в охлаждаемых токовводах графитовыми стержневыми электродами, систему циркуляции инертного газа со средством улавливания фуллеренсодержащей сажи. По меньшей мере один из электродов установлен с возможностью осевого возвратно-поступательного перемещения. Система циркуляции инертного газа снабжена по меньшей мере двумя соплами, установленными у торцовых стенок разрядной камеры по касательной к ее боковой стенке и лежащими в плоскостях, перпендикулярных оси электродов. Средство улавливания фуллеренсодержащей сажи выполнено в виде по меньшей мере одного циклона с тангенциальным вводом газа, установленного на входе системы циркуляции инертного газа, а разрядная камера снабжена сборником остатков.
Устройство может иметь по меньшей мере одну камеру обезгаживания тлеющим разрядом.
Система циркуляции инертного газа может быть снабжена двумя парами сопел, при этом упомянутые пары сопел отстоят друг от друга по окружности на 180°.
Стенки разрядной камеры могут быть выполнены охлаждаемыми, как и сборник остатков.
Сборник остатков может быть снабжен вакуумно-плотной заслонкой, что позволяет его разгружать без остановки устройства.
По меньшей мере один циклон может быть выполнен охлаждаемым (первый по ходу газа, который имеет высокую температуру на выходе из разрядной камеры).
Циклоны могут быть снабжены вакуумно-плотной заслонкой, что позволяет его разгружать без остановки устройства.
Разрядная камера может быть снабжена смотровым окном, расположенным напротив зоны электрической дуги.
Устройство может быть снабжено по меньшей мере одним устройством подачи графитового электрода в разрядную камеру для автоматизации работы устройства.
Камера обезгаживания также может быть снабжена на боковой поверхности смотровым окном.
Средство улавливания фуллеренсодержащей сажи может быть снабжено на выходе рукавным фильтром, для полного улавливания сажи при возможном проскоке ее через циклон при большой производительности установки.
Оба графитовых электрода могут быть установлены с возможностью осевого возвратно-поступательного перемещения.
Средство улавливания фуллеренсодержащей сажи может быть выполнено в виде двух или трех последовательно соединенных циклонов с тангенциальным вводом газа.
Горизонтальное расположение плазменной камеры реактора позволяет сочленить с реактором в области дуги сборник остатков, направленный вертикально вниз, что также увеличивает период работы устройства до его разгрузки.
Заявляемое изобретение поясняется чертежами, где
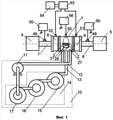
на фиг.1 показан общий вид устройства для производства фуллеренсодержащей сажи, вид сверху;
на фиг.2 показан вариант параллельного оси электродов потока газа в способе-прототипе;
на фиг.3 приведен вариант потока газа, закрученного вокруг электродов, в способе-прототипе;
на фиг.4 показан характер движения потока газа в заявляемом способе;
на фиг.5 дан продольный разрез разрядной камеры;
на фиг.6 показан разрез разрядной камеры по А-А;
на фиг.7 изображена одна из камер обезгаживания, вид сбоку в разрезе;
на фиг.8 показан вид сверху на камеру, изображенную на фиг.7.
на фиг.9 приведен вид циклона сбоку в разрезе;
на фиг.10 показан разрез циклона по В-В;
на фиг.11 приведена таблица с данными экспериментов, где – массовое содержание фуллеренов; разница до 100% относится к остаткам графита.
Устройство для производства фуллеренсодержащей сажи (см. фиг.1 и 5) включает горизонтальную цилиндрическую герметичную разрядную камеру 1, в которой по ее оси размещены два графитовых стержневых электрода 2, 3; узлы 4, 5 подачи графитовых электродов 2, 3; камеры 6, 7 обезгаживания тлеющим разрядом; охлаждаемые токовводы 8, 9; систему 10 циркуляции инертного газа (преимущественно гелия), включающую газовый нагнетатель 11 для создания потока инертного газа и подачи его в разрядную камеру 1, трубопровод 12, подводящий инертный газ, трубопровод 13, отводящий фуллереновую сажу и газ, и средство 14 улавливания фуллеренсодержащей сажи, например, в виде трех циклонов 15, 16 и 17 с тангенциальным вводом инертного газа, установленных на входе системы 10 циркуляции инертного газа. На выходе системы 14 может быть установлен известный рукавный фильтр (на чертеже не показан). Электроды 2, 3 установлены с возможностью осевого возвратно-поступательного перемещения, а могут также вращаться вокруг своей оси. Разрядная камера 1 (см. фиг.5 и 6) содержит корпус 18, например, с двойными боковыми охлаждаемыми стенками 19, 20 и съемными, преимущественно выпуклыми сферическими, крышками 21, 22 соответственно с фланцами 23, 24. В центре крышек 21, 22 выполнены соответственно окна 25, 26 для прохода электродов 2, 3. Внутренняя стенка 19 может быть снабжена двумя, разнесенными относительно оси электродов 2, 3 на 180°, парами тангенциально входящих в стенку 19 через стенку 20 сопел 27, 28 и 29, 30, соединенных с трубопроводом 12. Устья сопел 27, 28 и 29, 30 расположены на стенке 19 отстоят от оси электродов 2, 3 на расстоянии R>45 мм. Между парами сопел 27, 28 и 29, 30 в стенку 19, напротив межэлектродного зазора, врезан выходной патрубок 31 для удаления из разрядной камеры 1 потоком газа образовавшейся фуллереновой сажи в трубопровод 13 и далее в циклоны 15, 16 и 17. Разрядная камера 1 может быть снабжена охлаждаемым смотровым окном 32 для наблюдения за электрической дугой. Стенка 20 и фланцы 23, 24 могут быть снабжены штуцерами 33, 34, 35, 36 для подачи охлаждающего агента, например воды, в пространство между стенками 19 и 20, крышками 21, 22 и фланцами 23, 24 с целью охлаждения разрядной камеры 1. Снизу камера 1 соединена охлаждаемым патрубком 37 со сборником 38 остатков. Сборник 38 остатков может быть снабжен вакуумно-плотной заслонкой для выгрузки остатков без остановки работы устройства. Электроды 2 и 3 вводятся соответственно в камеры 6, 7 обезгаживания тлеющим разрядом (см. фиг.7, 8) через известные уплотнения 39, 40 Вильсона (см., например, Данилин Б.С., Минайчев В.Е. Основы конструирования вакуумных систем. – М., Энергия, 1971, с.221), обеспечивающие герметичность полостей камер 6, 7. Каждая камера 6, 7 (см. фиг.7 и 8) содержит цилиндрический корпус 41, по оси которого установлен перфорированный цилиндрический электрод 42, обеспечивающий равномерное объемное распределение плазмы. Штуцер 43 соединен с вакуумной системой (на чертеже не показан). Каждая камера 6, 7 может быть снабжена смотровым окном 44 для наблюдения за состоянием тлеющего разряда, а также оборудована патрубками 45, 46 соответственно для подачи и отвода инертного газа (предпочтительно аргона), штуцером 47 для откачки внутренних полостей уплотнений 40 Вильсона и выводом 48 в изолирующем корпусе 49 для соединения с положительным выводом источника 50 питания тлеющего разряда (см. фиг.1). Клеммы 51, 52 токовводов 8, 9 подключены через коммутатор 53 к источнику 54 питания дуги. Коммутатор 53 позволяет изменять полярность электродов 2, 3. Выходы источника 54 питания дуги изолированы от земли. Стенка 19 посредством клеммы 55 соединена с положительным полюсом источника 56. Узлы 4, 5 подачи графитовых электродов 2, 3 могут быть любой известной конструкции (например, в виде барабанного магазина-держателя, как в патенте RU 2184700, МПК С01В 31/02, опубликован 10.07.2002; кассетного типа, как в патенте RU 39129, МПК С01В 31/00, опубликован 20.07.2004, в заявке US 20050019245, МПК B01F 9/12, опубликован 27.01.2005). Циклон 15 (см. фиг.9 и 10) может содержать охлаждаемый внешний корпус 57 с входным охлаждаемым патрубком 58, охлаждаемый внутренний корпус 59 с выходным патрубком 60 и охлаждаемый приемник 61. Так как температура инертного газа на входе в циклоны 16 и 17 уже не такая высокая, как на входе в циклон 15, то циклоны 16 и 17 уже могут не потребовать принудительного охлаждения.
Штуцеры 62, 63, 64, 65, 66, 67 и 68 предназначены для подачи охлаждающего агента во внешний корпус 57, патрубок 58, внутренний корпус 59 и приемник 61 и отвода из них охлаждающего агента.
Способ производства фуллеренсодержащей сажи осуществляют следующим образом. В токовводы 8, 9 из узлов 4, 5 подают соответственно графитовые электроды 2 и 3. Материалом электродов 2 и 3 обычно служат круглые графитовые стержни диаметром 12 мм и длиной 400 мм. Производят откачку внутреннего объема камеры 1, системы 10 циркуляции инертного газа, внутренних полостей уплотнений Вильсона 39, 40 и камер 6, 7 до давления 4·10-2 Торр с использованием форвакуумного насоса, снабженного ловушкой с жидким азотом. Затем внутренний объем камеры 1 и системы 10 циркуляции инертного газа установки заполняют инертным газом или смесью инертных газов при давлении от 50 Торр до атмосферного (предпочтительнее до давления 100-300 Торр). В камерах 6, 7 через патрубки 45, 46 устанавливают динамическое давление инертного газа (предпочтительно аргона) от 0,1 до 10 Торр (предпочтительнее 1 Торр). На стенку 19 камеры 1 можно подавать напряжение положительной полярности 1-10 В от источника 56. На цилиндрические электроды 42 камер 6, 7 подают плюс источников 50 тлеющего разряда и зажигают тлеющий разряд с током от 1 до 100 мА (предпочтительнее 10 мА). Откачку внутренних полостей уплотнений Вильсона 40 производят непрерывно в течение всего процесса получения сажи. Включают газовый нагнетатель 11, при этом выходящий из сопел 27, 28 и 29, 30 инертный газ закручивается по обе стороны от межэлектродного зазора в два кольцевых потока. Подают охлаждающий агент в токовводы 8, 9 и в полости между стенками 19 и 20 крышками 21, 22 и фланцами 23, 24, а также в соответствующие полости циклона 15. На один из электродов 2 и 3 подают напряжение отрицательной полярности, а на другой – положительной полярности от источника 53 питания дугового разряда. В качестве источника питания может быть использован сварочный выпрямитель с устройством для реверса тока. Зажигают дуговой разряд между электродами 2, 3 и устанавливают рабочий режим горения (соответствующий ток разряда и расстояние между электродами 1,0-5,0 мм), наблюдая через смотровое окно 32. Включают один из узлов 4, 5 (например, узел 4) подачи соответственно графитовых электродов 2, 3 (например, электрода 2), задают необходимую для поддержания межэлектродного зазора постоянным скорость подачи и поступательно перемещают электрод 2, компенсируя его испарение в дуговом разряде. Одновременно можно вращать его со скоростью 0,2-3,0 об/мин (можно при этом вращать в другую сторону и электрод 3). Углерод, испарившийся с электрода 2, покидает зону дуги в радиальном направлении. Через определенное время (предпочтительно в интервале 2-30 мин) меняют полярность электродов 2 и 3 для испарения электрода 3, при этом останавливают узел 4 и включают узел 5. Время той или иной полярности горения разряда выбирают таким, чтобы не образовывался депозит на электродах 2, 3. После этого полярность вновь меняют, останавливают узел 5 и включают узел 4, и процесс повторяют. Так как электроды 2, 3 выполнены из графитовых стержней конечной длины, то по мере испарения электродов 2, 3 к их внешним торцам прикрепляют следующие графитовые стержни (с этой целью на одном конце каждого стержня выполняют, например, цилиндрический паз, а на другом конце – соответствующий этому пазу выступ). Таким образом, обеспечивают непрерывную работу устройства. Электроды 2, 3 в процессе своих перемещений, проходя через камеры 6, 7, могут обезгаживаться в тлеющем разряде. Продукты обезгаживания удаляют из камер 6, 7, прокачивая инертный газ через патрубки 45, 46. Кольцевые потоки инертного газа, выходя из сопел 27, 28 и 29, 30, подхватывают образовавшиеся продукты трансформации атомов углерода и через выходной патрубок 31 переносят их из разрядной камеры 1 по трубопроводу 13 и далее в циклоны 15, 16 и 17, где они осаждаются в виде фуллеренсодержащей сажи в приемниках 61. При снабжении сборника 38, циклонов 15, 16 и 17 вакуумно-плотными заслонками, выгрузку остатков и фуллеренсодержащей сажи можно производить без остановки устройства.
Примеры.
На установке, такой же как на фиг.1, но с двумя циклонами 15, 16, были проведены эксперименты по получению фуллеренсодержащей сажи. Параметры разрядной камеры: соотношение внутреннего диаметра D разрядной камеры и диаметра d электродов и величина объема камеры были получены в ходе модельных экспериментов. Были изготовлены 3 разрядных камеры 1 различного диаметра и объема. В качестве электродов 2, 3 в экспериментах использовали графитовые стержни диаметром 12 мм. Испарение графита проводили при потоке энергии 120-180 Вт/мм2 и вне этого интервала, изменяли полярность через 5 мин, в качестве инертного газа использовали гелий при давлении 100 Торр, межэлектродное расстояние изменяли в интервале 1,0-5,0 мм и вне этого интервала. На стенку 19 разрядной камеры 1 подавали потенциал положительной полярности величиной 0-12 В. Электроды проходили через камеры 6, 7, в которых происходило их обезгаживание в тлеющем разряде. Электроды вращали вокруг оси со скоростью 0,2-3,0 об/мин, а в ряде экспериментов не вращали. Количество сажи, собранной в циклонах 15, 16 и в разрядной камере 1, определяли весовым методом. Содержащиеся в фуллеренсодержащей саже фуллерены извлекали исчерпывающей экстракцией, а их концентрацию определяли спектрофотометрическим методом. Результаты экспериментов приведены в таблице, приведенной на фиг.11.
Одновременно проводили сравнительные испытания заявляемой установки и имевшейся у заявителя экспериментальной установки-прототипа по патенту РФ №2234457. Заявляемая установка проработала непрерывно в течение недели и затем была остановлена для профилактического осмотра. Установку-прототип приходилось выключать 2-3 раза в день из-за срыва дуги. На второй день работы установка-прототип вышла из строя из-за прогорания разрядной камеры. Производительность заявляемой установки оказалась выше в 1,5-2,0 раза по сравнению с установкой-прототипом.
Как видно из данных таблицы, при потоке энергии 120-180 Вт/мм2 и указанной выше подаче газа достигается достаточно полное удаление фуллеренсодержащей сажи из камеры в циклоны и стабильно высокий выход фуллеренов. При этом не отмечено срыва дуги и прожига стенок камеры в течение длительной эксплуатации заявляемых способа и устройства.
Формула изобретения
1. Способ производства фуллеренсодержащей сажи, включающий испарение графита в электрической дуге между соосными графитовыми электродами в атмосфере инертного газа в цилиндрической разрядной камере, перемещение образовавшихся в электрической дуге продуктов двумя закрученными относительно упомянутых электродов кольцевыми потоками инертного газа, равноудаленными от межэлектродного зазора и отстоящими на расстояние R>45 мм от оси упомянутых электродов, удаление продуктов через область, противолежащую межэлектродному зазору, и последующее осаждение упомянутых продуктов в виде фуллеренсодержащей сажи.
2. Способ по п.1, отличающийся тем, что испарение графита в электрической дуге ведут при потоке энергии 120-180 Вт/мм2.
3. Способ по п.1, отличающийся тем, что по меньшей мере один из электродов подают в зону электрической дуги через зону тлеющего электрического разряда.
4. Способ по п.1, отличающийся тем, что на стенку разрядной камеры подают потенциал U положительной полярности величиной 1-10 В.
5. Способ по п.1, отличающийся тем, что давление инертного газа составляет 100-300 Торр.
6. Способ по п.1, отличающийся тем, что испарение графита в электрической дуге осуществляют при среднем межэлектродном расстоянии L, равном 1,0-5,0 мм.
7. Способ по п.1, отличающийся тем, что по меньшей мере один из электродов вращают вокруг своей оси.
8. Способ по п.7, отличающийся тем, что электрод вращают вокруг своей оси со скоростью V, равной 0,2-3,0 об/мин.
9. Способ по п.1, отличающийся тем, что через 2-30 мин меняют полярность электрического напряжения на упомянутых электродах, при этом подают в зону электрической дуги электрод, на который подают напряжение положительной полярности.
10. Способ по п.1, отличающийся тем, что осаждение фуллеренсодержащей сажи осуществляют воздействием центробежной силой в по меньшей мере одном циклоне.
11. Устройство для производства фуллеренсодержащей сажи, включающее горизонтальную цилиндрическую герметичную разрядную камеру с размещенными по оси камеры двумя установленными в охлаждаемых токовводах графитовыми стержневыми электродами, систему циркуляции инертного газа со средством улавливания фуллеренсодержащей сажи, при этом по меньшей мере один из электродов установлен с возможностью осевого возвратно-поступательного перемещения, система циркуляции инертного газа снабжена по меньшей мере двумя соплами, установленными у торцовых стенок цилиндрической разрядной камеры по касательной к ее боковой стенке и лежащими в плоскостях, перпендикулярных оси электродов, средство улавливания фуллеренсодержащей сажи выполнено в виде по меньшей мере одного циклона с тангенциальным вводом газа, установленного на входе системы циркуляции инертного газа, а разрядная камера снабжена сборником остатков.
12. Устройство по п.11, отличающееся тем, что включает по меньшей мере одну камеру обезгаживания тлеющим разрядом.
13. Устройство по п.11, отличающееся тем, что по меньшей мере один из электродов установлен с возможностью осевого вращения.
14. Устройство по п.11, отличающееся тем, что система циркуляции инертного газа снабжена двумя парами сопел, при этом упомянутые пары сопел отстоят друг от друга по окружности на 180°.
15. Устройство по п.11, отличающееся тем, что стенки разрядной камеры выполнены охлаждаемыми.
16. Устройство по п.11, отличающееся тем, что сборник остатков выполнен охлаждаемым.
17. Устройство по п.11, отличающееся тем, что сборник остатков снабжен вакуумно-плотной заслонкой.
18. Устройство по п.11, отличающееся тем, что по меньшей мере один циклон выполнен охлаждаемым.
19. Устройство по п.11, отличающееся тем, что по меньшей мере один циклон снабжен вакуумно-плотной заслонкой.
20. Устройство по п.11, отличающееся тем, что разрядная камера снабжена смотровым окном, расположенным напротив зоны электрической дуги.
21. Устройство по п.11, отличающееся тем, что оно снабжено по меньшей мере одним устройством подачи графитового электрода в разрядную камеру.
22. Устройство по п.10, отличающееся тем, что камера обезгаживания снабжена смотровым окном на боковой поверхности.
23. Устройство по п.11, отличающееся тем, что средство улавливания фуллеренсодержащей сажи снабжено на выходе рукавным фильтром.
РИСУНКИ
|
|