|
|
(21), (22) Заявка: 2006142685/11, 05.07.2004
(24) Дата начала отсчета срока действия патента:
05.07.2004
(30) Конвенционный приоритет:
04.05.2004 ES P200401068
(43) Дата публикации заявки: 10.06.2008
(46) Опубликовано: 20.12.2008
(56) Список документов, цитированных в отчете о поиске:
US 4533021 А, 06.08.1985. ES 1046291 U, 01.12.2000. JP 10052576 A, 24.02.1998. RU 2206491 C1, 20.06.2003.
(85) Дата перевода заявки PCT на национальную фазу:
04.12.2006
(86) Заявка PCT:
ES 2004/000319 (05.07.2004)
(87) Публикация PCT:
WO 2005/108272 (17.11.2005)
Адрес для переписки:
103735, Москва, ул. Ильинка, 5/2, ООО “Союзпатент”, пат.пов. Л.С.Кишкиной
|
(72) Автор(ы):
МАДОС МИЧАУС Мигель Анхель (ES), ЛИСАРАСУ ИСТУЭТА Ойер (ES), ОСЕРИНХАУРЕХИ ЭТКСЕСАРРАГА Эусебио (ES)
(73) Патентообладатель(и):
ОРОНА, С. КООП. (ES)
|
(54) АВАРИЙНОЕ УСТРОЙСТВО ДЛЯ ПОДЪЕМА И ОПУСКАНИЯ ЛИФТОВ, ЗАСТРЯВШИХ МЕЖДУ ЭТАЖАМИ
(57) Реферат:
Изобретение относится к аварийным устройствам, используемым для перемещения кабины лифта при отключении электроэнергии. Устройство содержит первый редукторный электродвигатель (1), передающий вращение на наружный вал подающей машины (3) кабины лифта в аварийной ситуации, когда лифт застрял между этажами. Редукторный электродвигатель (1) с помощью кабеля (33) подключен ко второму редукторному электродвигателю постоянного тока (18), который установлен в шкафу управления и при вращении работает как генератор, подавая электрический ток на первый редукторный электродвигатель (1). Ручной коленчатый рычаг (43), задающий упомянутое вращение, прикреплен ко второму редукторному электродвигателю (18). Для предотвращения обратного потока энергии устройство снабжено сцеплением или микропереключателями, затормаживающими первый редукторный электродвигатель (1), когда коленчатый рычаг начинает вращаться благодаря этому обратному потоку. Изобретение обеспечивает повышение удобства эксплуатации. 8 з.п. ф-лы, 7 ил.
Область техники, к которой относится изобретение
Настоящее изобретение относится к аварийным устройствам, используемым для перемещения кабины лифта, когда лифт вышел из строя из-за отключения электричества, либо из-за повреждения какой-либо части механизма. Устройство обеспечивает безопасное перемещение кабины до тех пор, пока она не сравняется с одним из этажей здания, благодаря чему пассажиры могут покинуть кабину без каких-либо осложнений, которые возникают в тех случаях, когда кабина застревает между этажами.
Задачей настоящего изобретения является создание устройства, оснащенного узлами, необходимыми для того, чтобы действия пассажиров в условиях риска не требовали бы значительных усилий и времени и выполнялись бы с достаточной скоростью, благодаря чему застрявшие пассажиры не должны находиться в состоянии ожидания в течение слишком длительного периода времени.
Другой задачей настоящего изобретения является объединение ручного механического управления с подачей электричества для питания привода, в результате чего обеспечивается контролируемое движение лифта, что гарантирует гибкость работы устройства, при этом обеспечивается надежность работы устройства.
Уровень техники
Повреждение лифта обычно случается неожиданно при его движении с пассажирами внутри, лифт обычно останавливается не на уровне двери одного из этажей, что создает проблему с выходом пассажиров из лифта.
Для решения аварийной ситуации было разработано несколько типов устройств, задачей которых является уменьшение риска при эвакуации пассажиров, застрявших в лифте, при этом данные устройства имеют узлы, которые обычно используются для подъема и опускания лифта с целью подведения лифта ближе к двери одного из этажей, что допускает более удобный выход пассажиров.
Например, в патенте США 2002/0148687 описано аварийное устройство для подъема и опускания лифта, содержащее вспомогательный электродвигатель, который вращает ведущую шестерню, сцепленную с шестерней, которая в свою очередь сцеплена с другой шестерней, при этом на обеих шестернях имеются соответствующие барабаны, на которые намотаны тросы, обычно используемые для подъема и опускания лифта. Упомянутые тросы проходят через шкивы, расположенные на лифте, через тяговые шкивы, расположенные в верхней части вала лифта, и противовесы, подвешенные на их концах.
При повреждении установки, в ситуации, когда тяговые шкивы заблокированы, включается вспомогательный электродвигатель, который работает в одном или другом направлении, поднимая или опуская лифт по направлению к ближайшей двери.
Устройство содержит датчик, показывающий положение кабины относительно какого-либо этажа и воздействующий на вспомогательный электродвигатель, останавливая лифт для безопасной и удобной эвакуации пассажиров.
В патенте США 2002/0125076 описано аварийное устройство для лифтов, которое также содержит независимо питаемый вспомогательный электродвигатель, который через механизм сцепления соединен с вращающимся валом главного электродвигателя, заставляя его вращаться и поднимать или опускать лифт вблизи этажа. Устройство имеет также ручную аварийную систему, состоящую из тросов, которые проходят через окно, сделанное в лифте, захватываются руками и своим натяжением воздействуют на гидравлический цилиндр, обеспечивающий подъем или опускание лифта.
В патенте ЕР 1165424 описан лифт с системой безопасности, основанной на объединении переключателей, управляющих частичным отпусканием тормоза электромотора лифта, за счет чего лифт движется вниз в положение, необходимое для безопасной эвакуации его пассажиров, при этом устройство дополнительно снабжено датчиками и индикаторами, которые фиксируют положение лифта.
Электрические системы не совсем надежны, и обычно основаны на работе отдельного оборудования, которое не используется регулярно и, следовательно, не всегда находится в подходящем для эксплуатации состоянии.
В патенте WO 02/096790 описано механическое устройство, объединенное с ключом, включаемым при вращении рычага, который воздействует на шестерню, присоединенную к приводу лифта.
Другие устройства для аварийной эвакуации пассажиров из лифта, подобные описанному в патенте ЕР 0990614, содержат рычаг, отпускающий тормоз главного тягового электродвигателя лифта, и механизм для перемещения сцепления до положения, в котором оно входит в зацепление с задней шестерней, связанной с валом главного электродвигателя. Этот механизм снабжен коленчатым устройством, которое обеспечивает вращение сцепления в положении, когда оно находится в зацеплении, и которое в свою очередь, заставляет шестерню и, следовательно, вал электродвигателя вращаться, обеспечивая подъем и опускание лифта.
Раскрытие изобретения
Аварийное устройство, представляющее предмет настоящего изобретения, служит для подъема или опускания лифта, застрявшего между этажами, и его главным отличием является то, что машина лифта перемещается в аварийной ситуации с помощью вспомогательного электродвигателя, или редукторного электродвигателя, входящего в зацепление с приводом кабины. Питание на электродвигатель, или редукторный электродвигатель подается от генератора, подключенного к нему с помощью электрического кабеля, при этом генератор производит энергию в результате ручного управления самим пассажиром, попавшим в аварию, предпочтительно с помощью коленчатого рычага.
Аварийное устройство содержит механические элементы, которые позволяют отпускать тормоз машины лифта на расстоянии, за счет чего электродвигатель, или редукторный электродвигатель легко приводится в действие, но он может быть приведен в действие и без отпускания тормоза, предотвращая при этом присущий тормозу риск ослабления тормоза и обеспечивая снижение стоимости устройства.
Устройство легко приводится в действие коленчатым рычагом, следовательно, выбор режима подъема или опускания лифта при аварийной ситуации выполняется простым вращением коленчатого рычага в одном или в другом направлении.
Другим преимуществом является то, что в устройстве предотвращается обратное движение энергии, которая может генерироваться машиной в результате разбалансировки машины и направлена к элементам конструкции, предотвращая неконтролируемое движение коленчатого рычага и связанные с ним опасные ситуации. В этой ситуации установка сцепления рассматривается как возможное решение, а установка микропереключателей на оси вращения коленчатого рычага рассматривается как другое решение, предотвращающее обратный поток энергии в другом альтернативном варианте.
Учитывая, что электродвигатели постоянного тока могут быть использованы по прямому назначению (на них подают электрическую энергию и получают вращение), а также как генераторы (на них подают внешний крутящий момент и получают электрическую энергию), одинаковые электродвигатели постоянного тока могут быть использованы с соответствующими микропереключателями в машине и кабине управления, что упрощает конструкцию устройства и снижает ее стоимость.
Хотя изобретение особенно пригодно для использования в лифтах без машинных помещений, его простота и низкая стоимость позволяет использовать его также в лифтах с упомянутым помещением.
Краткое описание чертежей
Дополнительно к описанию, которое приведено с целью лучшего понимания преимуществ настоящего изобретения по предпочтительным вариантам его осуществления, приложены чертежи, представляющие собой неотъемлемую часть упомянутого описания, на которых, не ограничивая существа настоящего изобретения, показано следующее:
На фиг.1 показан общий вид установки для управления лифтом с частью устройства, которое размещено в установке. Установка показана в свободном состоянии, т.е. когда она не используется.
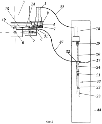
На фиг.2 показан частичный разрез устройства, включающий устройство управления.
На фиг.3 показан частичный разрез на фиг.2, на котором показан редукторный двигатель.
На фиг.4 показан частичный разрез редукторного двигателя в сборе на фиг.3 с нижележащими шестернями.
На фиг.5 показан передний вид устройства во включенном состоянии.
На фиг.6 показан другой предпочтительный вариант осуществления настоящего изобретения без сцепления, на котором показаны увеличенный вид и передний вид детали С, при этом микропереключатели перекрывают обратное движение потока энергии.
На фиг.7 показаны подробно различные состояния контактов микропереключателя, которые гарантируют, что не произойдет обратного движения потока энергии.
Подробное описание предпочтительных вариантов осуществления настоящего изобретения
Ниже будет подробно рассмотрено изобретение, кратко описанное выше и определенное нижеследующей формулой, со ссылкой на прилагаемые чертежи, приведенные для его лучшего понимания.
Настоящее изобретение относится к лифтам, в основном, содержащим кабину, выполненную заодно с машиной (3), наружный вал которой связан с трансмиссией (40), которая задает вращение подающего шкива (41), обеспечивающего подъем и опускание кабины с помощью соответствующих тросов, и инерционный маховик (42), на котором установлен тормоз (5), работающий в неподвижном состоянии кабины.
Аварийное устройство согласно настоящему изобретению улучшено тем, что содержит две дополнительные части. Первая часть, или привод, установлена в самой машине (3) лифта, тогда как вторая часть представляет собой панель управления (44), которая содержит управляющий коленчатый рычаг (43) и отпускающий рычаг (17) тормоза (5), который зажимает выходной вал машины (3) и, следовательно, блокирует кабину.
Элементы привода показаны на фиг.1, 2, 3 и 4. Привод содержит первый редукторный электродвигатель постоянного тока (1), прикрепленный к основанию (2), которое, в свою очередь, прикреплено к корпусу машины (3). В первом предпочтительном варианте осуществления настоящего изобретения предполагается, что на конце вала первого редукторного электродвигателя (1) имеется двунаправленное сцепление (4), допускающее движение от привода электродвигателя в направлении машины (3) в любом из двух направлений вращения, но при этом предотвращающее движение от машины (3) в направлении электродвигателя привода (1). Данное устройство предотвращает самопроизвольное вращение машины из-за разбалансировки масс кабины и противовеса, когда тормоз (5), запирающий машину (3) освобожден, а также предотвращает движение, направленное к первому редукторному электродвигателю (1).
К концу вала первого редукторного электродвигателя (1) совместно с двунаправленным сцеплением (4) прикреплена ведущая шестерня (7), имеющая больший диаметр по сравнению с другой промежуточной шестерней (8), скользящей на валу (9), не выходя из зацепления с ведущей шестерней (7). Промежуточная шестерня (8) располагается в верхнем положении в том случае, когда ее выталкивает вилка (10), прикрепленная к валу (11), который вращается на фиксированном держателе (12), прикрепленном к нижней стороне основания (2).
Вал (11) на противоположном конце, на другой стороне держателя (12), прикреплен к рычагу (13). Вилка (10) и рычаг (13) закреплены на валу (11) с помощью штифтов или других средств, гарантирующих как радиальную, так и осевую фиксацию.
Когда машина находится в верхнем положении, промежуточная шестерня (8) сцепляется с ведущей шестерней (7) и одновременно с шестерней (14) машины, которая сцеплена с верхней частью инерционного маховика (42) машины (3). В это время промежуточная шестерня (8) не передает движение от ведущей шестерни (7) на шестерню (14) машины.
К рычагу (13) прикреплен конец сплетенного стального троса (15), который проходит через ролик (16) рычага (6), отпускающего тормоз, и на другом конце прикреплен к отпускающему рычагу (17), который расположен в блоке управления. Трос (15) снабжен оболочкой (30), проходящей от держателя (31) машины (3) до держателя (32) коленчатого рычага (43), установленного в блоке управления (44).
Введение подающей пружины (28), прикрепленной одним концом к рычагу (13), а другим концом к держателю (29), закрепленному на основании (2), способствует восстановлению вытянутого положения отпускающего рычага (17).
Для предотвращения запуска установки в непредсказуемом режиме введены микропереключатели (25), прикрепленные к основанию (2), как это видно из фиг.4, на которые в состоянии, когда установка не используется, постоянно подаются импульсы с отключающего рычага (26), выполненного заодно с валом (11).
Внутри блока управления имеется второй электродвигатель (18), на валу которого с помощью карданного вала (19) закреплен вал (20). Вал (20) может изгибаться в точках крепления (21) и (22), принимая при этом форму коленчатого рычага (43), как это видно на фиг.5.
Ручки (23) и (24) свободно вращаются на валу (20), при этом пассажир удерживает эти ручки, придавая вращение коленчатому рычагу (43) и, следовательно, валу (20).
Клеммы первого редукторного электродвигателя (1), установленного на машине (3) установки, и клеммы второго редукторного электродвигателя (18), установленного на пульте управления (44), соединены с помощью электрического кабеля (33).
Ниже описана работа установки со ссылкой на фиг.5.
Когда по какой-то причине лифт останавливается между этажами и не реагирует на кнопки управления, то необходимо спасти его, т.е. он должен быть немедленно поднят на этаж выше или немедленно опущен на этаж ниже.
Для этого необходимо обеспечить доступ к панели управления (44), вытащить вал (20) из его корпуса и изогнуть в точках крепления (21) и (22), чтобы придать форму коленчатого рычага. Затем нажимают до упора на отпускающий рычаг (17), обеспечивая этим подтягивание троса (30), который поворачивает рычаг (13) на валу (11), а также поворачивает рычаг (6) отпускания тормоза.
При повороте рычага (13) шестерня (8), толкаемая вилкой (10), перемещается в верхнее положение, за счет этого шестерни (7), (8) и (14) попадают в зацепление и передают движение от первого редукторного электродвигателя (1) к машине (3). Одновременно с этим и в результате поворота рычага (13) также поворачивается отключающий рычаг (26), удерживающий включенным микропереключатель (25), следовательно, машина (3) отключается от основной питающей сети. При повороте рычага (6) отпускается тормоз (5), который давит на инерционный маховик (42) машины (3), при этом быстрый вал машины (3) становится свободным. Даже когда тормоз (5) освобожден, кабина стремится двигаться вверх или вниз благодаря разбалансировке, существующей между кабиной и противовесом, при этом вал вместе с шестерней (14) машины (3) начинает вращаться, и это движение передается на первый редукторный электродвигатель (1). Однако это движение блокируется двунаправленным сцеплением (4), которое не допускает в данной ситуации движение в любом направлении вращения.
Затем, одной рукой постоянно прижимая отпускающий рычаг (17) к ручке (24), а другой рукой удерживая другую ручку (23), вращают коленчатый рычаг (43), вызывая вращение вала (20) и вместе с ним вала второго редукторного электродвигателя (18).
При вращении вала второго редукторного электродвигателя (18) последний начинает работать как генератор, производя на своих клеммах напряжение. Электрический кабель (33), соединяющий клеммы второго редукторного электродвигателя с клеммами первого редукторного электродвигателя (1), подает ток, генерируемый вторым редукторным электродвигателем (18), на первый редукторный электродвигатель (1), заставляя последний вращаться.
Вращение первого редукторного двигателя (1) передается с помощью шестерен (7), (8) и (14) на выходной вал машины, вызывая тем самым перемещение кабины.
Аварийное движение кабины может происходить в любом из двух направлений, т.е. вверх или вниз, в зависимости от направления вращения коленчатого рычага (43).
Процесс аварийного движения завершается, как только кабина достигнет уровня этажа. Затем рычаг (17) отпускают в исходное положение. При этом тормоз (5) машины (3) возвращается в затормаживающее положение и промежуточная шестерня (8) под действием ходовой пружины (28) возвращается в нижнее положение, при этом шестерня (14) машины (3) отсоединяется от аварийной системы.
На фиг.6 показан другой предпочтительный вариант осуществления настоящего изобретения, в котором отсутствует сцепление (4). Данное устройство содержит микропереключатели (35, 36), которые предотвращают обратный поток энергии, который может быть вызван движением кабины из-за отсутствия ее балансировки с противовесом. Микропереключатели расположены вокруг карданного вала (19) и включают второй редукторный двигатель (18), работающий как генератор.
На карданном валу (19) имеется втулка (34), закрепленная напротив ребра упомянутого вала с помощью пружины (37). Когда вал (20) вращается под действием обратного потока энергии, карданный вал (19) передает небольшой крутящий момент на втулку (34). Втулка (34) имеет выступ, расположенный между двумя микропереключателями (35, 36), следовательно, когда карданный вал (19) поворачивается, срабатывает один из микропереключателей (35, 36) в зависимости от того, в каком направлении вращается коленчатый рычаг (43). Если коленчатый рычаг (43) продолжает вращаться, то втулка (34) не будет продолжать вращаться и будет проскальзывать на карданном валу (19).
Контакты микропереключателей (35, 36) присоединены к электрической цепи, соединяющей второй редукторный электродвигатель (18) и первый редукторный электродвигатель (1) через диоды, как это показано на фиг.7, где показаны различные состояния контактов (35, 36).
Устройство работает следующим образом.
Когда начинается аварийное движение и отпускающий рычаг (17) прижат, освобождая тормоз (5) машины (3), кабина может стремиться двигаться вниз или вверх в зависимости от того, сильно она загружена или нет. В это время движение машины будет передаваться на первый редукторный двигатель (1), который начнет работать как генератор. Ток, вырабатываемый первым редукторным двигателем (1) и генерируемый вторым редукторным электродвигателем (18), совместно с коленчатым рычагом (43) и втулкой (34) заставит вращаться второй редукторный двигатель (18). При его вращении втулка (34) включает один из микропереключателей (35, 36), в зависимости от направления ее вращения. Электрический ток будет принимать одно из состояний (b) или (с), как показано на фиг.7. Другими словами, первый редукторный двигатель (1) оказывается замкнутым накоротко одним из диодов, что вызовет торможение первого редукторного двигателя (1) и замедление движения кабины.
В этой ситуации нет необходимости использовать коленчатый рычаг (43) для аварийного перемещения кабины, необходимо только дождаться, когда кабина медленно достигнет этажа, и остановить движение, снова освободив отпускающий рычаг (17). Если разбалансировка кабины по отношению к противовесу не столь велика, чтобы кабина продолжала движение при замкнутом накоротко первом редукторном двигателе (1), то следует использовать коленчатый рычаг (43) и выполнить аварийное движение так, как описано в предыдущем варианте.
Формула изобретения
1. Аварийное устройство для подъема и опускания лифта, застрявшего между этажами, используемое в лифтах и содержащее кабину, выполненную заодно с машиной (3), наружный вал которой связан с трансмиссией (40), которая задает вращение подающего шкива (41), обеспечивающего подъем и опускание кабины с помощью соответствующих тросов, и инерционный маховик (42), на котором установлен тормоз (5), работающий при остановке кабины, отличающееся тем, что содержит:
первый редукторный электродвигатель постоянного тока (1), передающий вращение на наружный вал машины (3) в аварийной ситуации с застрявшим лифтом;
второй редукторный электродвигатель постоянного тока (18), установленный в шкафу управления (44), работающий как генератор, подающий ток на первый редукторный электродвигатель (1) и управляемый ручным управляющим коленчатым рычагом (43), и
электрический кабель (33), соединяющий первый редукторный электродвигатель постоянного тока (1) со вторым редукторным электродвигателем постоянного тока (18).
2. Аварийное устройство по п.1, отличающееся тем, что содержит средства передачи движения (7, 8, 14), которые могут механически соединять или разъединять первый редукторный электродвигатель (1) и машину (3).
3. Аварийное устройство по п.2, отличающееся тем, что средства передачи движения содержат ведущую шестерню (7), установленную на первом редукторном электродвигателе (1), шестерню (14) машины, установленную на инерционном маховике (42), и подвижную промежуточную шестерню (8), которая механически соединяет или разъединяет ведущую шестерню (7) и шестерню (14) машины.
4. Аварийное устройство по п.3, отличающееся тем, что промежуточная шестерня (8) установлена на центральном валу (9) в скользящем положении и прикреплена к поворотной вилке (10), присоединенной с помощью троса (15) к отпускающему рычагу (17), расположенному в шкафу управления (44) и определяющему поворот вилки (10) и механическое соединение или разъединение промежуточной шестерни (8) с шестерней (14) машины.
5. Аварийное устройство по п.4, отличающееся тем, что вилка (10) присоединена к концу вала (11), который вращается в держателе (12), другой конец которой присоединен к рычагу (13), к которому прикреплен трос (15).
6. Аварийное устройство по п.4, отличающееся тем, что трос (15) проходит по ролику (16) растормаживающего рычага (6), отпускающего тормоз (5) под действием отпускающего рычага (17).
7. Аварийное устройство по п.5, отличающееся тем, что рычаг (13) прикреплен к одному концу ходовой пружины (28), другой конец которой прикреплен к держателю (29) для облегчения возврата отпускающего рычага (17) в исходное положение.
8. Аварийное устройство по любому из пп.1-3, отличающееся тем, что на наружном конце вала первого редукторного электродвигателя (1) и перед ведущей шестерней (7) имеется сцепление (4), допускающее движение от первого редукторного электродвигателя (1) к машине (3) в любом из двух направлений вращения, но не допускающее движение от машины (3) к первому редукторному электродвигателю (1).
9. Аварийное устройство по п.1, отличающееся тем, что на коленчатом рычаге (43) установлен карданный вал (19), обеспечивающий вращение второго редукторного электродвигателя (18), при этом на карданном валу (19) установлена втулка (34), которая снабжена выступом, расположенным между микропереключателями (35, 36) и контактирующим с ними, причем первый редукторный электродвигатель (1) замыкается одним из диодов, что вызывает торможение, когда вращение карданного вала (19) возникает в результате обратного потока энергии между первым редукторным электродвигателем (1) и вторым редукторным электродвигателем (18) из-за движения кабины в несбалансированном с противовесом состоянии.
РИСУНКИ
|
|