|
|
(21), (22) Заявка: 2006134887/11, 02.10.2006
(24) Дата начала отсчета срока действия патента:
02.10.2006
(43) Дата публикации заявки: 10.04.2008
(46) Опубликовано: 20.12.2008
(56) Список документов, цитированных в отчете о поиске:
SU 724413 А, 30.03.1980. US 4473326 А, 25.09.1984. ДОРФМАН М.Х. Пневматический транспорт зерна и продуктов его переработки. – М.: Хлебиздат, 1960, с.47, рис.12. SU 1805086 А, 30.03.1993. SU 823248 А, 23. 04.1981.
Адрес для переписки:
394036, г.Воронеж, ул. Революции 1905 года, 2, ОАО МК “Воронежский”, генеральному директору
|
(72) Автор(ы):
Кузьминов Анатолий Иванович (RU), Сенчихин Владимир Иванович (RU)
(73) Патентообладатель(и):
Открытое акционерное общество “Мукомольный комбинат “Воронежский” (RU)
|
(54) СПОСОБ АСПИРАЦИИ ПЫЛЕОБРАЗУЮЩЕГО ОБОРУДОВАНИЯ И СИСТЕМА ДЛЯ ЕГО ОСУЩЕСТВЛЕНИЯ
(57) Реферат:
Изобретения могут быть использованы в зерноперерабатывающей и комбикормовой отраслях промышленности при аспирации в процессе перегрузки пылеобразующих материалов. Согласно изобретению при реализации способа используют коллектор-сборник, который выполнен коническим, установленным вертикально вершиной вниз с образованием в нем перепада давления в меньшую сторону от исходного. При этом крупные фракции пыли оседают под воздействием гравитационных сил и поступают самотеком в технологическую емкость через возвратный трубопровод, соединенный с коническим коллектором-сборником и с технологической емкостью. Мелкие фракции пыли вместе с воздухом поступают через воздуховод и транспортную магистраль на фильтрование. Согласно изобретению в системе, осуществляющей способ, посредством первого выхода через вершину, ориентированную вниз, коллектор-сборник соединен возвратным трубопроводом с технологической емкостью, при этом вторым своим выходом коллектор-сборник связан воздуховодом с транспортной магистралью, подведенной к фильтру. Изобретения обеспечивают упрощение процесса аспирации. 2 н. и 2 з.п. ф-лы, 2 ил.
Изобретение относится к аспирации и может быть использовано в зерноперерабатывающей, комбикормовой, пищевой и других отраслях промышленности, где требуется транспортирование пылеобразующих материалов и, в частности, при размоле зерна на мукомольных предприятиях.
Так, известен способ аспирации пылеобразующего оборудования, обрабатывающего древесные материалы, при котором из цеха при транспортировании производственных отходов в виде мелких стружек и опилок удаляют также и образующуюся при этом пыль. (см. Авторское свидетельство СССР №1034971, В65G 53/24 Пневматическая установка для удаления из цеха производственных отходов, опубликовано 15.08.83 г., бюл. №30).
Способ аспирации пылеобразующего оборудования заключается в том, что пылеобразующий материал от каждой единицы оборудования вводят в отводящий трубопровод, воздействуя на него разреженным воздухом с образованием аэросмеси, которую по магистральному трубопроводу с помощью вентилятора подают в сборник отходов. Этот способ реализуется принципом действия установки для удаления из цеха производственных отходов, которая содержит магистральный трубопровод, подсоединенные к нему отводящие трубопроводы, каждый из которых снабжен запорным органом и приемником отходов и сообщен с воздухопроводом, имеющим запорный орган и устройство для регулирования аэродинамического сопротивления, разгрузитель отходов, входной патрубок которого соединен с магистральным трубопроводом, а выходной – с входным патрубком вентилятора, выходной патрубок которого сообщен с фильтром.
Отличительной особенностью установки является то, что она снабжена коллектором, сообщенным с воздухопроводами и выходным патрубком разгрузителя, фильтром, соединенным с выходом вентилятора, шиберами, один из которых установлен между разгрузителем и вентилятором, а другой размещен между вентилятором и фильтром. Установка снабжена также дополнительным вентилятором, входной патрубок которого соединен с магистральным трубопроводом, а выходной подсоединен к входному патрубку разгрузителя, в котором стружки, опилки и другие крупные фракции материала оседают в его нижнюю часть, а мелкие частицы и пыль через верхнюю разделительную часть отсасываются дополнительным вентилятором и направляются затем через фильтр, после которого очищенный воздух в пределах допустимой концентрации возвращается в отапливаемый период года в цех, а в неотапливаемый выбрасывается в атмосферу. (Источник информации тот же. Авторское свидетельство №1034971, В65G 53/24).
Эта установка, предназначенная для использования в одноэтажном здании, достаточно сложна как конструктивно, так и по составу оборудования, но в то же время не лишена существенных недостатков, главный из которых состоит в том, что в горизонтально размещенных магистральных трубопроводах при определенных условиях и в первую очередь под действием гравитационных сил могут образовываться накопления транспортируемого материала с уменьшением их проходного сечения, что снижает КПД ее действия. Кроме того, накопление осевшего материала может привести к образованию и разряду на их поверхностях статического напряжения и, как следствие, к возможности возникновения пожара в установке аспирации оборудования. Поэтому для удаления накопившегося слоя транспортируемого материала из горизонтальных трубопроводов необходима постоянная их очистка, что требует значительных дополнительных трудозатрат.
Также известна аспирационная установка, которая содержит аспирируемое оборудование, пылеуловитель, вентилятор, систему пылепроводов, закручиватель пылевоздушного потока, основной и дополнительные воздухопроводы.
Способ аспирации пылеобразующего оборудования с помощью этой установки осуществляется следующим образом.
Пылевоздушная смесь под воздействием разрежения поступает из аспирируемого оборудования в пылеуловитель по системе трубопроводов. Очищенный в пылеуловителе воздух с остатками мельчайшей пыли попадает в вентилятор, далее запыленный воздух поступает в нагнетательный воздухопровод и, проходя через закручиватель пылевоздушного потока, приобретает вращательное поступательное движение относительно продольной оси основного воздухопровода. При этом пыль отбрасывается центробежной силой к стенкам основного воздухопровода, движется по ним, конгломерируется и через отверстие, соединяющее воздухопроводы, поступает в дополнительный воздухопровод при помощи пластины, которая не дает возможности укрупненным частицам пыли продолжать вращательное поступательное движение по стенкам основного воздухопровода. Под действием разрежения конгломерированные частицы пыли из дополнительного воздуховода выводятся и через выходное отверстие пылеуловителя повторно поступают в него на очистку. Очищенный от пыли воздух выбрасывается в атмосферу (Авторское свидетельство СССР №1639805, В08В 15/00 Аспирационная установка, опубликовано 07.04.1991 г., бюл. №13).
Недостатком данной установки и способа аспирации является то, что в процессе аспирации наиболее мельчайшие частички пыли из-за своей незначительной массы в меньшей степени закручиваются в пылевоздушном потоке и поэтому полностью не отбрасываются к наружным стенкам основного воздухопровода, а под воздействием сил тяги по центру выбрасываются в атмосферу, что приводит к постепенному накоплению мельчайшего слоя пыли в окружающем пространстве, т.е. использовать это устройство для возврата воздушного потока в производственное помещение без дополнительной окончательной очистки, например, с помощью фильтра не представляется возможным.
Наиболее близкой по технической сущности, решаемой задаче и достигаемому результату к заявляемой системе является многоуровневая система, реализующая способ аспирации пылеобразующего оборудования, содержащая несколько емкостных коллекторов круглой формы, к которым подсоединены трубопроводы, отводящие материал от станков, а также транспортный и воздухоотборные трубопроводы, соединяющие их с сепарирующей емкостью, имеющей распределительную коробку. К нижней части сепарирующей емкости подсоединен сборный трубопровод, снабженный вентилятором, соединенным с циклоном, а к ее распределительной коробке – несколько сборных трубопроводов с вентиляторами, подсоединенных к рукавному фильтру (Авторское свидетельство СССР №724413, В65G 53/24, опубликовано 30.03.80 г., бюл. №12).
Многоуровневая система осуществляет способ аспирации пылеобразующего оборудования следующим образом. (Источник информации тот же. Авторское свидетельство СССР №724413, В65G 53/24, опубликовано 30.03.80 г., бюл. №12).
В начале работы системы включают вентилятор, подключенный к сепарирующей емкости, вследствие чего в ней и распределительной коробке создается разрежение, за счет которого из коллекторов по транспортному и воздухоотборному трубопроводам от станков поступает транспортируемый материал с пылью.
Затем сепарирующая емкость разделяет поступающий от оборудования сыпучий материал на крупные и мелкие фракции, при этом крупные из них направляются вентилятором в циклон, а мелкие дополнительными вентиляторами с помощью распределительной коробки подаются по воздуховодам на окончательную аспирацию в рукавной фильтр.
В целом недостаток этой многоуровневой системы и способа осуществления аспирации пылеобразующего оборудования состоит в том, что она сложна по своему структурному составу, так как дополнительно снабжена сепарирующей емкостью с распределительной коробкой и вентиляторами для подачи мелкой пыли в рукавный фильтр, а наличие круглой формы коллекторов, а также горизонтально расположенных трубопроводов и воздуховодов приводит к осаждению под действием сил гравитации частиц транспортируемого сыпучего вещества на их поверхность, что обуславливает снижение производительности процесса аспирации или необходимость постоянного удаления из труб образующегося осадка.
Решить задачу по устранению недостатков прототипа стало возможным путем создания системы аспирации пылеобразующего оборудования принципиально иной компоновки ее составляющих элементов с одновременным изменением способа удаления пыли с места ее образования.
Технический результат – упрощение системы и способа аспирации пылеобразующего оборудования.
Этот технический результат достигается тем, что в способе аспирации пылеобразующего оборудования, технологически размещенного на различных этажах здания, заключающемся в том, что запыленный воздух от каждой единицы оборудования вводят, воздействуя на него разрежением, через отводящий воздуховод в коллектор-сборник, из которого крупные фракции направляют в технологическую емкость, а мелкие фракции пыли направляют на дальнейшую доочистку и отделение их от воздуха путем фильтрования, коллектор-сборник выполняют коническим, установленным вертикально вершиной вниз с образованием в нем перепада давления в меньшую сторону от исходного, при котором крупные фракции пыли оседают под воздействием гравитационных сил и поступают самотеком в технологическую емкость через возвратный трубопровод, соединенный с коническим коллектором-сборником и с технологической емкостью, при этом мелкие фракции пыли вместе с воздухом поступают через воздуховод и транспортную магистраль на фильтрование.
Конический коллектор-сборник выполняют с возможностью снижения в нем скорости потока воздуха с 4-6 м/сек, с которой поток запыленного воздуха поступает в коллектор-сборник, до 2-3 м/сек.
Этот технический результат достигается также тем, что в системе аспирации пылеобразующего оборудования, размещенного на различных этажах здания, реализующей указанный выше способ и содержащей вентилятор, фильтр, коллектор-сборник, отводящие от оборудования запыленный воздух воздуховоды, присоединенные к коллектору-сборнику, который одним выходом соединен с технологической емкостью и имеющий второй выход для отвода мелких фракций пыли, коллектор-сборник выполнен коническим, установлен вертикально вершиной вниз, через которую посредством первого выхода он соединен возвратным трубопроводом с технологической емкостью, при этом вторым своим выходом коллектор-сборник связан воздуховодом с транспортной магистралью, подведенной к фильтру.
Конический коллектор-сборник может иметь диаметр основания D=550-600 мм и высоту Н=450-500 мм.
Способ аспирации пылеобразующего оборудования и многоуровневая система для его осуществления являются новыми, поскольку в источниках информации не обнаружена совокупность предложенных признаков, отраженных в формуле изобретения.
Предложенное техническое решение аспирации пылеобразующего оборудования с помощью многоуровневой системы обладает изобретательским уровнем, так как выполнение оригинальной компоновки аспирационной многоуровневой системы, особое расположение ее составляющих элементов, размещение определенным образом в пространстве конической формы коллектора-сборника позволяет совместить в нем две функции, а именно сбор запыленного воздуха от отдельных единиц оборудования с одновременным разделением крупной и мелкой фракций пыли, за счет перепада давления, что не является очевидным и это позволяет значительно сократить состав оборудования и упростить процесс осуществления аспирации.
Предлагаемая система и способ аспирации наиболее выгодно используются, когда пылеобразующее оборудование технологически размещено на различных этажах производственного многоэтажного здания, и особенно они с большим эффектом применимы в мукомольном производстве, где пылеобразование является прямым назначением технологического процесса размола зерна в муку, а в этом случае необходимо при проведении глубокой аспирации оборудования принимать меры к всестороннему сбережению любых фракций муки как продукта питания.
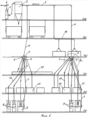
Принципиальная схема предлагаемой системы для аспирации пылеобразующего оборудования изображена на чертежах, где на фиг.1 показан ее общий вид, а на фиг.2 – узел А системы с коническим коллектором-сборником на фиг.1 (в увеличении).
Система аспирации пылеобразующего оборудования, размещенного на различных этажах здания, содержит вентилятор 1, подключенный к фильтру 2, к которому подведена транспортная магистраль 3, конический коллектор-сборник 4, установленный вертикально вершиной 5 вниз, своим одним выходом связан воздуховодом 6 с транспортной магистралью 3, а вторым выходом посредством возвратного трубопровода 7 – с технологической емкостью, например норией 8. Коллектор-сборник 4 представляет собой полую емкость с конической поверхностью 9, имеющий основание диаметром D=550-600 мм и высоту Н=450-500 мм, что позволяет подключить к нему воздуховоды от 2 до 8 точек. Диаметры воздуховодов 10 находятся в пределах от 140 до 180 мм, а угол их наклона к горизонтали составляет от 60 до 90° (фиг.2). К боковой поверхности 9 коллектора-сборника 4 подсоединены отводящие от оборудования запыленный воздух воздуховоды 10. Оборудование размольных отделений мукомольного производства: нории 8, вальцовые станки 11, транспортирующие шнеки 12 и др., установленные по технологическому принципу на различных этажах многоэтажного здания, характеризуется небольшими и близкими по величине объемами отсасываемого воздуха.
В частности, при размещении технологического оборудования в 6-этажном здании, при стандартной высоте каждого этажа, коллектор-сборник 4 целесообразно установить на потолке 3 этажа (фиг.1).
Кроме того, процесс мукомольного производства в полном своем цикле организован непрерывно, т.е. одновременно в работе находится все вышеперечисленное оборудование, что позволяет оптимально применять предлагаемую аспирационную многоэтажную систему и исключить сложную систему управления с помощью датчиков.
В предлагаемой системе вентилятор 1 установлен после фильтра 2, что позволяет сохранить вентилятор от значительного загрязнения пылью и повысить срок его эксплуатации.
Система, реализующая предлагаемый способ аспирации пылеобразующего оборудования, работает следующим образом.
Под действием разрежения, создаваемого вентилятором 1, запыленный воздух, отсасываемый от размещенного на различных этажах здания аспирируемого оборудования 8, 1, 12, вводят по отводящему воздуховоду в установленный вертикально вершиной вниз конический коллектор-сборник 4 с образованием в нем перепада давления в меньшую сторону от исходного, при котором крупные фракции пыли оседают под воздействием гравитационных сил и самотеком поступают в первый выход, т.е. по возвратному трубопроводу 7 в технологическую емкость 8, при этом мелкие фракции пыли вместе с воздухом поступают из коллектора-сборника 4 по второму выходу, а именно воздуховоду 6 в транспортную магистраль 3, подведенную к фильтру 2 на дальнейшую доочистку и удаление воздуха, который при необходимости возвращают в производственное помещение. Причем конический коллектор-сборник 4 выполняют с возможностью снижения в нем скорости потока воздуха с 4-6 м/сек, с которой поток запыленного воздуха поступает в коллектор-сборник, до 2-3 м/сек.
Опытная эксплуатация системы показала, что на незначительных горизонтальных участках 7 и 3 при существующей скорости в 2-3 м/сек отложение пыли на стенах не наблюдается, вследствие чего не требуется их дополнительная очистка.
Предлагаемая система и способ аспирации пылеобразующего оборудования позволяют дополнительно устранить такие существенные недостатки, как оседание и накапливание на сторонах воздуховодов и трубопроводов перемещаемой пыли при отключении технологического оборудования, приводящие в конечном итоге к их забиванию, а следовательно, необходимости постоянной их очистке.
Кроме того, исключение образования на внутренней поверхности воздуховодов сплошного слоя пыли устраняет возможность накопления статического электричества на их поверхности, а следовательно, и исключает возможность возникновения пожара и взрывов смеси.
Формула изобретения
1. Способ аспирации пылеобразующего оборудования, технологически размещенного на различных этажах здания, заключающийся в том, что запыленный воздух от каждой единицы оборудования вводят, воздействуя на него разрежением, через отводящий воздуховод в коллектор-сборник, из которого крупные фракции направляют в технологическую емкость, а мелкие фракции пыли направляют на дальнейшую доочистку и отделение их от воздуха путем фильтрования, отличающийся тем, что коллектор-сборник выполнен коническим, установленным вертикально вершиной вниз с образованием в нем перепада давления в меньшую сторону от исходного, при котором крупные фракции пыли оседают под воздействием гравитационных сил и поступают самотеком в технологическую емкость через возвратный трубопровод, соединенный с коническим коллектором-сборником и с технологической емкостью, при этом мелкие фракции пыли вместе с воздухом поступают через воздуховод и транспортную магистраль на фильтрование.
2. Способ п.1, отличающийся тем, что конический коллектор-сборник выполняют с возможностью снижения в нем скорости потока воздуха с 4-6 м/с, с которой поток запыленного воздуха поступает в коллектор-сборник, до 2-3 м/с.
3. Система аспирации пылеобразующего оборудования, размещенного на различных этажах здания, содержащая вентилятор, фильтр, коллектор-сборник, отводящие от оборудования запыленный воздух воздуховоды, присоединенные к коллектору-сборнику, который одним выходом соединен с технологической емкостью и имеющий второй выход для отвода мелких фракций пыли, отличающаяся тем, что коллектор-сборник выполнен коническим, установлен вертикально вершиной вниз, через которую посредством первого выхода он соединен возвратным трубопроводом с технологической емкостью, при этом вторым своим выходом коллектор-сборник связан воздуховодом с транспортной магистралью, подведенной к фильтру.
4. Система по п.3, отличающаяся тем, что конический коллектор-сборник имеет диаметр основания D=550-600 мм и высоту Н=450-500 мм.
РИСУНКИ
MM4A – Досрочное прекращение действия патента СССР или патента Российской Федерации на изобретение из-за неуплаты в установленный срок пошлины за поддержание патента в силе
Дата прекращения действия патента: 03.10.2008
Извещение опубликовано: 27.07.2010 БИ: 21/2010
|
|