|
|
(21), (22) Заявка: 2005122032/11, 26.11.2003
(24) Дата начала отсчета срока действия патента:
26.11.2003
(30) Конвенционный приоритет:
13.12.2002 SE 0203691-1
(43) Дата публикации заявки: 20.12.2005
(46) Опубликовано: 20.12.2008
(56) Список документов, цитированных в отчете о поиске:
ЕР 0247419 А1, 02.12.1987;. ЕР 0030304 Al, 17.06.1981;. DE 10123081 C1, 07.11.2002;. GB 2077209 A, 16.12.1981;. SU 772955 A1, 23.10.1980..
(85) Дата перевода заявки PCT на национальную фазу:
13.07.2005
(86) Заявка PCT:
SE 03/01827 (26.11.2003)
(87) Публикация PCT:
WO 2004/054905 (01.07.2004)
Адрес для переписки:
129090, Москва, ул. Б.Спасская, 25, строение 3, ООО “Юридическая фирма Городисский и партнеры”, пат.пов. С.А.Дорофееву, рег.№ 146
|
(72) Автор(ы):
ЙОХАНССОН Матс (SE), ГУСТАВССОН Петер (SE)
(73) Патентообладатель(и):
ТЕТРА ЛАВАЛЬ ХОЛДИНГЗ ЭНД ФАЙНЭНС С.А. (CH)
|
(54) УСТРОЙСТВО И СПОСОБ ДЛЯ ПОДАЧИ УПАКОВОК ОТ УПАКОВОЧНОЙ МАШИНЫ
(57) Реферат:
Изобретение относится к устройству и способу для подачи упаковок от упаковочной машины. Устройство включает первый, второй, третий и четвертый толкатели упаковок, предназначенные для перемещения упаковок в направлении перемещения от приемного пункта устройства, предназначенного для приема упаковок из упаковочной машины, до пункта выдачи устройства. Указанные толкатели размещены попарно и выполнены с возможностью поочередного поворота в первом и втором направлении вокруг центральной оси. Направление перемещения является первым направлением. Первый и третий толкатели и второй и четвертый толкатели, соответственно, располагаются диаметрально относительно друг друга вокруг общей центральной оси. Способ подачи упаковок из упаковочной машины содержит этапы, на которых принимают на приемном пункте, примыкающем к упаковочной машине, первую партию из, по меньшей мере, одной упаковки между первым и вторым толкателями упаковок. Первый толкатель располагается в паре с третьим толкателем, а второй толкатель располагается в паре с четвертым толкателем. Первый и третий толкатели и второй и четвертый толкатели, соответственно, располагаются диаметрально относительно друг друга вокруг общей центральной оси. Указанные толкатели могут поворачиваться вокруг центральной оси, перемещают указанную, по меньшей мере, одну упаковку посредством поворота толкателей в направлении перемещения вокруг центральной оси к пункту выдачи. Первый толкатель движется позади и второй толкатель движется перед, по меньшей мере, одной упаковкой и возвращают первый толкатель на приемный пункт после того, как, по меньшей мере, одна упаковка достигает пункта выдачи. Продвигают второй толкатель путем поворота вокруг центральной оси таким образом, что четвертый толкатель продвигается к приемному пункту, а первый и четвертый толкатели готовы принять вторую партию из, по меньшей мере, одной упаковки. Изобретение обеспечивает быструю и надежную подачу упаковок. 2 н. и 16 з.п. ф-лы, 7 ил.
Изобретение относится к устройству для подачи упаковок от упаковочной машины. Изобретение относится также к способу подачи упаковок от упаковочной машины.
Устройства упомянутого типа используют, например, для изменения направления движения упаковок, выходящих из упаковочной машины, перед их дальнейшей обработкой. Такие устройства могут также использоваться для упаковывания вместе упаковок, выходящих из упаковочной машины с расстоянием между ними, так что при транспортировке для дальнейшей обработки между ними либо отсутствует расстояние, либо имеется всего лишь небольшое расстояние. Если упаковки не упакованы вместе, сохраняется опасность их «налезания» друг на друга или опрокидывания.
Пример устройства упомянутого типа описан в публикации международной заявки WO 02/28716, в которой ориентация транспортируемых упаковок изменяется таким образом, что упаковки, принятые устройством при их перемещении с короткой стороной, обращенной в направлении перемещения, поворачиваются для перемещения с обращенной в направлении перемещения длинной стороной. Устройство содержит поворотное колесо и комплекты носителя, шарнирно соединенные с поворотным колесом. Это устройство используют для изменения ориентации упаковок, но не упаковывает их вместе. Далее направление транспортировки не меняется.
Устройства для подачи упаковок из упаковочной машины могут также содержать бесконечную поворотную цепь с прямоугольными движущими элементами, выступающими из цепи. В патентной публикации ЕР-А-887261 цепь этого типа используют для транспортировки упаковок в фальцовочном агрегате упаковочной машины. Когда эта цепь применяется для подачи упаковок из упаковочной машины, упаковка, удерживаемая между двумя движущими элементами, выталкивается из цепи в пункте выдачи, когда поворотная цепь отклоняется вниз. Упаковка, стоящая на одном конце во время транспортировки на цепи, оказывается на противоположном конце при выдаче цепью и движущими элементами. Это устройство используют для транспортировки упаковок во время загибания клапанов на дне упаковки в их конечное положение. Однако при этом упаковки не упаковывают вместе.
Целью настоящего изобретения является полное или, по меньшей мере, частичное решение проблем, упомянутых выше.
Основной целью является создание устройства для подачи упаковок от упаковочной машины, которое обеспечивает быструю и надежную подачу упаковки.
Другой целью является создание устройства, которое может быстро и аккуратно упаковывать вместе упаковки, выходящие из упаковочной машины на расстоянии друг от друга.
Еще одной целью изобретения является предложение такого способа подачи упаковок из упаковочной машины, который является быстрым и надежным.
Целью настоящего изобретения является также предложение способа, посредством которого упаковки могут быть просто и быстро упакованы вместе после выхода из упаковочной машины.
Согласно первому объекту настоящего изобретения создано устройство для подачи упаковок от упаковочной машины. Устройство имеет первый, второй, третий и четвертый толкатели упаковок, предназначенные для перемещения упаковок в направлении перемещения от приемного пункта устройства, предназначенного для приема упаковок из упаковочной машины, до пункта выдачи устройства, причем указанные толкатели размещены попарно и выполнены с возможностью поочередного поворота в первом и втором направлении вокруг центральной оси, при этом направление перемещения является первым направлением, причем первый и третий толкатели и второй и четвертый толкатели, соответственно, располагаются диаметрально относительно друг друга вокруг общей центральной оси.
Предпочтительно, один толкатель в одной из пар предназначен для захвата упаковок сзади в направлении перемещения, и один толкатель в другой паре предназначен для захвата упаковок спереди в направлении перемещения.
Предпочтительно, пара, состоящая из первого и третьего толкателей, и пара, состоящая из второго и четвертого толкателей, соответственно, после каждого перемещения упаковок на пункт выдачи поворачиваются в противоположных направлениях.
Предпочтительно, первый и третий толкатели выполнены с возможностью поворота в первом направлении после каждого второго перемещения упаковок к пункту выдачи, и поворота во втором направлении после каждого второго перемещения упаковок к пункту выдачи.
Предпочтительно, толкатель, который захватывает упаковки сзади, выполнен с возможностью после перемещения упаковок к пункту выдачи поворота во втором направлении для обеспечения захвата последующих упаковок на приемном пункте спереди, при этом толкатель, который захватывает упаковки спереди, после перемещения упаковок на пункт выдачи выполнен с возможностью поворота в первом направлении для обеспечения захвата другим толкателем из той же пары последующих упаковок на приемном пункте сзади.
Предпочтительно, толкатели выполнены с возможностью передачи упаковок на конвейерную ленту на пункте выдачи, причем конвейерная лента движется со скоростью конвейерной ленты, а толкатели выполнены с возможностью перемещения упаковок со скоростью, по существу равной скорости конвейерной ленты.
Предпочтительно, устройство дополнительно содержит поворотное средство для перемещения и поворота упаковок, выходящих из упаковочной машины вверх дном, помещая перевернутые должным образом упаковки на приемном пункте устройства.
Предпочтительно, перемещение упаковок может происходить вдоль отрезка круга, имеющего радиус, по существу, равный радиусу кривизны поворота толкателей.
Предпочтительно, радиус кривизны поворота толкателей по существу равен радиусу кривизны пути движения упаковок, выходящих из упаковочной машины.
Предпочтительно, толкатели выполнены с возможностью перемещения одной упаковки за раз от приемного пункта до пункта выдачи.
Предпочтительно, толкатели выполнены с возможностью перемещения двух и более упаковок за раз от приемного пункта до пункта выдачи.
Предпочтительно, толкатели выполнены с возможностью совместного проталкивания двух или более упаковок, выходящих из упаковочной машины на расстоянии друг от друга, путем поворота толкателей, захватывающих упаковки на приемном пункте по направлению друг к другу перед перемещением упаковок на пункт выдачи.
Согласно второму объекту настоящего изобретения создан способ подачи упаковок из упаковочной машины. Способ содержит этапы, на которых: принимают на приемном пункте, примыкающем к упаковочной машине, первую партию из, по меньшей мере, одной упаковки между первым и вторым толкателями упаковок, причем первый толкатель располагается в паре с третьим толкателем, а второй толкатель располагается в паре с четвертым толкателем, при этом первый и третий толкатели и второй и четвертый толкатели, соответственно, располагаются диаметрально относительно друг друга вокруг общей центральной оси, и указанные толкатели могут поворачиваться вокруг центральной оси; перемещают указанную, по меньшей мере, одну упаковку посредством поворота толкателей в направлении перемещения вокруг центральной оси к пункту выдачи, причем первый толкатель движется позади и второй толкатель движется перед, по меньшей мере, одной упаковкой, и возвращают первый толкатель на приемный пункт после того, как, по меньшей мере, одна упаковка достигает пункта выдачи, и продвигают второй толкатель путем поворота вокруг центральной оси таким образом, что четвертый толкатель продвигается к приемному пункту, а первый и четвертый толкатели готовы принять вторую партию из, по меньшей мере, одной упаковки.
Предпочтительно, упаковки передаются на конвейерную ленту в пункте выдачи, причем конвейерная лента движется с заданной скоростью, а упаковки перемещают от приемного пункта к пункту выдачи со скоростью, по существу равной скорости конвейерной ленты.
Предпочтительно, упаковки снимают с упаковочной машины кверху дном, переворачивают и размещают должным образом на приемном пункте.
Предпочтительно, из упаковочной машины подают одну упаковку за раз.
Предпочтительно, из упаковочной машины подают две или более упаковок за раз.
Предпочтительно, указанные две или более упаковок принимают на приемном пункте на расстоянии друг от друга, сдвигают вместе посредством относительного поворота толкателей, принимающих упаковки, и перемещают к пункту выдачи примыкающими друг к другу.
Таким образом, устройство согласно настоящему изобретению содержит четыре толкателя для перемещения упаковок в направлении перемещения от приемного пункта до пункта выдачи, причем указанные толкатели размещены попарно, и каждая пара установлена диаметрально относительно общей центральной оси. Это устройство позволяет быстро и надежно подавать упаковки от упаковочной машины.
Толкатели, как правило, выполнены с возможностью поочередного поворота в первом и втором направлении вокруг центральной оси, причем направление перемещения является первым направлением. Это облегчает быструю подготовку устройства к перемещению последующих упаковок после перемещения первой партии упаковок от приемного пункта до пункта выдачи.
В одном варианте воплощения изобретения пара, состоящая из первого и третьего толкателей, и пара, состоящая из второго и четвертого толкателей, соответственно, после каждого перемещения упаковок на пункт выдачи поворачиваются в противоположных направлениях. Это позволяет ускорить подготовку устройства к перемещению последующих упаковок.
Первый и третий толкатели предпочтительно выполнены с возможностью поворота в первом направлении после каждого второго перемещения упаковок к пункту выдачи, и поворота во втором направлении после каждого второго перемещения упаковок к пункту выдачи. Это дополнительно ускоряет подготовку устройства.
В одном варианте воплощения толкатель, который захватывает упаковку сзади, выполнен с возможностью после перемещения упаковок к пункту выдачи поворота во втором направлении для обеспечения захвата последующих упаковок на приемном пункте спереди, а толкатель, который захватывает упаковки спереди, после перемещения упаковок на пункт выдачи выполнен с возможностью поворота в первом направлении для обеспечения захвата другим толкателем из той же пары последующих упаковок на приемном пункте сзади. Это чередование является простым и надежным способом подготовки устройства к последующим перемещениям.
Толкатели могут быть выполнены с возможностью передачи упаковок на конвейерную ленту на пункте выдачи, причем конвейерная лента движется со скоростью конвейерной ленты. Толкатели предпочтительно выполнены с возможностью перемещения упаковок со скоростью, по существу равной скорости конвейерной ленты. Таким образом не требуется значительного ускорения упаковок в тот момент, когда они достигают конвейерной ленты, что уменьшает опасность опрокидывания упаковок.
Устройство может содержать средство для перемещения и поворота упаковок, выходящих из упаковочной машины вверх дном, помещая перевернутые должным образом упаковки на приемном пункте устройства. Так, упаковки, заполненные в упаковочной машине со стороны дна, могут быть приняты с упаковочной машины и перемещаться далее в положении стоя на стороне дна.
Перемещение упаковок может происходить вдоль отрезка круга, имеющего радиус, равный радиусу кривизны поворота толкателей. Это позволяет использовать простые механические средства для перемещения упаковок.
В одном варианте воплощения радиус кривизны поворота толкателей по существу равен радиусу кривизны пути движения упаковок, выходящих из упаковочной машины. Таким образом можно перемещать упаковки с приемного пункта, сохраняя относительное расположение упаковок, выходящих из упаковочной машины.
Толкатели могут быть выполнены с возможностью перемещения одной упаковки за раз от приемного пункта до пункта выдачи. Это удобно, например, в случае упаковочной машины, которая, наоборот, выдает за раз две или несколько упаковок, но которая в течение короткого периода времени при пуске и остановке выдает за раз только одну упаковку.
Толкатели предпочтительно выполнены с возможностью перемещения двух или более упаковок за раз от приемного пункта до пункта выдачи. Таким образом, устройство может обслуживать упаковочную машину, выдающую за раз две или более упаковок.
В предпочтительном варианте осуществления толкатели выполнены с возможностью совместного проталкивания упаковок, выходящих из упаковочной машины на расстоянии друг от друга, путем поворота толкателей, захватывающих упаковки на приемном пункте по направлению друг к другу перед перемещением упаковок к пункту выдачи. Таким образом можно обеспечить то, что упаковки не налезают друг на друга и не падают.
Упаковки могут передаваться на конвейерную ленту в пункте выдачи, причем конвейерная лента движется с заданной скоростью. Упаковки предпочтительно перемещают от приемного пункта к пункту выдачи со скоростью, по существу равной скорости конвейерной ленты. Таким образом, упаковки обладают необходимой скоростью при подаче на конвейерную ленту, и поэтому опасность опрокидывания упаковок сводится к минимуму.
В одном варианте способа согласно настоящему изобретению упаковки снимают с упаковочной машины вверх дном, переворачивают и размещают должным образом на приемном пункте. Это позволяет перемещать упаковки, стоящие на стороне дна, хотя их заполняли со стороны дна и поэтому они выходили из упаковочной машины верхней стороной вниз.
Из упаковочной машины может подаваться одна упаковка за раз. Это может быть в случае начала и завершения производственного цикла в упаковочной машине, которая обычно выдает две или более упаковки за раз.
В предпочтительном варианте воплощения способа из упаковочной машины выдают две или более упаковок за раз. Это обеспечивает эффективный способ подачи упаковок.
Упаковки могут быть приняты на приемном пункте на расстоянии друг от друга, сдвинуты вместе посредством относительного поворота толкателей, принимающих упаковки, по направлению друг к другу, и перемещены к пункту выдачи, примыкающими друг к другу. Это уменьшает опасность опрокидывания упаковок.
Изобретение будет описано более подробно со ссылкой на прилагаемые схематические чертежи, которые показывают пример предпочтительного в настоящее время варианта воплощения изобретения. На чертежах обозначено:
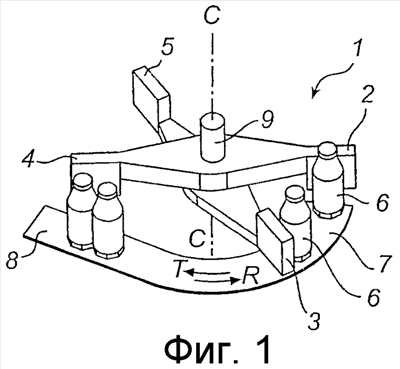
Фиг.1 – вид в перспективе устройства согласно настоящему изобретению в первом положении;
фиг.2 – устройство с фиг.1 во втором положении;
фиг.3 – устройство с фиг.1 в третьем положении;
фиг.4 – устройство с фиг.1 в четвертом положении;
фиг.5 – устройство с фиг.1 в пятом положении;
фиг.6 – вид в перспективе устройства подачи, включающего в себя устройство для перемещения и поворота упаковок, показанное в первом положении;
фиг.7 – устройство с фиг.6 с устройством для перемещения и переворота, показанном во втором положении.
Как показано на фиг.1, устройство 1 подачи имеет первый толкатель 2 упаковок, второй толкатель 3 упаковок, третий толкатель 4 упаковок и четвертый толкатель 5 упаковок, предназначенные для перемещения упаковок 6 от приемного пункта 7 до пункта 8 выдачи. Первый толкатель 2 размещен в паре с третьим толкателем 4. Аналогичным образом второй толкатель 3 размещен в паре с четвертым толкателем 5. Толкатели в каждой паре располагаются диаметрально относительно друг друга вокруг общей центральной оси С, совпадающей с валом 9. Толкатели 2-5 выполнены с возможностью поворота вокруг центральной оси С.
Привод каждой пары толкателей осуществляется посредством вала 9 с помощью соответствующего серводвигателя (не показан). Пара, состоящая из первого и третьего толкателей 2, 4, приводится во вращение серводвигателем, размещенным над парами толкателей. Соответственно пара, состоящая из второго и четвертого толкателей 3, 5, приводится во вращение серводвигателем, помещенным под парами толкателей.
Толкатели состоят из лопастей или лопаток 2-5, установленных на плечах 12, 13. Лопатки 2-5 предпочтительно имеют выпуклую форму или форму, которая более или менее соответствует периферии упаковок 6, предназначенных для перемещения.
На фиг.6 показано устройство 14 для поворота, предназначенное для снятия упаковок 6 с упаковочной машины (не показана). Устройство 14 для поворота имеет два захвата 15 для захвата упаковок 6, выходящих из упаковочной машины. Захваты 15 размещаются на каретке 16, которая перемещается по двум вертикальным направляющим 17 (хотя вторая вертикальная направляющая скрыта, она параллельна вертикальной направляющей 17), а дугообразная направляющая 18 соединяет вертикальные направляющие 17.
На фиг.6 показано положение устройства 14 для поворота, при котором упаковка 6 только что снята с упаковочной машины. Упаковка находится в перевернутом положении. Когда захваты 15 на своей каретке 16 проходят над дугообразными направляющими 18, упаковки 6 переворачиваются в нормальное положение, как показано на фиг.7.
Составляющий четверть окружности путь 20, соответствующий пути перемещения толкателей 2-5, выполнен вокруг вала 9. На приемном пункте 7 путь 20 имеет низкую отогнутую вверх кромку 21, предназначенную для предотвращения выпадения упаковок 6 с пути 20. По той же причине имеется ограждение 22 вдоль наружной в радиальном направлении кромки на пути от приемного пункта 7 и далее в направлении перемещения. В пункте 8 выдачи с путем 20 соединяется конвейерная лента 23. Ограждение 24 продолжается вдоль внутренней кромки конвейерной ленты 23.
Далее будет описан способ, посредством которого описанное выше устройство подает упаковки из упаковочной машины. Он содержит этапы, на которых:
принимают на приемном пункте 7, примыкающем к упаковочной машине, первую партию из, по меньшей мере, одной упаковки 6 между первым и вторым толкателями 2, 4 упаковок (см. фиг.1),
перемещают указанную, по меньшей мере, одну упаковку 6 посредством поворота толкателей 2, 3 в направлении перемещения Т вокруг центральной оси С к пункту 8 выдачи (см. фиг.3), причем первый толкатель 2 движется позади и второй толкатель 3 движется перед указанной, по меньшей мере, одной упаковкой 6, и
возвращают первый толкатель 2 на приемный пункт 7 после того, как указанная, по меньшей мере, одна упаковка 6 достигает пункта 8 выдачи, и продвигают второй толкатель 3 путем поворота вокруг центральной оси С (см. фиг.4) таким образом, что четвертый толкатель 5 продвигается к приемному пункту 7, а первый и четвертый толкатели 2, 5 готовы принять вторую партию из, по меньшей мере, одной упаковки 6 (см. фиг.5).
Вторая партия из, по меньшей мере, одной упаковки 6 подается из упаковочной машины посредством этапов, на которых:
принимают на приемном пункте 7 указанную вторую партию из, по меньшей мере, одной упаковки 6 между четвертым и первым толкателями 5, 2;
перемещают указанную вторую партию из, по меньшей мере, одной упаковки 6 посредством поворота толкателей 5, 2 в направлении перемещения Т вокруг центральной оси С к пункту 8 выдачи, причем четвертый толкатель 5 движется позади и первый толкатель 2 движется перед указанной второй партией из, по меньшей мере, одной упаковки 6, и
возвращают четвертый толкатель 5 на приемный пункт 7 после того, как указанная вторая партия из, по меньшей мере, одной упаковки 6 достигает пункта 8 выдачи, и продвигают первый толкатель 2 путем поворота вокруг центральной оси С таким образом, что третий толкатель 4 продвигается к приемному пункту 7, а четвертый и третий толкатели 5, 4 готовы принять следующую партию из, по меньшей мере, одной упаковки 6.
Третья партия из, по меньшей мере, одной упаковки 6 подается из упаковочной машины посредством этапов, на которых:
принимают на приемном пункте 7 указанную третью партию из, по меньшей мере, одной упаковки 6 между третьим и четвертым толкателями 4, 5;
перемещают указанную третью партию из, по меньшей мере, одной упаковки 6 посредством поворота толкателей 4, 5 в направлении перемещения Т вокруг центральной оси С к пункту 8 выдачи, причем третий толкатель 4 движется позади и четвертый толкатель 5 движется перед указанной третьей партией из, по меньшей мере, одной упаковки 6, и
возвращают третий толкатель 4 на приемный пункт 7 после того, как указанная третья партия из, по меньшей мере, одной упаковки 6 достигает пункта 8 выдачи, и продвигают четвертый толкатель 5 путем поворота вокруг центральной оси С таким образом, что второй толкатель 3 продвигается к приемному пункту 7, а третий и второй толкатели 4, 3 готовы принять следующую партию из, по меньшей мере, одной упаковки 6.
Четвертая партия из, по меньшей мере, одной упаковки 6 подается из упаковочной машины посредством этапов, на которых:
принимают на приемном пункте 7 указанную четвертую партию из, по меньшей мере, одной упаковки 6 между вторым 3 и третьим 4 толкателями;
перемещают указанную четвертую партию из, по меньшей мере, одной упаковки 6 посредством поворота толкателей 3, 4 в направлении перемещения Т вокруг центральной оси С к пункту 8 выдачи, причем второй толкатель 3 движется позади и третий толкатель 4 движется перед указанной четвертой партией из, по меньшей мере, одной упаковки 6, и
возвращают второй толкатель 3 на приемный пункт 7 после того, как указанная четвертая партия из, по меньшей мере, одной упаковки 6 достигает пункта 8 выдачи, и продвигают третий толкатель 4 путем поворота вокруг центральной оси С таким образом, что первый толкатель 2 продвигается к приемному пункту 7, а первый и второй толкатели 2, 3 готовы принять следующую партию из, по меньшей мере, одной упаковки 6.
После перемещения этих четырех партий упаковок 6 толкатели 2-5 возвращаются в первоначальное положение и подача упаковок 6 от упаковочной машины может продолжаться в таком режиме чередования. При каждом втором перемещении толкатель, входящий в пару, состоящую из первого и третьего толкателей 2, 4, движется позади упаковок 6. Во время других перемещений позади упаковок 6 движется один из толкателей, входящих в пару, состоящую из второго и четвертого толкателей 3, 5. Таким же образом, когда первый и третий толкатель 2, 4 движутся позади упаковок 6, второй или четвертый толкатель 3, 5 движутся перед упаковками 6, и наоборот.
Каждый раз, когда толкатели 2-5 доставляют упаковки 6 к пункту 8 выдачи, толкатель, который движется позади упаковок 6, изменяет свое вращательное движение на противоположное и возвращается на приемный пункт 7. Этот толкатель будет двигаться во время следующего перемещения перед упаковками 6. Толкатель, который движется перед упаковками 6, продолжает свое вращательное движение до тех пор, пока другой толкатель из той же пары не достигнет приемного пункта 7. Во время следующего перемещения этот другой толкатель будет, таким образом, двигаться позади упаковок 6.
При каждом перемещении упаковки перемещаются вдоль дуги окружности, приблизительно на 90° окружности, которую описывают толкатели при своем вращательном движении. Дуга окружности, вдоль которой движутся упаковки 6, имеет радиус, равный радиусу кривизны вращательного движения толкателей.
Упаковочная машина обычно выдает две упаковки 6 за раз и, таким образом, две упаковки 6 поступают на приемный пункт. Однако, если упаковочная машина обнаружит, что упаковка имеет дефекты, она удалит эту упаковку и на приемный пункт 7 поступит только одна упаковка. Для удаления упаковок с дефектами может использоваться устройство 14 для поворота, и оно может в таком случае перемещать упаковку с дефектами в направлении по касательной к движению в пике поворотного движения в накопитель (не показан), предназначенный для приема упаковок с дефектами.
Кроме того, сразу после пуска или непосредственно перед остановкой упаковочной машины она выдает только одну упаковку 6 за раз и, соответственно, только одна упаковка 6 будет поступать за раз на приемный пункт 7.
Две упаковки 6, выданные за раз упаковочной машиной, выйдут из упаковочной машины на расстоянии друг от друга и будут помещены устройством 14 для поворота на том же расстоянии друг от друга на приемном пункте 7 устройства 1 подачи. Желательно, однако, перемещать упаковки 6 прижатыми друг к другу, поскольку это снизит опасность «налезания» упаковок 6 друг на друга и их падения. Поэтому перед началом перемещения упаковок 6 в пункт 8 выдачи толкатели на приемном пункте 7 сначала прижмут упаковки 6 друг к другу за счет относительного поворота по направлению друг к другу (см. фиг.2), уменьшая таким образом расстояние между толкателями, захватившими принятые упаковки 6. Этот относительный поворот толкателей по направлению друг к другу может быть выполнен различными путями. Во-первых, толкатели на приемном пункте 7 могут действительно быть повернуты по направлению друг к другу. Во-вторых, толкатель, захвативший упаковки 6 сзади, может оставаться неподвижным, а толкатель, захвативший упаковки спереди, может поворачиваться по направлению к неподвижному толкателю. В-третьих, толкатель, захвативший упаковки 6 спереди, может оставаться неподвижным, а толкатель, захвативший упаковки сзади, поворачивается по направлению к неподвижному толкателю. После того, как упаковки 6 прижимаются друг к другу, оба толкателя, захватившие упаковки на приемном пункте 7, начнут поворачиваться в направлении перемещения для перемещения упаковок в пункт 8 выдачи. Упаковывание вместе упаковок может, конечно, быть выполнено в начале перемещения и необязательно до начала транспортировки.
В пункте 8 выдачи упаковки 6 выдают на конвейерную ленту 23, которая перемещает упаковки 6 для дальнейшей обработки, например для размещения упаковок 6 в ящиках для отгрузки. Толкатели 2-5 перемещают упаковки 6 в пункт выдачи со скоростью, равной скорости, с которой движется конвейерная лента 23. Поэтому конвейерная лента 23 не приведет к ускорению или замедлению упаковок, и таким образом уменьшается опасность падения упаковок 6.
Специалисту в данной области техники понятна возможность осуществления многих модификаций описанного изобретения без отклонения от объема изобретения, определенного в прилагаемой формуле изобретения.
Например, устройство подачи может быть выполнено с возможностью подачи более чем двух упаковок из упаковочной машины за раз. В этом случае устройство 14 для поворота может быть снабжено соответствующим количеством захватов.
Устройство подачи может также принимать упаковки 6, выходящие из упаковочной машины, которые уже установлены должным образом. Таким образом, устройство 14 для поворота может оказаться ненужным, и поэтому вместо него может использоваться рука манипулятора для захвата упаковок 6 из упаковочной машины и их помещения на приемный пункт 7.
Лопатки 2-5 могут быть прикреплены с возможностью отсоединения к плечам 12, 13, что допускает замену лопаток, так что могут быть установлены лопатки, имеющие выпуклую форму, соответствующую другому размеру и форме упаковок.
Формула изобретения
1. Устройство для подачи упаковок от упаковочной машины, отличающееся тем, что оно имеет первый, второй, третий и четвертый толкатели упаковок, предназначенные для перемещения упаковок в направлении перемещения от приемного пункта устройства, предназначенного для приема упаковок из упаковочной машины, до пункта выдачи устройства, причем указанные толкатели размещены попарно и выполнены с возможностью поочередного поворота в первом и втором направлении вокруг центральной оси, при этом направление перемещения является первым направлением, причем первый и третий толкатели и второй и четвертый толкатели соответственно располагаются диаметрально относительно друг друга вокруг общей центральной оси.
2. Устройство по п.1, отличающееся тем, что один толкатель в одной из пар предназначен для захвата упаковок сзади в направлении перемещения, и один толкатель в другой паре предназначен для захвата упаковок спереди в направлении перемещения.
3. Устройство по п.1, отличающееся тем, что пара, состоящая из первого и третьего толкателей, и пара, состоящая из второго и четвертого толкателей соответственно после каждого перемещения упаковок на пункт выдачи поворачиваются в противоположных направлениях.
4. Устройство по п.3, отличающееся тем, что первый и третий толкатели выполнены с возможностью поворота в первом направлении после каждого второго перемещения упаковок к пункту выдачи, и поворота во втором направлении после каждого второго перемещения упаковок к пункту выдачи.
5. Устройство по п.1, отличающееся тем, что толкатель, который захватывает упаковки сзади, выполнен с возможностью после перемещения упаковок к пункту выдачи поворота во втором направлении для обеспечения захвата последующих упаковок на приемном пункте спереди, при этом толкатель, который захватывает упаковки спереди, после перемещения упаковок на пункт выдачи выполнен с возможностью поворота в первом направлении для обеспечения захвата другим толкателем из той же пары последующих упаковок на приемном пункте сзади.
6. Устройство по п.1, отличающееся тем, что толкатели выполнены с возможностью передачи упаковок на конвейерную ленту на пункте выдачи, причем конвейерная лента движется со скоростью конвейерной ленты, а толкатели выполнены с возможностью перемещения упаковок со скоростью, по существу равной скорости конвейерной ленты.
7. Устройство по п.1, отличающееся тем, что оно дополнительно содержит поворотное средство для перемещения и поворота упаковок, выходящих из упаковочной машины вверх дном, помещая перевернутые должным образом упаковки на приемном пункте устройства.
8. Устройство по п.1, отличающееся тем, что перемещение упаковок может происходить вдоль отрезка круга, имеющего радиус, по существу равный радиусу кривизны поворота толкателей.
9. Устройство по п.8, отличающееся тем, что радиус кривизны поворота толкателей, по существу, равен радиусу кривизны пути движения упаковок, выходящих из упаковочной машины.
10. Устройство по п.1, отличающееся тем, что толкатели выполнены с возможностью перемещения одной упаковки за раз от приемного пункта до пункта выдачи.
11. Устройство по п.1, отличающееся тем, что толкатели выполнены с возможностью перемещения двух и более упаковок за раз от приемного пункта до пункта выдачи.
12. Устройство по п.11, отличающееся тем, что толкатели выполнены с возможностью совместного проталкивания двух или более упаковок, выходящих из упаковочной машины на расстоянии друг от друга, путем поворота толкателей, захватывающих упаковки на приемном пункте по направлению друг к другу перед перемещением упаковок на пункт выдачи.
13. Способ подачи упаковок из упаковочной машины, отличающийся тем, что содержит этапы, на которых: принимают на приемном пункте, примыкающем к упаковочной машине, первую партию из, по меньшей мере, одной упаковки между первым и вторым толкателями упаковок, причем первый толкатель располагается в паре с третьим толкателем, а второй толкатель располагается в паре с четвертым толкателем, при этом первый и третий толкатели и второй и четвертый толкатели соответственно располагаются диаметрально относительно друг друга вокруг общей центральной оси, и указанные толкатели могут поворачиваться вокруг центральной оси, перемещают указанную, по меньшей мере, одну упаковку посредством поворота толкателей в направлении перемещения вокруг центральной оси к пункту выдачи, причем первый толкатель движется позади и второй толкатель движется перед, по меньшей мере, одной упаковкой, и возвращают первый толкатель на приемный пункт после того, как, по меньшей мере, одна упаковка достигает пункта выдачи, и продвигают второй толкатель путем поворота вокруг центральной оси таким образом, что четвертый толкатель продвигается к приемному пункту, а первый и четвертый толкатели готовы принять вторую партию из, по меньшей мере, одной упаковки.
14. Способ по п.13, отличающийся тем, что упаковки передаются на конвейерную ленту в пункте выдачи, причем конвейерная лента движется с заданной скоростью, и упаковки перемещают от приемного пункта к пункту выдачи со скоростью, по существу равной скорости конвейерной ленты.
15. Способ по п.13 или 14, отличающийся тем, что упаковки снимают с упаковочной машины кверху дном, и переворачивают и размещают должным образом на приемном пункте.
16. Способ по п.13, отличающийся тем, что из упаковочной машины подают одну упаковку за раз.
17. Способ по п.13, отличающийся тем, что из упаковочной машины подают две или более упаковок за раз.
18. Способ по п.17, отличающийся тем, что указанные две или более упаковок принимают на приемном пункте на расстоянии друг от друга, сдвигают вместе посредством относительного поворота толкателей, принимающих упаковки, и перемещают к пункту выдачи примыкающими друг к другу.
РИСУНКИ
|
|