|
(21), (22) Заявка: 2005120629/11, 25.11.2003
(24) Дата начала отсчета срока действия патента:
25.11.2003
(30) Конвенционный приоритет:
29.11.2002 GB 0227932.1 29.11.2002 GB 0227939.6 29.11.2002 GB 0227945.3 24.10.2003 GB 0324901.8
(43) Дата публикации заявки: 27.01.2006
(46) Опубликовано: 20.12.2008
(56) Список документов, цитированных в отчете о поиске:
DE 3922779 А, 17.01.1991. GB 2210865 А, 21.06.1989. GB 2270124 А, 02.03.1994. FR 2138685 А, 05.01.1973. ЕР 0697369 А1, 21.02.1996. ЕР 0389191 А1, 26.09.1990. GB 1190593 А, 06.05.1970. SU 1628851 A3, 15.02.1991. RU 2001110345 A, 10.08.2002.
(85) Дата перевода заявки PCT на национальную фазу:
29.06.2005
(86) Заявка PCT:
IB 03/05405 (25.11.2003)
(87) Публикация PCT:
WO 2004/050482 (17.06.2004)
Адрес для переписки:
103735, Москва, ул. Ильинка, 5/2, ООО “Союзпатент”, пат.пов. С.Б.Фелицыной, рег.№ 303
|
(72) Автор(ы):
АНДЕРСОН Айан (GB), ГРИМУЕЙД Стивен Дж. (GB)
(73) Патентообладатель(и):
ИНБЕВ С.А. (BE)
|
(54) СПОСОБ ЗАПОЛНЕНИЯ МЕШКА НАПИТКОМ И РАЗЛИВА НАПИТКА ИЗ МЕШКА
(57) Реферат:
В заявке описан способ заполнения мешка алкогольным напитком, заключающийся в том, что до заполнения мешка напитком его наполняют инертным газом. Инертный газ выпускают из мешка по мере его заполнения напитком. За счет того что мешок предварительно наполняют инертным газом, он не раздувается при заполнении напитком и, следовательно, мешок в меньшей степени подвержен разрыву в процессе его заполнения напитком, а вместе с инертным газом удаляется оказавшийся в мешке воздух. Из мешка выходит смесь инертного газа и воздуха. При этом уменьшается вероятность того, что в мешке останется воздух, а напиток будет испорчен. Изобретением предусматривается размещение мешка в контейнере, при этом из полости между контейнером и мешком также удаляют воздух. Если напитком является пиво, в качестве инертного газа может использоваться СО2 или азот. В изобретении также предлагается клапанный узел, предназначенный для аппарата для разлива алкогольных напитков как самостоятельное изделие и в сборе с заборной трубой. Технический результат направлен на уменьшение вероятности того, что в мешке после его заполнения напитком останется воздух. 9 н. и 84 з.п. ф-лы, 13 ил.
Область техники, к которой относится изобретение
Настоящее изобретение относится к способу заполнения мешка алкогольным напитком, в частности – к способу заполнения алкогольным напитком мешка, расположенного в контейнере, таком как бочонок. Настоящее изобретение также относится к клапанному узлу, а также к клапанному узлу в сборе с заборной трубой, которые служат для заполнения алкогольным напитком мешка, расположенного в контейнере.
Предпосылки создания изобретения
Известно, что алкогольные напитки, такие как вино, хранят в мешках, которые помещают в картонные контейнеры. Кроме того, известно использование для хранения пива мешков, которые помещают в бочонок. В последнем случае для выхода пива из мешка и из бочонка на мешок воздействуют давлением. Кроме того, перед заправкой пивом мешок помещают в контейнер-бочонок.
Заполнение мешка пивом осложнено двумя потенциальными проблемами. Одна из них заключается в том, что в мешке еще может находиться воздух, который смешивается с пивом и приводит к его порче. Другая проблема состоит в том, что, если пиво заливают непосредственно в мешок, он может порваться.
Краткое изложение сущности изобретения
В основу настоящего изобретения была положена задача создания способа заполнения мешка алкогольным напитком или пивом, уменьшающего вероятность того, что в мешке после его заполнения напитком остается воздух.
Другой задачей настоящего изобретения является создание способа заполнения мешка алкогольным напитком или пивом, в котором снижена вероятность разрыва мешка в процессе его заполнения напитком.
Задачей настоящего изобретения также является создание клапанного узла для применения в аппарате для разлива алкогольных напитков или пива, в котором снижен риск того, что в мешке после его заполнения напитком остается воздух.
Еще одной задачей настоящего изобретения также является создание единого клапанного узла для установки в одном отверстии аппарата для разлива алкогольных напитков или пива.
Дополнительной задачей настоящего изобретения является разработка клапанного узла для применения в аппарате для разлива алкогольных напитков или пива, позволяющего заполнять мешок алкогольным напитком или пивом, поддавливать контейнер, воздействуя на мешок с целью разлива алкогольного напитка из мешка, и уменьшить вероятность разрыва мешка в процессе его заполнения напитком.
Еще одной задачей настоящего изобретения является создание клапанного узла в сборе с заборной трубой для применения в аппарате для разлива алкогольных напитков или пива с целью снижения риска того, что в заполненном пивом мешке остается воздух, который выполнен в виде отдельного узла аппарата для разлива алкогольных напитков с возможностью его чистки и повторного использования.
Задачей настоящего изобретения также является создание клапанного узла в сборе с заборной трубой, используемого в аппарате для разлива алкогольных напитков или пива и позволяющего заполнять мешок алкогольным напитком или пивом, поддавливать контейнер, воздействуя на мешок с целью разлива алкогольного напитка из мешка, и уменьшить вероятность разрыва мешка в процессе его заполнения напитком.
В настоящем изобретении предлагается способ заполнения мешка алкогольным напитком, заключающийся в том, что мешок перед его заполнением напитком наполняют инертным газом и выпускают инертный газ из мешка, предпочтительно по мере его наполнения напитком.
За счет того что мешок предварительно наполняют инертным газом, не требуется наполнять его газом в процессе заполнения напитком и, следовательно, мешок менее подвержен разрыву в процессе его наполнения напитком. Кроме того, инертный газ не вступает в неблагоприятные реакции с напитком, в результате которых он портится. Наполнение мешка инертным газом также позволяет вытеснять из него воздух, который может оказаться в мешке или обеспечивает смешивание инертного газа с таким воздухом, причем во время выпуска инертного газа такой воздух отводится из мешка вместе с инертным газом. Благодаря этому снижается вероятность того, что воздух будет заперт в мешке и испортит напиток в нем. Инертный газ предпочтительно выпускать из мешка при заполнении наполненного инертным газом мешка напитком.
В изобретении предлагается также способ заполнения расположенного в контейнере мешка алкогольным напитком, заключающийся в том, что из контейнера удаляют воздух, находящийся между контейнером и мешком. Затем до заполнения мешка напитком мешок наполняют инертным газом, который выпускают из мешка при заполнении мешка напитком.
Благодаря предварительному удалению воздуха из контейнера до его наполнения инертным газом в настоящем изобретении уменьшается вероятность образования воздушных карманов, запираемых в полости между мешком и контейнером в процессе наполнения мешка инертным газом. Кроме того, для наполнения мешка инертным газом требуется меньшее давление, за счет чего уменьшается нагрузка на мешок в процессе его наполнения инертным газом и, следовательно, снижается риск разрыва мешка. Если же газ подают в мешок без снижения давления подачи, то скорость заполнения мешка не снижается из-за необходимости выдавливания воздуха из контейнера, поскольку этот воздух уже удален. Эти преимущества можно еще более развить, если удаление воздуха продолжать во время наполнения мешка инертным газом.
Под удалением воздуха из контейнера понимается уменьшение объема воздуха в контейнере с наружной стороны мешка, создающего в контейнере разрежение, что облегчает наполнение мешка инертным газом.
Под инертным газом или газом для раздува мешка понимается газ, который не вступает в химические реакции при смешивании с алкогольным напитком, не портит и не ухудшает качество напитка. Если напитком является пиво, в качестве инертного газа предпочтительно использовать CO2 или азот.
Объектом изобретения является также клапанный узел, позволяющий заполнять алкогольным напитком мешок, расположенный в контейнере с проемом. Предлагаемый в изобретении клапанный узел содержит корпус, который крепится в проеме контейнера. В одном варианте выполнения в корпусе клапанного узла проходит расположенный по центру первый канал. В корпусе клапанного узла также проходит по меньшей мере один второй канал, расположенный снаружи первого канала с радиальным интервалом между ними. Клапанный узел имеет первый клапан, установленный по центру корпуса в плотном разъемном контакте с первым каналом для регулирования потока газа для раздува мешка или потока напитка, движущегося через первый канал в мешок и из мешка. Клапанный узел имеет также второй клапан, установленный в корпусе концентрично первому клапану в плотном разъемном контакте по меньшей мере с одним вторым каналом для регулирования потока газа для раздува мешка или потока напитка, движущегося через по меньшей мере один второй канал в мешок и из мешка.
Изобретением предусматривается, что в корпусе клапанного узла проходит по меньшей мере один третий канал, расположенный снаружи первого канала с радиальным интервалом между ними, и расположен третий клапан, установленный в корпусе клапанного узла концентрично первому клапану для регулирования потока газа, движущегося через по меньшей мере один третий канал в полость контейнера с наружной стороны мешка и из контейнера. Третий клапан позволяет удалять воздух из контейнера-бочонка по мере наполнения мешка инертным газом и принудительно подавать в контейнер сжатый воздух, который давит на мешок, способствуя разливу напитка. В данном варианте осуществления три клапана выполнены в виде одного клапанного узла.
Второй и третий клапаны предпочтительно представляют собой концентрично разнесенные кольцевые клапаны, имеющие толкатели для их открытия и закрытия, расположенные с радиальным интервалом между собой и способны независимо друг от друга перемещаться в осевом направлении.
Во втором варианте предлагаемого в изобретении клапанного узла в его корпусе на расстоянии друг от друга проходят первый, второй и третий каналы. Клапанный узел имеет первый, второй и третий клапаны. Первый клапан установлен в первом канале для регулирования потока газа для раздува мешка, предпочтительно СО2, или потока напитка, движущегося через первый канал в мешок и из мешка. Второй клапан установленный во втором канале для регулирования потока газа для раздува мешка или потока напитка, движущегося через второй канал в мешок и из мешка. Третий клапан установлен в третьем канале для регулирования потока газа, движущегося через третий канал в полость контейнера с наружной стороны мешка и из контейнера.
За счет наличия дополнительного клапана, т.е. двух клапанов, пропускающих газ для раздува мешка, мешок можно наполнить газом перед его заполнением пивом. Использование газа для раздува мешка снижает риск разрыва мешка при его заполнении напитком. При заполнении наполненного газом мешка алкогольным напитком инертный газ и смешанный с ним воздух вытесняются через клапан, не используемый для наполнения мешка напитком.
Первый клапан предпочтительно использовать для заполнения мешка алкогольным напитком и его разлива из мешка. Второй клапан предпочтительно использовать для наполнения мешка газом для раздува мешка и его отвода из мешка по мере его заполнения алкогольным напитком через первый клапан.
Каждый клапан может быть снабжен толкателем для его открытия и закрытия. Предпочтительно, чтобы толкатели клапанов выступали из корпуса клапанного узла на разные расстояния. Это создает возможность избирательного приведения клапанов в действие, поочередно или в заданных сочетаниях в процессе наполнения мешка газом, его заполнения алкогольным напитком и разлива алкогольного напитка. Первый канал предпочтительно располагать по центру корпуса клапанного узла, а два других канала – с радиальным интервалом относительно него.
Соответственно, объектом настоящего изобретения является также клапанный узел для заполнения алкогольным напитком мешка, расположенного в контейнере с проемом. Предлагаемый в изобретении клапанный узел содержит корпус, который крепится в проеме контейнера. В корпусе клапанного узла проходят расположенный по центру первый канал и по меньшей мере один второй канал, расположенный снаружи первого канала с радиальным интервалом между ними. Клапанный узел имеет первый клапан, установленный по центру корпуса в плотном разъемном контакте с первым каналом для регулирования потока газа для раздува мешка или потока напитка, движущегося через первый канал в мешок и из мешка. Клапанный узел имеет также второй клапан, установленный в корпусе концентрично первому клапану в плотном разъемном контакте по меньшей мере с одним вторым каналом для регулирования потока газа для раздува мешка или потока напитка, движущегося через по меньшей мере один второй канал в мешок и из мешка.
Еще одним объектом настоящего изобретения является клапанный узел в сборе с заборной трубой для использования в контейнере с расположенным в нем мешком, заполняемым алкогольным напитком. Предлагаемый в изобретении клапанный узел содержит корпус, в котором на расстоянии друг от друга проходят первый, второй и третий каналы. Клапанный узел имеет первый клапан, установленный в первом канале для регулирования потока газа для раздува мешка или потока напитка через первый канал, второй клапан, установленный во втором канале для регулирования потока газа для раздува мешка или потока напитка через второй канал. Клапанный узел имеет третий клапан, установленный в третьем канале для регулирования потока поддавливающего контейнер газа через третий канал. Клапанный узел имеет также продолговатую заборную трубу, выступающую из первого канала и сообщающуюся с ним. Заборная труба имеет открытый конец, расположенный на расстоянии от первого канала. Благодаря агрегатному исполнению клапанного узла в сборе с заборной трубой этот узел можно извлекать из контейнера, очищать и использовать повторно.
Предпочтительно, чтобы первый канал имел патрубок, выступающий из корпуса клапанного узла с возможностью выхода в мешок, а заборная труба крепилась к указанному патрубку.
Предпочтительно также, чтобы внутренний диаметр патрубка соответствовал наружному диаметру заборной трубы таким образом, чтобы заборная труба могла быть посажена в патрубок с натягом.
Краткое описание чертежей
Сущность настоящего изобретения и его объекты более подробно рассмотрены ниже на примере нескольких вариантов осуществления изобретения со ссылкой на прилагаемые к описанию схематичные чертежи, на которых показано:
на фиг.1 – вид спереди предлагаемого в изобретении аппарата для разлива бочкового пива в домашних условиях,
на фиг.2 – вид сбоку аппарата для разлива бочкового пива в домашних условиях,
на фиг.3 – вид бочонка в аксонометрии с разрезом, иллюстрирующим устройство, установленного в бочонке клапанного узла в сборе с заборной трубой,
на фиг.4 – вид сбоку в разрезе клапанного узла в сборе с заборной трубой, показанного на фиг.3,
на фиг.5 – вид в аксонометрии клапанного узла в сборе с заборной трубой без бочонка,
на фиг.6 – вид сверху корпуса клапанного узла,
на фиг.7, 8, 9, 9А и 10 – упрощенные виды в разрезе корпуса клапанного узла, иллюстрирующие работу клапана,
на фиг.11 – вид в аксонометрии с пространственным разделением деталей предлагаемого в изобретении клапанного узла в сборе с заборной трубой и бочонка,
на фиг.12. – вид в разрезе клапанного узла в сборе с заборной трубой, показанного на фиг.11,
на фиг.13 – вид в разрезе клапанного узла в сборе с заборной трубой в другом варианте выполнения.
Подробное описание изобретения
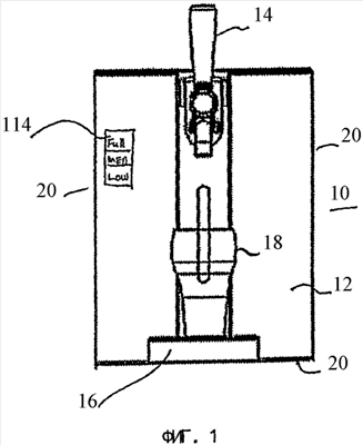
На фиг.1 и 2 показан предлагаемый в изобретении аппарат 10, предназначенный для разлива бочкового пива в домашних условиях. Обычно такой аппарат 10 устанавливают на кухне, что, однако не исключает возможности его установки в подсобных помещениях, в гараже, в домашнем баре, в передвижном доме на колесах и в других подобных местах. Предлагаемый в изобретении аппарат 10 предпочтительно предназначен для разлива бочкового пива, но может быть использован и для разлива различных газированных или других алкогольных напитков.
Корпус аппарата 10 для разлива бочкового пива в домашних условиях имеет переднюю стенку 12 с выступающим наружу краном 14 для разлива пива. В нижней части передней стенки 12 расположен выступающий наружу поддон 16, на который непосредственно под краном 14 можно поставить открытый стеклянный стакан или бокал 18. Корпус аппарата 10 имеет также опору 21, предназначенную для установки аппарата сверху на соответствующее основание. Передняя стенка 12 корпуса примыкает к двум поворотным боковым стенкам 20, которые можно открыть и закрыть при установке в корпус аппарата 10 бочонка 22 (см. пунктирные линии на фиг.2) с пивом.
Корпус предлагаемого в изобретении аппарата 10 имеет также верхнюю стенку 24 и заднюю стенку 26. Задняя стенка 26 имеет решетку 30, предназначенную для циркуляции воздуха внутри аппарата 10. Через заднюю стенку 26 корпуса аппарата 10 проходит электрический провод 32, который предназначен для подключения аппарата к внешнему источнику электропитания, потребляемого различными компонентами, расположенными в корпусе аппарата 10. В принципе для работы аппарата можно использовать и обычные 12-вольтовые источники постоянного тока.
Аппарат 10 для разлива бочкового пива оборудован расположенной под бочонком 22 у его задней стороны системой 34 охлаждения, предназначенной для охлаждения пива, находящегося в установленном в корпусе аппарата 10 бочонке 22.
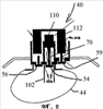
На фиг.3-6 показан клапанный узел 40 и заборная труба 102 пива.
Клапанный узел 40 вставляется в проем 42 бочонка 22 с приподнятым краем. Клапанный узел 40 имеет корпус 46 кольцевой формы, который крепится в проеме 42 бочонка. Корпус 46 клапанного узла имеет кольцевую канавку 47 и фланец 49, выступающий над верхней стенкой бочонка 22 для соединения с переходником для разлива напитка (на чертежах не показан), подключенным к крану 14 для разлива пива (см. фиг.1 и 2).
Через корпус 46 на расстоянии друг от друга проходят первый канал 48, второй канал 50 и третий канал 52. Как показано на фиг.6, первый канал 48 проходит по центру, т.е. внутри корпуса 46, а второй и третий каналы 50 и 52 расположены снаружи центрального канала 48 с радиальным интервалом относительно него.
В состав клапанного узла входят первый клапан 54, второй клапан 56 и третий клапан 58. Первый клапан 54 установлен в первом канале 48 для регулирования потока напитка или пива, движущегося через первый канал 48 в мешок 44 и из него.
Второй клапан 56 установлен во втором канале 50 для регулирования потока газа, такого как углекислый газ, движущегося через второй канал 50 в мешок и из него.
Третий клапан 58 установлен в третьем канале 52 для регулирования потока газа, движущегося через третий канал 52 в полость бочонка 22 с наружной стороны мешка 44 и из бочонка.
Каждый клапан 54, 56 и 58 имеет толкатель или шток 60, который открывает и закрывает клапан. Штоки 60 клапанов 54, 56 и 58 выступают из корпуса 46 клапанного узла на разные расстояния. Во всех клапанах 54, 56 и 58 имеется соединенная со штоком 60 головка 70. На головке 70 клапана установлено уплотнительное кольцо 72, за счет которого головка может герметично перекрывать канал соответствующего клапана. Под действием поджимающей клапан пружины 74 головка 70 клапана перекрывает канал соответствующего клапана. К штоку 60 каждого клапана обеспечен доступ извне бочонка 22 для перемещения головок 70 клапанов в открытое и закрытое положение соответственно с открытием или перекрытием потока текучей среды через соответствующие каналы 48, 50 и 52.
На внутренней стенке 64 корпуса 46 клапанного узла выполнена кольцевая канавка 62. Внутренняя стенка 64 расположена внутри бочонка 22. В канавку 62 плотно посажена горловина 66 мешка 44. Кольцевая канавка 62 окружает первый и второй каналы 48 и 50. Поскольку канавка 62 не окружает третий канал 52, третий канал 52 расположен снаружи мешка 44.
Бочонок 22 имеет приподнятый кольцевой фланец 82, проходящий по краю выполненного в контейнере проема 42, на наружной боковой стенке 63 корпуса 46 клапанного узла выполнена канавка 61, проходящая по окружности наружной стенки 63. Промежуточное кольцо 80 имеет внутреннюю и наружную стенки 84, 86. На внутренней стенке имеется обращенный внутрь выступ 88, входящий в канавку 61 наружной стенки 63 корпуса 46 клапанного узла. Наружная стенка 86 промежуточного кольца 80 имеет упругий выступ 90, а также расположенный на расстоянии от него упорный фланец 92, образующие наружную установочную канавку 94, в которой удерживается кольцевой фланец 82 бочонка 22. Упругий выступ 90 проходит через проем 42 бочонка и возвращается в свое исходное положение, запирая кольцевой фланец 82 бочонка 22 с обеспечением фиксации клапанного узла 40. Для извлечения клапанного узла 40 и промежуточного кольца 80 из проема с кольцевым фланцем 82 возвращаемого на пивоваренный завод для заполнения пивом бочонка 22 необходимо иметь специальный инструмент.
С целью обеспечения защиты содержимого бочонка 22 от несанкционированного вскрытия бочонок 22 снабжен контрольным кольцом 96, расположенным поверх промежуточного кольца 80, части бочонка 22 и части корпуса 46 клапанного узла. Промежуточное кольцо 80 имеет проходящее насквозь него отверстие 98, образующее вентиляционный канал. В отверстие 98 с вентиляционным каналом промежуточного кольца 80 входит выступ 100 контрольного кольца 96. При удалении с бочонка 22 контрольного кольца 96 вентиляционный канал отверстия 98 промежуточного кольца открывается, соединяя полость бочонка с наружной стороны мешка с атмосферой и стравливая давление в бочонке 22. Контрольное кольцо 96 также служит предохранительным клапаном и, когда давление в бочонке 22 становится больше определенной величины, открывает вентиляционный канал отверстия 98, через которое сжатый воздух выходит из бочонка в атмосферу.
Клапанный узел 40 и заборная труба 102 вместе образуют узел, который можно извлечь для повторного использования. Горловину 66 мешка можно извлечь из клапанного узла 40, после чего очищают клапанный узел 40 и заборную трубу 102 и повторно используют их с новым мешком 44 и горловиной 66. Клапанный узел в сборе с заборной трубой отдельно показан на фиг.5. Вниз или наружу из внутренней стенки 64 корпуса 46 клапанного узла выступает патрубок 104 первого канала 48, предназначенный для установки заборной трубы. Заборная труба 102 выполнена в виде удлиненной полой трубки с закругленными нижними краями или дном и концом 108 с отверстием, которое, как и первый канал 48 корпуса 46 клапанного узла, направлено в сторону дна бочонка 22 и дна мешка 44. Наружный диаметр заборной трубы 102 таков, что она с натягом посажена в патрубок 104 первого канала 48, за счет чего обеспечивается их соединение. Посадка с натягом может быть осуществлена приданием конусности наружной стенке заборной трубы 102 и внутренней стенки патрубка 104. В принципе, для монтажа заборной трубы может использоваться соединение с защелкиванием.
На фиг.7 показан клапанный узел 40 и его первый, второй и третий клапаны 54, 56 и 58 в закрытом положении. Штоки 60 клапанов 54, 56 и 58 выступают вверх на разные расстояния, за счет чего каждый клапан может быть приведен в действие избирательно согласно описанному способу заполнения мешка 44 пивом или алкогольным напитком.
На фиг.8 клапанный узел 40 показан установленным на бочонок 22 с мешком 44, который проиллюстрирован окружностью меньшего диаметра внутри бочонка 22. Перед тем как поместить в бочонок 22 клапанный узел 40, заборную трубу 102 и мешок 44, из мешка откачивают воздух. Затем контактное кольцо 110 нажимает на толкатель 70 первого клапана 54, и одновременно контактное кольцо 112 нажимает на толкатель 70 третьего клапана 58. В этом момент через первый канал 48 нагнетают углекислый газ, поскольку первый клапан 54 открыт за счет действия контактного кольца 110. Углекислый газ заполняет мешок 44, который увеличивается в объеме и заполняет бочонок 22. Далее углекислый газ смешивается с воздухом, запертым в аппарате 10.
По мере увеличения объема мешка 44 внутри бочонка 22 воздух, запертый между мешком 44 и бочонком 22, выходит через третий канал 52, поскольку третий клапан 58 открыт.
В другом варианте осуществления изобретения до нагнетания углекислого газа через канал 48 третий клапан 58 открывается и третий канал 52 соединяется с вакуумным насосом (не показан), который создает разрежение в третьем канале 52 и удаляет воздух, находящийся в полости бочонка 22 с наружной стороны мешка, создавая в бочонке 22 разрежение. Затем, как и ранее, контактное кольцо 110 открывает первый клапан 54, и по первому каналу 48 под давлением нагнетается углекислый газ. Углекислый газ заполняет мешок 44, который увеличивается в объеме и заполняет бочонок 22. Далее углекислый газ смешивается с воздухом, запертым в аппарате 10. За счет предварительного удаления воздуха из бочонка 22 мешок 44 легко увеличивается в объеме внутри бочонка 22. Как вариант, удаление воздуха из бочонка 22 может продолжаться в процессе наполнения мешка 44 углекислым газом.
Как показано на фиг.9, на следующей стадии мешок 44 заполняют пивом. При этом предпочтительно использовать больший по размеру или центральный клапан. Таким образом, открывается первый клапан 54, и одновременно с ним открывается второй клапан 56. В данном варианте пиво поступает по первому каналу 48, а по второму каналу 50 отводится углекислый газ, вместе с которым удаляется смешавшийся с ней воздух.
На фиг.9А показан альтернативный вариант, в котором мешок 44 заполняют пивом в перевернутом положении. В данном случае для подачи пива в контейнер используется меньший или второй клапан 56, а первый клапан 54 используется для отвода из мешка 44 углекислого газа.
На следующей стадии осуществляют разлив напитка, как это показано на фиг.10. На клапанный узел 40 устанавливают переходник 114, открывая клапаны 54 и 58 и соединяя раздаточную трубку 118 с первым каналом 48 таким образом, что при открытии крана 14 пиво поступает вверх по заборной трубе 102 и наружу по первому каналу 48 в кран 14. Одновременно мешок 44 поддавливают извне, поджимая пиво к выходу из аппарата. Для этого используют вытеснительную систему (не показана), которая соединена с третьим каналом 52 и третьим клапаном 58, при открытии которого сжатый воздух поступает по третьему каналу 52.
Благодаря тому, что штоки 60 первого, второго и третьего клапанов 54, 56 и 58 имеют различную заданную высоту или длину, кольцо раздаточного устройства приводит в действие или открывает различные клапаны избирательно.
На фиг.12 и 13 показаны клапанный узел 40 и заборная труба 102. Клапанный узел 40 вставляется в проем 42 бочонка 22, по краю которого проходит кольцевой фланец. Клапанный узел 40 имеет корпус 146 кольцевой формы, который крепится в проеме 42 при помощи втулки 141 и контровочных штырей 143. Корпус 146 клапанного узла имеет кольцевой фланец 149 (см. фиг.11), к которому крепится переходник (не показан), соединенный с краном 14 (фиг.1 и 2) для разлива напитка из бочонка 22.
По центру корпуса 146 клапанного узла проходит первый канал 148. В первом канале 148 находится первый клапан 154 в форме шарика, подвижно установленного в канале 148. В нормальном положении шариковый клапан 154 поджат в закрытое положение пружиной 155. Первый канал 148 соединен с заборной трубой 102 и является его частью. Через заборную трубу проходит центральный канал 103, по которому напиток или газ для раздува мешка поступает к дальнему концу 105 трубы, расположенному вблизи дна бочонка 22.
В корпусе 146 клапанного узла проходит второй канал 150, смещенный наружу от первого канала 148. Как показано на фиг.12, с диаметрально противоположных сторон центрального канала 148 проходят каналы 150. Как показано на фиг.11, этих каналов 150 два. Понятно, что может быть достаточно и одного такого канала при условии, что он расположен с радиальным интервалом относительно первого канала 148. Второй канал 150 закрывает второй клапан 156, который представляет собой кольцевой или пластинчатый клапан. Клапан 156 поджат в закрытое положение в корпусе 146 клапанного узла при помощи пружины 157. Пружина 157 упирается в верхнюю часть 107 трубы 102 и давит на пластинчатый или второй клапан 156, который плотно перекрывает отверстие 150. Пластинчатый клапан 156 имеет поверхность 159 толкателя и смещен в радиальном направлении от центрального клапана 154 с возможностью перемещения в осевом направлении параллельно оси 101 независимо от осевого перемещения шарикового клапана 154.
В корпусе 146 также проходит по меньшей мере один третий канал 152. Канал 152 расположен с радиальным интервалом относительно центрального канала 103. Канал 152 закрыт третьим кольцевым клапаном 158. Третий кольцевой клапан 158 поджат в закрытое положение пружиной 163, которая давит на стенку, разделяющую второй канал 150 и третий канал 152, удерживая клапан 158 в закрытом положении. Клапан 158 имеет кольцевую поверхность 161 толкателя и смещен относительно первого и второго клапанов 154 и 156 в осевом и радиальном направлениях с возможностью перемещения в направлении, параллельном оси 101, независимо от этих клапанов.
Первый или шариковый клапан 154 перемещается, регулируя поток газа для раздува мешка или поток пива, движущийся в мешок 44 или из него. Второй клапан 156 также регулирует поток газа для раздува мешка или пива, движущийся в мешок 44 или из него. В предпочтительном варианте изобретения поток газа для раздува мешка регулирует второй клапан 156, а поток пива – первый клапан 154.
Третий клапан 158 установлен в третьем канале 152 и в открытом положении впускает показанный стрелками 63 воздух, нагнетаемый в полость бочонка 22 с наружной стороны мешка 44.
Корпус 146 клапанного узла фактически выполняет функцию горловины мешка 44 и состоит из двух частей 146а и 146b, соединенных замком с защелкиванием таким образом, чтобы надежно зафиксировать расположенные между ними пластинчатые клапаны 156 и 158. Часть 146b горловины или корпуса клапанного узла имеет обращенный наружу кольцевой фланец 170, на который крепится мешок 44 и диаметр которого превышает диаметр второго канала 150. Мешок 44 присоединен к наружному фланцу 170 сваркой, за счет чего мешок 44, клапанный узел 40 и заборная труба 102 вместе образуют устройство одноразового применения.
На фиг.13 показан вариант изобретения, сходный с показанным на фиг.4 вариантом в том, что клапанный узел 40 содержит первый клапан 154 и второй клапан 156. Отличие же заключается в том, что третьим клапаном является клапан 110, который установлен в верхней стенке бочонка 22.
Как показано на фиг.12, в процессе сборки бочонка 22 и заполнения его пивом заборную трубу 102 и клапанный узел 40 вместе с мешком 44 вводят через проем 42 в бочонке 22. Клапанный узел 40 при помощи втулки 141 и контровочных штырей 143 устанавливают в рабочее положение. Затем мешок 44 через отверстие в клапане 156 наполняют предпочтительно углекислым газом. При этом мешок 44 внутри бочонка 22 увеличивается в объеме. Одновременно открывается воздушный клапан 158, выпускающий воздух из бочонка 22 по мере того, как мешок 44 увеличивается в объеме и заполняет пространство внутри бочонка 22.
После наполнения мешка 44 углекислым газом оказавшийся внутри мешка воздух должен смешаться с углекислым газом. На следующей стадии через трубу 102 в наполненный газом мешок 44 подают пиво. Для этого к первому клапану 154 присоединяют шланг, открывая клапан 154, а затем через клапан 154 и заборную трубу 102 подают пиво в мешок 44. Шланг одновременно открывает клапан 156 для выхода газа по мере заполнения объема мешка 44 пивом.
При разливе пива к клапанному узлу 40 прикрепляют переходник (на чертежах не показан), соединяя заборную трубу 102 с краном 14 таким образом, чтобы при открытии крана 14 (фиг.1) пиво из мешка 44 поступало к крану по трубе 102 через клапан 154. Одновременно через клапан 158 подается сжатый воздух. В варианте, показанном на фиг.13, воздух подается через клапан 110, расположенный в верхней стенке бочонка 22. Сжатый воздух давит на наружную поверхность мешка 44, вытесняя пиво через трубу 102, клапан 154 в кран 14.
Формула изобретения
1. Способ заполнения расположенного в контейнере мешка алкогольным напитком, заключающийся в том, что из контейнера удаляют воздух, находящийся между контейнером и мешком, наполняют мешок инертным газом, выбранным из числа газов, не вступающих в неблагоприятные реакции с напитком, наполненный газом мешок заполняют напитком и выпускают инертный газ из мешка.
2. Способ по п.1, в котором удаление воздуха из мешка продолжается при наполнении мешка инертным газом.
3. Способ по п.1, в котором инертный газ представляет собой СО2.
4. Способ по п.1, в котором напиток представляет собой пиво.
5. Способ по п.1, в котором инертный газ выпускают из мешка во время заполнения наполненного газом мешка напитком.
6. Способ по п.1, в котором при наполнении мешка газом он увеличивается в объеме до объема контейнера.
7. Способ по п.1, в котором при наполнении мешка газом он прижимается к внутренним стенкам контейнера.
8. Способ по п.1, в котором контейнер представляет собой бочонок для пива, в котором закреплен мешок.
9. Способ заполнения алкогольным напитком мешка, расположенного в контейнере с системой из трех клапанов, установленных на мешке и контейнере, заключающийся в том, что путем создания в контейнере разрежения через первый клапан из контейнера удаляют воздух, находящийся между контейнером и мешком, через второй клапан наполняют мешок инертным газом, выбранным из числа газов, не вступающих в неблагоприятные реакции с напитком, через один из двух клапанов, второго и третьего, наполненный газом мешок заполняют напитком, а через другой из двух вышеупомянутых клапанов из мешка выпускают инертный газ.
10. Способ по п.9, в котором удаление воздуха из мешка продолжается при наполнении мешка инертным газом.
11. Способ по п.9, в котором инертный газ представляет собой СО2.
12. Способ по п.9, в котором напиток представляет собой пиво.
13. Способ по п.9, в котором инертный газ выпускают из мешка во время заполнения наполненного газом мешка напитком.
14. Способ по п.9, в котором при наполнении мешка газом он увеличивается в объеме до объема контейнера.
15. Способ по п.9, в котором при наполнении мешка газом он прижимается к внутренним стенкам контейнера.
16. Способ по п.9, в котором контейнер представляет собой бочонок для пива, в котором закреплен мешок.
17. Клапанный узел в сборе с заборной трубой для использования в контейнере с расположенным в нем мешком, заполняемым алкогольным напитком, содержащий корпус, в котором на расстоянии друг от друга проходят первый, второй и третий каналы, первый клапан, установленный в первом канале для регулирования потока газа для раздува мешка или потока напитка через первый канал, второй клапан, установленный во втором канале для регулирования потока газа для раздува мешка или потока напитка через второй канал, третий клапан, установленный в третьем канале для регулирования потока поддавливающего контейнер газа через третий канал, и продолговатую заборную трубу, выступающую из первого канала и сообщающуюся с ним, а также имеющую открытый конец, расположенный на расстоянии от первого канала.
18. Клапанный узел в сборе с заборной трубой по п.17, в котором первый канал имеет патрубок, выступающий из корпуса клапанного узла с возможностью выхода в мешок, причем заборная труба прикреплена к указанному патрубку.
19. Клапанный узел в сборе с заборной трубой по п.18, в котором заборная труба прикреплена к патрубку путем прессовой посадки.
20. Клапанный узел в сборе с заборной трубой по п.19, в котором наружный диаметр заборной трубы соответствует внутреннему диаметру патрубка, причем заборная труба посажена в патрубок с натягом.
21. Клапанный узел в сборе с заборной трубой по п.17, в котором клапаны имеют толкатели для их открытия и закрытия, выступающие из корпуса клапанного узла и контейнера на разные расстояния с возможностью избирательного приведения клапанов в действие.
22. Клапанный узел в сборе с заборной трубой по п.17, в котором один канал из числа первого, второго и третьего каналов расположен по центру корпуса клапанного узла, а два других канала расположены с радиальным интервалом относительно него.
23. Клапанный узел в сборе с заборной трубой по п.22, в котором по центру корпуса клапанного узла расположен первый канал.
24. Клапанный узел в сборе с заборной трубой по п.22, в котором клапаны имеют толкатели для их открытия и закрытия, выступающие из корпуса клапанного узла и контейнера на разные расстояния.
25. Клапанный узел в сборе с заборной трубой по п.24, в котором по центру корпуса клапанного узла расположен первый канал.
26. Клапанный узел в сборе с заборной трубой по п.25, в котором корпус клапанного узла выполнен кольцевой формы.
27. Клапанный узел в сборе с заборной трубой по п.26, в котором корпус клапанного узла имеет кольцо, выступающее над контейнером для соединения с переходником для разлива напитка.
28. Клапанный узел в сборе с заборной трубой по п.26, в котором на корпусе клапанного узла выполнена расположенная внутри контейнера кольцевая канавка для плотной посадки в нее горловины мешка.
29. Клапанный узел в сборе с заборной трубой по п.28, в котором кольцевая канавка окружает первый и второй каналы.
30. Клапанный узел в сборе с заборной трубой по п.25, в котором на корпусе клапанного узла выполнена расположенная внутри контейнера канавка для плотной посадки в нее горловины мешка.
31. Клапанный узел в сборе с заборной трубой по п.30, в котором канавка окружает первый и второй каналы.
32. Клапанный узел в сборе с заборной трубой по п.17, в котором первый, второй и третий клапаны выполнены со штоком, поршнем и головкой, причем к штоку каждого клапана обеспечен доступ извне контейнера для перемещения головки клапана в открытое и закрытое положение соответственно с открытием или перекрытием потока текучей среды через соответствующий канал в корпусе клапанного узла.
33. Клапанный узел в сборе с заборной трубой по п.32, в котором головка каждого клапана снабжена уплотнительным кольцом, прижимающимся к поверхности соответствующего канала в корпусе клапанного узла, и пружиной, установленной в соответствующем канале для поджатия головки клапана в закрытое положение.
34. Клапанный узел в сборе с заборной трубой по п.32, в котором штоки клапанов выступают из корпуса клапанного узла на разные расстояния с возможностью избирательного приведения клапанов в действие.
35. Контейнер, снабженный клапанным узлом в сборе с заборной трубой по любому из пп.17-34.
36. Клапанный узел для заполнения алкогольным напитком мешка, расположенного в контейнере с проемом, содержащий корпус, который крепится в проеме контейнера и в котором на расстоянии друг от друга проходят первый, второй и третий каналы, первый клапан, установленный в первом канале для регулирования потока газа для раздува мешка или потока напитка, движущегося через первый канал в мешок и из мешка, второй клапан, установленный во втором канале для регулирования потока газа для раздува мешка или потока напитка, движущегося через второй канал в мешок и из мешка, и третий клапан, установленный в третьем канале для регулирования потока газа, движущегося через третий канал в полость контейнера с наружной стороны мешка и из контейнера.
37. Клапанный узел по п.36, в котором клапаны имеют толкатели для их открытия и закрытия, выступающие из корпуса клапанного узла на разные расстояния.
38. Клапанный узел по п.36, в котором один канал из числа первого, второго и третьего каналов расположен по центру корпуса клапанного узла, а два других канала расположены с радиальным интервалом относительно него.
39. Клапанный узел по п.38, в котором по центру корпуса клапанного узла расположен первый канал.
40. Клапанный узел по п.38, в котором клапаны имеют толкатели для их открытия и закрытия, выступающие из корпуса клапанного узла на разные расстояния.
41. Клапанный узел по п.40, в котором по центру корпуса клапанного узла расположен первый канал.
42. Клапанный узел по п.41, корпус которого выполнен кольцевой формы.
43. Клапанный узел по п.42, корпус которого имеет кольцо, выступающее над контейнером для соединения с переходником для разлива напитка.
44. Клапанный узел по п.42, в котором на корпусе клапанного узла выполнена располагаемая внутри контейнера кольцевая канавка для плотной посадки в нее горловины мешка.
45. Клапанный узел по п.44, в котором кольцевая канавка окружает первый и второй каналы.
46. Клапанный узел по п.36, в котором на корпусе клапанного узла выполнена расположенная внутри контейнера канавка для плотной посадки в нее горловины мешка.
47. Клапанный узел по п.46, в котором канавка окружает первый и второй каналы.
48. Клапанный узел по п.36, в котором первый, второй и третий клапаны выполнены со штоком, поршнем и головкой, причем к штоку каждого клапана обеспечен доступ извне контейнера для перемещения головки клапана в открытое и закрытое положение соответственно с открытием или перекрытием потока текучей среды через соответствующий канал в корпусе клапанного узла.
49. Клапанный узел по п.48, в котором головка каждого клапана снабжена уплотнительным кольцом, прижимающимся к поверхности соответствующего канала в корпусе клапанного узла, и пружиной, установленной в соответствующем канале для поджатая головки клапана в закрытое положение.
50. Клапанный узел по п.48, в котором штоки клапанов выступают из корпуса клапанного узла на разные расстояния.
51. Контейнер, снабженный клапанным узлом по любому из пп.36-50.
52. Аппарат для разлива алкогольных напитков, содержащий бочонок с выполненным в нем проемом, расположенный внутри бочонка мешок, заполняемый алкогольным напитком, и клапанный узел, имеющий корпус, который закреплен в проеме бочонка и в котором на расстоянии друг от друга проходят первый, второй и третий каналы, первый клапан, установленный в первом канале для регулирования потока газа для раздува мешка или потока напитка, движущегося через первый канал в мешок и из мешка, второй клапан, установленный во втором канале для регулирования потока газа для раздува мешка или потока напитка, движущегося через второй канал в мешок и из мешка, и третий клапан, установленный в третьем канале для регулирования потока поддавливающего газа, движущегося через третий канал в полость контейнера с наружной стороны мешка.
53. Аппарат по п.52, в котором клапаны имеют толкатели для их открытия и закрытия, выступающие из корпуса клапанного узла и из контейнера на разные расстояния.
54. Аппарат по п.52, в котором один канал из числа первого, второго и третьего каналов расположен по центру корпуса клапанного узла, а два других канала расположены с радиальным интервалом относительно него.
55. Аппарат по п.54, в котором по центру корпуса клапанного узла расположен первый канал.
56. Аппарат по п.54, в котором клапаны имеют толкатели для их открытия и закрытия, выступающие из корпуса клапанного узла и контейнера на разные расстояния.
57. Аппарат по п.56, в котором по центру корпуса клапанного узла расположен первый канал.
58. Аппарат по п.57, в котором корпус клапанного узла выполнен кольцевой формы.
59. Аппарат по п.58, в котором корпус клапанного узла имеет кольцо, выступающее над контейнером для соединения с переходником для разлива напитка.
60. Аппарат по п.58, в котором на корпусе клапанного узла выполнена расположенная внутри контейнера кольцевая канавка для плотной посадки в нее горловины мешка.
61. Аппарат по п.60, в котором кольцевая канавка окружает первый и второй каналы.
62. Аппарат по п.52, в котором на корпусе клапанного узла выполнена расположенная внутри контейнера канавка для плотной посадки в нее горловины мешка.
63. Аппарат по п.62, в котором канавка окружает первый и второй каналы.
64. Аппарат по п.52, в котором первый, второй и третий клапаны выполнены со штоком, поршнем и головкой, причем к штоку каждого клапана обеспечен доступ извне контейнера для перемещения головки клапана в открытое и закрытое положение соответственно с открытием или перекрытием потока текучей среды через соответствующий канал в корпусе клапанного узла.
65. Аппарат по п.64, в котором головка каждого клапана снабжена уплотнительным кольцом, прижимающимся к поверхности соответствующего канала в корпусе клапанного узла, и пружиной, установленной в соответствующем канале для поджатия головки клапана в закрытое положение.
66. Аппарат по п.65, в котором штоки клапанов выступают из корпуса клапанного узла на разные расстояния.
67. Аппарат по п.52, в котором газ для раздува мешка представляет собой углекислый газ, а поддавливающий газ – воздух.
68. Аппарат по п.52, в котором контейнер имеет кольцевой фланец, проходящий по краю выполненного в контейнере проема, на наружной стенке корпуса клапанного узла выполнена канавка, проходящая по окружности наружной стенки, а клапанный узел дополнительно снабжен промежуточным кольцом с внутренней стенкой, имеющей обращенный внутрь выступ, входящий в канавку наружной стенки корпуса клапанного узла, и наружной стенкой, имеющей упругий выступ и расположенный на расстоянии от него упорный фланец, образующие наружную канавку, в которой удерживается кольцевой фланец контейнера, причем упругий выступ проходит через проем контейнера и возвращается в свое исходное положение, запирая кольцевой фланец контейнера с обеспечением фиксации клапанного узла относительно контейнера.
69. Аппарат по п.68, в котором контейнер снабжен расположенным поверх промежуточного кольца контрольным кольцом для защиты от несанкционированного вскрытия контейнера.
70. Аппарат по п.69, в котором в отверстие промежуточного кольца введена выступающая часть контрольного кольца таким образом, чтобы при удалении контрольного кольца полость контейнера с наружной стороны мешка соединялась с атмосферой.
71. Клапанный узел для заполнения алкогольным напитком мешка, расположенного в контейнере с проемом, содержащий корпус, который крепится в проеме контейнера и в котором проходят расположенный по центру первый канал и по меньшей мере один второй канал, расположенный снаружи первого канала с радиальным интервалом между ними, первый клапан, установленный по центру корпуса в плотном разъемном контакте с первым каналом для регулирования потока газа для раздува мешка или потока напитка, движущегося через первый канал в мешок и из мешка, и второй клапан, установленный в корпусе концентрично первому клапану в плотном разъемном контакте по меньшей мере с одним вторым каналом для регулирования потока газа для раздува мешка или потока напитка, движущегося через по меньшей мере один второй канал в мешок и из мешка.
72. Клапанный узел по п.71, в корпусе которого проходит по меньшей мере один третий канал, расположенный снаружи первого канала с радиальным интервалом между ними, и третий клапан, установленный в корпусе концентрично первому клапану для регулирования потока газа, движущегося через по меньшей мере один третий канал в полость контейнера с наружной стороны мешка и из контейнера.
73. Клапанный узел по п.72, в котором третий клапан расположен концентрично снаружи второго клапана с радиальным интервалом между ними.
74. Клапанный узел по п.71, в котором клапаны имеют толкатели для их открытия и закрытия, установленные с радиальными интервалами между собой с возможностью независимого друг от друга перемещения в осевом направлении.
75. Клапанный узел по п.72, в котором клапаны имеют толкатели для их открытия и закрытия, установленные с радиальными интервалами между собой с возможностью независимого друг от друга перемещения в осевом направлении.
76. Клапанный узел по п.71, корпус которого выполнен кольцевой формы.
77. Клапанный узел по п.76, корпус которого имеет кольцо, выступающее над контейнером для соединения с переходником для разлива напитка.
78. Клапанный узел по п.71, корпус которого имеет обращенный наружу кольцевой фланец для крепления мешка, причем диаметр кольцеобразного фланца превышает диаметр второго канала.
79. Клапанный узел по п.72, в котором третий канал в корпусе клапанного узла имеет внутреннюю стенку с обращенным наружу кольцевым фланцем для крепления мешка.
80. Клапанный узел по п.74, в котором второй клапан представляет собой кольцевой клапан.
81. Клапанный узел по п.75, в котором первый и второй клапаны представляют собой кольцевые клапаны.
82. Аппарат для разлива алкогольных напитков, содержащий бочонок с выполненным в нем проемом, расположенный внутри бочонка мешок, заполняемый алкогольным напитком, и клапанный узел, имеющий корпус, который крепится в проеме бочонка и в котором проходят расположенный по центру первый канал и по меньшей мере один второй канал, расположенный снаружи первого канала с радиальным интервалом между ними, первый клапан, установленный по центру корпуса в плотном разъемном контакте с первым каналом для регулирования потока газа для раздува мешка или потока напитка, движущегося через первый канал в мешок и из мешка, и второй клапан, установленный в корпусе концентрично первому клапану в плотном разъемном контакте по меньшей мере с одним вторым каналом для регулирования потока газа для раздува мешка или потока напитка, движущегося через по меньшей мере один второй канал в мешок и из мешка.
83. Аппарат по п.82, в котором в корпусе клапанного узла проходит по меньшей мере один третий канал, расположенный снаружи первого канала с радиальным интервалом между ними, и третий клапан, установленный в корпусе концентрично первому клапану для регулирования потока газа, движущегося через по меньшей мере один третий канал в полость контейнера с наружной стороны мешка и из контейнера.
84. Аппарат по п.83, в котором третий клапан расположен концентрично снаружи второго клапана с радиальным интервалом между ними.
85. Аппарат по п.84, в котором второй и третий каналы являются кольцевыми.
86. Аппарат по п.82, в котором клапаны имеют толкатели для их открытия и закрытия, установленные с радиальными интервалами между собой с возможностью независимого друг от друга перемещения в осевом направлении.
87. Аппарат по п.83, в котором клапаны имеют толкатели для их открытия и закрытия, установленные с радиальными интервалами между собой с возможностью независимого друг от друга перемещения в осевом направлении.
88. Аппарат по п.87, в котором корпус клапанного узла имеет кольцо, выступающее над контейнером для соединения с переходником для разлива напитка.
89. Аппарат по п.82, корпус которого имеет обращенный наружу кольцевой фланец для крепления мешка, причем диаметр кольцеобразного фланца превышает диаметр второго канала.
90. Аппарат по п.83, в котором третий канал в корпусе клапанного узла имеет внутреннюю стенку с обращенным наружу кольцевым фланцем для крепления мешка.
91. Аппарат по п.86, в котором второй клапан представляет собой кольцевой клапан.
92. Аппарат по п.87, в котором первый и второй клапаны представляют собой кольцевые клапаны.
93. Аппарат по п.82, в котором бочонок имеет воздушный канал и воздушный клапан, установленный в плотном разъемном контакте с воздушным каналом для регулирования потока воздуха, движущегося через воздушный канал в полость бочонка с наружной стороны мешка и бочонка.
Приоритет по пунктам:
24.10.2003 по пп.1-16;
29.11.2002 по пп.17-35, 36-70, 71-93.
РИСУНКИ
|