|
|
(21), (22) Заявка: 2007123325/11, 22.06.2007
(24) Дата начала отсчета срока действия патента:
22.06.2007
(46) Опубликовано: 20.12.2008
(56) Список документов, цитированных в отчете о поиске:
RU 2111905 А, 27.05.1998. SU 501204 А, 10.10.1976. SU 1268836 А1, 07.11.1986. US 4,884,934 А, 05.12.1989. JP 3048007 А, 01.03.1991. RU 2285810 С1, 20.10.2006.
Адрес для переписки:
121087, Москва, ул. Новозаводская, 18, ГКНПЦ им. М.В. Хруничева, отдел по работе с интеллектуальной собственностью
|
(72) Автор(ы):
Толмачев Сергей Михайлович (RU), Туголуков Анатолий Васильевич (RU), Соин Валерий Иванович (RU)
(73) Патентообладатель(и):
Федеральное государственное унитарное предприятие “Государственный космический научно-производственный центр имени М.В. Хруничева” (RU)
|
(54) УСТРОЙСТВО КРЕПЛЕНИЯ
(57) Реферат:
Изобретение относится к области космической техники. Устройство крепления космического аппарата, отделяемого на орбите от ракеты-носителя, включает полый болт с проточкой и фиксирующими сухарями, охваченными подвижной гильзой, сдвигаемой посредством привода. При этом болт оснащен быстродействующим нагревательным элементом, установленным в полости болта и подключенным к источнику электроэнергии. В результате повышается надежность отделения космического аппарата, смягчаются ударные нагрузки на космический аппарат. 1 з.п. ф-лы, 1 ил.
Изобретение относится к области космической техники
Как правило, фланцы (кронштейны) каркасов космического аппарата (КА) и отсеков ракеты-носителя стягиваются значительными силами, препятствующими раскрытию стыка от нагрузок, действующих при транспортировке и на активном участке полета.
Известны устройства крепления отделяемых КА, содержащие замки на основе болтовых соединений. Например, в патенте России №2111905, В64G1/64, 1996 г. болтовое соединение реализовано в виде болта с проточкой, в которую вставлены сухари, охваченные сдвигаемой гильзой.
При срабатывании подобных устройств во фланцах (кронштейнах) каркаса КА возникают вызванные почти мгновенным освобождением запасенной упругой энергии значительные силовые импульсы, распространяющиеся в виде колебательных волн с высокой частотой и амплитудой. Это может привести к нарушениям в работе высокочувствительных к ударным воздействиям приборов, размещенных на КА.
Задачей данного изобретения является создание устройства крепления КА с достижением технического результата в виде повышения надежности работы устройства крепления при разделении и снижения ударных нагрузок при срабатывании.
Эта задача решается тем, что в устройстве крепления КА, отделяемого на орбите от РН, включающем полый болт с проточкой и фиксирующими сухарями, охваченными подвижной гильзой, сдвигаемой посредством привода, в соответствии с изобретением болт оснащен быстродействующим нагревательным элементом, установленным в полости болта и подключенным к источнику электроэнергии.
Действенной мерой снижения уровня подобных воздействий является увеличение продолжительности процесса освобождения энергии стянутых фланцев, т.е. продолжительности срабатывания устройства крепления КА. Другой мерой смягчения удара могло бы стать снижение усилия в стягиваемом пакете перед открытием замка, что снизило бы величину высвобождаемой упругой энергии. При этом такое снижение, чтобы не вызвать удара, должно происходить достаточно плавно и растянуто по времени, например от 1 до 10-20 секунд.
К такому плавному снижению усилия затяжки стянутых фланцев приводит постепенное нагревание болта путем внешнего теплового воздействия. Поскольку металлы при нагреве увеличиваются в размерах (расширяются), то несложный расчет показывает, что, например, стальной стержень с базовой длиной 35 мм при нагреве на 150 градусов по Цельсию удлиняется примерно на 60 мкм.
Т.е., если удлинить болт не растягивая его гайкой, а воздействуя на него тепловым потоком, изолируя при этом материал фланцев от воздействия тепла, то усилие растяжения болта упадет и, соответственно, снизится энергоемкость его и стяжного соединения.
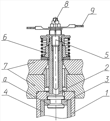
В качестве примера реализации принципа теплового воздействия на затянутое болтовое соединение приведен чертеж, на котором изображен стягивающий фланцы замок болтового типа с нагревательным элементом.
Замок состоит из корпуса 1, полого болта 2, имеющего проточку «а».
В проточке установлены сухари 3, охваченные гильзой 4. Гильза кинематически связана с приводом (на чертеже не показанном). В полость болта 2 ввернут быстродействующий нагреватель 5 со спиралью в оболочке или иного типа.
Болт затянут гайкой 6 крутящим моментом, обеспечивающим необходимое усилие стягивания фланцев 7. Нагреватель 5 снабжен изолированными от корпуса электрическими клеммами 8, к которым подсоединены питающие провода 9.
Работа замка происходит следующим образом. Перед включением привода на разделение (сдвиг гильзы и освобождение сухарей) подается электрический потенциал на клеммы нагревателя 5. За 5-10 сек нагреватель доводит стержень болта 2 до необходимой температуры (150-200°С), при которой болт удлинится настолько, что затяжка фланцев ослабнет. Быстрый нагрев изнутри болта исключает прогрев фланцев и удлинение стянутого пакета из-за инерционности процесса теплопередачи.
Этим достигается положительный результат при реализации работы устройства крепления со встроенным нагревательным элементом. Ожидаемые ударные нагрузки на КА существенно снизятся по сравнению с традиционной схемой работы замкового устройства.
В качестве нагревателя возможно использование изделий по ОСТ 37.003.091-92 №1602.3740, 1802.3740 или по ISO/DIS 6550-1, 6550-2, 6550-3 или химических источников тепловой энергии (например, термитных смесей), инициируемых также электрической энергией.
Ослабление затяжки перед срабатыванием устройства крепления увеличивает надежность работы собственно замка из-за снижения усилий сдергивания гильзы и выхода сухарей из проточки болта. При этом потребуется меньшая энергетика привода (давление рабочей среды, габаритов и т.д.), что приведет к снижению удара, создаваемого приводом.
Формула изобретения
1. Устройство крепления космического аппарата, отделяемого на орбите от ракеты-носителя, включающее полый болт с проточкой и фиксирующими сухарями, охваченными подвижной гильзой, сдвигаемой посредством привода, отличающееся тем, что болт оснащен быстродействующим нагревательным элементом, установленным в полости болта и подключенным к источнику тока.
2. Устройство по п.1, отличающееся тем, что нагревательный элемент подключен к бортовому аккумулятору.
РИСУНКИ
|
|