|
|
(21), (22) Заявка: 2007102854/11, 26.01.2007
(24) Дата начала отсчета срока действия патента:
26.01.2007
(46) Опубликовано: 20.12.2008
(56) Список документов, цитированных в отчете о поиске:
RU 2209155 С1, 27.07.2003. US 5220849 А, 22.06.1993. US 4461455 А, 24.07.1984. RU 2223808 С1, 20.02.2004. WO 9606727 А1, 07.03.1996. SU 146654 А1, 01.01.1962. RU 2175300 С2, 27.10.2001.
Адрес для переписки:
141075, Московская обл., г. Королев, ул. Ильича, 7, ОАО “Корпорация “Тактическое ракетное вооружение”, ОКБ-80, отдел интеллектуальной собственности и научно-технической информации
|
(72) Автор(ы):
Лазарев Виталий Александрович (RU), Гришин Владимир Иванович (RU), Попов Владимир Ильич (RU)
(73) Патентообладатель(и):
Открытое акционерное общество “Корпорация “Тактическое ракетное вооружение” (RU)
|
(54) УСТРОЙСТВО ДЛЯ СБОРКИ ОТСЕКОВ ЛЕТАТЕЛЬНОГО АППАРАТА
(57) Реферат:
Изобретение относится к области изготовления летательных аппаратов, в частности к сборке отсеков летательных аппаратов. Устройство для сборки отсеков летательного аппарата содержит раму на колесах, на которую установлены подводная опора, контактирующая с отсеком, и откидная опора, контактирующая с внешним контуром съемного ложемента с возможностью поворота ложемента относительно откидной опоры. Также на раме установлен поворотный узел, снабженный приводом с возможностью фиксации, кронштейном и соединительным элементом, установленным на кронштейне. Кронштейн выполнен вращающимся относительно продольной оси отсека. Поворотный узел выполнен с возможностью поворота вместе с кронштейном и соединительным элементом с отсеком на угол не более 90°. При этом колеса снабжены опорами, выполненными поворотными и регулируемыми по высоте. Изобретение направлено на расширение спектра возможностей при сборке отсека летательного аппарата за счет обеспечения шести степеней свободы. 1 з.п ф-лы, 3 ил.
Изобретение относится к области производства летательных аппаратов, а именно к оснастке для сборки отсеков летательных аппаратов.
Известно приспособление для сборки панелей агрегатов летательного аппарата (патент РФ 2139813 от 12.05.1998). Приспособление содержит верхнюю балку, колонны и нижнюю балку, которые образуют жесткую раму. С помощью стаканов на балках установлены вилки, на которых закреплены ложементы с помощью штырей. Ложемент выполнен с базовыми поверхностями, расположенными на противоположных сторонах ложемента, одна из поверхностей соответствует теоретическому контуру наружной поверхности обшивки панели, другая – внутреннему контуру поверхности обшивки панели. Обшивки панелей крепятся к ложементу с помощью известных крепежных элементов.
Также известно устройство для монтажа и демонтажа двигателя на летательном аппарате (авторское свидетельство СССР 801460 от 29.10.1979), которое содержит тележку, включающее в себя копирную платформу со спрофилированной поверхностью в соответствии с заданной траекторией движения двигателя. Копирная платформа посредством подъемников смонтирована на тележке. На копирной платформе расположена приводная трособлочная система, состоящая из роликов, троса и привода. Трособлочная система соединена с кареткой, несущей грузовые ложементы и опирающейся на копирную платформу посредством подъемных механизмов. В передней части копирной платформы установлен ограничитель в виде упорной стойки, а сама платформа снабжена аутригерами.
Известно аэродромное устройство для монтажа агрегатов летательного аппарата, выбранное за прототип (авторское свидетельство СССР 572999 от 31.12.75). Устройство содержит тележку с опорной стойкой, на которой установлена каретка, закрепленная на штоке силового цилиндра. В средней части консольной грузовой рамы с помощью шарнира закреплена полноповоротная передвижная траверса, в передней части которой установлены две винтовые подпорные телескопические штанги с приводом и шарнирными захватами для закрепления к такелажным узлам монтируемого крупногабаритного агрегата, а в задней – винтовая телескопическая штанга с приводом и ложементом. В грузовой раме вмонтирован механизм для перемещения агрегата в поперечном направлении.
Недостатком как аналогов, так и прототипа является недостаточное количество степеней свободы, обеспечиваемых вышеупомянутыми устройствами при сборке отсеков летательных аппаратов (максимум 4 степени), причем одна из степеней свободы у прототипа позволяет перемещение монтируемого изделия в очень узких пределах, что в значительной мере ограничивает возможности сборки отсека летательного аппарата.
Задачей, на решение которой направлено изобретение, является расширение спектра возможностей при сборке отсека летательного аппарата.
Указанная задача решается за счет того, что устройство для сборки отсеков летательного аппарата содержит раму, снабженную по крайней мере тремя колесами, на которую установлена подводная опора, контактирующая с отсеком, при этом на раме также установлены откидная опора с возможностью отведения, контактирующая с внешним контуром съемного ложемента с возможностью поворота ложемента относительно откидной опоры, при этом ложемент внутренним контуром жестко соединен с отсеком, поворотный узел, снабженный приводом с возможностью фиксации, кронштейном и соединительным элементом, установленным на кронштейне, контактирующим с отсеком и выполненным с возможностью радиального перемещения относительно оси, совпадающей с продольной осью симметрии отсека, где поворотный узел выполнен с возможностью поворота вместе с кронштейном и соединительным элементом с отсеком в плоскости симметрии устройства на угол не более 90°, при этом каждое колесо соединено с рамой через опору колеса, которая выполнена поворотной относительно вертикальной оси и регулируемой по высоте, а устройство дополнительно снабжено противовесом.
В частном случае исполнения каждая поворотная и регулируемая по высоте опора колеса содержит вилку, состоящую из осевой части и развилочной части, стакан, обойму и подшипники, при этом колесо закреплено в развилочной части вилки с возможностью фиксации поворота, вилка осевой частью установлена с помощью подшипников в стакане с возможностью поворота вокруг вертикальной оси и с возможностью фиксации поворота, стакан установлен вверх дном в обойме, жестко связанной с рамой, с возможностью продольного перемещения и фиксации его положения относительно вертикальной оси опоры.
Техническим результатом изобретения является возможность перемещения отсека летательного аппарата при сборке по шести степеням свободы за счет наличия дополнительного по сравнению с прототипом поворотного узла и определенным образом выполненных колес.
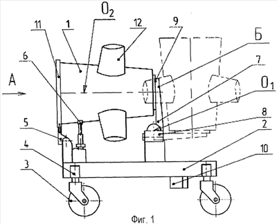
На фиг.1 изображен общий вид устройства, на фиг.2 – вид А, на фиг.3 – вариант устройства опоры колеса.
Устройство для сборки отсеков летательного аппарата изображено на фиг.1 с установленным на нем отсеком 1 и содержит раму 2, установленную по крайней мере на трех, в рассматриваемом варианте исполнения четырех, поворотных колесах 3, при этом опоры колес 4 позволяют осуществлять регулировку высоты устройства и имеют возможность фиксации. На раме 2 установлены поворотный узел Б, откидная опора 5 и подводная опора 6. Поворотный узел Б содержит кронштейн 7, привод 8 и соединительный элемент 9. Кронштейн 7 установлен на раме 2 через привод 8 с возможностью фиксации, который может быть выполнен в виде червячного редуктора и позволяет осуществить поворот кронштейна 7 относительно оси O1 на угол не более 90°. На кронштейне 7 установлен соединительный элемент 9, позволяющий поворот отсека 1 относительно оси О2 на неограниченный угол. Соединительный элемент 9 может быть выполнен из двух частей, одна из которых жестко крепится к отсеку 1, а вторая установлена жестко на кронштейне 7, при этом между частями могут быть установлены подшипники, которые позволили бы осуществлять взаимный поворот частей соединительного элемента 9 (не показаны). Устройство для сборки отсеков летательного аппарата снабжено противовесом 10, который может быть установлен как на самой раме, так и на поворотном узле Б и предназначен для обеспечения устойчивости устройства с отсеком 1 и безопасности процессов установки отсека 1 в необходимое при сборке положение и сборки отсека 1. С противоположного поворотному узлу Б конца отсека 1 к отсеку 1 крепится съемный ложемент 11, свободно опирающийся на откидную опору 5. На откидной опоре 5 имеется устройство, обеспечивающее свободный поворот съемного ложемента 11, например ролики, в этом случае на съемном ложементе 11 может быть предусмотрена дорожка для этих роликов (не показаны). Съемный ложемент 11 выполняется индивидуально для каждого конкретного отсека и может быть выполнен цельным или разъемным, причем отсек 1, а значит и внутренний контур съемного ложемента 11, могут иметь произвольную форму (см. фиг.2). Между поворотным узлом Б и откидной опорой 5 на раме 2 установлена подводная опора 6 с возможностью перемещения вдоль своей вертикальной оси, например, посредством винтовой пары. Соединительный элемент 9, привод 8 и подводная опора 6 могут быть выполнены с возможностью фиксации. Помимо съемного ложемента 11, съемными могут быть выполнены кронштейн 7 и соединительный элемент 9. Рама 2 выполнена таким образом, что позволяет свободный поворот отсека 1, даже если у него имеются выступающие элементы 12, а конструкция кронштейна 7 и съемного ложемента 11 обеспечивает свободный доступ внутрь отсека 1.
Опоры колес 4 (см. фиг.3) выполнены следующим образом: колесо 3 установлено в развилке вилки 13, ось которой установлена в стакане 14 через радиальные подшипники 15 и упорный подшипник 16 таким образом, что продольные оси стакана 14 и вилки 13 совпадают с вертикальной осью О3, причем вилка 13 может свободно поворачиваться относительно вертикальной оси О3. Стакан 14 установлен в обойме 17 вверх дном с возможностью перемещения относительно обоймы 17 вдоль вертикальной оси О3, например, посредством резьбового соединения, причем резьба нарезана на внешней цилиндрической поверхности стакана 14 и в цилиндрическом отверстии обоймы 17. Обойма 17 жестко закреплена на раме 2, например, посредством сварного соединения, также обойма 17 может составлять с рамой 2 одно целое. Для фиксации стакана 14 в определенном положении на внешней цилиндрической поверхности стакана 14 установлено устройство, обеспечивающее фиксацию 18, например контргайка. Для удобства регулирования высоты опоры колеса 4 часть стакана 14 может быть выполнена в виде рукоятки (в графических материалах не указана). Для фиксации поворота оси вилки 13 в стакане 14 в верхней (донной) части стакана 14 может быть установлено устройство фиксации 19, например цанговая втулка, при этом в дне стакана 14 имеется отверстие для оси вилки 13 и устройства фиксации 19. Для фиксации поворота колеса 3 на развилке вилки 13 установлено устройство фиксации 20, например нажимной винт.
Устройство для сборки отсеков летательного аппарата работает следующим образом:
При сборке отсека 1 последний устанавливают на устройство через соединительный элемент 9 и съемный ложемент 11. Устройство с установленным на нем отсеком 1 устанавливают на место сборки, свободно перемещая в горизонтальной плоскости посредством поворотных колес 3. Далее отсек 1 посредством вертикального линейного перемещения, что обеспечивают опоры колес 4, вращения в плоскости симметрии устройства относительно оси О1, что обеспечивает поворотный узел Б, и вращения относительно оси О2 отсека 1, что обеспечивает соединительный элемент 9, устанавливают в любое необходимое при сборке положение и фиксируют опоры колес 4, поворотный узел Б, соединительный элемент 9, например поворотный узел Б фиксируют посредством привода 8, который может быть выполнен в виде червячного редуктора.
При необходимости изменения высоты опор колес 4 производят перемещение стакана 14 относительно обоймы 17 и в случае необходимости фиксируют с помощью устройства, обеспечивающего фиксацию 18. Для фиксации оси вилки 13 в стакане 14 задействуют устройство фиксации 19. Для фиксации поворота колеса 3 в развилке вилки 13 задействуют устройство фиксации 20.
При необходимости пристыковать отсек 1 к другому отсеку съемный ложемент 11 снимают, откидывают откидную опору 5, задействуют и фиксируют подводную опору 6, после чего отсек 1 пристыковывают к другому отсеку.
Также с помощью предлагаемого устройства сборки отсеков летательного аппарата возможно проведение испытаний отсека. После того как снимают съемный ложемент 11, откидывают откидную опору 5, задействуют и фиксируют подводную опору 6, на отсеке 1 собирают испытательную и/или контрольную оснастку и подключают отсек 1 к испытательному стенду.
Основным свойством устройства является его широкий спектр возможностей, с его помощью можно осуществлять как сборку, так и испытания отсека летательного аппарата. Изобретение позволяет осуществлять сборку отсека летательного аппарата с возможностью перемещения отсека по шести степеням свободы и может найти широкое применение в области производства летательных аппаратов.
Формула изобретения
1. Устройство для сборки отсеков летательного аппарата, содержащее раму, снабженную по крайней мере тремя колесами, на которую установлена подводная опора, контактирующая с отсеком, отличающееся тем, что на раме также установлены откидная опора с возможностью отведения, контактирующая с внешним контуром съемного ложемента с возможностью поворота ложемента относительно откидной опоры, при этом ложемент внутренним контуром жестко соединен с отсеком, поворотный узел, снабженный приводом с возможностью фиксации, кронштейном и соединительным элементом, установленным на кронштейне, контактирующим с отсеком и выполненным с возможностью поворота относительно оси, совпадающей с продольной осью симметрии отсека, где поворотный узел выполнен с возможностью поворота вместе с кронштейном и соединительным элементом с отсеком в плоскости симметрии устройства на угол не более 90°, при этом каждое колесо соединено с рамой через опору колеса, которая позволяет поворот колеса относительно вертикальной оси и выполнена регулируемой по высоте, а устройство дополнительно снабжено противовесом.
2. Устройство для сборки отсеков летательного аппарата по п.1, отличающееся тем, что каждая поворотная и регулируемая по высоте опора колеса содержит вилку, состоящую из осевой части и развилочной части, стакан, обойму и подшипники, при этом колесо закреплено в развилочной части вилки с возможностью фиксации поворота, вилка осевой частью установлена с помощью подшипников в стакане с возможностью поворота вокруг вертикальной оси и с возможностью фиксации поворота, стакан установлен вверх дном в обойме, жестко связанной с рамой, с возможностью продольного перемещения и фиксации его положения относительно вертикальной оси опоры.
РИСУНКИ
|
|